EP0342969A1 - Wegwerfzelle zur Rückgewinnung von leitfähigen Metallen und deren Bedienungsanweisung - Google Patents
Wegwerfzelle zur Rückgewinnung von leitfähigen Metallen und deren Bedienungsanweisung Download PDFInfo
- Publication number
- EP0342969A1 EP0342969A1 EP89305012A EP89305012A EP0342969A1 EP 0342969 A1 EP0342969 A1 EP 0342969A1 EP 89305012 A EP89305012 A EP 89305012A EP 89305012 A EP89305012 A EP 89305012A EP 0342969 A1 EP0342969 A1 EP 0342969A1
- Authority
- EP
- European Patent Office
- Prior art keywords
- container
- recovery container
- liquid
- electrode
- recited
- Prior art date
- Legal status (The legal status is an assumption and is not a legal conclusion. Google has not performed a legal analysis and makes no representation as to the accuracy of the status listed.)
- Ceased
Links
- 229910052751 metal Inorganic materials 0.000 title claims abstract description 47
- 239000002184 metal Substances 0.000 title claims abstract description 47
- 238000000034 method Methods 0.000 title claims abstract description 23
- 238000011084 recovery Methods 0.000 claims abstract description 94
- 239000007788 liquid Substances 0.000 claims abstract description 50
- 239000010408 film Substances 0.000 claims abstract description 34
- 239000010409 thin film Substances 0.000 claims abstract description 12
- 238000004891 communication Methods 0.000 claims abstract description 9
- 230000006854 communication Effects 0.000 claims abstract description 9
- 239000000463 material Substances 0.000 claims description 12
- 238000003723 Smelting Methods 0.000 claims description 11
- 206010001497 Agitation Diseases 0.000 claims description 10
- 238000013019 agitation Methods 0.000 claims description 10
- 238000005086 pumping Methods 0.000 claims description 3
- 239000012530 fluid Substances 0.000 claims 1
- 230000001105 regulatory effect Effects 0.000 claims 1
- 238000006243 chemical reaction Methods 0.000 abstract description 12
- 239000000470 constituent Substances 0.000 abstract description 2
- 239000000243 solution Substances 0.000 description 76
- BQCADISMDOOEFD-UHFFFAOYSA-N Silver Chemical compound [Ag] BQCADISMDOOEFD-UHFFFAOYSA-N 0.000 description 44
- 229910052709 silver Inorganic materials 0.000 description 44
- 239000004332 silver Substances 0.000 description 44
- 238000012545 processing Methods 0.000 description 7
- XEEYBQQBJWHFJM-UHFFFAOYSA-N Iron Chemical compound [Fe] XEEYBQQBJWHFJM-UHFFFAOYSA-N 0.000 description 4
- 230000000694 effects Effects 0.000 description 4
- 230000008569 process Effects 0.000 description 4
- 230000008901 benefit Effects 0.000 description 3
- 239000011521 glass Substances 0.000 description 3
- 229910001220 stainless steel Inorganic materials 0.000 description 3
- 239000010935 stainless steel Substances 0.000 description 3
- -1 that is Substances 0.000 description 3
- OKTJSMMVPCPJKN-UHFFFAOYSA-N Carbon Chemical compound [C] OKTJSMMVPCPJKN-UHFFFAOYSA-N 0.000 description 2
- 239000007844 bleaching agent Substances 0.000 description 2
- 238000000576 coating method Methods 0.000 description 2
- 238000005868 electrolysis reaction Methods 0.000 description 2
- 229910052742 iron Inorganic materials 0.000 description 2
- 230000007246 mechanism Effects 0.000 description 2
- 150000002739 metals Chemical class 0.000 description 2
- 230000003134 recirculating effect Effects 0.000 description 2
- RYGMFSIKBFXOCR-UHFFFAOYSA-N Copper Chemical compound [Cu] RYGMFSIKBFXOCR-UHFFFAOYSA-N 0.000 description 1
- NIXOWILDQLNWCW-UHFFFAOYSA-N acrylic acid group Chemical group C(C=C)(=O)O NIXOWILDQLNWCW-UHFFFAOYSA-N 0.000 description 1
- 230000009471 action Effects 0.000 description 1
- 229910052799 carbon Inorganic materials 0.000 description 1
- 239000011248 coating agent Substances 0.000 description 1
- 239000004020 conductor Substances 0.000 description 1
- 229910052802 copper Inorganic materials 0.000 description 1
- 239000010949 copper Substances 0.000 description 1
- 230000008021 deposition Effects 0.000 description 1
- 238000004090 dissolution Methods 0.000 description 1
- 230000005611 electricity Effects 0.000 description 1
- 238000000605 extraction Methods 0.000 description 1
- PCHJSUWPFVWCPO-UHFFFAOYSA-N gold Chemical compound [Au] PCHJSUWPFVWCPO-UHFFFAOYSA-N 0.000 description 1
- 229910052737 gold Inorganic materials 0.000 description 1
- 239000010931 gold Substances 0.000 description 1
- 229910002804 graphite Inorganic materials 0.000 description 1
- 239000010439 graphite Substances 0.000 description 1
- 239000006193 liquid solution Substances 0.000 description 1
- 230000013011 mating Effects 0.000 description 1
- 239000003973 paint Substances 0.000 description 1
- 238000007747 plating Methods 0.000 description 1
- 230000000630 rising effect Effects 0.000 description 1
- 238000007790 scraping Methods 0.000 description 1
- 238000007789 sealing Methods 0.000 description 1
- 239000007787 solid Substances 0.000 description 1
- 238000007592 spray painting technique Methods 0.000 description 1
Images
Classifications
-
- C—CHEMISTRY; METALLURGY
- C25—ELECTROLYTIC OR ELECTROPHORETIC PROCESSES; APPARATUS THEREFOR
- C25C—PROCESSES FOR THE ELECTROLYTIC PRODUCTION, RECOVERY OR REFINING OF METALS; APPARATUS THEREFOR
- C25C7/00—Constructional parts, or assemblies thereof, of cells; Servicing or operating of cells
-
- C—CHEMISTRY; METALLURGY
- C25—ELECTROLYTIC OR ELECTROPHORETIC PROCESSES; APPARATUS THEREFOR
- C25C—PROCESSES FOR THE ELECTROLYTIC PRODUCTION, RECOVERY OR REFINING OF METALS; APPARATUS THEREFOR
- C25C1/00—Electrolytic production, recovery or refining of metals by electrolysis of solutions
- C25C1/20—Electrolytic production, recovery or refining of metals by electrolysis of solutions of noble metals
-
- C—CHEMISTRY; METALLURGY
- C25—ELECTROLYTIC OR ELECTROPHORETIC PROCESSES; APPARATUS THEREFOR
- C25C—PROCESSES FOR THE ELECTROLYTIC PRODUCTION, RECOVERY OR REFINING OF METALS; APPARATUS THEREFOR
- C25C7/00—Constructional parts, or assemblies thereof, of cells; Servicing or operating of cells
- C25C7/06—Operating or servicing
Definitions
- This invention relates to methods and apparatus for recovering metals from liquid solutions, and in particular to methods and apparatus facilitating the recovery of silver from bleach fix solutions used in photo processing, by disposable cells, with high efficiency.
- X-Rite Company offers a number of silver recovery systems, all of which include some type of device provided specifically for agitating the solution. Further, most of the systems offered by X-Rite have a cathode which is coiled, thus having a relatively small surface area.
- Roconex Corporation manufactures a number of lines of silver recovery systems and markets them under the "Rotex" trademark. All of these systems include some devices specifically devoted to agitation, generally with a rotating cathode which must then be removed from the recovery unit and cleaned, and later reinstalled and reused.
- This invention relates to improvements to the apparatus described above and to solutions to some of the problems raised thereby.
- the invention relates to an apparatus for recovering a conductive metal from a liquid which contains that metal, and to a method for recovering that metal using that apparatus.
- the invention is particularly well suited for recovery of silver from photographic fixer solutions.
- the apparatus includes a generally closed non-metallic recovery container defining a cavity, for containing the liquid.
- a first electrode is supported and affixed within the cavity.
- a second electrode is composed of a thin film applied to the inside surface of the container, the film including as its main constituent the same metal as that to be recovered from the solution.
- power supply means are electrically connected to the electrodes so as to result in the first electrode being an anode and the second electrode being a cathode, thus causing the metal from the solution to be deposited on the second, film electrode, lining the inside surface of the container with the metal to be recovered.
- the invention further includes means for circulating metal laden liquid, that is, liquid containing the metal in solution, into the container and for removing demetalized solution from the container.
- the method of the invention includes providing a disposable, electrically insulating container for containing metal-containing solution and applying a thin film of the metal to the inside surface of the container.
- An electrode is affixed within the container so that it is immersed in the liquid and insulated from film on the inside surface of the container.
- the voltage potential of the electrode over that of the thin film is then raised to about 1.5 volts, thereby causing the metal in the solution to be electrolytically deposited on the film and to build up thereon. This voltage causes a current density between the electrode and the film of about 1.5 milliamperes per square inch.
- the apparatus includes a holding container for holding the solution.
- the recovery container is placed in liquid communication with the holding container.
- the first electrode in this embodiment is tubular to provide liquid communication between the two containers.
- This embodiment further includes a pump for circulating the metal laden liquid from the holding container into the recovery container.
- the recovery container is mounted on the top of the holding container, and recovered solution drains down from the recovery container via the liquid communication means.
- the pump therefore has an inlet in the holding container and an outlet in the recovery container.
- the pump outlet is positioned within the recovery container so as to provide agita tion of the solution in the recovery container merely by the discharge of solution from the pump outlet.
- the recovery operation is facilitated by the fact that the recovered metal is not required to be removed from the cathode, because the recovery container itself is disposable, constructed from materials such as plastic or glass which can be added to the smelting furnace without contaminating the smelting operation.
- an apparatus 10 constructed according to one embodiment of the invention includes a recovery container 12, containing an amount of fixer solution 14.
- the fixer solution 14 is a solution in which a ionic silver is dissolved.
- the entire inner surface 12a of the container 12 is coated with a very thin film 12b of silver, the metal to be removed from the solution, such as by spray painting.
- the actual thickness of the film 12b as applied is not critical, as will be shown presently, as long as the interior surface of the container 12 is evenly coated sufficiently thick to conduct electricity. The thickness is commonly on the order of 1 mil.
- the material of the film may be generally any type of paint or other sprayable film containing silver, such as Acrylic 1, Part No.
- the film 12b may be some other conductive material.
- the film 12b may be a thin layer of stainless steel or gold, applied by means of tape or sheeting to the inside surface of container 12.
- An electrode 16 is suspended near the center of the container 12, reaching substantially into the solution 14.
- This electrode 16 can be of any suitable and readily available material for such an electrode, such as carbon/graphite rod material.
- the electrode can be mounted in the center of a cover 18, which is attached to the top of and closes the container 12.
- the cover 18 is formed of insulative material so as to insulate the electrode from the thin film 12b. The electrode 16 thus mounted reaches downward into the solution 14 for the majority of its length.
- the apparatus 10 further includes a power supply 20 for providing energy for an electrolytic reaction to plate the ionic silver out of the fixer solution 14.
- This power supply 20 is preferably a 1.5 to 2.2 volt DC power supply, having a positive pole 22 and a negative pole 24.
- the electrode 16 is electrically connected to the positive pole 22 of the power supply 20, preferably by a positive connector 26, which fits into a receptacle 28 provided for that purpose at the top of electrode 16.
- the thin film 12b coating the inside surface 12a of the container 12 is preferably electrically connected to the negative pole 24 by a negative connector 30 which fits into a receptacle 32 provided for that purpose.
- the electrode 16 being connected to the positive pole of the power supply 20, is the anode for the electrolytic reaction, while the thin film 12b in effect acts as another electrode, becoming the cathode for the electrolytic reaction because of its connection to the negative pole of the power supply.
- an amount of fixer liquid 14 is placed in the container 12, and the cover 18 carrying the electrode rod 16 is placed on top of the container to close it.
- the electrode 16 and the film 12b are then connected to the power supply 20 and the electrolytic reaction begins.
- silver from the solution 14 is deposited on the silver film 12b until all or a suitable amount of the silver is plated out of the solution.
- the cathode in effect increases in thickness, improving its performance. This is the reason that the original thickness of the film 12b is not critical, since it increases as the reaction progresses.
- the current density will be extremely low, on the order of 1.5 milliamperes per square inch.
- the apparatus 10 may run relatively unattended, since it is clear that the danger of sulfiding and/or damage to the solution, which problem is carefully and expensively controlled and guarded against in the prior art, is very remote at this low current density level.
- the power supply 20 may be disconnected and the electrode 16 and the liquid 14 removed.
- the used container 12 may then be placed in its entirety, including the cover 18, in a silver smelting furnace (not shown) to refine the silver for reuse.
- a silver smelting furnace (not shown) to refine the silver for reuse.
- a handle 34 may be provided for ease of handling the container 12, but if it is of a metal containing copper, such as stainless steel, or some other metal which does not easily refine out of silver, it must be removably attached to the container, so that it can he removed prior to placement of the container in the smelting furnace, and even reused, as is the electrode 16.
- it is simply conventional iron or zinc-plated (galvanized iron, for low cost.
- the silver-containing solution may be continuously introduced into the container 12 by means of a liquid introduction tube 36 which has its outlet 36a near the bottom of the container.
- a liquid introduction tube 36 which has its outlet 36a near the bottom of the container.
- the solution becomes lighter, rising to the top of the liquid 14 in the container 12 in a naturally occurring phenomenon referred to as "stratified transport".
- the solution at the top of the liquid then, will be relatively more de-silvered compared to that at the bottom of the liquid.
- This relatively de-silvered solution at the top may be continuously removed from the container 12 by a liquid drain tube 38, the inlet 38a of which is located in the sidewall of the container at the level of the top of the liquid.
- any necessity for pumps or other mechanically powered devices to move the solution is avoided, since the solution will move by siphoning.
- the relatively de-silvered solution may not be completely de-silvered from one pass through the apparatus 10, it may be desirable to connect a number of such apparatus together serially, so as to achieve the greatest possible silver extraction rate.
- Both tubes 36 and 38 are preferred to be of plastic in order to be consistent with the objective, referred to above, that the entire container 12 may be placed in the smelting furnace when sufficient silver has been deposited.
- the power supply 20 may be a generally conventional plug-in module type, as shown. As an additional aid in controlling and ensuring the integ rity of the de-silvering reaction, the power supply 20 may also include certain additional features.
- the power supply 20 first includes a generally conventional transformer module 40, which plugs into a conventional 110 volt or 220 volt electrical outlet 42 and outputs 5 volts DC, up to one amp, via a positive lead 44 and a negative lead 46.
- a calculator-type transformer module with these characteristics may be particularly well suited for this application. Connected between the two leads are a current limiting resistor R1 and a light emitting diode D1 connected in series.
- the purpose of the diode D1 is to indicate that the transformer module 40 is indeed receiving power from the outlet 42. Hence, whenever the outlet 42 is supplying power, the diode D1 is lit. Also connected to the positive lead 44 is a first lead of a voltage regulator IC1. The anode, or electrode 16, of the apparatus 10 is connected to a second lead of IC1. Finally, a third lead of IC1 is connected to the second lead by a resistor R2 and, via a potentiometer R3, to the negative lead 46 of the power supply transformer module 40. The purpose of the described arrangement of the voltage regulator IC1 and resistors R2 and R3 is to ensure that the current passing to the electrode 16 remains extremely low as described above.
- the potentiometer R3 allows adjustment of the circuit for tolerances of the components and for various sizes of containers 12. Preferably potentiometer R3 would be adjusted so as to provide 1.5 volts DC to the electrodes 12b and 16, resulting in the extremely low current density set forth above.
- flashing light emitting diode D2 is connected between the anode and cathode of the electrolysis circuit, that is, between the positive connector 26 and the negative connector 30. This diode D2 will flash if there is no current passing between the electrode 16 and the film 12b, thus acting as an indicator of the integrity of the electrolysis circuit.
- fixer solution 14 is constantly being circulated into the container 12, and de-silvered solution is constantly being removed.
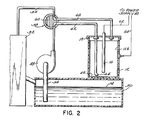
- the fixer solution 14 is continuously introduced into the container 12 by means of a pump 48, which is preferably an existing recirculating pump of an existing, conventional, film processing machine solution tank 50, which is normally connected to a film processing machine 52 via the recirculating pump and appropriate tubing 54.
- tank 50 serves as a holding tank for the film processing solution 14, which is thereby continually recirculated to the film processing machine 52.
- This solution 14 builds up silver content with use, however, so that it has been conventional procedure to periodically replace the solution, and to attempt to recover the silver from solution because of the intrinsic value of the silver.
- the advantage of the embodiment shown in Fig. 2 is that the solution 14 does not need to be replaced, at least not as often, if the silver can be removed and recovered from the solution without removal or replacement, by use of the apparatus shown there.
- valve means 58 for, in one position, permitting normal flow of solution 14 from the pump 48 to the film processing machine 52, while in the other position diverting the flow to container 12. While one valve 60 is shown to accomplish the function of valve means 58, the same effect can be achieved by use of a plurality of valves.
- Valve means 58 includes one outlet 58a to which is attached an inlet 62 of the container 12.
- Inlet 62 of Fig. 2 corresponds to liquid introduction tube 36 of the embodiment shown in Fig. 1, although of slightly different configuration because of the pressure supplied by the pump 48. This inlet 62 terminates inside the container 12, at the bottom thereof, in a deflecting means 64.
- valve means 58 When the valve means 58 is in its "divert" position, solution 14 is pumped by pump 48 into container 12, where deflecting means 64 deflects the flow of the solution, causing substantial and desirable agitation. The solution then returns to tubing 54 via an outlet 66, which again corresponds to liquid drain tube 38 of the embodiment shown in Fig 1, with minor changes because of the pressurization of the system. Outlet 66 is preferably connected to and returns the solution 14 to valve means 58.
- the power supply 20 is basically the same as that shown in Fig. 1. Because of the agitation referred to above provided by the pump 48 and deflecting means 64, the voltage may be adjusted to be higher, resulting in higher current density and faster recovery of the silver from the solution.
- Apparatus 110 is shown constructed according to another alternative embodiment of the invention, which in a sense combines the first two embodiments shown.
- Apparatus 110 includes a holding container 112, holding an amount of fixer solution 14.
- This solution 14 may be circulated into and out of holding container 112 by conventional means via an inlet 116 and an outlet 118, so as to make sure that the solution in the holding container 12 at all times contains some dissolved silver.
- the top of holding container 112 is covered by a suitable cover 120.
- the apparatus 110 further includes a cell or recovery container 122, constructed of a material such as plastic or glass, similar to container 12 of the earlier disclosed embodiments, which material is easily separated from the recovered silver during smelting. It may be advantageous that the recovery container 122 be constructed of a clear plastic or glass so as to allow the viewing of the progress of the deposition operation as will be described presently.
- the entire inner surface 122a of recovery container 122 is coated with film 12b, as referred to above with respect to the first two disclosed embodiments. If recovery container 122 is clear as indicated above, then just the side surface 122a should be covered with the bottom surface 122c left uncovered so as to allow observation of the progress of the plating operation within the recovery container.
- recovery container 122 is provided with a cap 124, which is sized to fit in sealing engagement over the sole opening 122d of the recovery container.
- An electrode 126 is affixed near the center of the cap 124, for ease of assembly and mounting of the electrode to the recovery container 122. Electrode 126 reaches substantially into the recovery container 122 for the majority of the length of the electrode, when the cap 124 is placed thereon. Electrode 126 may also, however, protrude slightly beyond cap 124, outside of recovery container 122.
- This electrode 126 can be formed of any suitable and readily available material for an electrode in such an application, such as stainless steel, since the solutions to be handled thereby can be corrosive.
- the cap 124 is formed of insulative material so as to insulate the electrode 126 from the film 12b.
- the cap 124 also includes an opening for a pump outlet 130, for reasons to be set forth presently.
- the recovery container 122 is then mounted on the holding container 112 by inverting the recovery container and mounting the cap 124 onto the cover 120, with the openings of the cap mating with similar openings provided for that purpose in the cover.
- the apparatus 110 further includes a pump 128 for pumping the solution 114 from the holding container 112 up into the recovery container 122, via pump outlet 130, already disclosed to be positioned inside the recovery container.
- This pump outlet 130 is positioned so that the output of the pump 128 causes substantial agitation of the solution 14 within the recovery container 122. That is, the pump outlet 130 directs the movement of the solution 14 at an angle, so that the solution in recovery container 122 is agitated by the solution being pumped into the recovery container, merely by the force of the pump action.
- agitation of the solution 14 is provided without any apparatus devoted solely to the agitation function, resulting in a substantial economy of parts and mechanism, in turn improving the reliability and efficiency of the apparatus 110.
- the recovery container 122 is inverted and placed on top of holding container 112.
- the solution 14 pumped into the recovery container 122 is allowed to drain back into the holding container 112 via up to two routes.
- the first route is a higher volume route, and must at least equal the flow of the pump outlet 130.
- Elec trode 126 can be provided in a tubular configuration, to provide the necessary liquid communication means.
- electrode 126 could be solid and a separate liquid return tube 132 (in phantom) provided.
- the topmost opening 126a of electrode 126 or the separate liquid return tube 132 inside recovery container 122 is substantially above cap 124 when the recovery container is in its installed, inverted position, a substantial amount of solution 14 remains in recovery container 122, as shown in the figure.
- the level of the solution 14 within recovery container 122 is, thus, determined by the location of opening 126a of electrode 12b, or the separate liquid return tube 132, above the opening of the recovery container.
- the second route by which solution drains back into holding container 112 is via a drain opening 134 formed in the cap 124 and the cover 120. This drain opening 134 is always open, but the amount of the flow allowed by this drain opening is substantially less than the output of the pump 128.
- drain opening 134 The purpose of drain opening 134 is to allow the solution 14 remaining in recovery container 122 after pump 128 is turned off to drain back into holding container 112, thereby preventing the recovered metal from redissolving back into the solution.
- this apparatus has particular application to recovery of silver from bleach fix solutions used in photo processing, since this type of solution is particularly susceptible to re-dissolution when power is not applied.
- the apparatus 110 further includes a power supply 20 similar to that provided for the single container embodiment shown in Figs. 1 and 2.
- an amount of solution 14 is placed in holding container 112, which has already been closed by cover 120, pump 128 having previously been placed in the holding container 112 with pump outlet 130 protruding through the top of the cover.
- the cap 124 carrying tubular electrode 126 is then installed on the recovery container 122, and that assembly is placed, inverted, on top of the cover 120, with the pump outlet 130 reaching just into the recovery container and the electrode reaching just into holding container 112.
- Pump 128 is then turned on and electrode 126 and film 122b are connected to the power supply 20, and the metal recovery reaction begins.
- silver from the solution 14 is deposited on the silver film 12b until a suitable amount of the silver is deposited thereon.
- the cathode in effect increases in thickness, so again the original thickness of film 12b is not critical.
- pump 128 When a sufficient amount of silver has plated onto the cathode 12b, pump 128 may be turned off and power supply 20 disconnected. The solution remaining in recovery container 122 will drain back into holding container 112 via drain opening 134. The recovery container 122 is then removed from the holding container 112 and placed wholly in a smelter, where the silver is separated from the material of the container by conventional means.
Landscapes
- Chemical & Material Sciences (AREA)
- Engineering & Computer Science (AREA)
- Chemical Kinetics & Catalysis (AREA)
- Electrochemistry (AREA)
- Materials Engineering (AREA)
- Metallurgy (AREA)
- Organic Chemistry (AREA)
- Electrolytic Production Of Metals (AREA)
- Manufacture And Refinement Of Metals (AREA)
Applications Claiming Priority (4)
| Application Number | Priority Date | Filing Date | Title |
|---|---|---|---|
| US196560 | 1988-05-20 | ||
| US07/196,560 US4834849A (en) | 1988-05-20 | 1988-05-20 | Metal recovery method and apparatus |
| US07/327,998 US5017273A (en) | 1989-03-23 | 1989-03-23 | Disposable cell for recovering conductive metal and method of using |
| US327998 | 1989-03-23 |
Publications (1)
| Publication Number | Publication Date |
|---|---|
| EP0342969A1 true EP0342969A1 (de) | 1989-11-23 |
Family
ID=26892013
Family Applications (1)
| Application Number | Title | Priority Date | Filing Date |
|---|---|---|---|
| EP89305012A Ceased EP0342969A1 (de) | 1988-05-20 | 1989-05-17 | Wegwerfzelle zur Rückgewinnung von leitfähigen Metallen und deren Bedienungsanweisung |
Country Status (3)
| Country | Link |
|---|---|
| EP (1) | EP0342969A1 (de) |
| AU (1) | AU620868B2 (de) |
| CA (1) | CA1338533C (de) |
Cited By (3)
| Publication number | Priority date | Publication date | Assignee | Title |
|---|---|---|---|---|
| WO1991009159A1 (en) * | 1989-12-11 | 1991-06-27 | Eastman Kodak Company | Method for recovering silver from a photographic fixing solution |
| WO1992014865A1 (en) * | 1991-02-14 | 1992-09-03 | Materials Research Pty. Ltd. | Mineral recovery apparatus |
| WO1994002663A1 (en) * | 1992-07-17 | 1994-02-03 | Mallonbury Pty. Ltd. | Method and apparatus for mineral recovery |
Citations (4)
| Publication number | Priority date | Publication date | Assignee | Title |
|---|---|---|---|---|
| GB1202688A (en) * | 1969-02-04 | 1970-08-19 | Louyot Comptoir Lyon Alemand | Improvements in or relating to methods and devices for automatically recycling and electrolytically regenerating fixing baths of machines for automatically developing sensitive surfaces |
| US3985634A (en) * | 1975-01-27 | 1976-10-12 | Larson Kay R | Electrolytic silver recovery apparatus |
| US4028212A (en) * | 1976-06-14 | 1977-06-07 | Bowen Woodrow L | Silver recovery apparatus |
| US4440616A (en) * | 1982-09-30 | 1984-04-03 | General Dental Inc. | Metal collector |
-
1989
- 1989-05-03 AU AU33950/89A patent/AU620868B2/en not_active Ceased
- 1989-05-17 EP EP89305012A patent/EP0342969A1/de not_active Ceased
- 1989-05-19 CA CA 600166 patent/CA1338533C/en not_active Expired - Fee Related
Patent Citations (4)
| Publication number | Priority date | Publication date | Assignee | Title |
|---|---|---|---|---|
| GB1202688A (en) * | 1969-02-04 | 1970-08-19 | Louyot Comptoir Lyon Alemand | Improvements in or relating to methods and devices for automatically recycling and electrolytically regenerating fixing baths of machines for automatically developing sensitive surfaces |
| US3985634A (en) * | 1975-01-27 | 1976-10-12 | Larson Kay R | Electrolytic silver recovery apparatus |
| US4028212A (en) * | 1976-06-14 | 1977-06-07 | Bowen Woodrow L | Silver recovery apparatus |
| US4440616A (en) * | 1982-09-30 | 1984-04-03 | General Dental Inc. | Metal collector |
Cited By (4)
| Publication number | Priority date | Publication date | Assignee | Title |
|---|---|---|---|---|
| WO1991009159A1 (en) * | 1989-12-11 | 1991-06-27 | Eastman Kodak Company | Method for recovering silver from a photographic fixing solution |
| WO1992014865A1 (en) * | 1991-02-14 | 1992-09-03 | Materials Research Pty. Ltd. | Mineral recovery apparatus |
| US5529672A (en) * | 1991-02-14 | 1996-06-25 | Material Research Pty. Ltd. | Mineral recovery apparatus |
| WO1994002663A1 (en) * | 1992-07-17 | 1994-02-03 | Mallonbury Pty. Ltd. | Method and apparatus for mineral recovery |
Also Published As
| Publication number | Publication date |
|---|---|
| AU620868B2 (en) | 1992-02-27 |
| CA1338533C (en) | 1996-08-20 |
| AU3395089A (en) | 1989-11-23 |
Similar Documents
| Publication | Publication Date | Title |
|---|---|---|
| US4834849A (en) | Metal recovery method and apparatus | |
| US3964990A (en) | Precious metal recovery system | |
| US4026784A (en) | Metal recovery unit | |
| US4675085A (en) | Method and apparatus for recovery of metal from solution | |
| EP0342969A1 (de) | Wegwerfzelle zur Rückgewinnung von leitfähigen Metallen und deren Bedienungsanweisung | |
| CN113560271B (zh) | 一种导电夹清洗液回收装置及清洗液回收方法、镀膜机 | |
| US3535218A (en) | Process for recovering copper from leach liquor | |
| US5017273A (en) | Disposable cell for recovering conductive metal and method of using | |
| US4287044A (en) | Silver recovery apparatus | |
| US5873986A (en) | Metal recovery apparatus | |
| US3450622A (en) | Electrolytic apparatus for removing metals from solutions | |
| US4800005A (en) | Treatment plant for recovery of metal from hazardous waste | |
| KR20010023153A (ko) | 전해질내의 물질의 농도를 조절하는 방법 및 장치 | |
| US5454924A (en) | Apparatus for the electrolytic recovery of silver from solutions containing silver | |
| EP0972857B1 (de) | Elektrolytische Zelle | |
| CN120575283A (zh) | 适用于热室的熔盐电解精炼设备及通过熔盐电解精炼来回收乏燃料中铀金属的方法 | |
| US3658683A (en) | Metal recovery apparatus and method | |
| KR101630379B1 (ko) | 저 폐수형 유가금속 전해장치 | |
| KR101739810B1 (ko) | 일체형 전해정련 및 염증류 시스템 및 그 작동 방법 | |
| JP2875819B2 (ja) | 溶融塩電解精製装置 | |
| EP0239805B1 (de) | Behandlung von photographischen Entwicklungsbädern | |
| EP0504190B1 (de) | Verfahren zur rückgewinnung von silber aus photographischen fixierbädern | |
| EP0043821A1 (de) | Vorrichtung zur rückgewinnung von metallen aus lösungen. | |
| GB2092178A (en) | Electrolytic silver recovery | |
| US5118402A (en) | Electrolytic silver recovery system for recovering silver from photographic fixing solutions |
Legal Events
| Date | Code | Title | Description |
|---|---|---|---|
| PUAI | Public reference made under article 153(3) epc to a published international application that has entered the european phase |
Free format text: ORIGINAL CODE: 0009012 |
|
| AK | Designated contracting states |
Kind code of ref document: A1 Designated state(s): DE FR GB IT |
|
| 17P | Request for examination filed |
Effective date: 19900521 |
|
| 17Q | First examination report despatched |
Effective date: 19910912 |
|
| STAA | Information on the status of an ep patent application or granted ep patent |
Free format text: STATUS: THE APPLICATION HAS BEEN REFUSED |
|
| 18R | Application refused |
Effective date: 19931024 |