EP0249070B1 - Vorrichtung zur Regelung der Zirkulation in einem temperaturbeaufschlagten, Entnahmestellen aufweisenden Medienkreislauf - Google Patents

Vorrichtung zur Regelung der Zirkulation in einem temperaturbeaufschlagten, Entnahmestellen aufweisenden Medienkreislauf Download PDF

Info

Publication number
EP0249070B1
EP0249070B1 EP87107376A EP87107376A EP0249070B1 EP 0249070 B1 EP0249070 B1 EP 0249070B1 EP 87107376 A EP87107376 A EP 87107376A EP 87107376 A EP87107376 A EP 87107376A EP 0249070 B1 EP0249070 B1 EP 0249070B1
Authority
EP
European Patent Office
Prior art keywords
valve
circulation
temperature
pressure
regulating valve
Prior art date
Legal status (The legal status is an assumption and is not a legal conclusion. Google has not performed a legal analysis and makes no representation as to the accuracy of the status listed.)
Expired - Lifetime
Application number
EP87107376A
Other languages
English (en)
French (fr)
Other versions
EP0249070A2 (de
EP0249070A3 (en
Inventor
Hans-Dieter Kühl
Hans-Dieter Schmidt
Current Assignee (The listed assignees may be inaccurate. Google has not performed a legal analysis and makes no representation or warranty as to the accuracy of the list.)
Deutsche Vortex GmbH and Co KG
Original Assignee
Deutsche Vortex GmbH and Co KG
Priority date (The priority date is an assumption and is not a legal conclusion. Google has not performed a legal analysis and makes no representation as to the accuracy of the date listed.)
Filing date
Publication date
Application filed by Deutsche Vortex GmbH and Co KG filed Critical Deutsche Vortex GmbH and Co KG
Publication of EP0249070A2 publication Critical patent/EP0249070A2/de
Publication of EP0249070A3 publication Critical patent/EP0249070A3/de
Application granted granted Critical
Publication of EP0249070B1 publication Critical patent/EP0249070B1/de
Anticipated expiration legal-status Critical
Expired - Lifetime legal-status Critical Current

Links

Images

Classifications

    • FMECHANICAL ENGINEERING; LIGHTING; HEATING; WEAPONS; BLASTING
    • F24HEATING; RANGES; VENTILATING
    • F24DDOMESTIC- OR SPACE-HEATING SYSTEMS, e.g. CENTRAL HEATING SYSTEMS; DOMESTIC HOT-WATER SUPPLY SYSTEMS; ELEMENTS OR COMPONENTS THEREFOR
    • F24D19/00Details
    • F24D19/10Arrangement or mounting of control or safety devices
    • F24D19/1006Arrangement or mounting of control or safety devices for water heating systems
    • F24D19/1051Arrangement or mounting of control or safety devices for water heating systems for domestic hot water
    • FMECHANICAL ENGINEERING; LIGHTING; HEATING; WEAPONS; BLASTING
    • F24HEATING; RANGES; VENTILATING
    • F24DDOMESTIC- OR SPACE-HEATING SYSTEMS, e.g. CENTRAL HEATING SYSTEMS; DOMESTIC HOT-WATER SUPPLY SYSTEMS; ELEMENTS OR COMPONENTS THEREFOR
    • F24D17/00Domestic hot-water supply systems
    • F24D17/0078Recirculation systems

Definitions

  • the invention relates to a device for regulating the circulation in a media circuit which is subject to temperature and has extraction points, according to the preamble of patent claim 1.
  • the section guiding the return of the medium has the task of keeping the temperature-controlled medium available at the tapping points. It is inevitable that the return line through which the warm medium flows releases heat to its surroundings. These heat losses can be significant if the return line is relatively long. Such heat losses occur both in line systems in which the circulation of the medium is forced by a pump and in media circuits in which the circulation takes place solely by changing the specific weight of the temperature-controlled medium.
  • a service water system is known from US Pat. No. 4,554,688, in which the supply of a tap with precisely tempered water is to be ensured.
  • a solenoid valve is arranged shortly before the tap, which is controlled by a temperature sensor in the hot water supply. If the incoming water is not at the specified temperature, a circuit is built up via a return path until the temperature at the sensor reaches the preset temperature and then the solenoid valve is opened.
  • the purpose of this device is to reduce the water loss caused by delivering water at temperatures above or below a preset temperature.
  • the invention has for its object to propose a circulation control valve that allows an effective reduction in heat loss in media circuits with return lines without great construction effort, without fear of negative effects on the temperature of the medium to be provided at the tapping points.
  • this object is achieved in that the temperature-sensitive element of the circulation control valve is at least one convex pre-bent bimetallic disc which jumps into a concave deflection when heated and returns to the convex deflection when cooled again.
  • Such disks can be constructed very inexpensively and do not require any control effort, since they are controlled by the temperature of the medium itself.
  • several such bimetallic discs can be arranged in series in the circulation control valve.
  • the valve cover pressed by the temperature-sensitive element in its working position onto a valve seat is advantageously arranged in such a way that the differential pressure resulting from the system pressure and atmospheric pressure acts on the valve cover in the closing direction.
  • tapping points from which tap water is drawn there are often differently used tapping points from which tap water is drawn.
  • hot water is often drawn from a wash basin in a household cycle than from a bathtub.
  • the circulation control valve between the last removal point and the return section, but between two such removal points.
  • a pressure-loaded valve which can be opened by the differential pressure resulting from system pressure and atmospheric pressure is provided to bridge the circulation control valve, this valve being loaded by static means such that it cannot be opened by the pressure in the return line.
  • the circulation control valve and the pressure-loaded valve are preferably combined in one structural unit. This becomes particularly small if the circulation control valve and the pressure-loaded valve are arranged concentrically in a common housing. Because of their small size, such units can be arranged anywhere in the wall area in the vicinity of the optimal removal point. This is especially because of that simply because the circulation control valve according to the invention does not require any control lines or the like.
  • the circulation control valve is designed to be closable even at the lower temperature by means of time-controlled means. This measure prevents the circulation control valve from controlling a circulation of the entire media circuit with hot service water, for example during the night.
  • the time-dependent control can be set in a household circuit so that the circulation control valve is released shortly before the morning use and this releases the circuit. This measure also serves to further reduce heat losses.
  • a particularly simple design for this type of control results when a ferromagnetic tappet is in operative connection with the temperature-sensitive element and / or with the valve cover, and the ferromagnetic tappet can be influenced by a magnet that is periodically passed by a timer to close the circulation control valve.
  • circulation control valve is provided in the vicinity of the last removal point in the section carrying the medium.
  • a circulation control valve is provided in a development of the invention in the case of a plurality of return sections in a media circuit per return section.
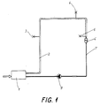
  • the tempered medium for example hot water
  • present in a container (1) is under delivery pressure.
  • a line (2) has Tapping points (3, 4, 5).
  • a circulation control valve (6) is arranged behind the last extraction point (5).
  • a return line (7) leads from the circulation control valve (6) to a feed pump (9) and from there to the container (1).
  • valve 3 has a temperature-sensitive element (10), which has thermal contact with the medium (11), for example water, which is located inside the housing (12) of the circulation control valve (6) and its normal flow direction is indicated by arrows bearing no reference numerals in FIGS. 3 and 4.
  • the inlet opening is denoted by (13) and the outlet opening by (14).
  • valve cover (18) rests on the valve seat (17) in the form of a disk.
  • the valve cover (18) can be moved in the direction of the axis (16) between four wings that are evenly distributed over the circumference. 3 and 4, only two of the opposite wings (19) and (20) are visible.
  • a ring (22) fixed to the housing serves as an abutment for one of the two bimetal disks (23, 24) from which the temperature-sensitive element (10) is made.
  • the bimetallic disks are convexly pre-bent according to FIG. 4 and lie against one another with their edges. When heated, they jump into the concave deflection, which Fig. 3 shows.
  • Fig. 3 shows that the bimental disks (23, 24) which have jumped into the concave deflection lie against one another with their curvatures and press the valve cover (18) away from the ring (22) with their edges and on the Bring the valve seat (17) into contact.
  • the flow through the circulation control valve (6) under the influence of the return flow force caused by the feed pump (9) is not possible in this state of the circulation control valve (6).
  • Fig. 4 and Fig. 10 illustrate that the circulation control valve (6) also prevents the medium from flowing back.
  • the valve cover (18) would immediately lay against the valve seat (17) if the direction of flow should be reversed. He would do this regardless of the position of the bimetallic discs (23) and (24).
  • the media circuit according to FIG. 2 differs from that of FIG. 1 by the following:
  • a return line (7 ⁇ ) goes from the circulation control valve (6 ⁇ ).
  • the two return lines (7) and (7 ⁇ ) open into the return line (7 ⁇ ), in the course of which the feed pump (9) is arranged.
  • the line (2) has two further tapping points (28) and (29).
  • a check valve (30) is arranged in the return line (7) between the feed pump (9) and the container (1).
  • the last removal point (29) is assigned a structural unit (31) comprising a circulation control valve (32) and a pressure-loaded valve (33), which is described in more detail with reference to FIGS. 7 to 9.
  • circulation control valve (32) and pressure-loaded valve (33) are assembled to form a structural unit (31).
  • the inlet opening for the medium (11) is designated by (35), the outlet opening by (36).
  • a valve seat (39) of the pressure-loaded valve (33) fixed to the housing is arranged concentrically to the central axis (38) of the housing (34) in the direction of flow of the medium (11), indicated by arrows not provided with reference numbers.
  • valve seat (39) is followed by the centrally perforated sealing body (40), which carries the sealing ring (70) for the pressure-loaded valve (33) and is movable along the central axis (38).
  • the sealing body (40) also carries the sealing ring (71) for the circulation control valve (32).
  • the sealing body (40) also represents the bottom of a flowable cage (43).
  • the cage (43) serves to axially guide a valve cover (18) of the circulation control valve (32) which can be moved in the direction of the central axis (38) and to accommodate the temperature-sensitive element (10) of the circulation control valve (32).
  • the temperature-sensitive element (10) consists of the bimetallic disks (23) and (24) already known from FIGS. 3 and 4.
  • the bottom (73) of the cage (72) serves on the one hand as an abutment for the temperature-sensitive element (10) and on the other hand as an abutment for the spring element (42).
  • the force of the spring element (42) is applied to the sealing ring (via the bottom (73) of the cage (72) and via the four wings, of which only two wings (19) and (20) are visible in FIGS. 70) for the pressure-loaded valve (33) and thus to the valve seat (39).
  • the cage (72) has four wings distributed evenly around the circumference, of which in 7 to 9 the wings (48, 49) and (50) are visible.
  • the recesses between the wings allow the medium (11) to flow around the bimetallic discs (23) and (24).
  • the cover (37) which closes the housing (34) is the second abutment for the spring element (42).
  • the line (2) has only the tapping points (3, 4) and (29). From the line (2) branches off a line (2 ⁇ ) which has tapping points (3 ⁇ , 4 ⁇ ) and (29 ⁇ ). Upstream of the last extraction point (29 ⁇ ) there is a structural unit (31 ⁇ ) comprising a circulation control valve and a pressure-loaded valve, which is designed as described in FIGS. 7 to 9. Behind the last extraction point (29,) begins a return line (7 ⁇ ), which combines with the return line (7) to form a return line (7 ⁇ ). The feed pump (9) is in the train of the return line (7 ⁇ ). The return lines (7, 7 ⁇ ) are provided with check valves (54, 55).
  • a timer (61) is fastened on the circulation control valve (6) via a holding bracket (60).
  • This can consist, for example, of a synchronous motor which circulates a magnet (62), which is fastened on a disk (63), in a twenty-four hour cycle.
  • the magnetic forces of the magnet (62) act on a magnet (64) which is firmly connected to a plunger (65).
  • This acts via the temperature-sensitive element (10) on the valve cover (18) and urges it against the valve seat (17).
  • the circulation control valve (6) is thus closed, although the temperature-sensitive element with its cooled bimetallic discs (23, 24) would in itself release the flow for the medium (11).
  • the temperature-sensitive element (10) again determines the circulation in the media circuit.
  • the return lines which generally have a smaller cross-section, are better protected against erosion damage and contamination or deposits due to the lower temperature level and the lower throughput.
  • the circulation control valve is arranged behind the last extraction point, it is also relatively well protected against contamination, deposits and erosion damage. In addition, it can prevent backflow at this installation location, so that when opening the medium can not flow to a tapping point via the return lines of the tapping point. Regardless of the position of the circulation control valve, for example the valve cover (18) would lie on the valve seat (17) and prevent the backflow (FIG. 10).
  • the circulating volume flowing through the return line and the resulting heat losses are so small that it makes sense, for example, in a domestic water system in a tenement building as a result of the invention, to incorporate quantity meters in branched line systems in the feeds for the purpose of hot water cost calculations without the line branches , which have the lower flow resistance as a whole, are impermissibly disadvantaged.
  • the invention also enables the automatic tuning of branched circuits when only one pump is installed in the common part of the return line.

Landscapes

  • Engineering & Computer Science (AREA)
  • Physics & Mathematics (AREA)
  • Thermal Sciences (AREA)
  • Chemical & Material Sciences (AREA)
  • Combustion & Propulsion (AREA)
  • Mechanical Engineering (AREA)
  • General Engineering & Computer Science (AREA)
  • Temperature-Responsive Valves (AREA)

Description

  • Die Erfindung betrifft eine Vorrichtung zur Regelung der Zirkulation in einem temperaturbeaufschlagten, Entnahmestellen aufweisenden Medienkreislauf gemäß dem Oberbegriff des Patentanspruchs 1.
  • Bei den vorgenannten Leitungssystemen hat der den Rücklauf des Mediums führende Abschnitt die Aufgabe, an den Entnahmestellen ständig temperiertes Medium zur Verfügung zu halten. Dabei bleibt es nicht aus, daß die von dem warmen Medium durchflossene Rücklaufleitung Wärme an ihre Umgebung abgibt. Diese Wärmeverluste können beträchtlich sein, wenn die Rücklaufleitung relativ lang ist. Derartige Wärmeverluste treten sowohl bei Leitungssystemen auf, bei denen der Umlauf des Medium durch eine Pumpe erzwungen wird als auch bei Medienkreisläufen, bei denen der Umlauf allein durch die Veränderung des spezifischen Gewichts des temperierten Mediums erfolgt.
  • Es ist bekannt, thermisch und/oder zeitlich gesteuerte Pumpen in Medienkreisläufen anzuordnen, um nur dann eine Zirkulation des warmen Mediums im Medienkreislauf zu bewirken, wenn an den Entnahmestellen sich das warme Medium abgekühlt hat beziehungsweise wenn ein Zeitpunkt zur Abnahme vorgesehen ist. Derartige Steuerungen sind sehr aufwendig und relativ schlecht zu den Zapfstellen zuzuordnen.
  • Aus dem US-Patent 4,554,688 ist eine Brauchwasseranlage bekannt, bei der die Versorgung einer Zapfstelle mit genau temperiertem Wasser sichergestellt werden soll. Dazu ist kurz vor der Zapfstelle ein Magnetventil angeordnet, das über einen Temperatursensor im Warmwasserzulauf gesteuert wird. Ist das zufließende Wasser nicht auf der vorgegebenen Temperatur, so wird solange über einen Rückführweg ein Kreislauf aufgebaut, bis die Temperatur am Sensor die voreingestellte Temperatur erreicht und dann das Magnetventil geöffnet. Diese Einrichtung bezweckt die Verringerung des Wasserverlustes, der durch die Anlieferung von Wasser mit Temperaturen, die oberhalb oder unterhalb einer voreingestellten Temperatur sind, entsteht.
  • Der Erfindung liegt die Aufgabe zugrunde, ein Zirkulationsregelventil vorzuschlagen, daß eine wirksame Verminderung der Wärmeverluste in Medienkreisläufen mit Rücklaufleitungen ohne großen baulichen Aufwand zuläßt, ohne daß dabei negative Auswirkungen auf die Temperatur des an den Entnahmestellen bereitzustellenden Mediums zu befürchten sind.
  • Gemäß der Erfindung wird diese Aufgabe dadurch gelöst, daß das temperaturempfindliche Element des Zirkulationsregelventils mindestens eine konvex vorgebogene, bei Erwärmung in eine konkave Durchbiegung umspringende und bei Wiederabkühlung in die konvexe Durchbiegung zurückspringende Bimetallscheibe ist.
  • Derartige Scheiben sind sehr kostengünstig aufzubauen und benötigen keinerlei Steuerungsaufwand, da sie durch die Temperatur des Mediums selbst gesteuert werden. Zur Erhöhung der Arbeitskraft einer solchen Bimetallscheibe und/oder seines Stellweges können mehrere derartige Bimetallscheiben in Reihe geschaltet im Zirkulationsregelventil angeordnet werden.
  • Bei der baulichen Ausführung des Zirkulationsregelventils wird der von dem temperaturempfindlichen Element in seiner Arbeitsstellung auf einen Ventilsitz gedrückte Ventildeckel vorteilhafter Weise derart angeordnet, daß der sich aus Systemdruck und atmospährischen Druck ergebende Differenzdruck auf den Ventildeckel in Schließrichtung einwirkt. Bei einer solchen Ausbildung des Zirkulationsregelventils wird eine Rückströmung des bereits in der Rücklaufleitung befindlichen abgekühlten Brauchwassers zu den Entnahmestellen automatisch verhindert.
  • In Medienkreisläufen bestehen häufig unterschiedlich beanspruchte Entnahmestellen, aus denen Brauchwasser gezapft wird. So wird beispielsweise in einem Haushaltskreislauf bei einem Waschbecken des öfteren Warmwasser entnommen als bei einer Badewanne. Es kann daher vorteilhaft sein, das Zirkulationsregelventil nicht zwischen der letzten Entnahmestelle und dem Rücklaufabschnitt anzuordnen sondern zwischen zwei derartigen Entnahmestellen. Um dieses zu ermöglichen wird in Weiterbildung der Erfindung zur Überbrückung des Zirkulationsregelventils ein durch den sich aus Systemdruck und Atmosphärendruck ergebenden Differenzdruck öffenbares druckbelastetes Ventil vorgesehen, wobei dieses Ventil durch statische Mittel so belastet ist, daß es durch den Druck in der Rücklaufleitung nicht öffenbar ist. Mit dieser Maßnahme lassen sich weitere Wärmeverluste zwischen Entnahmestellen vermindern.
  • Vorzugsweise werden das Zirkulationsregelventil und das druckbelastete Ventil in einer Baueinheit zusammengefaßt. Diese wird dann besonders klein, wenn das Zirkulationsregelventil und das druckbelastete Ventil in einem gemeinsamen Gehäuse konzentrisch angeordnet werden. Derartige Baueinheiten lassen sich wegen ihrer geringen Größe beliebig im Wandbereich in der Nähe der optimalen Entnahmestelle anordnen. Dies ist insbesondere deswegen einfach, weil das erfindungsgemäße Zirkulationsregelventil keinerlei Steuerleitungen oder dergleichen erfordert.
  • In Weiterbildung der Erfindung wird das Zirkulationsregelventil durch zeitabhängig gesteuerte Mittel auch bei der unteren Temperatur schließbar ausgebildet. Diese Maßnahme verhindert, daß das Zirkulationsregelventil eine Zirkulation des gesamten Medienkreislaufes mit warmem Brauchwasser zum Beispiel während der Nachtstunden steuert. Die zeitabhängige Steuerung kann dabei in einem Haushaltskreislauf so eingestellt werden, daß kurz vor der morgendlichen Gebrauchszeit das Zirkulationsregelventil freigegeben wird und dieses den Kreislauf freigibt. Auch diese Maßnahme dient zur weiteren Verminderung von Wärmeverlusten.
  • Eine besonders einfache konstruktive Ausbildung für diese Art der Steuerung ergibt sich, wenn ein ferromagnetischer Stößel mit dem temperaturempfindlichen Element und/oder mit dem Ventildeckel in Wirkverbindung steht, und der ferromagnetische Stößel durch einen von einer Zeitschaltuhr periodisch vorbeigeführten Magneten zur Schließung des Zirkulationsregelventils beeinflußbar ist.
  • Mit einer Ausbildung eines Medienkreislaufes gemäß der Erfindung wird effektiv nur dann eine Zirkulation erfolgen, wenn die Temperatur an den Entnahmestellen auf eine vorgebbare Grenztemperatur abgesunken ist. Damit werden die Wärmeverluste in der Rücklaufleitung drastisch vermindert. Dabei ist es besonders vorteilhaft, wenn das Zirkulationsregelventil in der Nähe der letzten Entnahmestelle im Medium führenden Abschnitt vorgesehen ist.
  • Werden mehrere Etagen eines Hauses mit warmen Brauchwasser versorgt, so ist es bekannt, pro Etage einen Rücklaufabschnitt im Medienkreislauf vorzusehen. In unterschiedlichen Abschnitten pro Etage ergeben sich zwangsläufig unterschiedliche Strömungswiderstände. Dadurch wird bei nicht laufender Abnahme von warmen Brauchwasser den Etagen unterschiedlich warmes Brauchwasser entsprechend den unterschiedlichen Strömungswiderständen zugeführt. Man versucht daher, die Strömungswiderstände durch von Hand einstellbare Reduzierventile zu vergleichmäßigen, was jedoch insbesondere im Hinblick auf längerfristige Funktion sehr schwierig ist. Zur Behebung dieser Nachteile wird in einer Weiterbildung der Erfindung bei mehreren Rücklaufabschnitten in einem Medienkreislauf pro Rücklaufabschnitt ein Zirkulationsregelventil vorgesehen. Bei unterschiedlichen Strömungswiderständen wird nunmehr zunächst nur ein Zweig des Medienkreislaufs mit warmem Brauchwasser durchflossen und damit sehr schnell auf die gewünschte Brauchwassertemperatur angehoben. Sobald das in dieser Rücklaufleitung leigende Zirkulationsregelventil schließt, steht der gesamte Durchfluß dem zweiten Medienkreislauf zur Verfügung. Gleiches gilt sinngemäß natürlich für Medienkreisläufe mit einer Vielzahl von Rücklaufabschnitten, in denen je Rücklaufabschnitt ein Zirkulationsregelventil vorgesehen wird.
  • In der Zeichnung sind schematische Ausführungsbeispiele der Erfindung dargestetlt. Es zeigen:
  • Fig. 1
    einen Medienkreislauf mit einem Zirkulationsregelventil,
    Fig. 2
    einen Medienkreislauf mit zwei Rückleitungsabschnitten,
    Fig. 3
    den Längsschnitt durch ein erstes Ausführungsbeispiel eines Zirkulationsregelventils in geschlossenem Zustand,
    Fig. 4
    das Ventil gemäß Fig. 3 in Offenstellung,
    Fig. 5
    einen Medienkreislauf, bei dem das Zirkulationsregelventil zwischen zwei Entnahmestellen angeordnet ist,
    Fig. 6
    einen Medienkreislauf mit zwei Rückführleitungen, wobei jeweils die Zirkulationsregelventile zwischen zwei Entnahmestellen angeordnet sind,
    Fig. 7
    den Längsschnitt durch ein zweites Ausführungsbeispiel eines Zirkulationsregelventils mit einem druckbelasteten Überbrückungsventil für das thermisch gesteuerte Zirkulationsregelventil, wobei das Zirkulationsregelventil geschlossen ist,
    Fig. 8
    das gleiche Ausführungsbeispiel wie in Fig. 7, jedoch mit geöffnetem Zirkulationsregelventil,
    Fig. 9
    das gleiche Ausführungsbeispiel wie in den Fig. 7 und 8 jedoch mit geschlossenem Zirkulationsregelventil und geöffnetem druckbelasteten Überbrückungsventil,
    Fig. 10
    das Ausführungsbeispiel gemäß Fig. 4 mit durch den in der Rücklaufleitung herrschenden Druck geschlossenen Ventildeckel, und
    Fig. 11
    eine Einrichtung zur zeitabhängigen Steuerung des Zirkulationsregelventils.
  • Bei dem Ausführungsbeispiel nach Fig. 1 steht das in einem Behälter (1) vorhandene temperierte Medium, beispielsweise Warmwasser, unter Förderdruck. Eine Leitung (2) weist Entnahmestellen (3, 4, 5) auf. Hinter der letzten Entnahmestelle (5) ist ein Zirkulationsregelventil (6) angeordnet. Vom Zirkulationsregelventil (6) aus führt eine Rücklaufleitung (7) zu einer Förderpumpe (9) und von dort weiter zum Behälter (1).
  • Das Zirkulationsregelventil (6) besitzt gemäß Fig. 3 ein temperaturempfindliches Element (10), das thermischen Kontakt mit dem Medium (11), beispielsweise Wasser hat, welches sich im Inneren des Gehäuses (12) des Zirkulationsregelventil (6) befindet und dessen normale Strömungsrichtung durch keine Bezugsziffern tragende Pfeile in den Fig. 3 und 4 angedeutet ist. Die Eintrittsöffnung ist mit (13), die Austrittsöffnung mit (14) bezeichnet. Auf dem Ventilsitz (17) liegt der mit einem Dichtring aus gummielastischem Material versehene Ventildeckel (18).
  • Gemäß Fig. 3 liegt auf dem Ventilsitz (17) der Ventildeckel (18) in Gestalt einer Scheibe auf. Der Ventildeckel (18) ist zwischen vier über den Umfang gleichmäßig verteilte Flügel in Richtung der Achse (16) bewegbar. In den Fig. 3 und 4 sind lediglich zwei der einander gegenüberliegenden Flügel (19) und (20) sichtbar. Ein gehäusefest angeordneter Ring (22) dient als Widerlager für eine der beiden Bimetallscheiben (23, 24), aus denen das temperaturempfindliche Element (10) besteht. Die Bimetallscheiben sind gemäß Fig. 4 konvex vorgebogen und liegen mit ihren Rändern aneinander. Bei Erwärmung springen sie in die konkave Durchbiegung um, die Fig. 3 zeigt.
  • Fig 3 zeigt, daß die nach Erwärmung in die konkave Durchbiegung umgesprungenen Bimentallscheiben (23, 24) mit ihren Wölbungen aneinanderliegen und mit ihren Rändern den Ventildeckel (18) von dem Ring (22) wegdrücken und auf dem Ventilsitz (17) zur Anlage bringen. Die Dürchströmung des Zirkulationsregelventils (6) unter dem Einfluß der durch die Förderpumpe (9) hervorgerufenen Rücklaufförderkraft ist in diesem Zustand des Zirkulationsregelventils (6) nicht möglich.
  • Nach Abkühlung des Mediums und damit der Bimetallscheiben (23, 24) springen diese in die in Fig. 4 dargestellte konvexe Durchbiegung um, so daß jetzt der Ventildeckel (18) vom Ventilsitz (17) abheben kann, wie es Fig. 4 zeigt. Nun umströmt ein Teil des Mediums (11) auch die Bimetallscheiben (23, 24), wodurch sehr rasch eine erneute Erwärmung und erneutes Umspringen eintreten wird.
  • Fig. 4 und Fig. 10 verdeutlichen, daß das Zirkulationsregelventil (6) zugleich ein Rückströmen des Mediums verhindert. Der Ventildeckel (18) würde sich nämlich sofort gegen den Ventilsitz (17) legen, falls die Strömungsrichtung sich umkehren sollte. Er würde dies unabhängig von der jeweiligen Stellung der Bimetallscheiben (23) und (24) tun.
  • Der Medienkreislauf nach Fig. 2 unterscheidet sich durch folgendes von dem der Fig. 1:
  • Von der Leitung (2) zweigt eine Leitung (2ʹ) ab, welche die Entnahmestellen (3ʹ, 4ʹ) und (5ʹ) besitzt. Hinter der Entnahmestelle (5ʹ) befindet sich ein weiteres Zirkulationsregelventil (6ʹ), das genauso ausgebildet ist wie das Zirkulationsregelventil (6).
  • Von dem Zirkulationsregelventil (6ʹ) geht eine Rücklaufleitung (7ʹ) ab. Die beiden Rücklaufleitungen (7) und (7ʹ) münden in die Rücklaufleitung (7ʺ), in deren Verlauf die Förderpumpe (9) angeordnet ist.
  • Unter der Annahme, daß alle Entnahmestellen geschlossen sind, wird die Leitung (2ʹ) wegen ihres geringeren Strömungswiderstands schneller durchströmt, so daß das Zirkulationsregelventil (6ʹ) sich schneller schließen wird als das Zirkulationsregelventil (6). Sobald das Zirkulationsregelventil (6ʹ) geschlossen ist, setzt aber in der leitung (2) und in der Rücklaufleitung (7) eine forcierte Strömung ein, so daß sich daraufhin auch das Zirkulationsregelventil (6) sehr rasch schließen wird.
  • Von dem Medienkreislauf nach Fig. 1 unterscheidet sich derjenige nach Fig. 5 durch folgendes:
  • Die Leitung (2) besitzt zwei weitere Entnahmestellen (28) und (29). Zwischen Förderpumpe (9) und Behälter (1) ist in der Rücklaufleitung (7) ein Rückschlagventil (30) angeordnet.
  • Statt eines der vorbeschriebenen Zirkulationsregelventile ist der letzten Entnahmestelle (29) hier eine Baueinheit (31) aus Zirkulationsregelventil (32) und druckbelasteten Ventil (33) zugeordnet, das unter Bezugnahme auf Fig. 7 bis 9 näher beschrieben wird.
  • Nach den Fig. 7 bis 9 sind Zirkulationsregelventil (32) und druckbelastetes Ventil (33) zu einer Baueinheit (31) zusammengebaut. Die Eintrittsöffnung für das Medium (11) ist mit (35), die Austrittsöffnung mit (36) bezeichnet.
  • In Strömungsrichtung des Mediums (11), kenntlich gemacht durch nicht mit Bezugsziffern versehene Pfeile, ist konzentrisch zur Mittelachse (38) des Gehäuses (34) ein gehäusefester Ventilsitz (39) des druckbelasteten Ventils (33) angeordnet.
  • Auf den Ventilsitz (39) folgt der den Dichtring (70) für das druckbelastete Ventil (33) tragende, zentral perforierte, längs der Mittelachse (38) bewegbare Dichtkörper (40).
  • Der Dichtkörper (40) trägt zugleich den Dichtring (71) für das Zirkulationsregelventil (32). Der Dichtkörper (40) stellt zugleich den Boden eines umströmbaren Käfigs (43) dar.
  • Der Käfig (43) dient der Axialführung eines in Richtung der Mittelachse (38) bewegbaren Ventildeckels (18) des Zirkulationsregelventils (32) sowie der Aufnahme des temperaturempfindlichen Elements (10) des Zirkulationsregelventils (32).
  • Das temperaturempfindliche Element (10) besteht aus den bereits aus Fig. 3 und 4 bekannten Bimetallscheiben (23) und (24).
  • Ein zweiter, in Richtung der Mittelachse (38) bewegbarer und durch das Medium (11) umströmbarer Käfig (72) dient der Axialführung des druckbelasteten Ventils (33) im Gehäuse (34). Der Boden (73) des Käfigs (72) dient einerseits als Widerlager des temperaturempfindlichen Elements (10), andererseits als Widerlager des Federelementes (42).
  • Die Kraft des Federelementes (42) wird über den Boden (73) des Käfigs (72) und über die vier Flügel, von denen in Fig. 7 bis 9 nur zwei Flügel (19) und (20) sichtbar sind, auf den Dichtring (70) für das druckbelastete Ventil (33) und somit auf den Ventilsitz (39) übertragen.
  • Der Käfig (72) weist zwecks Führung im Gehäuse (34) vier gleichmäßig am Umfang verteilte Flügel auf, von denen in Fig. 7 bis 9 die Flügel (48, 49) und (50) sichtbar sind. Die Aussparungen zwischen den Flügeln ermöglichen ein gutes Umströmen der Bimetallscheiben (23) und (24) mit dem Medium (11).
  • Der das Gehäuse (34) abschließende Deckel (37) ist das zweite Widerlager für das Federelement (42).
  • Wenn gemäß Fig. 5 sämtliche Entnahmestellen geschlossen sind, die Bimetallscheiben (23) und (24) aber noch erwärmt sind, ergibt sich für die Baueinheit (31) der in Fig. 7 dargestellte Zustand. Das Federelement (10) drückt über den Boden des Käfigs (72) und über die vier Flügel des strömbaren Käfigs (43) den im Dichtkörper (40) befindlichen Dichtring (70) auf den Ventilsitz (39), so daß das druckbelastete Ventil (33) geschlossen ist. Die beiden Bimetallscheiben (23) und (24) des temperaturempfindlichen Elements (10) haben den Ventildeckel (45) gegen den Dichtring (71) angelegt, so daß auch das Zirkulationsregelventil (32) geschlossen ist. Demzufolge kann die Baueinheit (31) nicht durchströmt werden. Wird nun aus diesem Zustand heraus die Entnahmestelle (29) geöffnet, so hält das Federelement (42) dem anstehenden Differenzdruck des Mediums nicht mehr stand, so daß der Ventildeckel (40) und somit der Dichtring (70) vom Ventilsitz (39) abhebt, wie es Fig. 9 zeigt. Fast ungehindert kann nun das Medium (11) die Baueinheit (31) durchströmen, obwohl das Zirkulationsregelventil (32) geschlossen ist.
  • Wird aber die stromab gelegene Entnahmestelle (29) nicht geöffnet, so kühlen sich im Absperrzustand die beiden Bimetallscheiben (23) und (24) ab, so daß sie in die konvexe Durchbiegung zurückspringen, so wie es Fig. 8 zeigt. Dadurch wird der Ventildeckel (45) durch das temperaturempfindliche Element (10) nicht mehr angedrückt, so daß das Medium (11) zwischen Dichtring (71) und Ventildeckel (45) hindurchtreten und somit die ganze Baueinheit (31) durchströmen kann, bis infolge der Wiedererwärmung der Bimetallscheiben (23) und (24) nach deren Umspringen in den konkaven Zustand die Schließstellung nach Fig. 7 erneut erreicht wird.
  • Von dem Medienkreislauf nach Fig. 5 unterscheidet sich derjenige nach Fig. 6 durch folgendes:
  • Die Leitung (2) besitzt lediglich die Entnahmestellen (3, 4) und (29). Von der Leitung (2) zweigt eine Leitung (2ʹ) ab, die Entnahmestellen (3ʹ, 4ʹ) und (29ʹ) besitzt. Stromauf der letzten Entnahmestelle (29ʹ) befindet sich eine Baueinheit (31ʹ) aus Zirkulationsregelventil und druckbelastetem Ventil, die so ausgebildet ist, wie in den Fig. 7 bis 9 beschrieben. Hinter der letzten Entnahmestelle (29ʹ) beginnt eine Rücklaufleitung (7ʹ), die sich mit der Rücklaufleitung (7) zu einer Rücklaufleitung (7ʺ) vereinigt. Die Förderpumpe (9) befindet sich im Zug der Rücklaufleitung (7ʺ). Die Rücklaufleitungen (7, 7ʹ) sind mit Rückschlagventilen (54, 55) versehen.
  • Bei dem Ausführungsbeispiel nach Fig. 11 ist auf dem Zirkulationsregelventil (6) über einen Haltebügel (60) eine Zeitschaltuhr (61) befestigt. Diese kann zum Beispiel aus einem Synchronmotor bestehen, der im vierundzwanzig-Stunden-Rhytmus einen Magneten (62), der auf einer Scheibe (63) befestigt ist, in Umlauf bringt. Die Magnetkräfte des Magneten (62) wirken auf einen Magneten (64), der fest mit einem Stößel (65) verbunden ist. Dieser wiederum wirkt über das temperaturempfindliche Element (10) auf den Ventildeckel (18) ein und drängt diesen gegen den Ventilsitz (17). Damit wird das Zirkulationsregelventil (6) geschlossen, obwohl das temperaturempfindliche Element mit seinen abgekühlten Bimetallscheiben (23, 24) an sich den Durchfluß für das Medium (11) freigeben würde. Sobald der Magnet (62) aus dem Wirkbereich zum Magnet (64) durch die Zeitschaltuhr (61) herausgeschwenkt wird, bestimmt wieder das temperaturempfindliche Element (10) die Zirkulation in dem Medienkreislauf.
  • Für alle Ausführungsbeispiele gilt, daß sich durch die Reduzierung der Umwälzmengen beziehungsweise durch die Umwälzung auf geringerem Temperaturniveau erhebliche Energieeinsparungen ergeben. Das gilt sowohl für den Pumpbetrieb, als auch für den Schwerkraftbetrieb.
  • Die in aller Regel einen geringeren Querschnitt aufweisenden Rücklaufleitungen sind infolge des niedrigeren Temperaturniveaus und des geringeren Durchsatzes besser vor Erosionsschäden und Verschmutzung beziehungsweise Ablagerung geschützt.
  • Wegen der geringeren Umwälzmengen und wegen der zeitlichen Strömungspausen tritt in dem Behälter (1), wenn er als Wärmereservoir, beispielsweise als Nachtspeicher dient, keine Zerstörung seiner Temperaturschichtung auf, was dagegen bei ununterbrochenem Rückströmbetrieb durch auftretende Turbulenzen der Fall wäre.
  • Wird das Zirkulationsregelventil hinter der letzten Entnahmestelle angeordnet, so ist es ebenfalls gegen Verschmutzung, Ablagerungen und Erosionsschäden verhältnismäßig gut geschützt. Außerdem kann es an diesem Einbauort einen Rückfluß verhindern, so daß beim Öffnen einer Entnahmestelle das Medium nicht über die Rücklaufleitungen der Entnahmestelle zuströmen kann. Unabhängig von der Stellung des Zirkulationsregelventils würde nämlich beispielsweise der Ventildeckel (18) sich auf den Ventilsitz (17) legen und die Rückströmung verhindern (Fig. 10).
  • Die durch die Rücklaufleitung strömende Umwälzmenge und die sich daraus ergebenden Wärmeverluste sind so gering, daß es beispielsweise bei einer Brauchwasseranlage in einem Mietshaus infolge der Erfindung sinnvoll wird, bei verzweigten Leitungssystemen in die Vorläufe zum Zweck der Warmwasser-Kostenberechnungen Mengenzähler einzubauen, ohne daß die Leitungszweige, die den geringeren Strömungswiderstand insgesamt aufweisen, dabei unzulässig benachteiligt werden.
  • Die Erfindung ermöglicht auch die automatische Abstimmung verzweigter Kreisläufe bei Einbau nur einer Pumpe in den gemeinsamen Teil der Rücklaufleitung.

Claims (9)

  1. Vorrichtung zur Regelung der Zirkulation in einem temperaturbeaufschlagten, EntnahmestelJen aufweisenden Medienkreislauf mit einem das warme Brauchwasser führenden, die Entnahmestellen enthaltenden Abschnitt und einem den Rücklauf des Brauchwassers führenden Abschnitt und einem die Strömung im Rücklaufabschnitt (7; 7') regelnden Zirkulationsventil (6; 32) in der Nähe einer Entnahmestelle (3, 4, 5; 28, 29), vorzugsweise der letzten Entnahmestelle (5; 5'; 29; 29'), das mit einem temperaturempfindlichen Element (10) im Kontakt mit dem Medium (11) steht und durch die Temperatur im Medium (11) gesteuert bei einer oberen Grenztemperatur schließbar und bei einer unteren Grenztemperatur öffenbar ist,
    dadurch gekennzeichnet,
    daß das temperaturempfindliche Element (10) des Zirkulationsregelventils (6; 32) mindestens eine konvex vorgebogene, bei Erwärmung in eine konkave Durchbiegung umspringende und bei Wiederabkühlung in die konvexe Durchbiegung zurückspringende Bimetallscheibe (23; 24) ist.
  2. Vorrichtung nach Anspruch 1, dadurch gekennzeichnet, daß der von dem temperaturempfindlichen Element (10) in seiner Arbeitsstellung auf einen Ventilsitz (17) gedrückte Ventildeckel (18) zum Element (10) und innerhalb des Zirkulationsregelventils (6; 32) so angeordnet ist, daß der sich aus Systemdruck und atmosphärischem Druck ergebende Differenzdruck auf den Ventildeckel (18) in Schließrichtung einwirkt.
  3. Vorrichtung nach Anspruch 1 oder 2, dadurch gekennzeichnet, daß das Zirkulationsregelventil (6; 32) zwischen zwei Entnahmestellen (28, 29; 4, 29; 4', 29') angeordnet ist, daß ein durch den sich aus Systemdruck und Atmosphärendruck ergebenden Differenzdruck öffenbares druckbelastetes Ventil (33) zur Überbrückung des Zirkulationsregelventils (32) vorgesehen ist und daß dieses Ventil (33) durch statische Mittel (42) so belastet ist, daß es durch den Druck in der Rücklaufleitung nicht öffenbar ist.
  4. Vorrichtung nach Anspruch 3, dadurch gekennzeichnet, daß das Zirkulationsregelventil (32) und das druckbelastete Ventil (33) in einer Baueinheit (31) zusammengefaßt sind.
  5. Vorrichtung nach Anspruch 4, dadurch gekennzeichnet, daß das Zirkulationsregelventil (32) und das druckbelastete Ventil (33) in einem gemeinsamen Gehuse (34) axial hintereinander auf einer gemeinsamen Mittelachse (38) angeordnet sind.
  6. Vorrichtung nach einem der Ansprüche 1 bis 5, dadurch gekennzeichnet, daß durch zeitabhängig gesteuerte Mittel (61 bis 65) das Zirkulationsregelventil (6; 32) auch bei der unteren Grenztemperatur schließbar ist.
  7. Vorrichtung nach Anspruch 6, dadurch gekennzeichnet, daß ein ferromagnetischer Stößel (65) mit dem temperaturempfindlichen Element (10) und/oder mit dem Ventildeckel (18) oder dem Dichtkörper (40) in Wirkverbindung steht, der durch einen von einer Zeitschaltuhr (61) periodisch vorbeigeführten Magneten (62) zur Schließung des Zirkulationsregelventils (6; 32) beeinflußbar ist.
  8. Vorrichtung nach einem der Ansprüche 1 bis 7, dadurch gekennzeichnet, daß bei mehreren Rücklaufabschnitten (7, 7') in einem Medienkreislauf pro Rücklaufabschnitt ein Zirkulationsregelventil (6; 32) vorgesehen ist.
  9. Vorrichtung nach einem der Ansprüche 1 bis 8, dadurch gekennzeichnet, daß das Zirkulationsregelventil (6; 32) zwischen der letzten Entnahmestelle (5; 5'; 29; 29') und dem Rücklaufabschnitt (7; 7') angeordnet ist.
EP87107376A 1986-06-07 1987-05-21 Vorrichtung zur Regelung der Zirkulation in einem temperaturbeaufschlagten, Entnahmestellen aufweisenden Medienkreislauf Expired - Lifetime EP0249070B1 (de)

Applications Claiming Priority (2)

Application Number Priority Date Filing Date Title
DE19863619217 DE3619217A1 (de) 1986-06-07 1986-06-07 Vorrichtung zur regelung der zirkulation in einem temperaturbeaufschlagten, entnahmestellen aufweisenden medienkreislauf
DE3619217 1986-06-07

Publications (3)

Publication Number Publication Date
EP0249070A2 EP0249070A2 (de) 1987-12-16
EP0249070A3 EP0249070A3 (en) 1988-07-20
EP0249070B1 true EP0249070B1 (de) 1991-04-17

Family

ID=6302525

Family Applications (1)

Application Number Title Priority Date Filing Date
EP87107376A Expired - Lifetime EP0249070B1 (de) 1986-06-07 1987-05-21 Vorrichtung zur Regelung der Zirkulation in einem temperaturbeaufschlagten, Entnahmestellen aufweisenden Medienkreislauf

Country Status (3)

Country Link
EP (1) EP0249070B1 (de)
DE (2) DE3619217A1 (de)
DK (1) DK291387A (de)

Families Citing this family (10)

* Cited by examiner, † Cited by third party
Publication number Priority date Publication date Assignee Title
EP0690269B1 (de) * 1994-06-29 1999-10-27 Noboru Maruyama Warmwasserversorgungsgerät
DE19518910C1 (de) * 1995-05-28 1996-09-05 Richard Hettich Warmwasserversorgung
DE19608325A1 (de) * 1996-03-05 1997-09-18 Oliver Kudera Verfahren und Vorrichtung zum Ablassen und wieder Bereitstellen von kaltgewordenem Warmwasser aus der Warmwasserleitung durch die Kaltwasserleitung
DE10016179C2 (de) * 2000-03-31 2002-10-24 Bosch Gmbh Robert Heizungsanlage mit einem Wärmeerzeuger, einem Wärmeübertrager für einen Heizkreis und einen Brauchwasserladekreis eines Warmwasserspeichers
DE10318821B4 (de) 2003-04-16 2007-06-21 Oliver Laing Verfahren zur Bereitstellung von warmem Wasser in einer Brauchwasserinstallation und Brauchwasserinstallation
EP1681515B1 (de) * 2005-01-13 2012-05-02 Georg Fischer JRG AG Verfahren und Vorrichtung zur Zirkulationsregelung in Warmwasserkreisläufen
US9027844B2 (en) 2010-03-05 2015-05-12 Xylem Ip Holdings Llc Water delivery system and valve for a sink
DE202010003376U1 (de) * 2010-03-09 2011-08-01 Gebrüder Kemper GmbH + Co Metallwerke Trink- und Brauchwassersystem
US8934763B2 (en) 2012-04-20 2015-01-13 Xylem Ip Holdings Llc Water delivery system and method for making hot water available in a domestic hot water installation
CZ309979B6 (cs) * 2023-01-11 2024-03-27 Pavel Ing Koudelka Oběžná soustava pro ohřev užitkové vody

Family Cites Families (6)

* Cited by examiner, † Cited by third party
Publication number Priority date Publication date Assignee Title
DE2945568A1 (de) * 1979-11-10 1981-05-21 Wolfgang Dipl.-Phys. Dr.rer.nat. 5100 Aachen Thiele Warmwasserversorgungsvorrichtung
DE3143081A1 (de) * 1981-10-30 1983-05-11 Grundfos A/S, 8850 Bjerringbro Brauchwasseranlage mit gesteuertem umwaelzpumpenaggregat
DE3309199A1 (de) * 1982-09-07 1984-09-20 Karl Heinz 8909 Haupeltshofen Goßner Brauchwasser-zirkulationsanordnung fuer warmwasser
DE3242491C2 (de) * 1982-11-18 1987-04-09 Diehl GmbH & Co, 8500 Nürnberg Häusliches Warmwasserversorgungssystem
US4554688A (en) * 1984-04-17 1985-11-26 Puccerella Thomas J Water saving system
DE3431555A1 (de) * 1984-08-28 1986-03-06 Peter von 6300 Gießen Schnakenburg Warmwasser-versorgungsanlage

Also Published As

Publication number Publication date
DE3769371D1 (de) 1991-05-23
EP0249070A2 (de) 1987-12-16
EP0249070A3 (en) 1988-07-20
DK291387A (da) 1987-12-08
DE3619217A1 (de) 1987-12-10
DK291387D0 (da) 1987-06-04

Similar Documents

Publication Publication Date Title
EP2487301B1 (de) Trink- oder Brauchwassersystem
EP0249070B1 (de) Vorrichtung zur Regelung der Zirkulation in einem temperaturbeaufschlagten, Entnahmestellen aufweisenden Medienkreislauf
DE3522344A1 (de) Verfahren zur regelung der temperatur des an ein warmwasser-versorgungssystem mit zirkulationsleitung angeschlossenen verbrauchern zufliessenden warmwassers und warmwasserversorgungssystem zur durchfuehrung des verfahrens
DE102012211921B4 (de) Temperaturabhängig schaltendes Ventil und Temperatur-Schichtungssystem zum Speichern von Flüssigkeiten unterschiedlicher Temperatur
DE3843376C2 (de)
DE19504730C1 (de) Warmwasserbereitungsanlage nach dem Durchflußprinzip mit Leistungsbegrenzung
DE1299393B (de) Warmwassererzeuger, insbesondere Heizwassererzeuger
EP1792125B1 (de) Brauchwasserbereiter
DE4418737C2 (de) Anordnung zur Warmwasserbereitung mit Satelitenspeicher und Rückschlagventil
DE19607432C1 (de) Vorrichtung zur Durchflußregelung einer Flüssigkeit
DE19816037A1 (de) Wasserspeicher in Heizungsanlagen, wie Warmwasser- oder Pufferspeicher
CH655376A5 (de) Heizanlage zur warmwasserbereitung.
DE69421388T2 (de) Warmwasserversorgungsgerät
DE2912785C3 (de) Warmwasserbereiter
DE2930276A1 (de) Thermostatisch geregeltes mischventil
DE1816944A1 (de) Warmwasserbereitungsvorrichtung
EP0332606B1 (de) Vorrichtung zur Erwärmung von Brauchwasser
DE310254C (de)
DE69614926T2 (de) Heizung für Warmwasserspeicher
AT294986B (de) Elektrischer Durchlauferhitzer
DE1679734A1 (de) Anlage zur Erwaermung Verbrauchswassers mittels Fernheizungswassers und Regulierungsgeraet fuer die Anlage
DE29819670U1 (de) Wärmeaustauscher-Aggregat für die Brauchwasserbereitung
DE19934627A1 (de) Warmwasserversorgungsanlage
DE1944439U (de) Heizzelle.
AT139956B (de) Gliederkessel mit Vorrichtung zur Herbeiführung unterschiedlicher Temperaturen in den Kesselteilen.

Legal Events

Date Code Title Description
PUAI Public reference made under article 153(3) epc to a published international application that has entered the european phase

Free format text: ORIGINAL CODE: 0009012

AK Designated contracting states

Kind code of ref document: A2

Designated state(s): BE CH DE FR IT LI NL SE

RHK1 Main classification (correction)

Ipc: F24D 17/00

PUAL Search report despatched

Free format text: ORIGINAL CODE: 0009013

AK Designated contracting states

Kind code of ref document: A3

Designated state(s): BE CH DE FR IT LI NL SE

17P Request for examination filed

Effective date: 19881124

17Q First examination report despatched

Effective date: 19900219

GRAA (expected) grant

Free format text: ORIGINAL CODE: 0009210

AK Designated contracting states

Kind code of ref document: B1

Designated state(s): BE CH DE FR IT LI NL SE

PG25 Lapsed in a contracting state [announced via postgrant information from national office to epo]

Ref country code: IT

Free format text: LAPSE BECAUSE OF FAILURE TO SUBMIT A TRANSLATION OF THE DESCRIPTION OR TO PAY THE FEE WITHIN THE PRE;WARNING: LAPSES OF ITALIAN PATENTS WITH EFFECTIVE DATE BEFORE 2007 MAY HAVE OCCURRED AT ANY TIME BEFORE 2007. THE CORRECT EFFECTIVE DATE MAY BE DIFFERENT FROM THE ONE RECORDED.SCRIBED TIME-LIMIT

Effective date: 19910417

Ref country code: NL

Effective date: 19910417

REF Corresponds to:

Ref document number: 3769371

Country of ref document: DE

Date of ref document: 19910523

ET Fr: translation filed
NLV1 Nl: lapsed or annulled due to failure to fulfill the requirements of art. 29p and 29m of the patents act
PLBE No opposition filed within time limit

Free format text: ORIGINAL CODE: 0009261

STAA Information on the status of an ep patent application or granted ep patent

Free format text: STATUS: NO OPPOSITION FILED WITHIN TIME LIMIT

26N No opposition filed
PGFP Annual fee paid to national office [announced via postgrant information from national office to epo]

Ref country code: SE

Payment date: 19920427

Year of fee payment: 6

PGFP Annual fee paid to national office [announced via postgrant information from national office to epo]

Ref country code: BE

Payment date: 19920514

Year of fee payment: 6

PGFP Annual fee paid to national office [announced via postgrant information from national office to epo]

Ref country code: FR

Payment date: 19920515

Year of fee payment: 6

PGFP Annual fee paid to national office [announced via postgrant information from national office to epo]

Ref country code: CH

Payment date: 19920526

Year of fee payment: 6

PGFP Annual fee paid to national office [announced via postgrant information from national office to epo]

Ref country code: DE

Payment date: 19920602

Year of fee payment: 6

PG25 Lapsed in a contracting state [announced via postgrant information from national office to epo]

Ref country code: SE

Effective date: 19930522

PG25 Lapsed in a contracting state [announced via postgrant information from national office to epo]

Ref country code: BE

Effective date: 19930531

Ref country code: LI

Effective date: 19930531

Ref country code: CH

Effective date: 19930531

BERE Be: lapsed

Owner name: DEUTSCHE VORTEX G.M.B.H.

Effective date: 19930531

PG25 Lapsed in a contracting state [announced via postgrant information from national office to epo]

Ref country code: FR

Effective date: 19940131

REG Reference to a national code

Ref country code: CH

Ref legal event code: PL

PG25 Lapsed in a contracting state [announced via postgrant information from national office to epo]

Ref country code: DE

Effective date: 19940201

REG Reference to a national code

Ref country code: FR

Ref legal event code: ST

EUG Se: european patent has lapsed

Ref document number: 87107376.3

Effective date: 19931210