EP0248739B1 - Dosier- und Distributionseinrichtung zum Konditionieren von Flüssigkeiten - Google Patents

Dosier- und Distributionseinrichtung zum Konditionieren von Flüssigkeiten Download PDF

Info

Publication number
EP0248739B1
EP0248739B1 EP87401269A EP87401269A EP0248739B1 EP 0248739 B1 EP0248739 B1 EP 0248739B1 EP 87401269 A EP87401269 A EP 87401269A EP 87401269 A EP87401269 A EP 87401269A EP 0248739 B1 EP0248739 B1 EP 0248739B1
Authority
EP
European Patent Office
Prior art keywords
nozzle
chamber
metering
piston
reservoir
Prior art date
Legal status (The legal status is an assumption and is not a legal conclusion. Google has not performed a legal analysis and makes no representation as to the accuracy of the status listed.)
Expired - Lifetime
Application number
EP87401269A
Other languages
English (en)
French (fr)
Other versions
EP0248739A1 (de
Inventor
Roland Torterotot
Current Assignee (The listed assignees may be inaccurate. Google has not performed a legal analysis and makes no representation or warranty as to the accuracy of the list.)
Jagenberg AG
Original Assignee
Torterotot Roland
Erca Holding SARL
Priority date (The priority date is an assumption and is not a legal conclusion. Google has not performed a legal analysis and makes no representation as to the accuracy of the date listed.)
Filing date
Publication date
Application filed by Torterotot Roland, Erca Holding SARL filed Critical Torterotot Roland
Publication of EP0248739A1 publication Critical patent/EP0248739A1/de
Application granted granted Critical
Publication of EP0248739B1 publication Critical patent/EP0248739B1/de
Anticipated expiration legal-status Critical
Expired - Lifetime legal-status Critical Current

Links

Images

Classifications

    • BPERFORMING OPERATIONS; TRANSPORTING
    • B65CONVEYING; PACKING; STORING; HANDLING THIN OR FILAMENTARY MATERIAL
    • B65BMACHINES, APPARATUS OR DEVICES FOR, OR METHODS OF, PACKAGING ARTICLES OR MATERIALS; UNPACKING
    • B65B3/00Packaging plastic material, semiliquids, liquids or mixed solids and liquids, in individual containers or receptacles, e.g. bags, sacks, boxes, cartons, cans, or jars
    • B65B3/26Methods or devices for controlling the quantity of the material fed or filled
    • B65B3/30Methods or devices for controlling the quantity of the material fed or filled by volumetric measurement
    • B65B3/32Methods or devices for controlling the quantity of the material fed or filled by volumetric measurement by pistons co-operating with measuring chambers

Definitions

  • the invention relates to a metering and dispensing device for packaging liquid products, in particular food products, in pots or similar containers, comprising a movable piston metering device in a cylindrical metering chamber connected through a valve. shutter at a source of product, a distributor with tubular nozzle directed downwards, provided with an inlet orifice and an ejection orifice, movable longitudinally, and comprising a communicating distribution chamber, of a on the one hand, with the metering chamber and, on the other hand, with the exterior through the tubular nozzle and a shutter member cooperating with said nozzle, and actuation mechanisms of the piston and of the nozzle, one of which acts on the piston and the other on said nozzle so as to lower the latter before filling each container with liquid which it introduces therein under the action of displacement of the piston.
  • the tubular nozzle forms part of a vertically movable dispensing head so as to introduce the nozzle into a container as far as the bottom thereof and out of it. of said container.
  • a sterile enclosure such as a tunnel
  • the movable dispensing head sterilizing the elements of the dispenser which are in contact with the liquid product to be packaged is difficult, in particular that of the container filling nozzle, which is fixed below the movable dispensing head partly in the open air and partly in the tunnel and animated by a vertical movement back and forth.
  • the object of the present invention is to provide a solution to these problems and to propose a dosing device the quantities of which dosed remain substantially constant and which is suitable for easy sterilization.
  • the device according to the invention is characterized in that the metering chamber and the distribution chamber are united in the same enclosure, that the passage channel of the tubular nozzle is permanently closed at least at the lower end of the nozzle by a transverse cover, that at least one lower orifice for ejecting the nozzle opens onto the lateral face of the latter just above the transverse cover, that the wall joining in the same enclosure the metering chamber and the distribution chamber comprises at the bottom a guide tube adjusted to the tubular nozzle which is mounted there in a sealed manner and able to slide therein, on the one hand, a high position in which the ejection orifice is housed the inside of the guide tube and is isolated from the outside, and the inlet opening of said nozzle is located at the upper part of the distribution chamber which then receives all of the nozzle except the part e lower extremity thereof, and, on the other hand, a low position in which the major part of the nozzle protrudes downward from the guide tube with the exception of its upper end part whose orifice inlet is
  • the enclosure of the metering device can be mounted outside the tunnel so that only one end piece of the guide tube passes tightly through the upper wall of the tunnel and enters it.
  • perfect and complete sterilization of the dispenser and in particular of the nozzle is possible; it suffices to introduce into the chamber, the nozzle being retracted in the high position, superheated water or steam at a suitable temperature. Thanks to this design, the tubular nozzle is able to descend through the tunnel to the bottom of a container and fill it in a sterile environment with a foaming product.
  • the nozzle is provided with an annular seal. which is applied against the guide tube when the nozzle reaches its high position, so that the outward flow path, effert by the liquid nozzle, is then interrupted.
  • the lower end of the nozzle acts as a valve in association with the guide tube and is capable of ensuring the closure of the distribution chamber and of the metering chamber during a new phase of filling the latter.
  • the arrangement according to the invention makes it possible to eliminate in a simple and elegant manner the gases originating from the liquid which formerly tended to accumulate in the metering chamber.
  • the gas bubbles generally form during the upward stroke of the nozzle and of the piston and go up in the distribution chamber preferably along the tubular nozzle and are stopped in their ascent and gathered under the bubble trap to be finally evacuated with the liquid during filling of the next container. As a result, it is ensured that the containers all receive exactly the desired dose of liquid product.
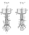
  • the metering and distribution device as shown in the drawing comprises a metering pump constituted by a cylindrical metering chamber 1 of circular section and vertical axis 20 in which a piston 2 alternately moves, this chamber being connected to a reservoir 21 containing a liquid food product P to be packaged in pots or containers such as the pot 3, by a pipe 4 via an inlet valve, for example with a slide valve 5.
  • the piston 2 is connected by a control rod 6 to an actuating means 23 which makes it move over a well-defined stroke between a high position (FIGS. 1, 4 and 5) situated at the top of the metering chamber 1 and a low position (FIGS. 1 in dotted, 6 and 7) located at the lower part of said chamber 1, at the outlet of the pipe 4.
  • the metering and distribution device also comprises a distribution chamber 24 which, according to a pr first embodiment, is located next to the metering chamber 1 in the same enclosure 25 as the metering chamber 1 and communicates with said metering chamber 1 through a passage opening 26 formed in the lower part of a partition separation 27 provided between the two chambers 1 and 24.
  • the two metering chambers 1 and distribution 24 are in this case juxtaposed and their axes 20 and 28 are parallel.
  • the reservoir 21 containing the liquid product to be conditioned P is provided directly above the metering chamber 1 and the distribution chamber 24 so that the bottom of the reservoir 21 simultaneously constitutes the upper wall of the distribution chamber 24 , and communicates directly with the upper face of the piston 2 and the part of the metering chamber 1, located above the piston 2. Therefore, the piston rod 6 passes through the reservoir 21 and the inner face of the wall side of the metering chamber 1 is always well wetted, that is to say lubricated by the liquid product P contained in the reservoir 21.
  • the distribution chamber 24 comprises a tubular nozzle 7 of vertical axis which coincides with that (28) of said chamber 24.
  • the bottom of the distribution chamber 24 is provided with a guide tube 9 adjusted to the tubular nozzle 7 which , at its upper end, is connected to a coaxial solid rod 8 sealingly passing through the bottom wall 21 a of the reservoir 21 which, according to FIG. 1, constitutes at the same time the upper wall of the distribution chamber 24.
  • the nozzle tubular 7 has at its upper end, an inlet orifice 11 and, at its lower part, at least one ejection orifice, preferably two lateral ejection orifices 12 diametrically opposite and drilled in the side wall of the tubular nozzle 7, above an annular seal 10 mounted on the lower end of said nozzle where its passage channel 13 is axially permanently closed by a transverse cover 15.
  • the upper end of the tubular nozzle 7 is connected to its coaxial control rod 8 using a cup or inverted bowl or a rigid cap 14 whose top is integral with said rod 8 and whose concave face surrounds and remotely covers the inlet orifice 11 and is fixed to the upper end of the nozzle 7 using several radial spacing fingers 16.
  • this inverted bowl 14 must act as a trap with bubbles and has a maximum lower periphery which is substantially less than the internal periphery of the distribution chamber 24 to avoid any significant pumping effect when the nozzle 7 moves.
  • the nozzle 7 moves in the distribution chamber 24 between, on the one hand, a high position ( Figures 1, 3, 4 and 7) where it is fully or almost fully retracted in the chamber 24 and where it does not allow the flow of liquid out of it, its lower extremity being closed by the transverse cover 15 and its lateral ejection orifice 12 then being located inside the guide tube 9 against the lower end of which door the seal 10 provided on the nozzle 7 below the ejection orifice 12, and on the other hand, a low position (FIGS. 5, 6) where it emerges from the distribution chamber 24, its upper orifice inlet 11 then being located slightly above the bottom of the chamber 24 provided with the guide tube 9. This upper orifice 11 is, on the other hand, just above the piston 2 when the latter is in low position ( Figure 1, broken lines) and nozzle 7 in low position (figure, broken lines).
  • the intake valve 5 provided between the reservoir 21 and the metering and distribution device, and more precisely said, between the distribution chamber 24 and the reservoir 21, is constituted by a slide valve comprising a cylindrical body of circular section 29 resting without play on a cradle of suitable shape, in particular semi-cylindrical 30 also of circular section.
  • the superimposed bottoms of the cradle 30 and of the reservoir 21 are pierced with an outlet orifice 31 connected to the upper end of the connecting pipe 4 between the reservoir 1 and the metering and distribution device.
  • the cylindrical body 29 has an axial length which is at least equal to three times the diameter of the outlet orifice 31 and in its middle part a cylindrical annular notch 32 whose axial width is at most equal to the diameter of the outlet orifice 31.
  • One of the ends of the cylindrical body 29 is provided with a coaxial control rod 33 which sealingly crosses the side wall 22 of the reservoir 21.
  • the inlet valve 5 operates in the manner of a slide valve which is open when its annular notch 32 covers the orifice outlet 31 and closed when this orifice 31 is closed by an adjacent part of the cylindrical body 29 ( Figure 2).
  • the lower face 2a of the piston 2 is slightly inclined from the bottom up so that in the low position, that is to say the delivery of the piston 2, the the highest lateral part of the inclined lower face 2a is located approximately halfway up the passage opening 26 and the lowest part of said surface 2a is near the bottom of the metering chamber 1.
  • the metering chamber 1 and the distribution chamber 24 are superimposed in the same enclosure 25 which is here of cylindrical shape with vertical axis 20 and circular section.
  • the lower part of the metering chamber is located directly above the upper part of the dispensing chamber 24 and there is no partition between the two chambers 1 and 24.
  • the pipe for connection 4 between the reservoir 21 and the metering and distribution device opens at its lower end in the upper part of the distribution chamber 24 or in the junction zone between the metering 1 and distribution chambers 24.
  • the upper end of the tubular nozzle 7 can be connected directly to the lower end of the control rod 8 which is solid or closed at its lower end.
  • the bubble trap 14 is here constituted by an inverted bowl or a sort of frustoconical cap which surrounds the lateral inlet orifice (s) 11 in the passage channel 13 of the nozzle and is fixed, by its upper end, to the lower end of the rod 8.
  • the cylindrical enclosure 25 has an axial height which is at least equal to the sum of the maximum strokes of the piston 2 and of the tubular nozzle 7, the piston 2 is of annular shape and pierced with a central opening adjusted so that said piston 2 surrounds and slides in leaktight manner on the control rod 8, and the control rod 6 of the piston 2 is of tubular shape which surrounds a part of the control rod 8, and can slide in leaktight manner on the latter.
  • the nozzle 7 is provided, at its upper part, namely immediately at and above its inlet orifice 11, with an inverted bowl 14 of frustoconical shape combined with that of the cavity 34.
  • the bowl 14, which resembles a small umbrella, is narrower than the chambers 1 and 24 so as not to play the role of a piston therein and to be easily bypassed by the liquid when the piston 2 and / or itself moves.
  • the metering and distribution device ends at its lower end, by the guide tube 9 by means of which it can be fixed on a tunnel 17 and which can penetrate inside said tunnel 17 for example sterile which makes part of a packaging installation of the type which thermoforms, fills, closes and cuts the receptacles 3 and in which the bottom of the tunnel 17 supplied with a sterile gas at low overpressure is closed in a leaktight manner by a thermoplastic strip 18 in which the pots 3 are shaped with their inner face facing the tunnel 17 made sterile for the packaging operations, the sterile gas escaping between the lower edges of the tunnel and the strip 18.
  • the strip 18 progresses step by step under the action of clamps 19 of a lateral drive chain.
  • the reservoir 21 disposed above the metering chamber 1 contains a sterile product P, it is necessary to provide means so that the parts of the rods 6 and 8 passing through the reservoir 1 or penetrating into it remain sterile.
  • the reservoir 21 is closed and partially filled with a sterile liquid product P from a suitable source and through a valve 35 whose opening is controlled by a first level probe 36 indicating the minimum level of the product. liquid P in the reservoir 21 and the closing of which is controlled by a second level probe 37 which indicates the maximum level of the product P.
  • the upper free space 38 of the reservoir 21 above the product P is constantly filled and supplied with sterile air at slight overpressure through an orifice 39.
  • the upper ends of the tubular piston rod 6 and of the control rod 8 move in the upper free space 38 and are connected separately to two actuation rods 40, 41 whose lower ends move vertically along stroke lengths corresponding respectively to the strokes of the piston 2 and of the tubular nozzle 7.
  • actuating rods 40, 41 with vertical parallel axes also pass through a sterile airlock chamber 42 provided above the reservoir 21, while being tightly guided in the horizontal partition wall 43 between the airlock chamber 42 and the reservoir 21 and in the horizontal upper wall 44 of said chamber 42 permanently supplied with sterilized air at slight overpressure which enters this chamber 42 through an upper orifice 45 and exits therefrom through a lower orifice 46.
  • the height of the airlock chamber 42 is at least equal to the maximum stroke of the piston 2 or of the tubular nozzle 7, and the sterile air pressure in this airlock chamber 42 is lower than the pressure of the sterile air in the reservoir 21.
  • the operation of the metering and distribution device is as follows:
  • the valve 5 is closed, the piston 2 is in the high position and the nozzle 7 descends from its high position in which the bubble trap 14 is located slightly above the mouth of the pipe 4, to take its low position where its lateral ejection orifice 12 is located near the bottom of the pot 3 to be filled ( Figure 5).
  • the pot or container 3 is filled by lowering the piston 2 forcing the liquid to enter the nozzle 7 through its upper inlet orifice 11 to exit therefrom, via its internal passage duct 13, through its ejection orifice lower 12, which is preferably maintained constantly above the bottom of the pot 3.

Landscapes

  • Engineering & Computer Science (AREA)
  • Mechanical Engineering (AREA)
  • Basic Packing Technique (AREA)

Claims (17)

1. Dosier- und Verteilvorrichtung zum Konditionieren von flüssigen Produkten, insbesondere von Lebensmitteln, in Töpfe oder ähnliche Behälter mit
- einem Dosierer mit einem in einer über ein Einlaßventil (5) mit einem Produktreservoir (21) verbundenen zylindrischen Dosierkammer (1) beweglichen Kolben (2),
- einem Verteiler mit einer mit einer oberen Eintrittsöffnung (11) und wenigstens einer unteren Ejektionsöffnung (12) versehenen, nach unten gerichteten, in Längsrichtung beweglichen rohrförmigen Düse (7),
- einer einerseits mit der Dosierkammer (1) und andererseits über die rohrförmige Düse (7) und ein mit der Düse (7) zusammenwirkendes Verschlußorgan (9, 10) mit dem Außenraum in Verbindung stehenden Verteilerkammer (24), und
- Betätigungsmechanismen (6, 8, 23, 40, 41) für den Kolben (2) und für die Düse (7), von denen der eine (6, 41, 23) auf den Kolben (2) einwirkt und der andere (8, 40, 23) auf die Düse (7) in der Weise, daß diese letzte vor der Füllung jedes Behälters oder Topfes mit einem flüssigen Produkt (P), das darein unter der Verdrängungswirkung des Kolbens (2) eingeführt wird, abgesenkt wird,
dadurch gekennzeichnet,
daß die Dosierkammer (1) und die Verteilerkammer (24) in ein und demselben Gehäuse (25) zusammengefaßt sind,
daß der Durchgangskanal (13) der rohrförmigen Düse (7) wenigstens am unteren Ende der Düse (7) durch ein querliegendes Innenhütchen (15) ständig verschlossen ist,
daß wenigstens eine untere Ejektionsöffnung (12) der Düse (7) in deren Seitenwand gerade oberhalb des querliegenden Innenhütchens (15) mündet, daß die in ein und demselben Gehäuse (25) die Dosierkammer (1) und die Verteilerkammer (24) vereinigende Wand am Boden ein Führungsröhrchen (9) aufweist, das auf die rohrförmige Düse (7) justiert ist, die darin abgedichtet eingesetzt ist und sich zwischen einer oberen Stellung, in der die Ejektionsöffnung (12) im Inneren des Führungsröhrchens (9) liegt und gegen den Außenraum isoliert ist und die Eintrittsöffnung (11) der Düse (7) sich im oberen Teil der Verteilerkammer (24) befindet, die dann die gesamte Düse (7) mit Ausnahme ihres unteren Endstücks aufnimmt, einerseits und einer unteren Stellung, in der der größere Teil der Düse (7) mit Ausnahme ihres oberen Endstücks, dessen Eintrittsöffnung (11) sich dann nahe dem Boden der Verteilerkammer (24) befindet, nach unten durch das Führungsröhrchen (9) hindurchgeht, andererseits verschieben läßt, und
daß die Eintrittsöffnung (11) der rohrförmigen Düse von einer die Form einer umgekehrten Schale aufweisenden Bläschenfalle (14) gekrönt und umgeben ist, die fest mit dem oberen Ende der rohrförmigen Düse (7) verbunden ist und für das der Verteilerkammer (24) einen unteren Umgang zur Vermeidung jedes merklichen Pumpeffekts darin darstellt.
2. Vorrichtung nach Anspruch 1, dadurch gekennzeichnet, daß die Dosierkammer (1) und die Verteilerkammer (24) in ein und demselben Gehäuse (25) nebeneinander liegen und miteinander über eine Durchlaßöffnung (26) in Verbindung stehen, die im unteren Teil einer zwischen den beiden Kammern (1 und 24) vorgesehenen Trennwand (27) angeordnet ist.
3. Vorrichtung nach Anspruch 1, dadurch gekennzeichnet, daß die Dosierkammer (1) und die Verteilerkammer (24) in ein und demselben zylindrischen Gehäuse (25) mit vertikaler Achse und kreisförmigem Querschnitt in solcher Weise übereinander angeordnet sind, daß der untere Teil der Dosierkammer (1) sich direkt oberhalb des oberen Teils der Verteilerkammer (24) befindet.
4. Vorrichtung nach Anspruch 1, dadurch gekennzeichnet, daß oberhalb des gemeinsamen Gehäuses (25) mit der Dosierkammer (1) und der Verteilerkammer (24) das das flüssige Produkt (P) enthaltende Reservoir (21) angeordnet ist und daß der oberhalb der oberen Fläche des Kolbens (2) liegende Teil der Dosierkammer (1) unmittelbar mit dem Boden des Reservoirs (21) in Verbindung steht.
5. Vorrichtung nach Anspruch 2, dadurch gekennzeichnet, daß die obere Wand der Verteilerkammer (24) durch einen Teil der Bodenwand (21 a) des Reservoirs (21) gebildet ist.
6. Vorrichtung nach Anspruch 1, dadurch gekennzeichnet, daß die Mündung der Verbindungsleitung (4) zwischen dem Reservoir (21) und dem Gehäuse (25) in der Verbindungszone zwischen der Dosierkammer (1) und der Verteilerkammer (24) liegt.
7. Vorrichtung nach Anspruch 1, dadurch gekennzeichnet, daß das obere Ende der rohrförmigen Düse (7) mit einem massiven Steuerstab (8) verbunden und dadurch an ihrem oberen Ende verschlossen ist.
8. Vorrichtung nach Anspruch 7, dadurch gekennzeichnet, daß das obere Ende der rohrförmigen Düse (7) mit dem Steuerstab (8) mittels der Bläschenfalle (14) und mehrerer radialer Abstandsfinger (16) verbunden ist.
9. Vorrichtung nach Anspruch 7, dadurch gekennzeichnet, daß der Steuerstab (8) für die rohrförmige Düse (7) sich nach oben fortsetzt und in das Reservoir (21) für das zu konditionierende Produkt (P) eintritt.
10. Vorrichtung nach Anspruch 1, dadurch gekennzeichnet, daß der Kolben (2) des Dosierers einen Steuerstab (6) aufweist, der sich nach oben fortsetzt und in das Reservoir (21) für das zu konditionierende Produkt (P) eintritt.
11. Vorrichtung nach Anspruch 3, dadurch gekennzeichnet, daß die rohrförmige Düse (7) und der Kolben (2) durch koaxiale Steuerstäbe (8, 6) betätigt werden, die auf die Achse (20) der übereinander angeordneten Dosierkammer und Verteilerkammer (1 und 24) zentriert sind, wobei der Kolben (2) Ringform aufweist von einer zentralen Öffnung durchsetzt wird, die auf einen abgedichteten Durchgang des Steuerstabes (8) für die Düse (7) justiert ist.
12. Vorrichtung nach Anspruch 1, dadurch gekennzeichnet, daß das Einlaßventil (5) durch ein Schieberventil (29, 30, 32, 33) gebildet ist.
13. Vorrichtung nach Anspruch 1, dadurch gekennzeichnet, daß das Einlaßventil (5) am Boden des Reservoirs (21) oberhalb einer mit dem oberen Ende einer Verbindungsleitung (4) zwischen dem Reservoir (21) und dem Gehäuse (25) verbundenen Austrittsöffnung (31) angeordnet ist.
14. Vorrichtung nach Anspruch 1, dadurch gekennzeichnet, daß das Reservoir (21) von einer Schleusenkammer (42) gekrönt ist, durch die in abgedichteter Weise Betätigungsstäbe hindurchgehen, die in abgedichteter Weise in den freien oberen Raum (38) des Reservoirs (21) eintreten, wo der eine (40) mit dem oberen Ende eines Steuerstabes (6) für den Kolben (2) und der andere (41) mit dem oberen Ende eines Steuerstabes (8) für die rohrförmige Düse (7) verbunden ist, wobei die Schleusenkammer (42) und der freie Raum (38) des Reservoirs (21) mit steriler Luft gespeist sind.
15. Vorrichtung nach Anspruch 1, dadurch gekennzeichnet, daß in die Unterseite des Kolbens (2) ein Hohlraum (34) in Form einer Schale eingearbeitet ist und daß die Bläschenfalle (14) der Düse (7) eine obere Fläche aufweist, die eine zur Form der Oberfläche des Hohlraumes (34) des Kolbens (2) konjugierte Form besitzt und zu exakter Anlage daran kommt, wenn sich die Düse (7) in ihrer oberen Stellung und der Kolben (2) in seiner unteren Stellung befindet.
16. Vorrichtung nach Anspruch 15, dadurch gekennzeichnet, daß die Oberfläche des Hohlraumes (34) und die Oberflächen der Bläschenfalle (14) im wesentlichen Kegelstumpfform aufweisen.
17. Dosier- und Verteilvorrichtung zum Konditionieren von flüssigen Produkten, insbesondere von Lebensmitteln, in Töpfe oder ähnliche Behälter, dadurch gekennzeichnet, daß sie eine Batterie von mehreren Dosierern mit beweglicher Verteilerdüse gemäß irgendeinem der Ansprüche 1 bis 16 aufweist.
EP87401269A 1986-06-05 1987-06-05 Dosier- und Distributionseinrichtung zum Konditionieren von Flüssigkeiten Expired - Lifetime EP0248739B1 (de)

Applications Claiming Priority (2)

Application Number Priority Date Filing Date Title
FR8608138 1986-06-05
FR8608138A FR2599711B1 (fr) 1986-06-05 1986-06-05 Dispositif de dosage et de distribution pour le conditionnement de produits liquides

Publications (2)

Publication Number Publication Date
EP0248739A1 EP0248739A1 (de) 1987-12-09
EP0248739B1 true EP0248739B1 (de) 1990-10-17

Family

ID=9336045

Family Applications (1)

Application Number Title Priority Date Filing Date
EP87401269A Expired - Lifetime EP0248739B1 (de) 1986-06-05 1987-06-05 Dosier- und Distributionseinrichtung zum Konditionieren von Flüssigkeiten

Country Status (8)

Country Link
US (1) US4798235A (de)
EP (1) EP0248739B1 (de)
JP (1) JPH0794998B2 (de)
AU (1) AU596188B2 (de)
CA (1) CA1287334C (de)
DE (1) DE3765580D1 (de)
ES (1) ES2019952B3 (de)
FR (1) FR2599711B1 (de)

Families Citing this family (9)

* Cited by examiner, † Cited by third party
Publication number Priority date Publication date Assignee Title
US4821927A (en) * 1984-04-04 1989-04-18 Spraying Systems Co. Liquid dispensing gun
DE3837097A1 (de) * 1988-11-01 1990-05-03 Profor Ab Verfahren zum entlueften einer befuellungsanlage und vorrichtung zur durchfuehrung eines solchen verfahrens
FR2639321B1 (fr) * 1988-11-18 1991-02-22 Torterotot Roland Procede et dispositif de sterilisation d'une installation de conditionnement de produits alimentaires ou pharmaceutiques
AU2002244820A1 (en) * 2002-02-20 2003-09-09 Vallid Limited Dispensing machine
DE202006019136U1 (de) * 2006-12-18 2008-02-14 Krones Ag Vorrichtung zum Behandeln von offenen Gefäßen
ITTV20090218A1 (it) * 2009-11-11 2011-05-12 Galdino Candiotto Sistema di dosatura volumetrico a pistoni asettico
US11014696B2 (en) * 2017-07-12 2021-05-25 Vanrx Pharmasystems Inc. Purgeable pharmaceutical fill needle
DE102013109969A1 (de) * 2013-09-11 2015-03-12 Krones Ag Vorrichtung zum Dosieren eines Füllprodukts in einen zu befüllenden Behälter
US11718427B1 (en) * 2022-05-01 2023-08-08 Vital Manufacturing Inc. Volumetric isobaric filling system

Family Cites Families (8)

* Cited by examiner, † Cited by third party
Publication number Priority date Publication date Assignee Title
US3097672A (en) * 1960-06-30 1963-07-16 Chemetron Corp Magnetic valve control mechanism for receptacle filling machines
US3168225A (en) * 1961-03-06 1965-02-02 Chemetron Corp Valve arrangement for receptacle filling machines
BE758731A (fr) * 1969-11-24 1971-04-16 Intercan Sa Dispositif doseur et distributeur pour produits liquides et pateux
US3841363A (en) * 1971-12-30 1974-10-15 Rostgo Int Corp Container filling machine
GB1383346A (en) * 1972-04-05 1974-02-12 Mather & Platt Ltd Filling devices
US3850345A (en) * 1973-11-28 1974-11-26 Fmc Corp Filling valve
DE2711208C2 (de) * 1977-03-15 1982-10-07 Siegfried Ing.(grad.) 8901 Königsbrunn Ammann Vorrichtung zum Dosieren und Abfüllen insbesondere hochviskoser Medien
DE3024489A1 (de) * 1980-06-28 1982-01-21 Josef 4422 Ahaus Finnah Vorrichtung zum portionsweisen abfuellen von fluessigen oder pastoesem fuellgut in behaeltnisse

Also Published As

Publication number Publication date
AU7400887A (en) 1987-12-10
FR2599711B1 (fr) 1988-09-23
US4798235A (en) 1989-01-17
FR2599711A1 (fr) 1987-12-11
JPH0794998B2 (ja) 1995-10-11
DE3765580D1 (de) 1990-11-22
EP0248739A1 (de) 1987-12-09
AU596188B2 (en) 1990-04-26
JPS6388405A (ja) 1988-04-19
ES2019952B3 (es) 1991-07-16
CA1287334C (en) 1991-08-06

Similar Documents

Publication Publication Date Title
CH494684A (fr) Distributeur d'un produit sous forme d'aérosol
CH622960A5 (de)
EP0443888B1 (de) Dosier- und Abgabevorrichtung und Dosierverfahren für ein pastöses oder flüssiges Produkt
FR2719789A1 (fr) Dispositif de distribution d'un produit en mélange avec un fluide, ensemble de distribution comprenant un tel dispositif.
EP0248739B1 (de) Dosier- und Distributionseinrichtung zum Konditionieren von Flüssigkeiten
EP2231478A1 (de) Maschine zum füllen von behältern mit zwei produkten
CA2009216A1 (fr) Flacon doseur
EP0397578B1 (de) Vorrichtung zum Abgeben abgemessener Mengen von mindestens einem pastösen und/oder flüssigen Stoff
EP1255968A1 (de) Dosiervorrichtung für in einer flasche enthaltene flüssige stoffe und diegleiche
EP0269507B1 (de) Verfahren und Anlage zum Füllen von Behältern mit einer Mischung aus mindestens zwei pastösen oder flüssigen Produkten
FR2812859A1 (fr) Dispositif doseur destine a etre monte ou insere dans le goulot d'un recipient contenant un liquide a derverser en doses
FR2615172A1 (fr) Valve aerosol doseuse utilisable en position inversee
FR2828118A1 (fr) Baton distributeur de produits liquides ou en gel
FR2521224A1 (fr) Procede et dispositif pour l'addition d'une quantite predeterminee d'un second liquide (liquide a doser) a un premier liquide qui se trouve dans un recipient
FR2627708A1 (fr) Dispositif pour permettre l'emploi en toutes positions d'une valve de vaporisateur
FR2635098A1 (fr) Procede et machine pour ajouter un produit a un liquide, notamment l'ajout de ferment dans le vin
EP1022250A1 (de) Volumetrische Abfüllvorrichtung
FR2622879A1 (fr) Machine rotative a remplir d'un liquide non gazeux des recipients en matiere plastique souple ou semirigid
FR2761973A1 (fr) Bec de remplissage pour tireuse
EP1022249A1 (de) Dosiervorrichtung für volumetrische Abfülleinrichtung
WO2008040876A1 (fr) Machine rotative de remplissage
FR2564936A1 (fr) Robinet de mise a niveau
FR2618124A2 (fr) Procede et installation de remplissage de recipients avec un melange d'au moins deux produits pateux et/ou liquides
FR3088632A1 (fr) Dispositif de tireuse pour machine de remplissage et machine comportant de tels dispositifs
BE548240A (de)

Legal Events

Date Code Title Description
PUAI Public reference made under article 153(3) epc to a published international application that has entered the european phase

Free format text: ORIGINAL CODE: 0009012

AK Designated contracting states

Kind code of ref document: A1

Designated state(s): CH DE ES FR GB IT LI SE

17P Request for examination filed

Effective date: 19880604

RAP1 Party data changed (applicant data changed or rights of an application transferred)

Owner name: TORTEROTOT, ROLAND

Owner name: ERCA HOLDING, S.A.R.L.

RAP1 Party data changed (applicant data changed or rights of an application transferred)

Owner name: TORTEROTOT, ROLAND

Owner name: ERCA HOLDING, S.A.R.L.

17Q First examination report despatched

Effective date: 19891009

GRAA (expected) grant

Free format text: ORIGINAL CODE: 0009210

AK Designated contracting states

Kind code of ref document: B1

Designated state(s): CH DE ES FR GB IT LI SE

REF Corresponds to:

Ref document number: 3765580

Country of ref document: DE

Date of ref document: 19901122

GBT Gb: translation of ep patent filed (gb section 77(6)(a)/1977)
ITF It: translation for a ep patent filed
PLBE No opposition filed within time limit

Free format text: ORIGINAL CODE: 0009261

STAA Information on the status of an ep patent application or granted ep patent

Free format text: STATUS: NO OPPOSITION FILED WITHIN TIME LIMIT

REG Reference to a national code

Ref country code: FR

Ref legal event code: TP

26N No opposition filed
ITTA It: last paid annual fee
REG Reference to a national code

Ref country code: GB

Ref legal event code: 732E

REG Reference to a national code

Ref country code: CH

Ref legal event code: PUE

Owner name: JAGENBERG AKTIENGESELLSCHAFT TRANSFER- JAGENBERG A

REG Reference to a national code

Ref country code: FR

Ref legal event code: CL

ITPR It: changes in ownership of a european patent

Owner name: CESSIONE;JAGENBERG AG

REG Reference to a national code

Ref country code: ES

Ref legal event code: PC2A

Owner name: JAGENBERG AG.

PGFP Annual fee paid to national office [announced via postgrant information from national office to epo]

Ref country code: SE

Payment date: 19940524

Year of fee payment: 8

EAL Se: european patent in force in sweden

Ref document number: 87401269.3

PGFP Annual fee paid to national office [announced via postgrant information from national office to epo]

Ref country code: GB

Payment date: 19950515

Year of fee payment: 9

Ref country code: CH

Payment date: 19950515

Year of fee payment: 9

PGFP Annual fee paid to national office [announced via postgrant information from national office to epo]

Ref country code: DE

Payment date: 19950518

Year of fee payment: 9

PGFP Annual fee paid to national office [announced via postgrant information from national office to epo]

Ref country code: FR

Payment date: 19950524

Year of fee payment: 9

PG25 Lapsed in a contracting state [announced via postgrant information from national office to epo]

Ref country code: SE

Effective date: 19950606

PGFP Annual fee paid to national office [announced via postgrant information from national office to epo]

Ref country code: ES

Payment date: 19950616

Year of fee payment: 9

EUG Se: european patent has lapsed

Ref document number: 87401269.3

PG25 Lapsed in a contracting state [announced via postgrant information from national office to epo]

Ref country code: GB

Effective date: 19960605

PG25 Lapsed in a contracting state [announced via postgrant information from national office to epo]

Ref country code: ES

Free format text: LAPSE BECAUSE OF THE APPLICANT RENOUNCES

Effective date: 19960606

PG25 Lapsed in a contracting state [announced via postgrant information from national office to epo]

Ref country code: LI

Effective date: 19960630

Ref country code: CH

Effective date: 19960630

GBPC Gb: european patent ceased through non-payment of renewal fee

Effective date: 19960605

REG Reference to a national code

Ref country code: CH

Ref legal event code: PL

PG25 Lapsed in a contracting state [announced via postgrant information from national office to epo]

Ref country code: FR

Effective date: 19970228

PG25 Lapsed in a contracting state [announced via postgrant information from national office to epo]

Ref country code: DE

Effective date: 19970301

REG Reference to a national code

Ref country code: FR

Ref legal event code: ST

REG Reference to a national code

Ref country code: ES

Ref legal event code: FD2A

Effective date: 19991007

PG25 Lapsed in a contracting state [announced via postgrant information from national office to epo]

Ref country code: IT

Free format text: LAPSE BECAUSE OF NON-PAYMENT OF DUE FEES

Effective date: 20050605