EP0100703A1 - Einspritzvorrichtung zur Behandlung von Holz - Google Patents
Einspritzvorrichtung zur Behandlung von Holz Download PDFInfo
- Publication number
- EP0100703A1 EP0100703A1 EP83401365A EP83401365A EP0100703A1 EP 0100703 A1 EP0100703 A1 EP 0100703A1 EP 83401365 A EP83401365 A EP 83401365A EP 83401365 A EP83401365 A EP 83401365A EP 0100703 A1 EP0100703 A1 EP 0100703A1
- Authority
- EP
- European Patent Office
- Prior art keywords
- injector
- head
- cavity
- hollow
- wood
- Prior art date
- Legal status (The legal status is an assumption and is not a legal conclusion. Google has not performed a legal analysis and makes no representation as to the accuracy of the status listed.)
- Granted
Links
Images
Classifications
-
- B—PERFORMING OPERATIONS; TRANSPORTING
- B27—WORKING OR PRESERVING WOOD OR SIMILAR MATERIAL; NAILING OR STAPLING MACHINES IN GENERAL
- B27K—PROCESSES, APPARATUS OR SELECTION OF SUBSTANCES FOR IMPREGNATING, STAINING, DYEING, BLEACHING OF WOOD OR SIMILAR MATERIALS, OR TREATING OF WOOD OR SIMILAR MATERIALS WITH PERMEANT LIQUIDS, NOT OTHERWISE PROVIDED FOR; CHEMICAL OR PHYSICAL TREATMENT OF CORK, CANE, REED, STRAW OR SIMILAR MATERIALS
- B27K3/00—Impregnating wood, e.g. impregnation pretreatment, for example puncturing; Wood impregnation aids not directly involved in the impregnation process
- B27K3/02—Processes; Apparatus
- B27K3/08—Impregnating by pressure, e.g. vacuum impregnation
- B27K3/10—Apparatus
- B27K3/105—Injection apparatus
Definitions
- the present invention relates to an injector device of a new type and its production method, this device being intended to inject under high pressure into the wood a treatment liquid.
- One method consists in inoculating the liquid by a hollow needle which punctures a dowel previously placed in the wood and the recessed part of which has holes or slots to allow the liquid to pass through the wood.
- This process is used less and less because the perforation created allows a return of the pressurized liquid to the outside.
- Some injectors internally include a liquid non-return device:
- valve or lip injectors do not provide a good seal
- the ball injectors require two operations for their realization which are firstly the molding of the injector and secondly the installation of ball, which makes them more expensive.
- the present invention allows these drawbacks to be completely eliminated.
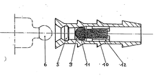
- the injector according to the invention consists of a body (1) of molded material, such as polyamide or nylon, intended to be inserted into a pilot hole in the wood to be treated, the end (2) being struck directly by a hammer, so that at the end of the driving operation, this end does not exceed the surface of the wood to be treated (3).
- the outer part of the body includes annular projections (4) ensuring good anchoring of the injector.
- the injector comprises a cavity (5) intended to receive an injection head (6) of spherical shape, this cavity having a shape such that the spherical injection head (6) comes to rest on the circular edges (16) and (17) of the injector, which ensures at the time of injection a double seal.
- the injection head (6) is held by pinching due to the elastic deformation of the flared part (8) of the injector body.
- the central inner part of the injector has a hollow frusto-conical part (9) forming with a moving part (10,11) a valve preventing the return of the liquid after the injection.
- the movable part (10, 11) is a part of revolution comprising a hollow cylindrical part (10) serving as a guide and a rounded or semi-spherical head (11) with a diameter greater than the diameter of the cylinder (10) and less than diameter of the hollow cylindrical part (13) of the injector, and which can rest on a crown (12) in which hollow grooves (14) are arranged parallel to the axis of the injector, and intended to promote the passage of the liquid during the injection.
- Figure 1 shows the device at the time of injection.
- the injection head (6) is pressed into the cavity (5), the flat face of the head (11) is supported on the crown (12) and the pressurized liquid flows through the grooves (14) to spread in the part (13) of the injector and in the wood to be treated.
- Figure 2 shows the device after injection.
- the pressure existing in the treatment zone pushes back the moving part (10,11) until the head (11) is in contact with the hollow conical part (9), ensuring a perfect seal.
- the injector is produced in a single molding operation.
- the injector body is crossed by two pins (18) and (19), the pin (19) itself being traversed in its center by a sliding pin (21).
- the position of the pins (18) and (19) is such that a zone (20) of less resistance occurs between the crown (12) and the part (10,11) during molding.
- the spindle (18) is easily removed despite the cavity (5) and the undercut formed by the cone (9), thanks to the elastic deformation of the flared area (8) of the injector.
- the spindle (21) then pushes the part (10,11) which, thanks to the zone of reduced thickness (20) between the pins (18) and (19), is easily detached from the body of the injector and can be move freely inside of it.
- the injector no longer exceeds the surface of the wood, thus avoiding an operation to cut flush with the surface of the wood the head of the injector, it allows subsequent injections to be carried out. provides an excellent seal and its cost is reduced thanks to a single molding operation to obtain the body and the moving part of the injector.
Landscapes
- Life Sciences & Earth Sciences (AREA)
- Engineering & Computer Science (AREA)
- Wood Science & Technology (AREA)
- Forests & Forestry (AREA)
- Chemical And Physical Treatments For Wood And The Like (AREA)
- Injection Moulding Of Plastics Or The Like (AREA)
Priority Applications (1)
| Application Number | Priority Date | Filing Date | Title |
|---|---|---|---|
| AT83401365T ATE22673T1 (de) | 1982-07-07 | 1983-07-04 | Einspritzvorrichtung zur behandlung von holz. |
Applications Claiming Priority (2)
| Application Number | Priority Date | Filing Date | Title |
|---|---|---|---|
| FR8212055 | 1982-07-07 | ||
| FR8212055A FR2529820A1 (fr) | 1982-07-07 | 1982-07-07 | Dispositif injecteur pour le traitement du bois |
Publications (2)
| Publication Number | Publication Date |
|---|---|
| EP0100703A1 true EP0100703A1 (de) | 1984-02-15 |
| EP0100703B1 EP0100703B1 (de) | 1986-10-08 |
Family
ID=9275832
Family Applications (1)
| Application Number | Title | Priority Date | Filing Date |
|---|---|---|---|
| EP83401365A Expired EP0100703B1 (de) | 1982-07-07 | 1983-07-04 | Einspritzvorrichtung zur Behandlung von Holz |
Country Status (4)
| Country | Link |
|---|---|
| EP (1) | EP0100703B1 (de) |
| AT (1) | ATE22673T1 (de) |
| DE (1) | DE3366671D1 (de) |
| FR (1) | FR2529820A1 (de) |
Cited By (6)
| Publication number | Priority date | Publication date | Assignee | Title |
|---|---|---|---|---|
| FR2565879A1 (fr) * | 1984-06-13 | 1985-12-20 | Charpenet Louis | Procede et dispositif de mise en oeuvre de chevilles en materiau compressible |
| EP0157665B1 (de) * | 1984-02-29 | 1988-06-01 | LE BOIS TRAITE Société à responsabilité limitée dite: | Antirücklaufsverschlussvorrichtung, verwendbar zur Holzbehandlung, Verfahren zum Aufstellen und Verschluss des Spunds dieser Verschlussvorrichtung |
| FR2689050A1 (fr) * | 1992-03-31 | 1993-10-01 | Bidaux Marc | Dispositif injecteur pour le traitement du bois. |
| DE9312858U1 (de) * | 1993-08-27 | 1994-08-04 | Schreiner, Klaus, 34246 Vellmar | Vorrichtung zur Injektion von fließfähigen Materialien in Mauerwerke, Betonbauteile, Holz o.dgl. |
| US5443641A (en) * | 1993-04-21 | 1995-08-22 | National Wood Treating Company | Wood-treating device |
| US10751907B2 (en) * | 2016-08-18 | 2020-08-25 | Iml Instrumenta Mechanik Labor Gmbh | Wood treatment apparatus with a displaceable sleeve for treating wood and method for treating wood |
Families Citing this family (2)
| Publication number | Priority date | Publication date | Assignee | Title |
|---|---|---|---|---|
| FR2560810B2 (fr) * | 1984-01-12 | 1986-10-17 | Croc Georges | Organe diffuseur pour injecter des produits, notamment des liquides de traitement dans des materiaux tels que le bois |
| FR2743326B1 (fr) * | 1995-08-24 | 1998-02-20 | Bidaux Marc Sa | Procede d'obturation d'un injecteur, apres injection d'un produit pour le traitement du bois dans ledit injecteur, et le dispositif permettant la mise en oeuvre dudit procede |
Citations (3)
| Publication number | Priority date | Publication date | Assignee | Title |
|---|---|---|---|---|
| FR2179542A1 (de) * | 1972-04-11 | 1973-11-23 | Ambos Edmond | |
| FR2220728A1 (en) * | 1973-03-07 | 1974-10-04 | Boesinger Roger | Injector for fluid under pressure - has cylinder with free end to suit injector gun |
| FR2386399A1 (fr) * | 1977-04-08 | 1978-11-03 | Juquin Joel | Dispositif de diffusion pour le traitement interne du bois |
-
1982
- 1982-07-07 FR FR8212055A patent/FR2529820A1/fr active Granted
-
1983
- 1983-07-04 AT AT83401365T patent/ATE22673T1/de active
- 1983-07-04 EP EP83401365A patent/EP0100703B1/de not_active Expired
- 1983-07-04 DE DE8383401365T patent/DE3366671D1/de not_active Expired
Patent Citations (3)
| Publication number | Priority date | Publication date | Assignee | Title |
|---|---|---|---|---|
| FR2179542A1 (de) * | 1972-04-11 | 1973-11-23 | Ambos Edmond | |
| FR2220728A1 (en) * | 1973-03-07 | 1974-10-04 | Boesinger Roger | Injector for fluid under pressure - has cylinder with free end to suit injector gun |
| FR2386399A1 (fr) * | 1977-04-08 | 1978-11-03 | Juquin Joel | Dispositif de diffusion pour le traitement interne du bois |
Cited By (7)
| Publication number | Priority date | Publication date | Assignee | Title |
|---|---|---|---|---|
| EP0157665B1 (de) * | 1984-02-29 | 1988-06-01 | LE BOIS TRAITE Société à responsabilité limitée dite: | Antirücklaufsverschlussvorrichtung, verwendbar zur Holzbehandlung, Verfahren zum Aufstellen und Verschluss des Spunds dieser Verschlussvorrichtung |
| FR2565879A1 (fr) * | 1984-06-13 | 1985-12-20 | Charpenet Louis | Procede et dispositif de mise en oeuvre de chevilles en materiau compressible |
| FR2689050A1 (fr) * | 1992-03-31 | 1993-10-01 | Bidaux Marc | Dispositif injecteur pour le traitement du bois. |
| US5478394A (en) * | 1992-03-31 | 1995-12-26 | Bidaux; Marc | Injection device for the treatment of wood |
| US5443641A (en) * | 1993-04-21 | 1995-08-22 | National Wood Treating Company | Wood-treating device |
| DE9312858U1 (de) * | 1993-08-27 | 1994-08-04 | Schreiner, Klaus, 34246 Vellmar | Vorrichtung zur Injektion von fließfähigen Materialien in Mauerwerke, Betonbauteile, Holz o.dgl. |
| US10751907B2 (en) * | 2016-08-18 | 2020-08-25 | Iml Instrumenta Mechanik Labor Gmbh | Wood treatment apparatus with a displaceable sleeve for treating wood and method for treating wood |
Also Published As
| Publication number | Publication date |
|---|---|
| FR2529820A1 (fr) | 1984-01-13 |
| FR2529820B1 (de) | 1985-01-25 |
| ATE22673T1 (de) | 1986-10-15 |
| DE3366671D1 (en) | 1986-11-13 |
| EP0100703B1 (de) | 1986-10-08 |
Similar Documents
| Publication | Publication Date | Title |
|---|---|---|
| EP0100703A1 (de) | Einspritzvorrichtung zur Behandlung von Holz | |
| EP0219362B1 (de) | Verriegelbare Gasfeder | |
| KR950700114A (ko) | 2성분 분배 시스템(Two-component dispensing system) | |
| US3402747A (en) | Quick coupling for the transfer of fluids | |
| FR3066078A1 (fr) | Systeme pour le melange de deux produits cosmetiques | |
| FR2641996A2 (fr) | Dispositif de montage a queue conique, en particulier au cone 7/24e, a application cone et face pour attachements, porte-outils et outils | |
| US3581379A (en) | Pneumatic o-ring applicator and method | |
| FR2792552A1 (fr) | Tete de pulverisation de produit fluide comportant un obturateur ameliore | |
| KR20030071561A (ko) | 수동 구동 분사기용 오리피스 컵 | |
| FR2533495A2 (fr) | Cartouche pour injecter un produit semi-pateux | |
| FR2705757A1 (fr) | Elément de raccord rapide, son procédé de fabrication, et raccord rapide. | |
| EP1523359A2 (de) | Injektions- oder zerstäubungsvorrichtung, insbesondere zum medizinischen gebrauch | |
| FR2355727A1 (fr) | Dispositif de verrouillage d'un element d'obturation dans une extremite d'un cylindre a paroi elastiquement deformable | |
| FR2597927A1 (fr) | Injecteur pour injection de carburant dans la chambre de combustion d'un moteur a combustion interne, a injection et a compression d'air | |
| EP0060158A1 (de) | Gerät zum Eintreiben von Bolzen oder dergleichen | |
| US4877394A (en) | Apparatus for molding parts having small diameter hole | |
| US3699739A (en) | Method and apparatus for use in inflating tennis and other balls | |
| FR2595609A1 (fr) | Dispositif et procede de pose d'un insert expansible dans un trou d'une piece en materiau tendre | |
| EP0138636A1 (de) | Tropfbewässerungsvorrichtung | |
| FR2915533A3 (fr) | Dispositif permettant d'empecher un ecoulement a contre courant dans une pompe a air | |
| FR2689438A1 (fr) | Dispositif injecteur pour le traitement du bois. | |
| JPH0361448A (ja) | 糖菓用成形型 | |
| JP2001186917A (ja) | 自動洗髪機 | |
| FR2743398A1 (fr) | Cheville d'injection monobloc pour l'injection d'un produit traitant dans une paroi de maconnerie | |
| DE904363C (de) | Kraftstoff-Einspritzduese |
Legal Events
| Date | Code | Title | Description |
|---|---|---|---|
| PUAI | Public reference made under article 153(3) epc to a published international application that has entered the european phase |
Free format text: ORIGINAL CODE: 0009012 |
|
| AK | Designated contracting states |
Designated state(s): AT BE CH DE FR GB IT LI LU NL SE |
|
| 17P | Request for examination filed |
Effective date: 19840320 |
|
| GRAA | (expected) grant |
Free format text: ORIGINAL CODE: 0009210 |
|
| AK | Designated contracting states |
Kind code of ref document: B1 Designated state(s): AT BE CH DE FR GB IT LI LU NL SE |
|
| REF | Corresponds to: |
Ref document number: 22673 Country of ref document: AT Date of ref document: 19861015 Kind code of ref document: T |
|
| REF | Corresponds to: |
Ref document number: 3366671 Country of ref document: DE Date of ref document: 19861113 |
|
| ITF | It: translation for a ep patent filed | ||
| PG25 | Lapsed in a contracting state [announced via postgrant information from national office to epo] |
Ref country code: LU Free format text: LAPSE BECAUSE OF NON-PAYMENT OF DUE FEES Effective date: 19870731 |
|
| PGFP | Annual fee paid to national office [announced via postgrant information from national office to epo] |
Ref country code: NL Payment date: 19870731 Year of fee payment: 5 |
|
| PLBE | No opposition filed within time limit |
Free format text: ORIGINAL CODE: 0009261 |
|
| STAA | Information on the status of an ep patent application or granted ep patent |
Free format text: STATUS: NO OPPOSITION FILED WITHIN TIME LIMIT |
|
| 26N | No opposition filed | ||
| PGFP | Annual fee paid to national office [announced via postgrant information from national office to epo] |
Ref country code: SE Payment date: 19890628 Year of fee payment: 7 |
|
| PGFP | Annual fee paid to national office [announced via postgrant information from national office to epo] |
Ref country code: CH Payment date: 19890629 Year of fee payment: 7 |
|
| PGFP | Annual fee paid to national office [announced via postgrant information from national office to epo] |
Ref country code: GB Payment date: 19890630 Year of fee payment: 7 |
|
| PGFP | Annual fee paid to national office [announced via postgrant information from national office to epo] |
Ref country code: AT Payment date: 19890704 Year of fee payment: 7 |
|
| PGFP | Annual fee paid to national office [announced via postgrant information from national office to epo] |
Ref country code: LU Payment date: 19890711 Year of fee payment: 7 |
|
| PGFP | Annual fee paid to national office [announced via postgrant information from national office to epo] |
Ref country code: BE Payment date: 19890713 Year of fee payment: 7 |
|
| PGFP | Annual fee paid to national office [announced via postgrant information from national office to epo] |
Ref country code: DE Payment date: 19890726 Year of fee payment: 7 |
|
| PG25 | Lapsed in a contracting state [announced via postgrant information from national office to epo] |
Ref country code: NL Effective date: 19900201 |
|
| NLV4 | Nl: lapsed or anulled due to non-payment of the annual fee | ||
| PG25 | Lapsed in a contracting state [announced via postgrant information from national office to epo] |
Ref country code: FR Free format text: LAPSE BECAUSE OF NON-PAYMENT OF DUE FEES Effective date: 19900330 |
|
| REG | Reference to a national code |
Ref country code: FR Ref legal event code: ST |
|
| PG25 | Lapsed in a contracting state [announced via postgrant information from national office to epo] |
Ref country code: GB Effective date: 19900704 Ref country code: AT Effective date: 19900704 |
|
| PG25 | Lapsed in a contracting state [announced via postgrant information from national office to epo] |
Ref country code: SE Effective date: 19900705 |
|
| PG25 | Lapsed in a contracting state [announced via postgrant information from national office to epo] |
Ref country code: LI Effective date: 19900731 Ref country code: CH Effective date: 19900731 Ref country code: BE Effective date: 19900731 |
|
| BERE | Be: lapsed |
Owner name: BIDAUX MARC Effective date: 19900731 |
|
| GBPC | Gb: european patent ceased through non-payment of renewal fee | ||
| REG | Reference to a national code |
Ref country code: CH Ref legal event code: PL |
|
| PG25 | Lapsed in a contracting state [announced via postgrant information from national office to epo] |
Ref country code: DE Effective date: 19910403 |
|
| EUG | Se: european patent has lapsed |
Ref document number: 83401365.8 Effective date: 19910402 |