EP0094530A2 - Plastic bottle case and bottle packaging obtained with this case - Google Patents
Plastic bottle case and bottle packaging obtained with this case Download PDFInfo
- Publication number
- EP0094530A2 EP0094530A2 EP83104202A EP83104202A EP0094530A2 EP 0094530 A2 EP0094530 A2 EP 0094530A2 EP 83104202 A EP83104202 A EP 83104202A EP 83104202 A EP83104202 A EP 83104202A EP 0094530 A2 EP0094530 A2 EP 0094530A2
- Authority
- EP
- European Patent Office
- Prior art keywords
- bottle
- columns
- column
- bottles
- corners
- Prior art date
- Legal status (The legal status is an assumption and is not a legal conclusion. Google has not performed a legal analysis and makes no representation as to the accuracy of the status listed.)
- Granted
Links
Images
Classifications
-
- B—PERFORMING OPERATIONS; TRANSPORTING
- B65—CONVEYING; PACKING; STORING; HANDLING THIN OR FILAMENTARY MATERIAL
- B65D—CONTAINERS FOR STORAGE OR TRANSPORT OF ARTICLES OR MATERIALS, e.g. BAGS, BARRELS, BOTTLES, BOXES, CANS, CARTONS, CRATES, DRUMS, JARS, TANKS, HOPPERS, FORWARDING CONTAINERS; ACCESSORIES, CLOSURES, OR FITTINGS THEREFOR; PACKAGING ELEMENTS; PACKAGES
- B65D71/00—Bundles of articles held together by packaging elements for convenience of storage or transport, e.g. portable segregating carrier for plural receptacles such as beer cans or pop bottles; Bales of material
- B65D71/06—Packaging elements holding or encircling completely or almost completely the bundle of articles, e.g. wrappers
- B65D71/12—Packaging elements holding or encircling completely or almost completely the bundle of articles, e.g. wrappers the packaging elements, e.g. wrappers being formed by folding a single blank
- B65D71/14—Packaging elements holding or encircling completely or almost completely the bundle of articles, e.g. wrappers the packaging elements, e.g. wrappers being formed by folding a single blank having the shape of a tube, without, or not being characterised by, end walls
- B65D71/16—Packaging elements holding or encircling completely or almost completely the bundle of articles, e.g. wrappers the packaging elements, e.g. wrappers being formed by folding a single blank having the shape of a tube, without, or not being characterised by, end walls with article-locating elements
-
- B—PERFORMING OPERATIONS; TRANSPORTING
- B65—CONVEYING; PACKING; STORING; HANDLING THIN OR FILAMENTARY MATERIAL
- B65D—CONTAINERS FOR STORAGE OR TRANSPORT OF ARTICLES OR MATERIALS, e.g. BAGS, BARRELS, BOTTLES, BOXES, CANS, CARTONS, CRATES, DRUMS, JARS, TANKS, HOPPERS, FORWARDING CONTAINERS; ACCESSORIES, CLOSURES, OR FITTINGS THEREFOR; PACKAGING ELEMENTS; PACKAGES
- B65D1/00—Rigid or semi-rigid containers having bodies formed in one piece, e.g. by casting metallic material, by moulding plastics, by blowing vitreous material, by throwing ceramic material, by moulding pulped fibrous material or by deep-drawing operations performed on sheet material
- B65D1/22—Boxes or like containers with side walls of substantial depth for enclosing contents
- B65D1/24—Boxes or like containers with side walls of substantial depth for enclosing contents with moulded compartments or partitions
- B65D1/243—Crates for bottles or like containers
-
- B—PERFORMING OPERATIONS; TRANSPORTING
- B65—CONVEYING; PACKING; STORING; HANDLING THIN OR FILAMENTARY MATERIAL
- B65D—CONTAINERS FOR STORAGE OR TRANSPORT OF ARTICLES OR MATERIALS, e.g. BAGS, BARRELS, BOTTLES, BOXES, CANS, CARTONS, CRATES, DRUMS, JARS, TANKS, HOPPERS, FORWARDING CONTAINERS; ACCESSORIES, CLOSURES, OR FITTINGS THEREFOR; PACKAGING ELEMENTS; PACKAGES
- B65D2501/00—Containers having bodies formed in one piece
- B65D2501/24—Boxes or like containers with moulded compartments or partitions
- B65D2501/24006—Details relating to bottle crates
- B65D2501/24012—Materials
- B65D2501/24019—Mainly plastics
-
- B—PERFORMING OPERATIONS; TRANSPORTING
- B65—CONVEYING; PACKING; STORING; HANDLING THIN OR FILAMENTARY MATERIAL
- B65D—CONTAINERS FOR STORAGE OR TRANSPORT OF ARTICLES OR MATERIALS, e.g. BAGS, BARRELS, BOTTLES, BOXES, CANS, CARTONS, CRATES, DRUMS, JARS, TANKS, HOPPERS, FORWARDING CONTAINERS; ACCESSORIES, CLOSURES, OR FITTINGS THEREFOR; PACKAGING ELEMENTS; PACKAGES
- B65D2501/00—Containers having bodies formed in one piece
- B65D2501/24—Boxes or like containers with moulded compartments or partitions
- B65D2501/24006—Details relating to bottle crates
- B65D2501/2405—Construction
- B65D2501/24121—Construction of the bottom
- B65D2501/24133—Grid, mesh
-
- B—PERFORMING OPERATIONS; TRANSPORTING
- B65—CONVEYING; PACKING; STORING; HANDLING THIN OR FILAMENTARY MATERIAL
- B65D—CONTAINERS FOR STORAGE OR TRANSPORT OF ARTICLES OR MATERIALS, e.g. BAGS, BARRELS, BOTTLES, BOXES, CANS, CARTONS, CRATES, DRUMS, JARS, TANKS, HOPPERS, FORWARDING CONTAINERS; ACCESSORIES, CLOSURES, OR FITTINGS THEREFOR; PACKAGING ELEMENTS; PACKAGES
- B65D2501/00—Containers having bodies formed in one piece
- B65D2501/24—Boxes or like containers with moulded compartments or partitions
- B65D2501/24006—Details relating to bottle crates
- B65D2501/24197—Arrangements for locating the bottles
- B65D2501/24203—Construction of locating arrangements
- B65D2501/24235—Pillars
- B65D2501/24254—Pillars of star-like cross-section
-
- B—PERFORMING OPERATIONS; TRANSPORTING
- B65—CONVEYING; PACKING; STORING; HANDLING THIN OR FILAMENTARY MATERIAL
- B65D—CONTAINERS FOR STORAGE OR TRANSPORT OF ARTICLES OR MATERIALS, e.g. BAGS, BARRELS, BOTTLES, BOXES, CANS, CARTONS, CRATES, DRUMS, JARS, TANKS, HOPPERS, FORWARDING CONTAINERS; ACCESSORIES, CLOSURES, OR FITTINGS THEREFOR; PACKAGING ELEMENTS; PACKAGES
- B65D2501/00—Containers having bodies formed in one piece
- B65D2501/24—Boxes or like containers with moulded compartments or partitions
- B65D2501/24006—Details relating to bottle crates
- B65D2501/24197—Arrangements for locating the bottles
- B65D2501/24203—Construction of locating arrangements
- B65D2501/24261—Ribs on the side walls
-
- B—PERFORMING OPERATIONS; TRANSPORTING
- B65—CONVEYING; PACKING; STORING; HANDLING THIN OR FILAMENTARY MATERIAL
- B65D—CONTAINERS FOR STORAGE OR TRANSPORT OF ARTICLES OR MATERIALS, e.g. BAGS, BARRELS, BOTTLES, BOXES, CANS, CARTONS, CRATES, DRUMS, JARS, TANKS, HOPPERS, FORWARDING CONTAINERS; ACCESSORIES, CLOSURES, OR FITTINGS THEREFOR; PACKAGING ELEMENTS; PACKAGES
- B65D2501/00—Containers having bodies formed in one piece
- B65D2501/24—Boxes or like containers with moulded compartments or partitions
- B65D2501/24006—Details relating to bottle crates
- B65D2501/24197—Arrangements for locating the bottles
- B65D2501/24203—Construction of locating arrangements
- B65D2501/2428—Others
-
- B—PERFORMING OPERATIONS; TRANSPORTING
- B65—CONVEYING; PACKING; STORING; HANDLING THIN OR FILAMENTARY MATERIAL
- B65D—CONTAINERS FOR STORAGE OR TRANSPORT OF ARTICLES OR MATERIALS, e.g. BAGS, BARRELS, BOTTLES, BOXES, CANS, CARTONS, CRATES, DRUMS, JARS, TANKS, HOPPERS, FORWARDING CONTAINERS; ACCESSORIES, CLOSURES, OR FITTINGS THEREFOR; PACKAGING ELEMENTS; PACKAGES
- B65D2501/00—Containers having bodies formed in one piece
- B65D2501/24—Boxes or like containers with moulded compartments or partitions
- B65D2501/24006—Details relating to bottle crates
- B65D2501/24197—Arrangements for locating the bottles
- B65D2501/24324—Means for accommodating grouped bottles, e.g. in a wrapper
-
- B—PERFORMING OPERATIONS; TRANSPORTING
- B65—CONVEYING; PACKING; STORING; HANDLING THIN OR FILAMENTARY MATERIAL
- B65D—CONTAINERS FOR STORAGE OR TRANSPORT OF ARTICLES OR MATERIALS, e.g. BAGS, BARRELS, BOTTLES, BOXES, CANS, CARTONS, CRATES, DRUMS, JARS, TANKS, HOPPERS, FORWARDING CONTAINERS; ACCESSORIES, CLOSURES, OR FITTINGS THEREFOR; PACKAGING ELEMENTS; PACKAGES
- B65D2501/00—Containers having bodies formed in one piece
- B65D2501/24—Boxes or like containers with moulded compartments or partitions
- B65D2501/24006—Details relating to bottle crates
- B65D2501/24764—Reinforcements
- B65D2501/2477—Parts reinforced
- B65D2501/24777—Side walls
-
- B—PERFORMING OPERATIONS; TRANSPORTING
- B65—CONVEYING; PACKING; STORING; HANDLING THIN OR FILAMENTARY MATERIAL
- B65D—CONTAINERS FOR STORAGE OR TRANSPORT OF ARTICLES OR MATERIALS, e.g. BAGS, BARRELS, BOTTLES, BOXES, CANS, CARTONS, CRATES, DRUMS, JARS, TANKS, HOPPERS, FORWARDING CONTAINERS; ACCESSORIES, CLOSURES, OR FITTINGS THEREFOR; PACKAGING ELEMENTS; PACKAGES
- B65D2501/00—Containers having bodies formed in one piece
- B65D2501/24—Boxes or like containers with moulded compartments or partitions
- B65D2501/24006—Details relating to bottle crates
- B65D2501/24764—Reinforcements
- B65D2501/24789—Means used for reinforcing
- B65D2501/24808—The wall being reinforced by making it thicker or double-walled
-
- B—PERFORMING OPERATIONS; TRANSPORTING
- B65—CONVEYING; PACKING; STORING; HANDLING THIN OR FILAMENTARY MATERIAL
- B65D—CONTAINERS FOR STORAGE OR TRANSPORT OF ARTICLES OR MATERIALS, e.g. BAGS, BARRELS, BOTTLES, BOXES, CANS, CARTONS, CRATES, DRUMS, JARS, TANKS, HOPPERS, FORWARDING CONTAINERS; ACCESSORIES, CLOSURES, OR FITTINGS THEREFOR; PACKAGING ELEMENTS; PACKAGES
- B65D2571/00—Bundles of articles held together by packaging elements for convenience of storage or transport, e.g. portable segregating carrier for plural receptacles such as beer cans, pop bottles; Bales of material
- B65D2571/00123—Bundling wrappers or trays
- B65D2571/00246—Locating elements for the contents
- B65D2571/00253—Locating elements for the contents integral with the wrapper
- B65D2571/0029—Openings in top or bottom walls
-
- B—PERFORMING OPERATIONS; TRANSPORTING
- B65—CONVEYING; PACKING; STORING; HANDLING THIN OR FILAMENTARY MATERIAL
- B65D—CONTAINERS FOR STORAGE OR TRANSPORT OF ARTICLES OR MATERIALS, e.g. BAGS, BARRELS, BOTTLES, BOXES, CANS, CARTONS, CRATES, DRUMS, JARS, TANKS, HOPPERS, FORWARDING CONTAINERS; ACCESSORIES, CLOSURES, OR FITTINGS THEREFOR; PACKAGING ELEMENTS; PACKAGES
- B65D2571/00—Bundles of articles held together by packaging elements for convenience of storage or transport, e.g. portable segregating carrier for plural receptacles such as beer cans, pop bottles; Bales of material
- B65D2571/00123—Bundling wrappers or trays
- B65D2571/00648—Elements used to form the wrapper
- B65D2571/00654—Blanks
- B65D2571/0066—Blanks formed from one single sheet
-
- B—PERFORMING OPERATIONS; TRANSPORTING
- B65—CONVEYING; PACKING; STORING; HANDLING THIN OR FILAMENTARY MATERIAL
- B65D—CONTAINERS FOR STORAGE OR TRANSPORT OF ARTICLES OR MATERIALS, e.g. BAGS, BARRELS, BOTTLES, BOXES, CANS, CARTONS, CRATES, DRUMS, JARS, TANKS, HOPPERS, FORWARDING CONTAINERS; ACCESSORIES, CLOSURES, OR FITTINGS THEREFOR; PACKAGING ELEMENTS; PACKAGES
- B65D2571/00—Bundles of articles held together by packaging elements for convenience of storage or transport, e.g. portable segregating carrier for plural receptacles such as beer cans, pop bottles; Bales of material
- B65D2571/00123—Bundling wrappers or trays
- B65D2571/00709—Shape of the formed wrapper, i.e. shape of each formed element if the wrapper is made from more than one element
- B65D2571/00722—Shape of the formed wrapper, i.e. shape of each formed element if the wrapper is made from more than one element tubular with end walls, e.g. walls not extending on the whole end surface
- B65D2571/00759—Shape of the formed wrapper, i.e. shape of each formed element if the wrapper is made from more than one element tubular with end walls, e.g. walls not extending on the whole end surface the end walls having a part tucked between side, top or bottom wall and contents or between two articles
-
- B—PERFORMING OPERATIONS; TRANSPORTING
- B65—CONVEYING; PACKING; STORING; HANDLING THIN OR FILAMENTARY MATERIAL
- B65D—CONTAINERS FOR STORAGE OR TRANSPORT OF ARTICLES OR MATERIALS, e.g. BAGS, BARRELS, BOTTLES, BOXES, CANS, CARTONS, CRATES, DRUMS, JARS, TANKS, HOPPERS, FORWARDING CONTAINERS; ACCESSORIES, CLOSURES, OR FITTINGS THEREFOR; PACKAGING ELEMENTS; PACKAGES
- B65D2571/00—Bundles of articles held together by packaging elements for convenience of storage or transport, e.g. portable segregating carrier for plural receptacles such as beer cans, pop bottles; Bales of material
- B65D2571/00123—Bundling wrappers or trays
- B65D2571/00833—Other details of wrappers
- B65D2571/00858—Devices for locating the wrapped bundle in a container, e.g. in a bottle crate
Definitions
- the invention relates to a bottle crate made of plastic, in its free of partition walls interiorjetellmoid fixed by the bottle bottom of the box and are formed perpendicular to desem extending, arranged in free spaces between the bottle spacer body, each consisting of two equal to 18 0 ° to one another twisted by far there are pillars that run away from each other and run out into roof-shaped surfaces, which are arranged in opposite gaps of the free space between four bottles in such a way that the free spaces between two columns of a pair of columns lie on an imaginary line that runs between two rows of bottle storage spaces.
- the invention further relates to a flat packaging, which consists of a bottle crate with these features and can be used in this bottle crate, at least a number of bottles receiving cardboard packaging, in the bottom of which holes are provided for the passage of the spacers.
- Such a bottle crate is from the
- DE-OS 29 14 993 become known.
- the advantage of this bottle crate is that it can also be used in bottle carriers made of cardboard or cardboard bottle groups can be used together with this bottle carrier, both bottle carrier for a row and bottle carrier can be used for several rows of bottles.
- These bottle carriers cry for the spacers only bottom holes, but no recesses in the side walls, which is very beneficial to the stability of these bottle carriers and at the same time fully preserves the advertising surfaces on the side walls of the bottle carriers.
- the present invention is about the solution to the problem, the previous bottle crates for twenty euro bottles of a bottle diameter 7 0 , 5 mm, in which the bottles are arranged in five rows of four bottles and the outer dimensions 4oo mm x 33o mm have to be designed in such a way that the dimensions of bottles standing in straight rows can be reduced to 400 mm x 3oo mm so that these bottle crates can be stacked tightly using the standardized pallet dimensions.
- the width dimension of 300 mm could be achieved with sufficient stability of the long side walls, but this arrangement of the bottle storage spaces in non-straight rows has the disadvantage that the gripper heads in the packaging and unpacking machines have to be changed and then difficulties occur when gripping bottles running in straight lines to the packaging machines.
- each column has three corners, two corners of which are arranged on the side of the column facing the adjacent column of the column pair, while the third corner lies on an imaginary line which is perpendicular to the connecting line of the other two corners, that each column consists of two obtuse-angled walls are constructed, which converge at an acute angle on the side remote from the space between two columns of a pair of columns and that each corner is provided with a bead running perpendicular to the box bottom.
- the invention achieves this by constructing the columns from two obtuse-angled walls, the columns also being reinforced by three beads running perpendicular to the bottom of the box. This special shape of the columns enables the distance between the individual bottles to be effectively reduced to almost 0.5 mm and this distance to be maintained even during dynamic loads during transport. As a result, the bottles are extremely tight without touching.
- the advantage has been preserved that bottles can be used both individually and in bottle carriers with any number of rows in the bottle box.
- pairs of ribs are arranged on each longitudinal side wall, the gaps of which they enclose align with the row of gaps between the pairs of columns.
- This bottle packaging is characterized in that the individual external dimensions of 3oo mm x 4oo mm can be maintained with full stability of the bottle crate, without the individual bottles touching during transport in cardboard packaging as individual bottles during transport.
- the bottle crate of this bottle packaging receives its high stability to a large extent via the corner pillars. It is therefore expedient if the corner pillars of the bottle crate protrude upwards over the upper edge of the side walls and / or protrude downwards over the lower edge of the side walls and the bottom. Because then the loads are diverted downwards through the corner pillars alone.
- corner pillars are directed upwards by an inwardly directed heel of the wall thickness of the corner pillars, which are in a transverse plate merges, are closed.
- each pillar angular in cross section is constructed from two obtuse-angled walls which converge at an acute angle on the side remote from the space between two pillars of a pair of pillars. This gives these columns excellent stability against vertical loads.
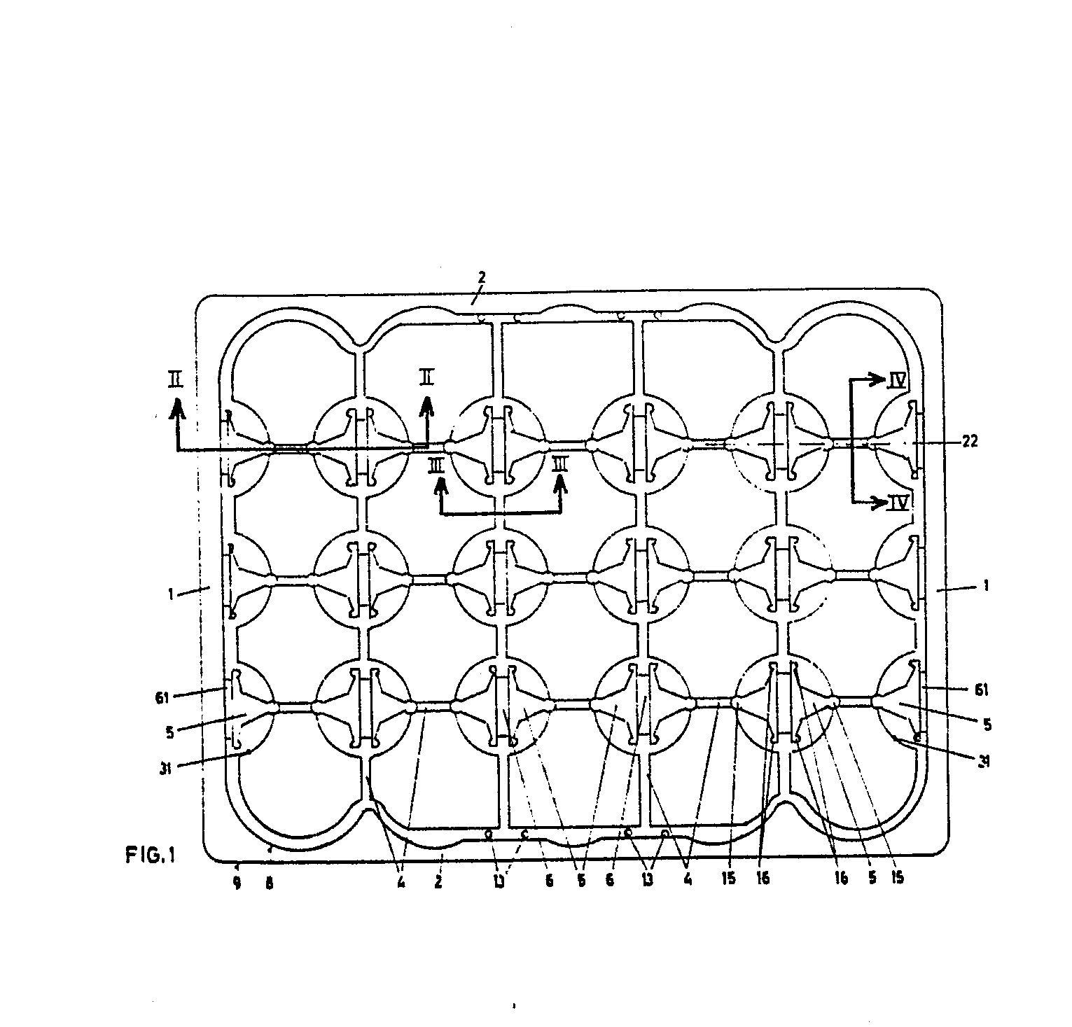
- the bottle crate has end side walls 1 and longitudinal side walls 2, and a bottom which is formed from annular webs 3 and straight webs 4.
- the annular webs 3 are connected by the individual straight web pieces 4, further straight web pieces 4 connect annular web pieces to the longitudinal side walls 2.
- Semicircular web pieces 31 are connected to the end wall 1.
- the annular and annular web pieces 3, 31 carry the spacers in the form of the columns 5. These columns 5 are arranged in pairs and enclose a free space 6 between them which, when bottles packed in bottle carriers are used in the bottle crate, the side walls of the Bottle carrier can accommodate. At its lower end, the two columns 5 pass directly into the ring web 3 through horizontally extending surface pieces 7.
- the individual columns 5 on the semicircular webs 31 in front of the end faces 1 of the bottle crate are at a distance 61 arranged so that in this space 61 between the inside of the end wall 1 and the outward side of the column 5, a sufficient space is created for receiving the side wall of a bottle carrier.
- the corners in particular are made very strong. This is done in that the bottle crate located in the corner is surrounded on the outside by a double-walled corner column which is formed from the inner wall 8 and the outer wall 9 and encloses a cavity which is formed from the two parts lol, lo2, which are connected to one another can be related, of which the part lol lies directly in the corner, while the cavity lo2 extends into the gusset between the two bottles standing in the corner on the long side wall.
- the inner wall 8 nestles against the dashed lines lo shown in dashed lines.
- Each column 5 is constructed from two obtuse-angled walls 14 which are located on the space 6 between two columns 5 Side converge at an acute angle and here are provided with a bead 15 at this point forming a corner of the column.
- the two other free ends of the obtuse-angled walls 14 are also each provided with a bead 16.
- Each bottle carrier 18 has openings 19 in its bottom for the passage of the columns 5 when it is placed in the bottle crate.
- tabs 20 are attached, which after the bottles have been placed on the base are pushed upwards and pressed against the cylindrical part of the bottle wall before the side walls are pushed upwards.
- the corners of the bottle carrier are somewhat rounded, so that such bottle carriers can be used well in the bottle crate shown here in the drawing.
- FIG. 1 A side view of the bottle crate is shown in FIG. It can be seen here that the longitudinal side wall surfaces 2 in the area of the corner pillars each have an upward extension above the upper edge 22 of the longitudinal side wall 2, which ends in a shoulder 23 which serves to center a bottle crate stacked above it.
- the paragraph 23 is closed at the top by a horizontal plate. This paragraph 23 and the horizontal plate adjoining it enter the corner column of the bottle crate stacked above from below. With 24 a handle hole in the side wall 2 is designated.
Landscapes
- Engineering & Computer Science (AREA)
- Mechanical Engineering (AREA)
- Ceramic Engineering (AREA)
- Packages (AREA)
Abstract
Zur Lösung des Problemes, die bisherigen Flaschenkästen für zwanzig Euro-Flaschen von einem Flaschendurchmesser 70,5 mm, bei denen die Flaschen in fünf Reihen zu je vier Flaschen angeordnet werden und die die Außenabmessungen 400 mm x 330 mm haben, so zu gestalten, daß bei in geraden Reihen stehenden Flaschen die Außenmaße auf das Maß 400 mm x 300 mm reduziert werden können, um diese Flaschenkästen unter Ausnutzung der genormten Palettenmaße dicht stapeln zu können, wird ein Flaschenkasten, in dessen Innenraum Flascheneinstellplätze durch in Freiräumen zwischen den Flaschen angeordnete Abstandskörper gebildet werden, die jeder aus zwei gleichen, um 180° zueinander versetzten Säulen bestehen, so gestaltet, daß jede Säule drei Ecken aufweist, von denen zwei Ecken auf der der benachbarten Säule des Säulenpaares zugewandten Seite der Säule angeordnet sind, während die dritte Ecke auf einer gedachten Linie liegt, die senkrecht zu der Verbindungslinie der beiden anderen Ecken verläuft, daß jede Säule aus zwei stumpfwinklig geknickten Wandungen aufgebaut ist, die auf der dem Freiraum zwischen zwei Säulen eines Säulenpaares abgelegenen Seite spitzwinklig zusammenlaufen und daß jede Ecke mit einer senkrecht zum Kastenboden verlaufenden Wulst versehen ist. To solve the problem, the previous bottle crates for twenty euro bottles with a bottle diameter of 70.5 mm, in which the bottles are arranged in five rows of four bottles and which have the outer dimensions 400 mm x 330 mm, so that For bottles standing in straight rows, the outer dimensions can be reduced to 400 mm x 300 mm in order to be able to stack these bottle crates tightly using the standardized pallet dimensions, a bottle crate is formed in the interior of which bottle storage spaces are formed by spacers arranged in free spaces between the bottles are, each consisting of two equal, 180 ° offset columns, designed so that each column has three corners, two corners of which are arranged on the side of the column facing the adjacent column of the pair of columns, while the third corner on one imaginary line that is perpendicular to the connecting line of the other two corners that j Each column is made up of two obtuse-angled walls, which converge at an acute angle on the side remote from the space between two columns of a pair of columns and that each corner is provided with a bead running perpendicular to the box floor.
Description
Die Erfindung betrifft einen Flaschenkasten aus Kunststoff, in dessen von Unterteilungswänden freien Innenraum Flascheneinstellplätze durch am Flaschenkastenboden befestigte und senkrecht zu desem verlaufende, in Freiräumen zwischen den Flaschen angeordnete Abstandskörper gebildet werden, die jeder aus zwei gleichen, um 180° zueinander verdrehten, mit Abstand voneinander stehenden, oben in dachförmige Flächen auslaufenden Säulen besteht, die in gegenüberliegenden Zwickeln des Freiraumes zwischen je vier Flaschen derart angeordnet sind, daß die Freiräume zwischen je zwei Säulen eines Säulenpaares auf einer gedachten Linie liegen, die zwischen zwei Reihen von Flascheneinstellplätzen verläuft. Die Erfindung betrifft weiter eine Flaachenverpackung, die aus einem Flaschenkasten mit diesen Merkmalen und aus in diesen Flaschenkasten einsetzbaren, mindestens eine Reihe von Flaschen aufnehmenden Kartonverpackungen besteht, in deren Boden Löcher für den Durchtritt der Abstandskörper vorgesehen sind.The invention relates to a bottle crate made of plastic, in its free of partition walls interior Flascheneinstellplätze fixed by the bottle bottom of the box and are formed perpendicular to desem extending, arranged in free spaces between the bottle spacer body, each consisting of two equal to 18 0 ° to one another twisted by far there are pillars that run away from each other and run out into roof-shaped surfaces, which are arranged in opposite gaps of the free space between four bottles in such a way that the free spaces between two columns of a pair of columns lie on an imaginary line that runs between two rows of bottle storage spaces. The invention further relates to a flat packaging, which consists of a bottle crate with these features and can be used in this bottle crate, at least a number of bottles receiving cardboard packaging, in the bottom of which holes are provided for the passage of the spacers.
Ein derartiger Flaschenkasten ist aus derSuch a bottle crate is from the
DE-OS 29 14 993 bekannt geworden. Der Vorteil dieses Flaschenkastens besteht darin, daß in ihm auch in Flaschenträgern aus Pappe oder Karton zusammengestellte Flaschengruppen zusammen mit diesem Flaschenträger eingesetzt werden können, wobei sowohl Flaschenträger für eine Reihe als auch Flaschenträger für mehrere Reihen von Flaschen verwendet werden können. Diese Flaschenträger weinen für die Abstandskörper nur Bodenlöcher auf, jedoch keine Ausnehmungen in den Seitenwänden, was der Stabilität dieser Flaschenträger sehr zuträglich ist und gleichzeitig die an den Seitenwandungen der Flasahenträger vorhandenen Reklameflächen in vollem Umfang erhält.DE-OS 29 14 993 become known. The advantage of this bottle crate is that it can also be used in bottle carriers made of cardboard or cardboard bottle groups can be used together with this bottle carrier, both bottle carrier for a row and bottle carrier can be used for several rows of bottles. These bottle carriers cry for the spacers only bottom holes, but no recesses in the side walls, which is very beneficial to the stability of these bottle carriers and at the same time fully preserves the advertising surfaces on the side walls of the bottle carriers.
Bei der vorliegenden Erfindung geht es um die Lö sung des Problemes, die bisherigen Flaschenkästen für zwanzig Euro-Flaschen von einem Flaschendurchmesser 70,5 mm, bei denen die Flaschen in fünf Reihen zu je vier Flaschen angeordnet werden und die die Außenabmessungen 4oo mm x 33o mm haben, so zu gestalten, daß bei in geraden Reihen stehenden Flaschen die Außenmaße auf das Maß 400 mm x 3oo mm reduziert werden können, um diese Flaschenkästen unter Ausnutzung der genormten Palettenmaße dicht stapeln zu können.The present invention is about the solution to the problem, the previous bottle crates for twenty euro bottles of a
Dieses Problem zu lösen, ist von vielen Seiten versucht worden. Bisher sind jedoch alle Versuche, die Flaschen hierbei in geraden Reihen anzuordnen, fehlgeschlagen, weil die Längsseitenwände des Flaschenkastens allzu dünn ausgeführt werden mußten. Ein solcher Kasten läßt sich zwar konstruieren und auch herstellen, er überdauert aber nicht den rauhen Betrieb, dem die Flaschenkästen nicht nur in den Verpackunga- und Entpackungsmaschinen ausgesetzt sind, sondern auch beim Transport und bel der Lagerung in hohen Stapeln ausgesetzt sind. Die mangelnde Stabilität der sehr dünnen Längsseitenwände konnte auch nicht durch besondere Stabilisierungsmaßnahmen vermieden werden, die z.B. durch eine besondere Gestaltung der Unterteilungswände im Inneren des Flaschenkastens und besondere Konstruktionen zu dem Anknüpfen dieser Unterteilungswände an die Längsseitenwände vermieden werden. Deshalb wurden Flaschenkästen geschaffen, bei denen im Innenraum die Flascheneinstellplätze nicht in geraden Reihen angeordnet sind. Durch wabenförmige Unterteilungswände im Inneren des Flaschenkastens konnte zwar bei ausreichender Stabilität der Längsseitenwände das Breitenmaß von 3oo mm erreicht werden, diese Anordnung der Flascheneinstellplätze in nicht geraden Reihen hat aber den Nachteil, daß die Greiferköpfe in den Verpackungs- und Entpackungsmaschinen geändert werden müssen und dann Schwierigkeiten beim Ergreifen von in gradlinigen Reihen zu den Verpackungsmaschinen laufenden Flaschen auftreten.Many sides have attempted to solve this problem. So far, however, all attempts to arrange the bottles in straight rows have failed because the long side walls of the bottle crate had to be made too thin. Such a crate can be designed and also manufactured, but it does not outlast the rough operation that the bottles have boxes are not only exposed in the packaging and unpacking machines, but are also exposed during transport and storage in high stacks. The lack of stability of the very thin long side walls could not be avoided by special stabilization measures, which are avoided, for example, by a special design of the dividing walls inside the bottle crate and special constructions for connecting these dividing walls to the long side walls. For this reason, bottle crates were created in which the bottle storage spaces in the interior are not arranged in straight rows. With the honeycomb-shaped partition walls inside the bottle crate, the width dimension of 300 mm could be achieved with sufficient stability of the long side walls, but this arrangement of the bottle storage spaces in non-straight rows has the disadvantage that the gripper heads in the packaging and unpacking machines have to be changed and then difficulties occur when gripping bottles running in straight lines to the packaging machines.
Es ist die Aufgabe der Erfindung, einen Flaschenkasten zu schaffen, bei dem zumindest die in Reihen parallel zu den Stirnseitenwänden des Flaschenkastens stehenden Flaschen außerordentlich eng stehen, ohne daß sie sich gegenseitig berühren.It is the object of the invention to provide a bottle crate in which at least the bottles standing in rows parallel to the end walls of the bottle crate are extremely narrow without touching one another.
Die Erfindung löst diese Aufgabe ausgehend von einem Flaschenkasten der eingangs genannten Art dadurch, daß jede Säule drei Ecken aufweist, von denen zwei Ecken auf der der benachbarten Säule des Säulenpaares zugewandten Seite der Säule angeordnet sind, während die dritte Ecke auf einer gedachten Linie liegt, die senkrecht zu der Verbindungslinie der beiden anderen Ecken verläuft, daß jede Säule aus zwei stumpfwinklig geknickten Wandungen aufgebaut ist, die auf der dem Freiraum zwischen zwei Säulen eines Säulenpaares abgelegenen Seite spitzwinklig zusammenlaufen und daß jede Ecke mit einer senkrecht zum Kastenboden verlaufenden Wulst versehen ist.The invention solves this problem based on a bottle crate of the type mentioned in that each column has three corners, two corners of which are arranged on the side of the column facing the adjacent column of the column pair, while the third corner lies on an imaginary line which is perpendicular to the connecting line of the other two corners, that each column consists of two obtuse-angled walls are constructed, which converge at an acute angle on the side remote from the space between two columns of a pair of columns and that each corner is provided with a bead running perpendicular to the box bottom.
Wenn man Flaschen in Reihen, die parallel zu den Stirnseitenwänden eines Flaschenkastens verlaufen, sehr eng anordnen will, dann darf man keine Unterteilungswände im Inneren des Flaschenkastens haben, weil diese Unterteilungswände wegen des notwendigen Spieles zwischen ihnen und dem Flaschenumfang den dreifachen Zwischenraum benötigen, der zwischen zwei ohne Unterteilungswand stehenden Flaschen minimal erforderlich ist. Das erreicht die Erfindung durch den Aufbau der Säulen aus zwei stumpfwinklig geknickten Wandungen, wobei die Säulen überdies durch drei senkrecht zum Kastenboden verlaufende Wulste verstärkt sind. Durch diese besondere Form der Säulen gelingt es, den Abstand der einzelnen Flaschen wirksam auf nahezu o,5 mm zu reduzieren und diesen Abstand auch bei den dynamischen Belastungen während des Transportes einzuhalten. Die Flaschen stehen hierdurch außerordentlich eng, ohne sich zu berühren. Dabei ist der Vorteil erhalten geblieben, daß Flaschen sowohl einzeln als auch in Flaschenträgern mit beliebiger Reihenanzahl in den Flasohenkasten eingesetzt werden können.If you want to arrange bottles very closely in rows that run parallel to the end walls of a bottle crate, then you must not have partition walls inside the bottle crate, because these partition walls require three times the space between them because of the necessary play between them and the bottle circumference two bottles without a partition wall is minimally required. The invention achieves this by constructing the columns from two obtuse-angled walls, the columns also being reinforced by three beads running perpendicular to the bottom of the box. This special shape of the columns enables the distance between the individual bottles to be effectively reduced to almost 0.5 mm and this distance to be maintained even during dynamic loads during transport. As a result, the bottles are extremely tight without touching. The advantage has been preserved that bottles can be used both individually and in bottle carriers with any number of rows in the bottle box.
Für eine hohe Standfestigkeit der Flasehen, die unmittelbar vor den Stirnseitenwänden angeordnet sind, ist es besonders vorteilhaft, wenn vor jeder Stirnseitenwand eine Reihe von einzeln stehenden Säulen angeordnet ist, die mit den Reihen von Säulenpaaren im Inneren des Kastens fluchten und bei denen der Scheitel des winkelförmigen Querschnitts in das Kasteninnere gerichtet ist.For a high stability of the bottles, which are arranged directly in front of the end walls, it is particularly advantageous if a row of individually standing columns is arranged in front of each end wall, which are aligned with the rows of pairs of columns inside the box and where the apex of the angular cross-section is directed into the box interior.
Um den der Längsseitenwand benachbarten Flaschen eine gute Standfestigkeit zu geben, ist es zweckmäßig, wenn an jeder Längaseitenwand Rippenpaare angeordnet sind, deren von ihnen eingeschlossene Zwischenräume mit der Reihe von Zwischenräumen zwischen den Säulenpaaren fluchten.In order to give the bottles adjacent to the longitudinal side wall a good stability, it is expedient if pairs of ribs are arranged on each longitudinal side wall, the gaps of which they enclose align with the row of gaps between the pairs of columns.
Durch die Merkmale dieses Flaschenkastens wird es möglich, einen stabilen Kasten herzustellen, der allen üblichen Stabilitätsanforderungen an einen Flaschenkasten standhält und dessen Grundfläche doch nicht größer ist als 300 mm x 4oo mm, bei einer gradlinigen Anordnung der Reihen für 4 x 5 = Euro-flaschen von einem Flaschendurchmesser von 70,5 mm. Die Merkmale dieses Flaschenkastens können sogar zur Herstellung einer Flaschenverpackung benutzt werden, die es bei diesen engen Maßen erlaubt, die Flaschen nicht nur einzeln in den Flaschenkasten, sondern sogar in in den Flaschenkasten einsetzbaren, mindestens eine Reihe von Flaschen aufnehmenden Kartonverpackungen hineinzustellen, in deren Böden Löcher für den Durchtritt der säulenförmigen Abstandskörper vorgesehen sind. Diese Flaschenverpackung ist gekennzeichnet durch die Vereinigung folgender Merkmale:
- 1. In jeder parallel zu den Stirnseitenwänden verlaufenden Reihe von Flascheneinstellplätzen sind die Flascheneinstellplätze durch die säulenförmigen Abstandskörper mit einem Abstand von o,5 bis 1,5 mm angeordnet.
- 2. Jeder Abstandskörper besteht aus zwei um 180° zueinander verdrehten, mit Abstand voneinander stehenden, oben in dachförmige Flächen auslaufenden Säulen, die in gegenüberliegenden Zwickeln des Freiraumes zwischen je vier Flascheneinstellplätzen derart angeordnet sind, daß die Freiräume zwischen je zwei Säulen eines Säuleinpaares auf einer gedachten Linie liegen, die zwischen zwei Reihen von Flascheneinstellplätzen verläuft.
- 3. Jede Säule weist einen winkelförmigen T-förmigen oder Y-förmigen Querschnitt auf.
- 4. Jede Säule läuft seitlich im Querschnitt in drei Ecken aus, von denen zwei Ecken auf der der benachbarten Säule des Säulenpaares zugewandten Seite der Säule angeordnet sind, während die dritte Ecke auf einer gedachten Linie liegt, die senkrecht zu der Verbindungslinie der beiden anderen Ecken verläuft.
- 5. Vor jeder Stirnseitenwand ist eine Reihe von einzeln stehenden Säulen angeordnet, die mit den Reihen von Säulenpaaren im Inneren des Kastens fluchten.
- 6. Die Ecken des Flaschenkastens sind als Hohleoksäulen ausgebildet, deren durchgehende Innenwand in der Ecke benachbart zur Längsseitenwand angeordnete Flascheneinstellplätze teilweise umfaßt.
- 7. Jeder Flaschenträger aus Karton ist an seinen vertikalen Ecken zumindest im Bodenbereich abgerundet und weist Laschen auf, die die Eckflaschen bzw. Endflaschen an der Stirnseite des Trägers zumindest im Bodenbereich umfassen.
- 1. In each row of bottle storage spaces running parallel to the end walls, the bottle storage spaces are arranged at a distance of 0.5 to 1.5 mm by means of the columnar spacers.
- 2. Each spacer consists of two rotated by 18 0 ° to each other, spaced from each other, tapering into roof-shaped surfaces, which are arranged in opposite gaps of the free space between four bottle storage spaces so that the free spaces between two columns of a pair of columns an imaginary line that runs between two rows of bottle storage spaces.
- 3. Each column has an angular T-shaped or Y-shaped cross section.
- 4. Each column runs laterally in cross section into three corners, two corners of which are arranged on the side of the column facing the adjacent column of the pair of columns, while the third corner lies on an imaginary line which is perpendicular to the connecting line of the other two corners runs.
- 5. A row of individually standing columns is arranged in front of each end wall, which are aligned with the rows of column pairs inside the box.
- 6. The corners of the bottle crate are designed as hollow locomotive columns, the continuous inner wall of which in the corner, adjacent to the longitudinal side wall, partially includes bottle storage spaces.
- 7. Each bottle carrier made of cardboard is rounded at least in the bottom region at its vertical corners and has tabs which comprise the corner bottles or end bottles on the front side of the carrier at least in the bottom region.
Diese Flaschenverpackung zeichnet sich dadurch aus, daß, ohne daß die einzelnen Flaschen sich während des Transportes in Kartonverpackung noch während des Transportes als Einzelflaschen berühren, die genannten Außenabmessungen von 3oo mm x 4oo mm bei voller Stabilität des Flaschenkastens eingehalten werden können.This bottle packaging is characterized in that the individual external dimensions of 3oo mm x 4oo mm can be maintained with full stability of the bottle crate, without the individual bottles touching during transport in cardboard packaging as individual bottles during transport.
Der Flaschenkasten dieser Flaschenverpackung erhält seine hohe Stabilität sehr weitgehend über die Ecksäulen. Deshalb ist es zweckmäßig, wenn die Ecksäulen des Flaschenkastens über die Oberkante der Seitenwände nach oben hinausstehen und / oder über die Unterkante der Seitenwände und des Bodens nach unten hinausstehen. Denn dann werden die Belastungen allein über die Ecksäulen nach unten hin abgeleitet.The bottle crate of this bottle packaging receives its high stability to a large extent via the corner pillars. It is therefore expedient if the corner pillars of the bottle crate protrude upwards over the upper edge of the side walls and / or protrude downwards over the lower edge of the side walls and the bottom. Because then the loads are diverted downwards through the corner pillars alone.
Um dieses Übereinanderstapeln der Flaschenkästen zu erleichtern und um dafür Sorge zu tragen, daß die Flaschenkästen eines Stapels sich nicht gegeneinander verschieben können, ist es zweckmäßig, wenn die Ecksäulen nach oben hin durch einen nach innen gerichteten Absatz von der Wandstärke der Ecksäulen, die in eine quer verlaufende Platte übergeht, geschlossen sind.In order to facilitate this stacking of the bottle crates and to ensure that the bottle crates of a stack cannot move against each other, it is expedient if the corner pillars are directed upwards by an inwardly directed heel of the wall thickness of the corner pillars, which are in a transverse plate merges, are closed.
Wenn die Abstandssäulen winkelförmigen Querschnitt aufweisen, ist es zweckmäßig, wenn jede im Querschnitt winkelförmige Säule aus zwei stumpfwinklig geknickten Wandungen aufgebaut ist, die auf der dem Freiraum zwischen zwei Säulen eines Säulenpaares abgelegenen Seite spitzwinklig zusammenlaufen. Hierdurch erhalten diese Säulen eine vorzügliche Stabilität gegen vertikale Belastungen.If the spacer columns are angular in cross section have, it is expedient if each pillar angular in cross section is constructed from two obtuse-angled walls which converge at an acute angle on the side remote from the space between two pillars of a pair of pillars. This gives these columns excellent stability against vertical loads.
Vorteilhaft ist es, wenn im Flaschenkasten an jeder Längsaeitenwand zwei Rippenpaare angeordnet sind, deren von ihnen eingeschlossene Zwischenräume mit der Reihe von Zwischenräumen zwischen den Säulenpaaren fluchten. Diese Rippen geben gleichzeitig den Längsseitenwänden Stabilität und den Flaschen Führung und Standsicherheit.It is advantageous if two pairs of ribs are arranged in the bottle crate on each long side wall, the gaps between them being aligned with the row of gaps between the pairs of columns. These ribs give the long side walls stability and the bottles guidance and stability at the same time.
Das Wesen der Erfindung ist nachstehend anhand eines in der Zeichnung schematisch dargestellten Ausführungsbeispieles näher erläutert. Es zeigen:
- Fig. 1 eine Ansicht des Flaschenkastens von oben,
- Fig. 2 einen Querschnitt durch Abstandskörper längs der Linie II-II,
- Fig. 3 eine Ansicht eines Abstandskörpers entsprechend einem Querschnitt längs der Linie III-III,
- Fig. 4 eine Ansicht einer Säule eines Abstandekörpers entsprechend einem Querschnitt IV-IV,
- Fig. 5 eine Ansicht von oben auf ein Viertel eines Flaschenkastens,
- Fig. 6 eine Ansicht von unten auf ein Viertel des Bodens eines Flaschenkastens,
- Fig. 7 einen Querschnitt durch ein Viertel eines Flaschenkastens oberhalb des Flaschenkastenbodens,
- Fig. 8 eine Ansicht eines einreihigen Flaschenträgere,
- Fig. 9 eine Ansicht des Bodenteiles des Kartonzuschnittes dieses Flaschenträgers,
- Fig. lo eine Ansicht eines zweireihigen Flaschenträgers,
- Fig. 11 eine Ansicht des Bodenteiles des Kartonzuschnittes des Flaschenträgers,
- Fig. 12 eine Seitenansicht des Flaschenkastens der Fig. l.
- 1 is a top view of the bottle crate,
- 2 shows a cross section through spacers along the line II-II,
- 3 is a view of a spacer corresponding to a cross section along the line III-III,
- 4 is a view of a column of a spacer according to a cross section IV-IV,
- 5 is a top view of a quarter of a bottle crate,
- 6 is a bottom view of a quarter of the bottom of a bottle crate,
- 7 shows a cross section through a quarter of a bottle crate above the bottle crate bottom,
- 8 is a view of a single-row bottle carrier,
- 9 is a view of the bottom part of the cardboard blank of this bottle carrier,
- Lo is a view of a two-row bottle carrier,
- 11 is a view of the bottom part of the carton blank of the bottle carrier,
- 12 is a side view of the bottle crate of FIG. L.
Der Flaschenkasten weist Stirnseitenwände 1 und Längsseitenwände 2 auf, sowie einen Boden, der aus kreisringförmigen Stegen 3 und gradlinigen Stegen 4 gebildet ist. Die kreisringförmigen Stege 3 sind durch die einzelnen geraden Stegstücke 4 verbunden, weitere gradlinige Stegstücke 4 verbinden kreisringförmige Stegstücke mit den Längsseitenwänden 2. An die Stirnseitenwände 1 schließen halbkreisförmige Stegstücke 31 an. Die ringförmigen und kreisringförmigen Stegstücke 3, 31 tragen die Abstandskörper in Form der Säulen 5. Diese Säulen 5 sind paarweise angeordnet und schließen zwischen sich einen freien Zwischenraum 6 ein, der dann, wenn in den Flaschenkasten in Flaschenträger verpackte Flaschen eingesetzt werden, die Seitenwände der Flaschenträger aufnehmen kann. Die beiden Säulen 5 gehen an ihrem unteren Ende durch horizontal verlaufende Flächenstücke 7 unmittelbar in den Ringsteg 3 über. Entsprechend sind die einzelnen Säulen 5 auf den Halbkreisstegen 31 vor den Stirnseiten 1 des Flaschenkastens mit einem Abstand 61 angeordnet, damit in diesem Zwischenraum 61 zwischen der Innenseite der Stirnwandung 1 und der nach außen gerichteten Seite der Säule 5 ein ausreichender Zwischenraum für die Aufnahme der Seitenwand eines Flaschenträgers geschaffen ist.The bottle crate has
Um dem Flaschenkasten eine ausreichende Stabilität zu geben, sind insbesondere die Ecken sehr stark ausgeführt. Dies ist dadurch erfolgt, daß der in der Ecke befindliche Flaschenkasten nach außen von einer doppelwandigen Ecksäule umgeben ist, die aus der Innenwand 8 und der Außenwand 9 gebildet ist und einen Hohlraum umschließt, der aus den beiden Teilen lol, lo2 gebildet ist, die miteinander zusammenhängen können, von denen der Teil lol unmittelbar in der Ecke liegt, während der Hohlraum lo2 sich in den Zwickel zwischen den beiden in der Ecke an der Längsseitenwand stehenden Flaschen erstreckt. Die Innenwandung 8 schmiegt sich dabei an die gestrichelt dargestellten Flascheneinstellplätze lo an.In order to give the bottle crate sufficient stability, the corners in particular are made very strong. This is done in that the bottle crate located in the corner is surrounded on the outside by a double-walled corner column which is formed from the
In der Fluchtlinie 11 der Zwischenräume 6 zwischen jedem Paar von Säulen 5 befindet sich an der Längsseitenwand der Zwischenraum zwischen zwei in Schrägstellung an der Längsseitenwand angeformten Rippen 12, die in einem vertikal verlaufenden Wulst 13 auslaufen.In the line of
Jede Säule 5 ist aus zwei stumpfwinklig nach innen geknickten Wandungen 14 aufgebaut, die auf der dem Freiraum 6 zwischen zwei Säulen 5 abgelegenen Seite spitzwinklig zusammenlaufen und hier an dieser, eine Ecke der Säule bildenden Stelle mit einer Wulst 15 versehen sind. Die beiden anderen freien Enden der stumpfwinklig geknickten Wandungen 14 sind ebenfalls mit je einem Wulst 16 versehen. In den Wandungen 14 befindet sich eine schmale längliche Ausnehmung, die der Gewichtsersparnis dient.Each
Jeder Flaschenträger 18 weist in seinem Boden Öffnungen 19 für den Durchtritt der Säulen 5 beim Einstellen in den Flaschenkasten auf. An den Stirnseiten des Bodens sind Laschen 2o angebracht, die nach dem Aufstellen der Flaschen auf den Boden nach oben geschlagen und an den zylindrischen Teil der Flaschenwandung angedrückt werden, bevor die Seitenwände nach oben geschlagen werden. Dadurch sind die Ecken des Flaschenträgers etwas abgerundet, so daß derartige Flaschenträger gut in den hier in der Zeichnung dargestellten Flaschenkasten eingesetzt werden können.Each
In Fig. 12 ist eine Seitenansicht des Flaschenkastens gezeigt. Hier sieht man, daß die Längsseitenwandflächen 2 im Bereich der Ecksäulen jeweils nach oben über die Oberkante 22 der Längsseitenwand 2 eine Erweiterung nach oben aufweisen, die in einem Absatz 23 endet, welcher zur Zentrierung eines darüber gestapelten Flaschenkastens dient. Der Absatz 23 ist oben durch eine horizontale Platte verschlossen. Dieser Absatz 23 und die an ihn anschließende horizontale Platte treten in die Ecksäule des darüber gestapelten Flaschenkastens von unten her ein. Mit 24 ist ein Handgriffloch in der Seitenwand 2 bezeichnet.A side view of the bottle crate is shown in FIG. It can be seen here that the longitudinal side wall surfaces 2 in the area of the corner pillars each have an upward extension above the
Claims (10)
dadurch gekennzeichnet,
daß jede Säule (5) drei Ecken aufweist, von denen zwei Ecken auf der der benachbarten Säule (5) des Säulenpaares zugewandten Seite der Säule (5) angeordnet sind, während die dritte Ecke auf einer gedachten Linie (22) liegt, die senkrecht zu der Verbindungslinie der beiden anderen Ecken verläuft, daß jede Säule aus zwei stumpfwinklig geknickten Wandungen (14) aufgebaut ist, die auf der dem Freiraum (6) zwischen zwei Säulen (5) eines Säulenpaares abgelegenen Seite spitzwinklig zusammenlaufen und daß jede Ecke mit einer senkrecht zum Kastenboden verlaufenden Wulst (15, 16) versehen ist.1.Bottle case made of plastic, in the interior of which there are free partition walls, bottle storage spaces are formed by spacers attached to the bottom of the bottle crate and extending perpendicularly to it and arranged in free spaces between the bottles, each of which is made up of two identical, spaced from one another by 18 0 0 , there are columns that run out into roof-shaped surfaces at the top, which are arranged in opposite gaps of the free space between four + bottles each such that the free spaces between two columns of a pair of columns lie on an imaginary straight line that runs between two rows of bottle storage spaces,
characterized,
that each column (5) has three corners, two corners of which are arranged on the side of the column (5) facing the adjacent column (5) of the column pair, while the third corner lies on an imaginary line (22) which is perpendicular to the connecting line of the other two corners runs that each column is made up of two obtuse-angled walls (14) which converge at an acute angle on the side remote from the free space (6) between two columns (5) of a pair of columns and that each corner has a perpendicular to it Box bottom extending bead (15, 16) is provided.
dadurch gekennzeichnet,
daß in mindestens einer Wandung (14) der Säule (5) eine schmale, längliche Ausnehmung (21) vorgesehen ist.2. Bottle crate according to claim 1,
characterized,
d ate a narrow, elongated recess (21) is provided in at least one wall (14) of the column (5).
dadurch gekennzeichnet,
daß vor jeder Stirnseitenwand (1) eine Reihe von einzeln stehenden Säulen (5) angeordnet ist, die mit den Reihen von Säulenpaaren (5) im Inneren des Kastens fluchten.3. Bottle crate according to claim 1,
characterized,
that in front of each end wall (1) a row of individually standing columns (5) is arranged, which are aligned with the rows of pairs of columns (5) inside the box.
dadurch gekennzeichnet,
daß an jeder Längsseitenwand (2) Rippenpaare (12) angeordnet sind, deren von ihnen eingeschlosaene Zwischenräume mit der Reihe von Zwischenräumen (6) zwischen den Säulenpaaren (5) fluchtet.4. Bottle crate according to claim 1,
characterized,
that pairs of ribs (12) are arranged on each longitudinal side wall (2), the gaps of which they enclose are aligned with the row of gaps (6) between the pairs of columns (5).
die Vereinigung folgender Merkmale:
the combination of the following features:
dadurch gekennzeichnet,
daß die Ecksäulen des Flaschenkastens über die Oberkante der Seitenwände (1, 2) nach oben hinausstehen und/oder über die Unterkante der Seitenwände und des Bodens nach unten hinausstehen.6. bottle packaging according to claim 5,
characterized,
that the corner pillars of the bottle crate protrude upwards over the upper edge of the side walls (1, 2) and / or protrude downwards over the lower edge of the side walls and the bottom.
dadurch gekennzeichnet,
daß die Ecksäulen nach oben hin durch einen nach innen gerichteten Absatz von der Wandstärke der Ecksäulen, die in eine quer verlaufende Platte übergeht, geschlossen sind.7. bottle packaging according to claim 5,
characterized,
that the corner pillars are closed at the top by an inward shoulder from the wall thickness of the corner pillars, which merges into a transverse plate.
dadurch gekennzeichnet,
daß jede im Querschnitt winkelförmige Säule (5) aus zwei stumpfwinklig geknickten Wandungen (14) aufgebaut ist, die auf der dem Freiraum (6) zwischen zwei Säulen (5) eines Säulenpaares abgelegenen Seite spitzwinklig zusammenlaufen.8. bottle packaging according to claim 5,
characterized,
that each cross-sectionally angular column (5) is constructed from two obtuse-angled walls (14) which converge at an acute angle on the side remote from the free space (6) between two columns (5) of a pair of columns.
dadurch gekennzeichnet,
daß in mindestens einer Wandung (14) der Säule (5) eine schmale längliche Ausnehmung (17) vorgesehen ist.9. bottle packaging according to claim 5,
characterized,
that a narrow elongated recess (17) is provided in at least one wall (14) of the column (5).
dadurch gekennzeichnet,
daß an jeder Längsseitenwand (2) zwei Rippenpaare (12) angeordnet sind, deren von ihnen eingeschlossene Zwischenräume mit der Reihe von Zwischenräumen (6) zwischen den Säulenpaaren (5) fluohten.lo. Bottle packaging according to claim 5,
characterized,
that on each longitudinal side wall (2) two pairs of ribs (12) are arranged, the spaces between them enclosed with the row of spaces (6) between the pairs of columns (5).
Priority Applications (1)
| Application Number | Priority Date | Filing Date | Title |
|---|---|---|---|
| AT83104202T ATE20717T1 (en) | 1982-05-13 | 1983-04-29 | PLASTIC BOTTLE CASE AND BOTTLE PACKAGING MADE WITH PLASTIC. |
Applications Claiming Priority (4)
| Application Number | Priority Date | Filing Date | Title |
|---|---|---|---|
| DE3218075A DE3218075A1 (en) | 1982-05-13 | 1982-05-13 | BOTTLE BOX MADE OF PLASTIC AND BOTTLE PACKAGING PRODUCED WITH THIS |
| DE8213952U | 1982-05-13 | ||
| DE8213952 | 1982-05-13 | ||
| DE3218075 | 1982-05-13 |
Publications (3)
| Publication Number | Publication Date |
|---|---|
| EP0094530A2 true EP0094530A2 (en) | 1983-11-23 |
| EP0094530A3 EP0094530A3 (en) | 1984-12-05 |
| EP0094530B1 EP0094530B1 (en) | 1986-07-16 |
Family
ID=25801798
Family Applications (1)
| Application Number | Title | Priority Date | Filing Date |
|---|---|---|---|
| EP83104202A Expired EP0094530B1 (en) | 1982-05-13 | 1983-04-29 | Plastic bottle case and bottle packaging obtained with this case |
Country Status (2)
| Country | Link |
|---|---|
| EP (1) | EP0094530B1 (en) |
| DE (1) | DE3364502D1 (en) |
Cited By (5)
| Publication number | Priority date | Publication date | Assignee | Title |
|---|---|---|---|---|
| BE1006197A3 (en) * | 1992-09-07 | 1994-06-07 | D W Plastics Nv | Plastic crate with spacer pins |
| NL9400583A (en) * | 1994-04-13 | 1995-11-01 | Carlsberg As | Crate with half-timbering. |
| EP0714833A1 (en) * | 1994-12-01 | 1996-06-05 | The Coca-Cola Company | Container for bottles or cans |
| EP3428082A1 (en) * | 2017-07-11 | 2019-01-16 | Schoeller Allibert GmbH | Bottle crate for both single bottles and multi-bottle packs and similar containers |
| EP4198822A1 (en) * | 2021-12-14 | 2023-06-21 | Krones AG | Beverage crate with centring function for bottles and additional recess for serialisation application |
Family Cites Families (3)
| Publication number | Priority date | Publication date | Assignee | Title |
|---|---|---|---|---|
| DE2624890A1 (en) * | 1976-06-03 | 1977-12-15 | Stucki Kunststoffwerk | Plastics bottle transport crate - has lower protrusions inside pressing bottles against distance pieces and supporting enclosing cartons |
| CA1106328A (en) * | 1978-10-31 | 1981-08-04 | Rudolf Steinlein | Molded case for returnable beverage bottles |
| DE2914993C2 (en) * | 1979-04-12 | 1982-08-05 | Spumalit-Anstalt, 9494 Schaan | Bottle packaging |
-
1983
- 1983-04-29 EP EP83104202A patent/EP0094530B1/en not_active Expired
- 1983-04-29 DE DE8383104202T patent/DE3364502D1/en not_active Expired
Cited By (7)
| Publication number | Priority date | Publication date | Assignee | Title |
|---|---|---|---|---|
| BE1006197A3 (en) * | 1992-09-07 | 1994-06-07 | D W Plastics Nv | Plastic crate with spacer pins |
| NL9400583A (en) * | 1994-04-13 | 1995-11-01 | Carlsberg As | Crate with half-timbering. |
| EP0714833A1 (en) * | 1994-12-01 | 1996-06-05 | The Coca-Cola Company | Container for bottles or cans |
| WO1996016869A1 (en) * | 1994-12-01 | 1996-06-06 | The Coca-Cola Company | Container for bottles or cans |
| EP3428082A1 (en) * | 2017-07-11 | 2019-01-16 | Schoeller Allibert GmbH | Bottle crate for both single bottles and multi-bottle packs and similar containers |
| EP4198822A1 (en) * | 2021-12-14 | 2023-06-21 | Krones AG | Beverage crate with centring function for bottles and additional recess for serialisation application |
| US12139344B2 (en) | 2021-12-14 | 2024-11-12 | Krones Ag | Beverage crate with centring function for bottles and additional recess for serialisation application |
Also Published As
| Publication number | Publication date |
|---|---|
| EP0094530B1 (en) | 1986-07-16 |
| EP0094530A3 (en) | 1984-12-05 |
| DE3364502D1 (en) | 1986-08-21 |
Similar Documents
| Publication | Publication Date | Title |
|---|---|---|
| DE3218075A1 (en) | BOTTLE BOX MADE OF PLASTIC AND BOTTLE PACKAGING PRODUCED WITH THIS | |
| DE2312871C3 (en) | Plastic crates, especially for bottles | |
| EP3636559B1 (en) | Stackable box | |
| DE2547830C2 (en) | Plastic bottle crate | |
| DE1611970B1 (en) | Egg-shaped box | |
| EP0094530B1 (en) | Plastic bottle case and bottle packaging obtained with this case | |
| DE2357979B2 (en) | Bottle packaging | |
| DE2914993C2 (en) | Bottle packaging | |
| DE2813364A1 (en) | Double skinned plastics bottle case - has flat outer walls joined to inner ones partly enclosing bottle positions | |
| DE19530156C2 (en) | egg carton | |
| DE1199687B (en) | Transport or storage container | |
| DE2945112C2 (en) | Plastic bottle crate | |
| EP0979198A1 (en) | Plastic storage and transport container | |
| EP0539689B1 (en) | Crate | |
| CH616630A5 (en) | Transport box made of plastic | |
| DE3405564C2 (en) | Transport device | |
| DE1586174A1 (en) | Packing grate for packaging machines | |
| DE8113717U1 (en) | Square bottle bottle made of plastic | |
| DE2915981C2 (en) | ||
| DE102007008432B3 (en) | Bottle package, has plastic transport case with inner walls comprising linear bottle compartments, and carton box with slots extending from longitudinal edges of base to base width, such that base center is unaffected | |
| DE2635754C2 (en) | Plastic bottle crate | |
| EP1110875A2 (en) | Transport system with bottle carriers | |
| DE3014239C2 (en) | Bottle crate | |
| DE9113502U1 (en) | Transport box | |
| DE7910712U1 (en) | Bottle packaging |
Legal Events
| Date | Code | Title | Description |
|---|---|---|---|
| PUAI | Public reference made under article 153(3) epc to a published international application that has entered the european phase |
Free format text: ORIGINAL CODE: 0009012 |
|
| AK | Designated contracting states |
Designated state(s): AT BE DE FR NL |
|
| PUAL | Search report despatched |
Free format text: ORIGINAL CODE: 0009013 |
|
| AK | Designated contracting states |
Designated state(s): AT BE DE FR NL |
|
| 17P | Request for examination filed |
Effective date: 19850227 |
|
| GRAA | (expected) grant |
Free format text: ORIGINAL CODE: 0009210 |
|
| AK | Designated contracting states |
Kind code of ref document: B1 Designated state(s): AT BE DE FR NL |
|
| REF | Corresponds to: |
Ref document number: 20717 Country of ref document: AT Date of ref document: 19860815 Kind code of ref document: T |
|
| REF | Corresponds to: |
Ref document number: 3364502 Country of ref document: DE Date of ref document: 19860821 |
|
| ET | Fr: translation filed | ||
| NLS | Nl: assignments of ep-patents |
Owner name: STUCKI KUNSTSTOFFWERK UND WERKZEUGBAU GMBH TE BAD |
|
| BECA | Be: change of holder's address |
Free format text: 860716 *STUCKI KUNSTSTOFFWERK UND WERZEUGBAU G.M.B.H.SCHOTMARSCHE STRASSE, 4902 BAD SALZUFLEN |
|
| BECH | Be: change of holder |
Free format text: 860716 *STUCKI KUNSTSTOFFWERK UND WERZEUGBAU G.M.B.H. |
|
| PLBE | No opposition filed within time limit |
Free format text: ORIGINAL CODE: 0009261 |
|
| STAA | Information on the status of an ep patent application or granted ep patent |
Free format text: STATUS: NO OPPOSITION FILED WITHIN TIME LIMIT |
|
| 26N | No opposition filed | ||
| REG | Reference to a national code |
Ref country code: FR Ref legal event code: TP |
|
| PGFP | Annual fee paid to national office [announced via postgrant information from national office to epo] |
Ref country code: BE Payment date: 19920116 Year of fee payment: 10 |
|
| PGFP | Annual fee paid to national office [announced via postgrant information from national office to epo] |
Ref country code: FR Payment date: 19920327 Year of fee payment: 10 |
|
| PGFP | Annual fee paid to national office [announced via postgrant information from national office to epo] |
Ref country code: AT Payment date: 19920415 Year of fee payment: 10 |
|
| PGFP | Annual fee paid to national office [announced via postgrant information from national office to epo] |
Ref country code: DE Payment date: 19920423 Year of fee payment: 10 |
|
| PGFP | Annual fee paid to national office [announced via postgrant information from national office to epo] |
Ref country code: NL Payment date: 19920430 Year of fee payment: 10 |
|
| PG25 | Lapsed in a contracting state [announced via postgrant information from national office to epo] |
Ref country code: AT Effective date: 19930429 |
|
| PG25 | Lapsed in a contracting state [announced via postgrant information from national office to epo] |
Ref country code: BE Effective date: 19930430 |
|
| BERE | Be: lapsed |
Owner name: STUCKI KUNSTSTOFFWERK UND WERZEUGBAU G.M.B.H. Effective date: 19930430 |
|
| PG25 | Lapsed in a contracting state [announced via postgrant information from national office to epo] |
Ref country code: NL Effective date: 19931101 |
|
| NLV4 | Nl: lapsed or anulled due to non-payment of the annual fee | ||
| PG25 | Lapsed in a contracting state [announced via postgrant information from national office to epo] |
Ref country code: FR Effective date: 19931229 |
|
| PG25 | Lapsed in a contracting state [announced via postgrant information from national office to epo] |
Ref country code: DE Effective date: 19940101 |
|
| REG | Reference to a national code |
Ref country code: FR Ref legal event code: ST |
