EP0081397B1 - Capot de distribution pour récipient pressurisé - Google Patents
Capot de distribution pour récipient pressurisé Download PDFInfo
- Publication number
- EP0081397B1 EP0081397B1 EP82401958A EP82401958A EP0081397B1 EP 0081397 B1 EP0081397 B1 EP 0081397B1 EP 82401958 A EP82401958 A EP 82401958A EP 82401958 A EP82401958 A EP 82401958A EP 0081397 B1 EP0081397 B1 EP 0081397B1
- Authority
- EP
- European Patent Office
- Prior art keywords
- cap
- strip
- fold over
- cut
- panel
- Prior art date
- Legal status (The legal status is an assumption and is not a legal conclusion. Google has not performed a legal analysis and makes no representation as to the accuracy of the status listed.)
- Expired
Links
Images
Classifications
-
- B—PERFORMING OPERATIONS; TRANSPORTING
- B65—CONVEYING; PACKING; STORING; HANDLING THIN OR FILAMENTARY MATERIAL
- B65D—CONTAINERS FOR STORAGE OR TRANSPORT OF ARTICLES OR MATERIALS, e.g. BAGS, BARRELS, BOTTLES, BOXES, CANS, CARTONS, CRATES, DRUMS, JARS, TANKS, HOPPERS, FORWARDING CONTAINERS; ACCESSORIES, CLOSURES, OR FITTINGS THEREFOR; PACKAGING ELEMENTS; PACKAGES
- B65D83/00—Containers or packages with special means for dispensing contents
- B65D83/14—Containers for dispensing liquid or semi-liquid contents by internal gaseous pressure, i.e. aerosol containers comprising propellant
- B65D83/16—Actuating means
- B65D83/20—Actuator caps
-
- B—PERFORMING OPERATIONS; TRANSPORTING
- B65—CONVEYING; PACKING; STORING; HANDLING THIN OR FILAMENTARY MATERIAL
- B65D—CONTAINERS FOR STORAGE OR TRANSPORT OF ARTICLES OR MATERIALS, e.g. BAGS, BARRELS, BOTTLES, BOXES, CANS, CARTONS, CRATES, DRUMS, JARS, TANKS, HOPPERS, FORWARDING CONTAINERS; ACCESSORIES, CLOSURES, OR FITTINGS THEREFOR; PACKAGING ELEMENTS; PACKAGES
- B65D83/00—Containers or packages with special means for dispensing contents
- B65D83/14—Containers for dispensing liquid or semi-liquid contents by internal gaseous pressure, i.e. aerosol containers comprising propellant
- B65D83/16—Actuating means
- B65D83/22—Actuating means with means to disable actuation
- B65D83/224—Tamper-indicating means obstructing initial actuation
- B65D83/226—Tamper-indicating means obstructing initial actuation preventing initial depression of the actuator
Definitions
- the present invention relates to a dispensing cover for pressurized containers such as containers of the “aerosol can” type, cover of the kind of those which include an upper wall surrounded by a side wall and internally containing a push button whose face upper is located a short distance below said upper wall, a tamper-evident plate having a flat part disposed above the push-button and joined to the upper wall of the cover by fracturable connections, said tamper-evident plate further having, at one end of the flat part close to the side wall of the cover, a return disposed in the extension of said side wall, gripping means making it possible to tear off said plate to free access to the push button being provided at said end provided with the return.
- the invention may be particularly suitable for molded distribution covers of the type comprising a cover body, in which is fitted a sleeve carrying a push button on the sleeve, the sleeve coming to bear substantially on an element of the pressurized container, such as , for example, an edge set with a valve holder cup, the cover body carrying at its upper part said tamper-proof plate and comprising, in a side wall, a window made in line with the push button ejection nozzle .
- the invention can also be applied to other types of covers in which the push button is contained inside the cover, access to the push button being impossible as long as a tamper-evident plate map and initially attached to the cover has not been torn off.
- US-A-3,544,023 shows a cover for a pressurized container provided with a sort of tab enabling this cover to be removed from the container.
- a cutout defines a tongue in the side wall of the cover so as to allow the user to insert his finger to elastically deform the tongue outwards and to tear the side wall of the cover. The latter is then removed from the container.
- the present invention proposes to remedy the drawbacks mentioned above and to provide a dispensing cover for a pressurized container, of the type defined above, which makes it possible to contain a push button of maximum length without increasing the cost of molding.
- the cover allows easy gripping of the tamper-evident plate without having any relief capable of causing untimely, partial or total tearing of the tamper-evident plate.
- a dispensing cover for a pressurized container is characterized in that the return is provided with fracturable connections with the side wall and is intended to be torn at the same time as the flat part of the plate, and by the fact that the gripping means comprise a cutout provided in the return for determining therein a panel capable of tilting, the upper edge of the panel being located at a level lower than the internal underside of the flat part of the plate so that the panel, when it is at least partially erased, allows access to the edge of the flat part of the plate for tearing off said plate.
- the panel can be tilted, under the push of a finger, towards the inside of the cover to allow gripping the corresponding cutting edge of the flat part of the plate facing the panel.
- said cutout may comprise a substantially horizontal part located at the level of the geometric connection zone between the upper surface of the cover and the face of its side wall; this cutting part is extended in the return by two descending branches to form, in said return, the deformable panel which can disappear under the underside of the upper wall of the cover and allow the gripping of the overlying edge of the flat part of the plaque.
- said overlying edge of the plate is preferably slightly offset towards the axis of the cover, this in order to be able to mold the assembly without requiring a drawer.
- the cutting is advantageously carried out in a portion of the plate equidistant from its two edges but it could also, as a variant, extend the cutting to one of said edges so that said edge also serves as a cutting part allowing the tilting of the sign.
- the tilting movement of the panel is preferably carried out, as mentioned above, inwards.
- the return being disposed at the same level as the side wall of the cover, there is in the diametrical direction a maximum length inside the cover for housing the push button, the rear end of which, intended to be actuated by the user, can be located a short distance from the side wall and the return.
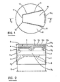
- the cover according to the invention has a generally cylindrical shape with a side wall 1 and an upper wall 2.
- the side wall 1 has at one end a window 3 located opposite the ejection nozzle 4 of the button -pusher 5 mounted tilting in the cover 1.
- the side wall of the cover 1 has an internal relief 6 allowing the coupling inside the cover of a sleeve 7, which is not shown in section in FIG. 2, said sleeve being able for example to have a form of diabolo for, on the one hand, coming into contact with the internal face of the wall 1 at the level of the window 3 and of the part of the cover diametrically opposite to the window 3, while in the most constricted zone of the diabolo, the lower edge 7b of the sleeve, can come to bear against the crimped edge 8 of a valve-holder cup of the container 9 shown in broken lines.
- the push button 5 In the sleeve is articulated, preferably by a film hinge molded integrally with the sleeve, the push button 5 at its anterior end 5a. It is therefore understood that by pressing the rear part 5b of the push button, it is possible to switch the push button 5 and, by the downward movement of its central part 5c, cause the valve to open (not shown) of the container and spraying through the nozzle 4.
- the upper face 2 of the cover has a tearable tamper-evident wall 10 having a substantially trapezoidal shape and separates from the wall 2 proper by a continuous slot 11 with, from place to place, tearable or fracturable connecting fasteners 12.
- the tamper-evident plate 10 continues, flush with the side wall 1, by a right angle return 13 of cylindrical shape. This return 13, which is intended to be torn and removed at the same time as the planar part of the plate 10, closes a window made in the side wall 1 and diametrically opposite the window 3.
- a cutout 14 having substantially a U-shape with a curved horizontal branch 14a and two straight vertical branches 14b.
- This cutout determines in the return 13 a panel 15 5 which it is understood that it can be pressed elastically towards the inside of the cover by the user.
- the upper edge 15a of the panel 15 which delimits the part 14a of the cutout is disposed at a level slightly lower than the inner face 10b of the plate 10.
- the edge 10a of the cutout at the part of the plate 10 is slightly offset towards the center by a sufficient distance to allow easy demoulding of the mold allowing the injection of the upper part of the cover in an upward vertical direction.
- the push-button in its part 5b, has a return 5d located at a short distance from the panel 15. It is thus possible to give the push-button a diametral length as high as possible taking into account the dimensioning of the cover.
- the operator begins by pressing on the upper part of the panel 15 so as to tilt this panel slightly inward until the end of the operator's finger reaches under the edge 1 Oa, which then allows it to lift and tear off the plate 10 which comes with its return 13.
- cutout instead of being disposed centrally, could be arranged laterally so that one of the branches 14b is in fact constituted by the vertical part of the slot 11 between the plate 10 and the rest of hood.
Landscapes
- Chemical & Material Sciences (AREA)
- Dispersion Chemistry (AREA)
- Engineering & Computer Science (AREA)
- Mechanical Engineering (AREA)
- Containers And Packaging Bodies Having A Special Means To Remove Contents (AREA)
- Closures For Containers (AREA)
- Nozzles (AREA)
- Table Devices Or Equipment (AREA)
Priority Applications (1)
| Application Number | Priority Date | Filing Date | Title |
|---|---|---|---|
| AT82401958T ATE17337T1 (de) | 1981-12-03 | 1982-10-25 | Abgabekappe fuer unter druck stehende behaelter. |
Applications Claiming Priority (2)
| Application Number | Priority Date | Filing Date | Title |
|---|---|---|---|
| FR8122649 | 1981-12-03 | ||
| FR8122649A FR2517640A1 (fr) | 1981-12-03 | 1981-12-03 | Capot de distribution pour recipient pressurise |
Publications (2)
| Publication Number | Publication Date |
|---|---|
| EP0081397A1 EP0081397A1 (fr) | 1983-06-15 |
| EP0081397B1 true EP0081397B1 (fr) | 1986-01-08 |
Family
ID=9264639
Family Applications (1)
| Application Number | Title | Priority Date | Filing Date |
|---|---|---|---|
| EP82401958A Expired EP0081397B1 (fr) | 1981-12-03 | 1982-10-25 | Capot de distribution pour récipient pressurisé |
Country Status (11)
| Country | Link |
|---|---|
| US (1) | US4482082A (enExample) |
| EP (1) | EP0081397B1 (enExample) |
| JP (1) | JPS58109154A (enExample) |
| AR (1) | AR229444A1 (enExample) |
| AT (1) | ATE17337T1 (enExample) |
| BR (1) | BR8206966A (enExample) |
| CA (1) | CA1195959A (enExample) |
| DE (2) | DE3268448D1 (enExample) |
| ES (1) | ES268743Y (enExample) |
| FR (1) | FR2517640A1 (enExample) |
| MX (1) | MX157852A (enExample) |
Families Citing this family (14)
| Publication number | Priority date | Publication date | Assignee | Title |
|---|---|---|---|---|
| US5027982A (en) * | 1990-03-29 | 1991-07-02 | S. C. Johnson & Son, Inc. | Aerosol actuator and overcap assembly |
| FR2690419A1 (fr) * | 1992-04-23 | 1993-10-29 | Emballages Conseils Etudes | Capsule distributrice pour produits liquides ou pâteux. |
| US5839623A (en) * | 1996-07-29 | 1998-11-24 | Pure Vision International, L.L.P. | Reusable pressure spray container |
| US5762322A (en) * | 1996-09-13 | 1998-06-09 | Summit Packaging Systems, Inc. | Actuator assembly to prevent inadvertent product discharge upon installation on stem |
| US5865350A (en) * | 1997-01-24 | 1999-02-02 | Pure Vision International L.L.P. | Spray bottle with built-in pump |
| US5921439A (en) * | 1998-01-26 | 1999-07-13 | Pure Vision International L.L.P. | Aerosol spray container with improved dispensing valve assembly |
| US5957333A (en) * | 1998-01-26 | 1999-09-28 | Pure Vision International L.L.P. | Aerosol spray container with improved dispensing valve assembly |
| WO2000003932A1 (en) * | 1998-07-16 | 2000-01-27 | Berry Plastics Corporation | Dispenser apparatus |
| US6318595B1 (en) * | 2000-06-08 | 2001-11-20 | Seaquistperfect Dispensing Foreign, Inc. | Finger-actuatable spray pump package with user-ready two-piece spray-through cap, pre-assembly cap, and method for making said package |
| US6758373B2 (en) * | 2002-05-13 | 2004-07-06 | Precision Valve Corporation | Aerosol valve actuator |
| US20050082314A1 (en) * | 2003-10-21 | 2005-04-21 | Macierowski Glenn E. | Spray actuator collar for spray canisters |
| US9260237B2 (en) * | 2012-12-18 | 2016-02-16 | Precision Valve Corporation | Cap for dispensing liquids or gels |
| BR102019010372A2 (pt) * | 2019-05-21 | 2020-12-01 | Aptar Do Brasil Embalagens Ltda | Dispositivo de dispersão para fluídos pressurizados com sistema antiacionamento |
| FR3116011B1 (fr) * | 2020-11-10 | 2022-12-23 | Lindal France | Diffuseur pour générateur d’aérosol |
Family Cites Families (5)
| Publication number | Priority date | Publication date | Assignee | Title |
|---|---|---|---|---|
| US3263868A (en) * | 1964-09-18 | 1966-08-02 | Valve Corp Of America | Sampler-type tamper-proof actuator cap |
| US3544023A (en) * | 1969-05-20 | 1970-12-01 | Richard F Hendrickson | Tamperproof closure |
| US3744682A (en) * | 1971-09-01 | 1973-07-10 | Dow Chemical Co | Safety overcap for aerosol containers |
| FR2251495B1 (enExample) * | 1973-11-16 | 1978-10-27 | Aerosol Inventions Dev | |
| FR2376036A1 (fr) * | 1976-12-31 | 1978-07-28 | Oreal | Capot de presentation et de distribution pour recipient pressurise |
-
1981
- 1981-12-03 FR FR8122649A patent/FR2517640A1/fr active Granted
-
1982
- 1982-10-25 EP EP82401958A patent/EP0081397B1/fr not_active Expired
- 1982-10-25 AT AT82401958T patent/ATE17337T1/de not_active IP Right Cessation
- 1982-10-25 DE DE8282401958T patent/DE3268448D1/de not_active Expired
- 1982-10-25 DE DE198282401958T patent/DE81397T1/de active Pending
- 1982-11-02 US US06/438,635 patent/US4482082A/en not_active Expired - Lifetime
- 1982-11-04 CA CA000414863A patent/CA1195959A/fr not_active Expired
- 1982-11-24 ES ES1982268743U patent/ES268743Y/es not_active Expired
- 1982-11-29 JP JP57207792A patent/JPS58109154A/ja active Pending
- 1982-12-01 AR AR291454A patent/AR229444A1/es active
- 1982-12-01 MX MX195413A patent/MX157852A/es unknown
- 1982-12-01 BR BR8206966A patent/BR8206966A/pt unknown
Also Published As
| Publication number | Publication date |
|---|---|
| DE81397T1 (de) | 1984-03-01 |
| FR2517640A1 (fr) | 1983-06-10 |
| MX157852A (es) | 1988-12-16 |
| ES268743Y (es) | 1983-12-16 |
| US4482082A (en) | 1984-11-13 |
| DE3268448D1 (en) | 1986-02-20 |
| EP0081397A1 (fr) | 1983-06-15 |
| JPS58109154A (ja) | 1983-06-29 |
| FR2517640B1 (enExample) | 1984-03-09 |
| AR229444A1 (es) | 1983-08-15 |
| ATE17337T1 (de) | 1986-01-15 |
| ES268743U (es) | 1983-06-01 |
| BR8206966A (pt) | 1983-10-11 |
| CA1195959A (fr) | 1985-10-29 |
Similar Documents
| Publication | Publication Date | Title |
|---|---|---|
| EP0081397B1 (fr) | Capot de distribution pour récipient pressurisé | |
| EP0041412B1 (fr) | Capot de distribution pour récipient pressurisé et ensemble correspondant | |
| EP0547925B1 (fr) | Dispositif de commande de distribution d'un produit, notamment produit automoussant | |
| EP1029808B1 (fr) | Tête de distribution verrouillable et distributeur ainsi équipé | |
| EP0757007B1 (fr) | Bague de fixation à double indexation | |
| EP0969933B1 (fr) | Dispositif de pulverisation de produit fluide, tel qu'un bidose | |
| EP0815030B1 (fr) | Distributeur pour le soutirage d'un produit fluide contenu dans un recipient | |
| CH674195A5 (enExample) | ||
| EP0452208A1 (fr) | Coiffe distributrice de crème moussante | |
| FR2923811A1 (fr) | Recipient equipe d'un dispositif de securite. | |
| EP1991476B1 (fr) | Tete de distribution pour un distributeur de produit fluide | |
| EP0455552B1 (fr) | Dispositif d'actionnement d'une valve de distribution | |
| WO1996023707A1 (fr) | Flacon de distribution de produit | |
| EP1091879A1 (fr) | Fermeture ayant moyens de perforation et embout verseur | |
| EP1257475A1 (fr) | Cartouche tubulaire moulee a ouverture dechirable controlee | |
| EP1024094B1 (fr) | Tête de distribution à verrouillage | |
| FR2517639A1 (fr) | Capot de distribution pour recipient pressurise et ensemble correspondant | |
| EP0373989B1 (fr) | Capsule de bouchage d'un récipient, équipée de moyens basculants pour la distribution de la substance contenue dans ledit récipient | |
| EP1583702A1 (fr) | Dispositif d'obturation pour ouverture de recipient | |
| FR2646655A1 (fr) | Bouchon verseur a mouvement pivotant, avec dispositif empechant un actionnement premature | |
| EP4244157A1 (fr) | Diffuseur pour générateur d'aérosol | |
| EP1086908A2 (fr) | Capot-poussoir pour flacon à pulvérisateur | |
| FR2715125A1 (fr) | Bidon en plastique perfectionné. | |
| FR2876676A1 (fr) | Capuchon de poussoir, poussoir et organe de distribution a poussoir pourvus d'un tel capuchon et procede de montage d'un tel capuchon sur un poussoir. | |
| WO1997049620A1 (fr) | Dispositif de distribution a securite d'actionnement et recharge d'un tel dispositif |
Legal Events
| Date | Code | Title | Description |
|---|---|---|---|
| PUAI | Public reference made under article 153(3) epc to a published international application that has entered the european phase |
Free format text: ORIGINAL CODE: 0009012 |
|
| 17P | Request for examination filed |
Effective date: 19821027 |
|
| AK | Designated contracting states |
Designated state(s): AT BE CH DE GB IT LI NL |
|
| ITCL | It: translation for ep claims filed |
Representative=s name: JACOBACCI CASETTA & PERANI S.P.A. |
|
| DET | De: translation of patent claims | ||
| GRAA | (expected) grant |
Free format text: ORIGINAL CODE: 0009210 |
|
| AK | Designated contracting states |
Designated state(s): AT BE CH DE GB IT LI NL |
|
| REF | Corresponds to: |
Ref document number: 17337 Country of ref document: AT Date of ref document: 19860115 Kind code of ref document: T |
|
| ITF | It: translation for a ep patent filed | ||
| REF | Corresponds to: |
Ref document number: 3268448 Country of ref document: DE Date of ref document: 19860220 |
|
| PLBE | No opposition filed within time limit |
Free format text: ORIGINAL CODE: 0009261 |
|
| STAA | Information on the status of an ep patent application or granted ep patent |
Free format text: STATUS: NO OPPOSITION FILED WITHIN TIME LIMIT |
|
| 26N | No opposition filed | ||
| PGFP | Annual fee paid to national office [announced via postgrant information from national office to epo] |
Ref country code: AT Payment date: 19900920 Year of fee payment: 9 |
|
| PGFP | Annual fee paid to national office [announced via postgrant information from national office to epo] |
Ref country code: CH Payment date: 19901016 Year of fee payment: 9 |
|
| PGFP | Annual fee paid to national office [announced via postgrant information from national office to epo] |
Ref country code: NL Payment date: 19901031 Year of fee payment: 9 |
|
| PGFP | Annual fee paid to national office [announced via postgrant information from national office to epo] |
Ref country code: BE Payment date: 19901114 Year of fee payment: 9 |
|
| PG25 | Lapsed in a contracting state [announced via postgrant information from national office to epo] |
Ref country code: AT Effective date: 19911025 |
|
| PG25 | Lapsed in a contracting state [announced via postgrant information from national office to epo] |
Ref country code: LI Effective date: 19911031 Ref country code: CH Effective date: 19911031 Ref country code: BE Effective date: 19911031 |
|
| BERE | Be: lapsed |
Owner name: L' OREAL Effective date: 19911031 |
|
| PG25 | Lapsed in a contracting state [announced via postgrant information from national office to epo] |
Ref country code: NL Effective date: 19920501 |
|
| NLV4 | Nl: lapsed or anulled due to non-payment of the annual fee | ||
| REG | Reference to a national code |
Ref country code: CH Ref legal event code: PL |
|
| ITTA | It: last paid annual fee | ||
| PGFP | Annual fee paid to national office [announced via postgrant information from national office to epo] |
Ref country code: GB Payment date: 19960930 Year of fee payment: 15 |
|
| PGFP | Annual fee paid to national office [announced via postgrant information from national office to epo] |
Ref country code: DE Payment date: 19961203 Year of fee payment: 15 |
|
| PG25 | Lapsed in a contracting state [announced via postgrant information from national office to epo] |
Ref country code: GB Free format text: LAPSE BECAUSE OF NON-PAYMENT OF DUE FEES Effective date: 19971025 |
|
| GBPC | Gb: european patent ceased through non-payment of renewal fee |
Effective date: 19971025 |
|
| PG25 | Lapsed in a contracting state [announced via postgrant information from national office to epo] |
Ref country code: DE Free format text: LAPSE BECAUSE OF NON-PAYMENT OF DUE FEES Effective date: 19980701 |