EP0057579A2 - Elektrische Steckverbinder - Google Patents

Elektrische Steckverbinder Download PDF

Info

Publication number
EP0057579A2
EP0057579A2 EP82300451A EP82300451A EP0057579A2 EP 0057579 A2 EP0057579 A2 EP 0057579A2 EP 82300451 A EP82300451 A EP 82300451A EP 82300451 A EP82300451 A EP 82300451A EP 0057579 A2 EP0057579 A2 EP 0057579A2
Authority
EP
European Patent Office
Prior art keywords
conductor
housing
clamping means
parts
contact
Prior art date
Legal status (The legal status is an assumption and is not a legal conclusion. Google has not performed a legal analysis and makes no representation as to the accuracy of the status listed.)
Ceased
Application number
EP82300451A
Other languages
English (en)
French (fr)
Other versions
EP0057579A3 (de
Inventor
Robert Leonard Cunliffe
Current Assignee (The listed assignees may be inaccurate. Google has not performed a legal analysis and makes no representation or warranty as to the accuracy of the list.)
Balfour Beatty PLC
FCI USA LLC
Original Assignee
BICC PLC
Burndy Corp
Priority date (The priority date is an assumption and is not a legal conclusion. Google has not performed a legal analysis and makes no representation as to the accuracy of the date listed.)
Filing date
Publication date
Application filed by BICC PLC, Burndy Corp filed Critical BICC PLC
Publication of EP0057579A2 publication Critical patent/EP0057579A2/de
Publication of EP0057579A3 publication Critical patent/EP0057579A3/de
Ceased legal-status Critical Current

Links

Images

Classifications

    • HELECTRICITY
    • H01ELECTRIC ELEMENTS
    • H01RELECTRICALLY-CONDUCTIVE CONNECTIONS; STRUCTURAL ASSOCIATIONS OF A PLURALITY OF MUTUALLY-INSULATED ELECTRICAL CONNECTING ELEMENTS; COUPLING DEVICES; CURRENT COLLECTORS
    • H01R4/00Electrically-conductive connections between two or more conductive members in direct contact, i.e. touching one another; Means for effecting or maintaining such contact; Electrically-conductive connections having two or more spaced connecting locations for conductors and using contact members penetrating insulation
    • H01R4/24Connections using contact members penetrating or cutting insulation or cable strands
    • H01R4/2416Connections using contact members penetrating or cutting insulation or cable strands the contact members having insulation-cutting edges, e.g. of tuning fork type
    • H01R4/242Connections using contact members penetrating or cutting insulation or cable strands the contact members having insulation-cutting edges, e.g. of tuning fork type the contact members being plates having a single slot
    • H01R4/2425Flat plates, e.g. multi-layered flat plates
    • H01R4/2429Flat plates, e.g. multi-layered flat plates mounted in an insulating base
    • H01R4/2433Flat plates, e.g. multi-layered flat plates mounted in an insulating base one part of the base being movable to push the cable into the slot
    • HELECTRICITY
    • H01ELECTRIC ELEMENTS
    • H01RELECTRICALLY-CONDUCTIVE CONNECTIONS; STRUCTURAL ASSOCIATIONS OF A PLURALITY OF MUTUALLY-INSULATED ELECTRICAL CONNECTING ELEMENTS; COUPLING DEVICES; CURRENT COLLECTORS
    • H01R4/00Electrically-conductive connections between two or more conductive members in direct contact, i.e. touching one another; Means for effecting or maintaining such contact; Electrically-conductive connections having two or more spaced connecting locations for conductors and using contact members penetrating insulation
    • H01R4/24Connections using contact members penetrating or cutting insulation or cable strands
    • H01R4/2416Connections using contact members penetrating or cutting insulation or cable strands the contact members having insulation-cutting edges, e.g. of tuning fork type
    • H01R4/242Connections using contact members penetrating or cutting insulation or cable strands the contact members having insulation-cutting edges, e.g. of tuning fork type the contact members being plates having a single slot
    • HELECTRICITY
    • H01ELECTRIC ELEMENTS
    • H01RELECTRICALLY-CONDUCTIVE CONNECTIONS; STRUCTURAL ASSOCIATIONS OF A PLURALITY OF MUTUALLY-INSULATED ELECTRICAL CONNECTING ELEMENTS; COUPLING DEVICES; CURRENT COLLECTORS
    • H01R13/00Details of coupling devices of the kinds covered by groups H01R12/70 or H01R24/00 - H01R33/00
    • H01R13/58Means for relieving strain on wire connection, e.g. cord grip, for avoiding loosening of connections between wires and terminals within a coupling device terminating a cable
    • HELECTRICITY
    • H01ELECTRIC ELEMENTS
    • H01RELECTRICALLY-CONDUCTIVE CONNECTIONS; STRUCTURAL ASSOCIATIONS OF A PLURALITY OF MUTUALLY-INSULATED ELECTRICAL CONNECTING ELEMENTS; COUPLING DEVICES; CURRENT COLLECTORS
    • H01R13/00Details of coupling devices of the kinds covered by groups H01R12/70 or H01R24/00 - H01R33/00
    • H01R13/66Structural association with built-in electrical component
    • H01R13/6608Structural association with built-in electrical component with built-in single component
    • H01R13/6633Structural association with built-in electrical component with built-in single component with inductive component, e.g. transformer

Definitions

  • This invention relates to electric connectors.
  • Electric connectors having a two-part housing with at least one insulation piercing contact mounted in one part of the housing for connection to a respective insulated conductor, and conductor clamping means formed by or carried on the two parts of the housing spaced lengthwise from the insulation piercing contact or contacts are known (for example, as shown in UK Patent Specification No. 1462920).
  • the conductor clamping means is of such a form that, when the two parts of the housing are moved together to force the conductor onto its respective insulation piercing contact to make an electrical connection to the contact, said clamping means clamp the insulated conductor in such a way that substantially no tensile force is applied to that part of the conductor extending between the clamping means and the insulation piercing contact.
  • the clamping means can also serve as a stress relief device for the electric connector.
  • the conductor clamping means preferably comprises a first shoulder on one part of the housing which co-operates with a second shoulder on the other part of the housing in such a way that, as the two parts of the housing are moved together, the insulated conductor is distorted at two longitudinally spaced positions along its length so that the insulated conductor is gripped between the two shoulders as the conductor is forced onto its respective contact.
  • the connector has two similar co-operating shoulders, one on each part of the housing, positioned on the side of the clamping means remote from the contact or contacts, which shoulders similarly grip the conductor and serve with said first and second shoulders as a strain relief device.
  • the or each insulation piercing contact preferably has two cutting edges between which the insulated conductor is forced, the cutting edges piercing the insulation on the conductor to mkae the electrical connection between the conductor and its contact.
  • the or each insulation piercing contact can comprise a spike which pierces the conductor insulation to make the electrical connection.
  • the arrangement of the electric connector is such that there is one insulation piercing contact for each insulated conductor.
  • the two parts of the housing are preferably hinged together.
  • the two parts can be separately formed but capable of being interlocked together.
  • the invention has the advantage that because no tensile force is applied to that part of the conductor extending between the clamping means and the insulation piercing contact when the two parts of the connector housing are moved together, risk of tearing the conductor and bending of the insulation piercing contact is substantially reduced.
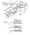
  • the electric connector 1 of part of an electrical detonator circuit shown in Figure 1 comprises a two-part housing 2, two insulation piercing contacts 3 (only one is visible) and clamping means.
  • An electric cable 4 comprising two insulated conductors 5 is shown ready to be fitted to the connector 1.
  • the clamping means comprises an upstanding shoulder 6 of groove 7 in one part 8 of the housing 2 and a co-operating downwardly projecting shoulder 9 of rib 10 on the other part 11 of the housing 2.
  • the two parts 8, 11 of the housing 2 are hinged together.
  • the arrangement is such that when the two parts 8, 11 of the housing 2 are moved together, the cable 4 is clamped at point A ( Figure 2) between the co-operating shoulders 6, 9 as the conductors 5 are forced onto the insulation piercing contacts 3. Clamping of the cable 4 at point A is so effected that further movement together of the two parts 8, 11 of the housing 2 apply substantially no tensile force to those parts of the conductor 5 extending between point A and the insulation piercing contacts 3, and that a tensile force is applied to that part of the cable 4 on the side of point A remote from the contacts 3 to cause that part of the cable to move in the direction X towards point A.
  • Rib 10 has a second shoulder 12 ' which moves into groove 7 to cooperate with a second shoulder 13 on the groove which grips the cable 4 to form the stress relief device. Both the clamping means and the stress relief device distort the cable through an angle of substantially 90° at two spaced positions.

Landscapes

  • Multi-Conductor Connections (AREA)
  • Coupling Device And Connection With Printed Circuit (AREA)
  • Connections By Means Of Piercing Elements, Nuts, Or Screws (AREA)
EP82300451A 1981-01-30 1982-01-28 Elektrische Steckverbinder Ceased EP0057579A3 (de)

Applications Claiming Priority (2)

Application Number Priority Date Filing Date Title
GB8102850 1981-01-30
GB8102850 1981-01-30

Publications (2)

Publication Number Publication Date
EP0057579A2 true EP0057579A2 (de) 1982-08-11
EP0057579A3 EP0057579A3 (de) 1983-06-15

Family

ID=10519339

Family Applications (1)

Application Number Title Priority Date Filing Date
EP82300451A Ceased EP0057579A3 (de) 1981-01-30 1982-01-28 Elektrische Steckverbinder

Country Status (2)

Country Link
EP (1) EP0057579A3 (de)
GB (1) GB2092399B (de)

Cited By (8)

* Cited by examiner, † Cited by third party
Publication number Priority date Publication date Assignee Title
GB2168860A (en) * 1984-12-20 1986-06-25 Starpoint Electrics Ltd Lampholder
FR2638575A1 (fr) * 1988-11-03 1990-05-04 Neiman Sa Procede et dispositif de connexion electrique d'un ensemble contenu dans un boitier
DE4324841A1 (de) * 1993-07-23 1995-01-26 Grote & Hartmann Verfahren und Vorrichtung zur Stromversorgung optionaler, elektrisch angetriebener Sonderausstattungseinrichtungen, z. B. in einem Kraftfahrzeug, einem elektrisch betriebenen Haushaltsgerät oder dergleichen
EP0671780A1 (de) * 1994-03-10 1995-09-13 Reichle + De-Massari AG Elektro-Ingenieure Mehrfach-Kontaktstifthalter für Schwachstrom-Anlagen
FR2768862A1 (fr) * 1997-09-22 1999-03-26 Infra Sa Prise de courant faible a capuchon arriere organisateur
WO2000069025A1 (en) * 1999-05-06 2000-11-16 Cabit S.R.L. Terminal board for the connection of wires, in particular of electric energy conductors
FR2882815A1 (fr) * 2005-03-04 2006-09-08 Delta Caps Initiators Soc Par Dispositif de connexion pour detonateurs
US9868867B1 (en) 2012-11-26 2018-01-16 Russell Scott Manley Solvents and uses thereof

Family Cites Families (2)

* Cited by examiner, † Cited by third party
Publication number Priority date Publication date Assignee Title
US4099819A (en) * 1976-09-13 1978-07-11 Bunker Ramo Corporation Modular termination system for telecommunication devices
US4195898A (en) * 1977-12-27 1980-04-01 Bunker Ramo Corporation Patchcord connector

Cited By (14)

* Cited by examiner, † Cited by third party
Publication number Priority date Publication date Assignee Title
GB2168860A (en) * 1984-12-20 1986-06-25 Starpoint Electrics Ltd Lampholder
FR2638575A1 (fr) * 1988-11-03 1990-05-04 Neiman Sa Procede et dispositif de connexion electrique d'un ensemble contenu dans un boitier
DE4324841A1 (de) * 1993-07-23 1995-01-26 Grote & Hartmann Verfahren und Vorrichtung zur Stromversorgung optionaler, elektrisch angetriebener Sonderausstattungseinrichtungen, z. B. in einem Kraftfahrzeug, einem elektrisch betriebenen Haushaltsgerät oder dergleichen
CN1045846C (zh) * 1994-03-10 1999-10-20 赖希勒及迪-马沙里有限公司 用于弱电设备的多触脚接线器
EP0671780A1 (de) * 1994-03-10 1995-09-13 Reichle + De-Massari AG Elektro-Ingenieure Mehrfach-Kontaktstifthalter für Schwachstrom-Anlagen
AU681227B2 (en) * 1994-03-10 1997-08-21 Reichle & De-Massari Ag Multiple contact pin holder for weak current installations
US5662493A (en) * 1994-03-10 1997-09-02 Reichle + De-Massari Ag Multiple contact pin holder for weak current installations
FR2768862A1 (fr) * 1997-09-22 1999-03-26 Infra Sa Prise de courant faible a capuchon arriere organisateur
WO1999016153A1 (fr) * 1997-09-22 1999-04-01 Infra + Prise de courant faible a capuchon arriere organisateur
US6267617B1 (en) 1997-09-22 2001-07-31 Infra Low voltage plug adapter with organizing rear bonnet
WO2000069025A1 (en) * 1999-05-06 2000-11-16 Cabit S.R.L. Terminal board for the connection of wires, in particular of electric energy conductors
FR2882815A1 (fr) * 2005-03-04 2006-09-08 Delta Caps Initiators Soc Par Dispositif de connexion pour detonateurs
WO2006092437A1 (fr) * 2005-03-04 2006-09-08 Chemical Holdings International Ltd Dispositif de connexion pour detonateurs
US9868867B1 (en) 2012-11-26 2018-01-16 Russell Scott Manley Solvents and uses thereof

Also Published As

Publication number Publication date
EP0057579A3 (de) 1983-06-15
GB2092399B (en) 1985-02-06
GB2092399A (en) 1982-08-11

Similar Documents

Publication Publication Date Title
US4560224A (en) Flat cable termination
EP0034000B1 (de) Anschlussklemme für Schaltplatten
US4153325A (en) Method and connector for terminating twisted pair and ribbon cable
CA1086390A (en) Electrial connector for a flat cable having parallel spaced, insulated conductors
GB1320022A (en) Electrical connectors
EP0007706A1 (de) Elektrischer Verbinder zur Anwendung bei der Herstellung von Abzweigverbindungen an Leitern
US3778749A (en) Connector
CA2219668A1 (en) Connecting clamp for electrical conductors
US4564256A (en) Flat cable transition connector
ATE127622T1 (de) Torsionsschneidklemmverbinder.
US4455057A (en) Insulation piercing terminal
CA1083238A (en) Electrical contact terminal with laterally offset connection slots
EP0057579A2 (de) Elektrische Steckverbinder
CA1140227A (en) Method of terminating shielded electrical cable and an assembly comprising an electrical connector terminating such cable
GB1167515A (en) Improvements in or relating to Connectors for Retaining Electrical Conductors in Mutual Contact
KR950015852A (ko) 케이블 터미네이션용 전기 커넥터
GB1490197A (en) Solderless termination system
EP0306343A3 (de) Elektrischer Steckverbinder
US4522460A (en) Connecting means for closely spaced conductors
US4019800A (en) Uniplanar electrical contact
US4725247A (en) Cable splicing assembly
EP0154179A3 (en) Connection of conductors especially for high current terminals
EP0084257B1 (de) Anschlussanordnung und Anschlusselement für Flachkabel
GB2130815A (en) Electrical connectors
US4679878A (en) Insulation-piercing electrical contact and connector incorporating the same

Legal Events

Date Code Title Description
PUAI Public reference made under article 153(3) epc to a published international application that has entered the european phase

Free format text: ORIGINAL CODE: 0009012

AK Designated contracting states

Designated state(s): AT BE CH DE FR IT LI LU NL SE

17P Request for examination filed

Effective date: 19820802

PUAL Search report despatched

Free format text: ORIGINAL CODE: 0009013

AK Designated contracting states

Designated state(s): AT BE CH DE FR IT LI LU NL SE

RAP1 Party data changed (applicant data changed or rights of an application transferred)

Owner name: BICC PUBLIC LIMITED COMPANY

Owner name: BURNDY CORPORATION

STAA Information on the status of an ep patent application or granted ep patent

Free format text: STATUS: THE APPLICATION HAS BEEN REFUSED

18R Application refused

Effective date: 19851103

RIN1 Information on inventor provided before grant (corrected)

Inventor name: CUNLIFFE, ROBERT LEONARD