DE102018009846A1 - Bauteil für ein Fahrzeug mit einer Montagehilfe und/oder einem applizierten Transportschutz - Google Patents
Bauteil für ein Fahrzeug mit einer Montagehilfe und/oder einem applizierten Transportschutz Download PDFInfo
- Publication number
- DE102018009846A1 DE102018009846A1 DE102018009846.0A DE102018009846A DE102018009846A1 DE 102018009846 A1 DE102018009846 A1 DE 102018009846A1 DE 102018009846 A DE102018009846 A DE 102018009846A DE 102018009846 A1 DE102018009846 A1 DE 102018009846A1
- Authority
- DE
- Germany
- Prior art keywords
- component
- vehicle
- transport protection
- assembly aid
- aid
- Prior art date
- Legal status (The legal status is an assumption and is not a legal conclusion. Google has not performed a legal analysis and makes no representation as to the accuracy of the status listed.)
- Withdrawn
Links
- 230000008018 melting Effects 0.000 claims abstract description 4
- 238000002844 melting Methods 0.000 claims abstract description 4
- 238000004090 dissolution Methods 0.000 abstract description 2
- 239000000463 material Substances 0.000 description 7
- 238000005538 encapsulation Methods 0.000 description 6
- 238000002485 combustion reaction Methods 0.000 description 3
- 239000012530 fluid Substances 0.000 description 3
- 238000010438 heat treatment Methods 0.000 description 3
- 239000000155 melt Substances 0.000 description 3
- BUHVIAUBTBOHAG-FOYDDCNASA-N (2r,3r,4s,5r)-2-[6-[[2-(3,5-dimethoxyphenyl)-2-(2-methylphenyl)ethyl]amino]purin-9-yl]-5-(hydroxymethyl)oxolane-3,4-diol Chemical compound COC1=CC(OC)=CC(C(CNC=2C=3N=CN(C=3N=CN=2)[C@H]2[C@@H]([C@H](O)[C@@H](CO)O2)O)C=2C(=CC=CC=2)C)=C1 BUHVIAUBTBOHAG-FOYDDCNASA-N 0.000 description 1
- 230000001419 dependent effect Effects 0.000 description 1
- 239000007788 liquid Substances 0.000 description 1
- 238000004519 manufacturing process Methods 0.000 description 1
- 238000004064 recycling Methods 0.000 description 1
Images
Classifications
-
- B—PERFORMING OPERATIONS; TRANSPORTING
- B60—VEHICLES IN GENERAL
- B60K—ARRANGEMENT OR MOUNTING OF PROPULSION UNITS OR OF TRANSMISSIONS IN VEHICLES; ARRANGEMENT OR MOUNTING OF PLURAL DIVERSE PRIME-MOVERS IN VEHICLES; AUXILIARY DRIVES FOR VEHICLES; INSTRUMENTATION OR DASHBOARDS FOR VEHICLES; ARRANGEMENTS IN CONNECTION WITH COOLING, AIR INTAKE, GAS EXHAUST OR FUEL SUPPLY OF PROPULSION UNITS IN VEHICLES
- B60K13/00—Arrangement in connection with combustion air intake or gas exhaust of propulsion units
- B60K13/04—Arrangement in connection with combustion air intake or gas exhaust of propulsion units concerning exhaust
-
- B—PERFORMING OPERATIONS; TRANSPORTING
- B65—CONVEYING; PACKING; STORING; HANDLING THIN OR FILAMENTARY MATERIAL
- B65B—MACHINES, APPARATUS OR DEVICES FOR, OR METHODS OF, PACKAGING ARTICLES OR MATERIALS; UNPACKING
- B65B33/00—Packaging articles by applying removable, e.g. strippable, coatings
Landscapes
- Engineering & Computer Science (AREA)
- Mechanical Engineering (AREA)
- Chemical & Material Sciences (AREA)
- Combustion & Propulsion (AREA)
- Transportation (AREA)
- Automobile Manufacture Line, Endless Track Vehicle, Trailer (AREA)
Abstract
Die Erfindung betrifft ein Bauteil (1) für ein Fahrzeug (3) mit einer applizierten Montagehilfe (2) und/oder einem applizierten Transportschutz (4). Erfindungsgemäß sind bzw. ist die Montagehilfe (2) und/oder der Transportschutz (4) eingerichtet, sich unter Einwirkung einer während eines Betriebs des Bauteils (1) in einem im oder am Fahrzeug (3) montierten Zustand auftretenden Temperatur selbsttätig durch Schmelzen und/oder Auflösen vom Bauteil (1) zu entfernen.
Description
- Die Erfindung betrifft ein Bauteil für ein Fahrzeug mit einer applizierten Montagehilfe und/oder einem applizierten Transportschutz.
- Aus der
EP 3 026 318 A1 ist ein Verbinder für ein fluides Medium eines Kraftfahrzeugs bekannt, wobei der Verbinder ein Anschlussteil, eine Montagehilfe und eine Kapselung aufweist. Das Anschlussteil umfasst zwei Anschlussenden, wobei ein Innenkanal die Anschlussenden zwecks Durchleitung des fluiden Mediums miteinander verbindet. Das Anschlussteil weist einen Mittelabschnitt zwischen den Anschlussenden auf, wobei die Montagehilfe in einem Teilbereich des Mittelabschnitts auf einer Außenseite des Anschlussteils mittels Kraftschluss angeordnet ist. An der Montagehilfe wird ein Heizmittel geführt, wobei die Kapselung einen Teil des Heizmittels bedeckt. Die Montagehilfe ist um das Anschlussteil gespritzt, wobei die Montagehilfe nach der Umspritzung schrumpft, so dass der Kraftschluss zwischen der Montagehilfe und dem Anschlussteil entsteht. Auch die Kapselung wird um ein aus dem Anschlussteil, der Montagehilfe, dem Heizmittel und einer inneren Fluidleitung eines Rohres gebildetes Aggregat herum gespritzt, wobei eine Temperatur des flüssigen Kapselungsmaterials beim Umspritzen so gewählt ist, dass sich zugleich auch die Montagehilfe bis zur teilweisen oder völligen Verflüssigung erhitzt. - Der Erfindung liegt die Aufgabe zu Grunde, ein gegenüber dem Stand der Technik verbessertes Bauteil für ein Fahrzeug mit einer Montagehilfe anzugeben.
- Die Aufgabe wird erfindungsgemäß mit einem Bauteil gelöst, welches die im Anspruch 1 angegebenen Merkmale aufweist.
- Vorteilhafte Ausgestaltungen der Erfindung sind Gegenstand der Unteransprüche.
- Das Bauteil für ein Fahrzeug umfasst eine applizierte Montagehilfe und/oder einen applizierten Transportschutz. Die Montagehilfe und/oder der Transportschutz sind bzw. ist erfindungsgemäß eingerichtet, sich unter Einwirkung einer während eines Betriebs des Bauteils in einem im oder am Fahrzeug montierten Zustand auftretenden Temperatur selbsttätig durch Schmelzen und/oder Auflösen vom Bauteil zu entfernen.
- Die Montagehilfe und/oder der Transportschutz ermöglichen bzw. ermöglicht dadurch, dass diese beispielsweise bei Inbetriebnahme des Fahrzeugs schmelzen oder sich auflösen, dass eine Entfernung der Montagehilfe und/oder des Transportschutzes nach der Montage des Bauteils entfallen kann. Weiterhin kann je nach verwendetem Material der Montagehilfe und/oder des Transportschutzes ein Recycling entfallen. Ferner wird aufgrund der selbsttätigen Entfernung der Montagehilfe und/oder des Transportschutzes ein Gewicht des Bauteils nicht durch die Montagehilfe und/oder den Transportschutz erhöht und eine Herstellung der Montagehilfe und/oder des Transportschutzes aus demselben gegebenenfalls kostenintensiven Material des Bauteils ist nicht erforderlich. Somit können Demontagezeiten, Demontagekosten, Rücktransportkosten zur Wiederverwendung einer Montagehilfe und/oder eines Transportschutzes bzw. Mehrkosten und ein Mehrgewicht bei einer am Bauteil befestigten Montagehilfe und/oder eines Transportschutzes vermieden werden. Dabei können bzw. kann die Montagehilfe und/oder der Transportschutz in einfacher Weise maschinell auf das Bauteil appliziert werden.
- Im Gegensatz zu manuell befestigten Montagehilfen, bei welchen es durch vollständig fehlende oder fehlerhafte Befestigung und Anordnung zu Fehlern kommen kann, ermöglicht die applizierte Montagehilfe eine signifikante Verringerung eines Risikos von Montagefehlern.
- Ausführungsbeispiele der Erfindung werden im Folgenden anhand von Zeichnungen näher erläutert.
- Dabei zeigen:
-
1 schematisch eine perspektivische Ansicht eines Ausschnitts eines Bauteils mit einer Montagehilfe, -
2 schematisch eine perspektivische Ansicht eines Fahrzeugs mit einem montierten Bauteil mit einer Montagehilfe und -
3 schematisch eine perspektivische Ansicht eines Ausschnitts eines Bauteils mit einem Transportschutz. - Einander entsprechende Teile sind in allen Figuren mit den gleichen Bezugszeichen versehen.
- In
1 ist eine perspektivische Ansicht eines Ausschnitts eines Bauteils1 mit einer Montagehilfe2 dargestellt. - Das Bauteil
1 ist zur Verwendung in einer Abgasanlage einer Verbrennungskraftmaschine eines in2 näher dargestellten Fahrzeugs3 vorgesehen und bildet somit ein so genanntes Hochtemperaturbauteil, welches während seines Betriebs relativ hohen Temperaturen ausgesetzt ist. - Die Montagehilfe
2 , welche gleichzeitig einen Transportschutz4 bildet und somit das Bauteil1 von einer Beschädigung während seines Transports schützt, ist insbesondere maschinell auf das Bauteil1 aufgebracht, beispielsweise aufgespritzt, und umgibt das Bauteil1 abschnittsweise vollständig. Die Montagehilfe2 und der Transportschutz4 sind aus einem Material gebildet, welches unter Wärmeeinwirkung schmilzt und/oder oder sich zumindest teilweise auflöst. Beispielsweise umfasst das Material Kunststoff oder besonders umweltfreundliches Wachs. - Aufgrund des Aufschmelzens und/oder Auflösens der Montagehilfe
2 und des Transportschutzes4 unter Wärmeeinwirkung, entfernen sich diese aufgrund der hohen Temperaturen während des Betriebs des Bauteils1 selbsttätig vom Bauteil1 . -
2 zeigt eine perspektivische Ansicht eines Fahrzeugs3 mit einem montierten Bauteil1 und einer Montagehilfe2 . - Das Bauteil
1 ist zur Verwendung in einer Abgasanlage einer Verbrennungskraftmaschine des Fahrzeugs3 vorgesehen und bildet somit ein so genanntes Hochtemperaturbauteil, welches während seines Betriebs relativ hohen Temperaturen ausgesetzt ist. - Die Montagehilfe
2 ist ausgebildet, einen Sollabstand zwischen dem Bauteil1 und einer Strebe5 des Fahrzeugs3 vorzugeben, so dass dieser Sollabstand nach einer Befestigung des Bauteils1 an einer Fahrzeugstruktur sichergestellt ist. - Die Montagehilfe
2 ist entsprechend der Beschreibung zu1 insbesondere maschinell auf das Bauteil1 aufgebracht, beispielsweise aufgespritzt, und aus einem Material gebildet, welches unter Wärmeeinwirkung schmilzt und/oder sich zumindest teilweise auflöst, so dass sich die Montagehilfe2 unter Wärmeeinwirkung während des Betriebs des Bauteils1 selbsttätig vom Bauteil1 entfernt. - In
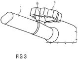
3 ist eine perspektivische Ansicht eines Ausschnitts eines Bauteils1 mit einem Transportschutz4 dargestellt. - Das Bauteil
1 ist zur Verwendung in einer Abgasanlage einer Verbrennungskraftmaschine des Fahrzeugs3 vorgesehen und bildet somit ein so genanntes Hochtemperaturbauteil, welches während seines Betriebs relativ hohen Temperaturen ausgesetzt ist. Dabei umfasst das Bauteil1 eine so genannte Abgasklappe6 . - Zur Realisierung eines Schutzes der Abgasklappe
6 vor Beschädigung während eines Transports und/oder einer Handhabung ist der Transportschutz4 entsprechend der Beschreibung zu1 insbesondere maschinell auf die Abgasklappe6 des Bauteils1 aufgebracht, beispielsweise aufgespritzt, und aus einem Material gebildet, welches unter Wärmeeinwirkung schmilzt und/oder sich zumindest teilweise auflöst, so dass sich der Transportschutz4 unter Wärmeeinwirkung während des Betriebs des Bauteils1 selbsttätig vom Bauteil1 entfernt. - Bezugszeichenliste
-
- 1
- Bauteil
- 2
- Montagehilfe
- 3
- Fahrzeug
- 4
- Transportsicherung
- 5
- Strebe
- 6
- Abgasklappe
- ZITATE ENTHALTEN IN DER BESCHREIBUNG
- Diese Liste der vom Anmelder aufgeführten Dokumente wurde automatisiert erzeugt und ist ausschließlich zur besseren Information des Lesers aufgenommen. Die Liste ist nicht Bestandteil der deutschen Patent- bzw. Gebrauchsmusteranmeldung. Das DPMA übernimmt keinerlei Haftung für etwaige Fehler oder Auslassungen.
- Zitierte Patentliteratur
-
- EP 3026318 A1 [0002]
Claims (2)
- Bauteil (1) für ein Fahrzeug (3) mit einer applizierten Montagehilfe (2) und/oder einem applizierten Transportschutz (4), dadurch gekennzeichnet, dass die Montagehilfe (2) und/oder der Transportschutz (4) eingerichtet sind bzw. ist, sich unter Einwirkung einer während eines Betriebs des Bauteils (1) in einem im oder am Fahrzeug (3) montierten Zustand auftretenden Temperatur selbsttätig durch Schmelzen und/oder Auflösen vom Bauteil (1) zu entfernen.
- Bauteil (1) nach
Anspruch 1 , dadurch gekennzeichnet, dass die Montagehilfe (2) und/oder der Transportschutz (4) aus Wachs und/oder Kunststoff gebildet sind bzw. ist.
Priority Applications (1)
| Application Number | Priority Date | Filing Date | Title |
|---|---|---|---|
| DE102018009846.0A DE102018009846A1 (de) | 2018-12-14 | 2018-12-14 | Bauteil für ein Fahrzeug mit einer Montagehilfe und/oder einem applizierten Transportschutz |
Applications Claiming Priority (1)
| Application Number | Priority Date | Filing Date | Title |
|---|---|---|---|
| DE102018009846.0A DE102018009846A1 (de) | 2018-12-14 | 2018-12-14 | Bauteil für ein Fahrzeug mit einer Montagehilfe und/oder einem applizierten Transportschutz |
Publications (1)
| Publication Number | Publication Date |
|---|---|
| DE102018009846A1 true DE102018009846A1 (de) | 2019-06-27 |
Family
ID=66768320
Family Applications (1)
| Application Number | Title | Priority Date | Filing Date |
|---|---|---|---|
| DE102018009846.0A Withdrawn DE102018009846A1 (de) | 2018-12-14 | 2018-12-14 | Bauteil für ein Fahrzeug mit einer Montagehilfe und/oder einem applizierten Transportschutz |
Country Status (1)
| Country | Link |
|---|---|
| DE (1) | DE102018009846A1 (de) |
Citations (1)
| Publication number | Priority date | Publication date | Assignee | Title |
|---|---|---|---|---|
| EP3026318A1 (de) | 2015-12-23 | 2016-06-01 | TI Automotive (Fuldabrück) GmbH | Verbinder mit montagehilfe sowie verfahren zur herstellung dieses verbinders |
-
2018
- 2018-12-14 DE DE102018009846.0A patent/DE102018009846A1/de not_active Withdrawn
Patent Citations (1)
| Publication number | Priority date | Publication date | Assignee | Title |
|---|---|---|---|---|
| EP3026318A1 (de) | 2015-12-23 | 2016-06-01 | TI Automotive (Fuldabrück) GmbH | Verbinder mit montagehilfe sowie verfahren zur herstellung dieses verbinders |
Similar Documents
| Publication | Publication Date | Title |
|---|---|---|
| DE102007048666A1 (de) | Twin-scroll Abgasturbolader | |
| DE102014017602A1 (de) | Wischerblatt für eine Scheibenwischanlage eines Kraftwagens und Scheibenwischanlage | |
| EP0843782B1 (de) | Kraftstoffördereinrichtungen für kraftfahrzeugen | |
| DE102015120600A1 (de) | Koppelelement und Luftausströmer mit einem Koppelelement | |
| DE102018009846A1 (de) | Bauteil für ein Fahrzeug mit einer Montagehilfe und/oder einem applizierten Transportschutz | |
| DE112020006109T5 (de) | Rohrkörper-zwischenstück und verfahren zur herstellung eines rohrkörpers | |
| DE102011053260A1 (de) | Schnellkupplung zur Verbindung medienführender Leitungen | |
| DE102013109257B4 (de) | Lagerelement | |
| DE102018112136A1 (de) | Brechbare leitung zur verwendung bei einem kraftfahrzeug-lufteinlasssystem | |
| DE102020101259B4 (de) | Batterie für ein Kraftfahrzeug, Verfahren zur Montage einer Batterie und Kraftfahrzeug | |
| EP2667077A1 (de) | Hitzeschutzmantel für einen Verbinder, Verbinder und Medienleitung | |
| DE102019104405B4 (de) | Kupplung zum Verbinden von Kühlkreislaufabschnitten, Kühlkreislauf mit einer solchen und Kraftfahrzeug mit einem solchen Kühlkreislauf | |
| DE102011103500A1 (de) | Verfahren und Vorrichtung zur Vorwärmung und/oder zusätzlichen Beheizung einer Verbrennungskraftmaschine | |
| DE102015219784A1 (de) | Verfahren zum Herstellen eines Bauteils mit einem Funktionsabschnitt für ein Fahrzeug und Bauteil mit Funktionsabschnitt | |
| DE112014001488T5 (de) | Abgasturbolader | |
| DE102024000057A1 (de) | Druckausgleichsvorrichtung für einen elektrischen Energiespeicher | |
| DE102010044506A1 (de) | Transportsicherung für eine Kupplung | |
| DE102012003938A1 (de) | Verfahren zu einem Austausch eines defekten Funktionselements | |
| DE102018006119A1 (de) | Verfahren zum Überprüfen einer Dosiereinrichtung für ein Kraftfahrzeug | |
| DE102023211498A1 (de) | Transportschutzanordnung sowie Verschlusselement | |
| DE3520573A1 (de) | Elastische wellenkupplung | |
| DE102010019957A1 (de) | Turbinengehäuse und Verfahren zur Herstellung eines Turbinengehäuses | |
| DE102019006123A1 (de) | Verfahren zur Aktivierung einer Korrosionsschutzreserve in einem Temperierkreislauf elnes Kraftfahrzeugs | |
| DE102017223207A1 (de) | Verfahren zur Herstellung einer Schlauchleitung sowie Schlauchleitung | |
| DE102018111471B4 (de) | Verfahren und Kunststoffformteil zur Ausbildung eines gekrümmten Rohrs |
Legal Events
| Date | Code | Title | Description |
|---|---|---|---|
| R230 | Request for early publication | ||
| R081 | Change of applicant/patentee |
Owner name: DAIMLER AG, DE Free format text: FORMER OWNER: DAIMLER AG, 70327 STUTTGART, DE |
|
| R119 | Application deemed withdrawn, or ip right lapsed, due to non-payment of renewal fee |