DE102016106952B4 - CVD-beschichteter Schneideinsatz und Verfahren zu dessen Herstellung - Google Patents

CVD-beschichteter Schneideinsatz und Verfahren zu dessen Herstellung Download PDF

Info

Publication number
DE102016106952B4
DE102016106952B4 DE102016106952.3A DE102016106952A DE102016106952B4 DE 102016106952 B4 DE102016106952 B4 DE 102016106952B4 DE 102016106952 A DE102016106952 A DE 102016106952A DE 102016106952 B4 DE102016106952 B4 DE 102016106952B4
Authority
DE
Germany
Prior art keywords
coating
coating layer
layer
scheme
percent
Prior art date
Legal status (The legal status is an assumption and is not a legal conclusion. Google has not performed a legal analysis and makes no representation as to the accuracy of the status listed.)
Active
Application number
DE102016106952.3A
Other languages
English (en)
Other versions
DE102016106952A1 (de
Inventor
Rodrigo A. Cooper
Zhenyu Liu
Peter R. Leicht
Yixiong Liu
Current Assignee (The listed assignees may be inaccurate. Google has not performed a legal analysis and makes no representation or warranty as to the accuracy of the list.)
Kennametal Inc
Original Assignee
Kennametal Inc
Priority date (The priority date is an assumption and is not a legal conclusion. Google has not performed a legal analysis and makes no representation as to the accuracy of the date listed.)
Filing date
Publication date
Application filed by Kennametal Inc filed Critical Kennametal Inc
Publication of DE102016106952A1 publication Critical patent/DE102016106952A1/de
Application granted granted Critical
Publication of DE102016106952B4 publication Critical patent/DE102016106952B4/de
Active legal-status Critical Current
Anticipated expiration legal-status Critical

Links

Images

Classifications

    • CCHEMISTRY; METALLURGY
    • C22METALLURGY; FERROUS OR NON-FERROUS ALLOYS; TREATMENT OF ALLOYS OR NON-FERROUS METALS
    • C22CALLOYS
    • C22C29/00Alloys based on carbides, oxides, nitrides, borides, or silicides, e.g. cermets, or other metal compounds, e.g. oxynitrides, sulfides
    • C22C29/02Alloys based on carbides, oxides, nitrides, borides, or silicides, e.g. cermets, or other metal compounds, e.g. oxynitrides, sulfides based on carbides or carbonitrides
    • C22C29/06Alloys based on carbides, oxides, nitrides, borides, or silicides, e.g. cermets, or other metal compounds, e.g. oxynitrides, sulfides based on carbides or carbonitrides based on carbides, but not containing other metal compounds
    • C22C29/08Alloys based on carbides, oxides, nitrides, borides, or silicides, e.g. cermets, or other metal compounds, e.g. oxynitrides, sulfides based on carbides or carbonitrides based on carbides, but not containing other metal compounds based on tungsten carbide
    • BPERFORMING OPERATIONS; TRANSPORTING
    • B23MACHINE TOOLS; METAL-WORKING NOT OTHERWISE PROVIDED FOR
    • B23BTURNING; BORING
    • B23B27/00Tools for turning or boring machines; Tools of a similar kind in general; Accessories therefor
    • CCHEMISTRY; METALLURGY
    • C22METALLURGY; FERROUS OR NON-FERROUS ALLOYS; TREATMENT OF ALLOYS OR NON-FERROUS METALS
    • C22CALLOYS
    • C22C29/00Alloys based on carbides, oxides, nitrides, borides, or silicides, e.g. cermets, or other metal compounds, e.g. oxynitrides, sulfides
    • C22C29/005Alloys based on carbides, oxides, nitrides, borides, or silicides, e.g. cermets, or other metal compounds, e.g. oxynitrides, sulfides comprising a particular metallic binder
    • CCHEMISTRY; METALLURGY
    • C23COATING METALLIC MATERIAL; COATING MATERIAL WITH METALLIC MATERIAL; CHEMICAL SURFACE TREATMENT; DIFFUSION TREATMENT OF METALLIC MATERIAL; COATING BY VACUUM EVAPORATION, BY SPUTTERING, BY ION IMPLANTATION OR BY CHEMICAL VAPOUR DEPOSITION, IN GENERAL; INHIBITING CORROSION OF METALLIC MATERIAL OR INCRUSTATION IN GENERAL
    • C23CCOATING METALLIC MATERIAL; COATING MATERIAL WITH METALLIC MATERIAL; SURFACE TREATMENT OF METALLIC MATERIAL BY DIFFUSION INTO THE SURFACE, BY CHEMICAL CONVERSION OR SUBSTITUTION; COATING BY VACUUM EVAPORATION, BY SPUTTERING, BY ION IMPLANTATION OR BY CHEMICAL VAPOUR DEPOSITION, IN GENERAL
    • C23C16/00Chemical coating by decomposition of gaseous compounds, without leaving reaction products of surface material in the coating, i.e. chemical vapour deposition [CVD] processes
    • C23C16/22Chemical coating by decomposition of gaseous compounds, without leaving reaction products of surface material in the coating, i.e. chemical vapour deposition [CVD] processes characterised by the deposition of inorganic material, other than metallic material
    • C23C16/30Deposition of compounds, mixtures or solid solutions, e.g. borides, carbides, nitrides
    • CCHEMISTRY; METALLURGY
    • C23COATING METALLIC MATERIAL; COATING MATERIAL WITH METALLIC MATERIAL; CHEMICAL SURFACE TREATMENT; DIFFUSION TREATMENT OF METALLIC MATERIAL; COATING BY VACUUM EVAPORATION, BY SPUTTERING, BY ION IMPLANTATION OR BY CHEMICAL VAPOUR DEPOSITION, IN GENERAL; INHIBITING CORROSION OF METALLIC MATERIAL OR INCRUSTATION IN GENERAL
    • C23CCOATING METALLIC MATERIAL; COATING MATERIAL WITH METALLIC MATERIAL; SURFACE TREATMENT OF METALLIC MATERIAL BY DIFFUSION INTO THE SURFACE, BY CHEMICAL CONVERSION OR SUBSTITUTION; COATING BY VACUUM EVAPORATION, BY SPUTTERING, BY ION IMPLANTATION OR BY CHEMICAL VAPOUR DEPOSITION, IN GENERAL
    • C23C16/00Chemical coating by decomposition of gaseous compounds, without leaving reaction products of surface material in the coating, i.e. chemical vapour deposition [CVD] processes
    • C23C16/22Chemical coating by decomposition of gaseous compounds, without leaving reaction products of surface material in the coating, i.e. chemical vapour deposition [CVD] processes characterised by the deposition of inorganic material, other than metallic material
    • C23C16/30Deposition of compounds, mixtures or solid solutions, e.g. borides, carbides, nitrides
    • C23C16/308Oxynitrides
    • CCHEMISTRY; METALLURGY
    • C23COATING METALLIC MATERIAL; COATING MATERIAL WITH METALLIC MATERIAL; CHEMICAL SURFACE TREATMENT; DIFFUSION TREATMENT OF METALLIC MATERIAL; COATING BY VACUUM EVAPORATION, BY SPUTTERING, BY ION IMPLANTATION OR BY CHEMICAL VAPOUR DEPOSITION, IN GENERAL; INHIBITING CORROSION OF METALLIC MATERIAL OR INCRUSTATION IN GENERAL
    • C23CCOATING METALLIC MATERIAL; COATING MATERIAL WITH METALLIC MATERIAL; SURFACE TREATMENT OF METALLIC MATERIAL BY DIFFUSION INTO THE SURFACE, BY CHEMICAL CONVERSION OR SUBSTITUTION; COATING BY VACUUM EVAPORATION, BY SPUTTERING, BY ION IMPLANTATION OR BY CHEMICAL VAPOUR DEPOSITION, IN GENERAL
    • C23C16/00Chemical coating by decomposition of gaseous compounds, without leaving reaction products of surface material in the coating, i.e. chemical vapour deposition [CVD] processes
    • C23C16/22Chemical coating by decomposition of gaseous compounds, without leaving reaction products of surface material in the coating, i.e. chemical vapour deposition [CVD] processes characterised by the deposition of inorganic material, other than metallic material
    • C23C16/30Deposition of compounds, mixtures or solid solutions, e.g. borides, carbides, nitrides
    • C23C16/34Nitrides
    • CCHEMISTRY; METALLURGY
    • C23COATING METALLIC MATERIAL; COATING MATERIAL WITH METALLIC MATERIAL; CHEMICAL SURFACE TREATMENT; DIFFUSION TREATMENT OF METALLIC MATERIAL; COATING BY VACUUM EVAPORATION, BY SPUTTERING, BY ION IMPLANTATION OR BY CHEMICAL VAPOUR DEPOSITION, IN GENERAL; INHIBITING CORROSION OF METALLIC MATERIAL OR INCRUSTATION IN GENERAL
    • C23CCOATING METALLIC MATERIAL; COATING MATERIAL WITH METALLIC MATERIAL; SURFACE TREATMENT OF METALLIC MATERIAL BY DIFFUSION INTO THE SURFACE, BY CHEMICAL CONVERSION OR SUBSTITUTION; COATING BY VACUUM EVAPORATION, BY SPUTTERING, BY ION IMPLANTATION OR BY CHEMICAL VAPOUR DEPOSITION, IN GENERAL
    • C23C16/00Chemical coating by decomposition of gaseous compounds, without leaving reaction products of surface material in the coating, i.e. chemical vapour deposition [CVD] processes
    • C23C16/22Chemical coating by decomposition of gaseous compounds, without leaving reaction products of surface material in the coating, i.e. chemical vapour deposition [CVD] processes characterised by the deposition of inorganic material, other than metallic material
    • C23C16/30Deposition of compounds, mixtures or solid solutions, e.g. borides, carbides, nitrides
    • C23C16/36Carbonitrides
    • CCHEMISTRY; METALLURGY
    • C23COATING METALLIC MATERIAL; COATING MATERIAL WITH METALLIC MATERIAL; CHEMICAL SURFACE TREATMENT; DIFFUSION TREATMENT OF METALLIC MATERIAL; COATING BY VACUUM EVAPORATION, BY SPUTTERING, BY ION IMPLANTATION OR BY CHEMICAL VAPOUR DEPOSITION, IN GENERAL; INHIBITING CORROSION OF METALLIC MATERIAL OR INCRUSTATION IN GENERAL
    • C23CCOATING METALLIC MATERIAL; COATING MATERIAL WITH METALLIC MATERIAL; SURFACE TREATMENT OF METALLIC MATERIAL BY DIFFUSION INTO THE SURFACE, BY CHEMICAL CONVERSION OR SUBSTITUTION; COATING BY VACUUM EVAPORATION, BY SPUTTERING, BY ION IMPLANTATION OR BY CHEMICAL VAPOUR DEPOSITION, IN GENERAL
    • C23C16/00Chemical coating by decomposition of gaseous compounds, without leaving reaction products of surface material in the coating, i.e. chemical vapour deposition [CVD] processes
    • C23C16/22Chemical coating by decomposition of gaseous compounds, without leaving reaction products of surface material in the coating, i.e. chemical vapour deposition [CVD] processes characterised by the deposition of inorganic material, other than metallic material
    • C23C16/30Deposition of compounds, mixtures or solid solutions, e.g. borides, carbides, nitrides
    • C23C16/40Oxides
    • C23C16/403Oxides of aluminium, magnesium or beryllium
    • CCHEMISTRY; METALLURGY
    • C23COATING METALLIC MATERIAL; COATING MATERIAL WITH METALLIC MATERIAL; CHEMICAL SURFACE TREATMENT; DIFFUSION TREATMENT OF METALLIC MATERIAL; COATING BY VACUUM EVAPORATION, BY SPUTTERING, BY ION IMPLANTATION OR BY CHEMICAL VAPOUR DEPOSITION, IN GENERAL; INHIBITING CORROSION OF METALLIC MATERIAL OR INCRUSTATION IN GENERAL
    • C23CCOATING METALLIC MATERIAL; COATING MATERIAL WITH METALLIC MATERIAL; SURFACE TREATMENT OF METALLIC MATERIAL BY DIFFUSION INTO THE SURFACE, BY CHEMICAL CONVERSION OR SUBSTITUTION; COATING BY VACUUM EVAPORATION, BY SPUTTERING, BY ION IMPLANTATION OR BY CHEMICAL VAPOUR DEPOSITION, IN GENERAL
    • C23C16/00Chemical coating by decomposition of gaseous compounds, without leaving reaction products of surface material in the coating, i.e. chemical vapour deposition [CVD] processes
    • C23C16/44Chemical coating by decomposition of gaseous compounds, without leaving reaction products of surface material in the coating, i.e. chemical vapour deposition [CVD] processes characterised by the method of coating
    • CCHEMISTRY; METALLURGY
    • C23COATING METALLIC MATERIAL; COATING MATERIAL WITH METALLIC MATERIAL; CHEMICAL SURFACE TREATMENT; DIFFUSION TREATMENT OF METALLIC MATERIAL; COATING BY VACUUM EVAPORATION, BY SPUTTERING, BY ION IMPLANTATION OR BY CHEMICAL VAPOUR DEPOSITION, IN GENERAL; INHIBITING CORROSION OF METALLIC MATERIAL OR INCRUSTATION IN GENERAL
    • C23CCOATING METALLIC MATERIAL; COATING MATERIAL WITH METALLIC MATERIAL; SURFACE TREATMENT OF METALLIC MATERIAL BY DIFFUSION INTO THE SURFACE, BY CHEMICAL CONVERSION OR SUBSTITUTION; COATING BY VACUUM EVAPORATION, BY SPUTTERING, BY ION IMPLANTATION OR BY CHEMICAL VAPOUR DEPOSITION, IN GENERAL
    • C23C28/00Coating for obtaining at least two superposed coatings either by methods not provided for in a single one of groups C23C2/00 - C23C26/00 or by combinations of methods provided for in subclasses C23C and C25C or C25D
    • C23C28/04Coating for obtaining at least two superposed coatings either by methods not provided for in a single one of groups C23C2/00 - C23C26/00 or by combinations of methods provided for in subclasses C23C and C25C or C25D only coatings of inorganic non-metallic material
    • C23C28/042Coating for obtaining at least two superposed coatings either by methods not provided for in a single one of groups C23C2/00 - C23C26/00 or by combinations of methods provided for in subclasses C23C and C25C or C25D only coatings of inorganic non-metallic material including a refractory ceramic layer, e.g. refractory metal oxides, ZrO2, rare earth oxides
    • CCHEMISTRY; METALLURGY
    • C23COATING METALLIC MATERIAL; COATING MATERIAL WITH METALLIC MATERIAL; CHEMICAL SURFACE TREATMENT; DIFFUSION TREATMENT OF METALLIC MATERIAL; COATING BY VACUUM EVAPORATION, BY SPUTTERING, BY ION IMPLANTATION OR BY CHEMICAL VAPOUR DEPOSITION, IN GENERAL; INHIBITING CORROSION OF METALLIC MATERIAL OR INCRUSTATION IN GENERAL
    • C23CCOATING METALLIC MATERIAL; COATING MATERIAL WITH METALLIC MATERIAL; SURFACE TREATMENT OF METALLIC MATERIAL BY DIFFUSION INTO THE SURFACE, BY CHEMICAL CONVERSION OR SUBSTITUTION; COATING BY VACUUM EVAPORATION, BY SPUTTERING, BY ION IMPLANTATION OR BY CHEMICAL VAPOUR DEPOSITION, IN GENERAL
    • C23C28/00Coating for obtaining at least two superposed coatings either by methods not provided for in a single one of groups C23C2/00 - C23C26/00 or by combinations of methods provided for in subclasses C23C and C25C or C25D
    • C23C28/04Coating for obtaining at least two superposed coatings either by methods not provided for in a single one of groups C23C2/00 - C23C26/00 or by combinations of methods provided for in subclasses C23C and C25C or C25D only coatings of inorganic non-metallic material
    • C23C28/044Coating for obtaining at least two superposed coatings either by methods not provided for in a single one of groups C23C2/00 - C23C26/00 or by combinations of methods provided for in subclasses C23C and C25C or C25D only coatings of inorganic non-metallic material coatings specially adapted for cutting tools or wear applications
    • CCHEMISTRY; METALLURGY
    • C23COATING METALLIC MATERIAL; COATING MATERIAL WITH METALLIC MATERIAL; CHEMICAL SURFACE TREATMENT; DIFFUSION TREATMENT OF METALLIC MATERIAL; COATING BY VACUUM EVAPORATION, BY SPUTTERING, BY ION IMPLANTATION OR BY CHEMICAL VAPOUR DEPOSITION, IN GENERAL; INHIBITING CORROSION OF METALLIC MATERIAL OR INCRUSTATION IN GENERAL
    • C23CCOATING METALLIC MATERIAL; COATING MATERIAL WITH METALLIC MATERIAL; SURFACE TREATMENT OF METALLIC MATERIAL BY DIFFUSION INTO THE SURFACE, BY CHEMICAL CONVERSION OR SUBSTITUTION; COATING BY VACUUM EVAPORATION, BY SPUTTERING, BY ION IMPLANTATION OR BY CHEMICAL VAPOUR DEPOSITION, IN GENERAL
    • C23C28/00Coating for obtaining at least two superposed coatings either by methods not provided for in a single one of groups C23C2/00 - C23C26/00 or by combinations of methods provided for in subclasses C23C and C25C or C25D
    • C23C28/40Coatings including alternating layers following a pattern, a periodic or defined repetition
    • C23C28/42Coatings including alternating layers following a pattern, a periodic or defined repetition characterized by the composition of the alternating layers
    • CCHEMISTRY; METALLURGY
    • C23COATING METALLIC MATERIAL; COATING MATERIAL WITH METALLIC MATERIAL; CHEMICAL SURFACE TREATMENT; DIFFUSION TREATMENT OF METALLIC MATERIAL; COATING BY VACUUM EVAPORATION, BY SPUTTERING, BY ION IMPLANTATION OR BY CHEMICAL VAPOUR DEPOSITION, IN GENERAL; INHIBITING CORROSION OF METALLIC MATERIAL OR INCRUSTATION IN GENERAL
    • C23CCOATING METALLIC MATERIAL; COATING MATERIAL WITH METALLIC MATERIAL; SURFACE TREATMENT OF METALLIC MATERIAL BY DIFFUSION INTO THE SURFACE, BY CHEMICAL CONVERSION OR SUBSTITUTION; COATING BY VACUUM EVAPORATION, BY SPUTTERING, BY ION IMPLANTATION OR BY CHEMICAL VAPOUR DEPOSITION, IN GENERAL
    • C23C30/00Coating with metallic material characterised only by the composition of the metallic material, i.e. not characterised by the coating process
    • C23C30/005Coating with metallic material characterised only by the composition of the metallic material, i.e. not characterised by the coating process on hard metal substrates
    • BPERFORMING OPERATIONS; TRANSPORTING
    • B23MACHINE TOOLS; METAL-WORKING NOT OTHERWISE PROVIDED FOR
    • B23BTURNING; BORING
    • B23B2224/00Materials of tools or workpieces composed of a compound including a metal
    • B23B2224/04Aluminium oxide
    • BPERFORMING OPERATIONS; TRANSPORTING
    • B23MACHINE TOOLS; METAL-WORKING NOT OTHERWISE PROVIDED FOR
    • B23BTURNING; BORING
    • B23B2224/00Materials of tools or workpieces composed of a compound including a metal
    • B23B2224/36Titanium nitride
    • BPERFORMING OPERATIONS; TRANSPORTING
    • B23MACHINE TOOLS; METAL-WORKING NOT OTHERWISE PROVIDED FOR
    • B23BTURNING; BORING
    • B23B2228/00Properties of materials of tools or workpieces, materials of tools or workpieces applied in a specific manner
    • B23B2228/04Properties of materials of tools or workpieces, materials of tools or workpieces applied in a specific manner applied by chemical vapour deposition [CVD]

Landscapes

  • Chemical & Material Sciences (AREA)
  • Engineering & Computer Science (AREA)
  • Mechanical Engineering (AREA)
  • Materials Engineering (AREA)
  • Metallurgy (AREA)
  • Organic Chemistry (AREA)
  • Chemical Kinetics & Catalysis (AREA)
  • Inorganic Chemistry (AREA)
  • General Chemical & Material Sciences (AREA)
  • Ceramic Engineering (AREA)
  • Cutting Tools, Boring Holders, And Turrets (AREA)
  • Chemical Vapour Deposition (AREA)

Abstract

Beschichteter Schneideinsatz (30) zum Abtrag von Material durch Zerspanen, mit:
einem Substrat (32) und einem Beschichtungsschema (32A) auf dem Substrat (32);
wobei das Beschichtungsschema (32A) Folgendes umfasst:
ein durch chemische Abscheidung aus der Gasphase abgeschiedenes Stützbeschichtungsschema (33), wobei das Stützbeschichtungsschema (33) auf der Oberfläche des Substrats (32) liegt;
eine durch chemische Abscheidung aus der Gasphase abgeschiedene Übergangsschicht (38) auf der Oberfläche des Stützbeschichtungsschemas (33); und
ein durch chemische Abscheidung aus der Gasphase abgeschiedenes mehrlagiges Beschichtungsschema (49), welches eine Mehrzahl von sich wiederholenden Beschichtungssets (39, 43) umfasst, wobei das mehrlagige Beschichtungsschema (49) auf der Oberfläche der Übergangsschicht (38) liegt; und
wobei jedes der Beschichtungssets (39, 43) aus einer Beschichtungsschicht aus Aluminiumoxid (40, 44) gebildet ist, die eine alpha-Aluminiumoxid-Kristallstruktur aufweist, und einer stickstoffhaltigen TiOxCyNz-Beschichtungsschicht (42, 46), die eine Kristallstruktur der stickstoffhaltigen TiOxCyNz-Beschichtungsschicht (42, 46) aufweist, wobei sich die Aluminiumoxid-Kristallstruktur von der Kristallstruktur der stickstoffhaltigen TiOxCyNz-Beschichtungsschicht (42, 46) unterscheidet, wodurch zwischen einander benachbarten Beschichtungsschichten aus Aluminiumoxid (40, 44) und der stickstoffhaltigen TiOxCyNz-Beschichtungsschicht (42, 46) der Beschichtungssets (39, 43) eine klare Grenze gebildet ist, und wobei die TiOxCyNz-Beschichtungsschicht (42) mit der Aluminiumoxidschicht (44) eines benachbarten Beschichtungssets (43) in Kontakt ist, und wobei x, y und z in der stickstoffhaltigen TiOxCyNz-Beschichtungsschicht (42,46) folgende Werte aufweisen: 0<x<0,7, 0<y<0,7, 0<z<0,7.

Description

  • HINTERGRUND DER ERFINDUNG
  • Die vorliegende Erfindung betrifft einen beschichteten Schneideinsatz und insbesondere einen beschichteten Schneideinsatz, der mittels einer Technik zur chemischen Abscheidung aus der Gasphase (CVD) beschichtet wurde und für Anwendungen zum Abtrag von Material durch Zerspanen wie zum Beispiel Zerspanen, Drehen und Fräsen nützlich ist, sowie ein Verfahren zu dessen Herstellung. Insbesondere betrifft die vorliegende Erfindung einen CVDbeschichteten Schneideinsatz, der ein Substrat mit einem Beschichtungsschema darauf umfasst, wobei das Beschichtungsschema eine Mehrzahl von Beschichtungsschichten einschließt, einschließlich eines mehrlagigen Beschichtungsschemas mit einer Mehrzahl von sich wiederholenden Beschichtungssets. Jedes Beschichtungsset umfasst eine Beschichtungsschicht aus Aluminiumoxid und eine Beschichtungsschicht aus einem stickstoffhaltigen Material (z. B. Titanaluminiumoxynitrid oder Titannitrid oder Zirkoniumnitrid), wobei das mittels CVD aufgebrachte Beschichtungsschema eine höhere Festigkeit, eine gute Rissbeständigkeit, akzeptable Hafteigenschaften, eine akzeptable Widerstandfähigkeit gegen abrasiven Verschleiß und eine akzeptable Schneidkantenstabilität aufweist. Zudem betrifft die vorliegende Erfindung ein Verfahren zur Herstellung des beschichteten Schneideinsatzes.
  • Bislang wurden beschichtete Körper wie z. B. beschichtete Schneideinsätze bei Anwendungen zum Abtrag von Material durch Zerspanen verwendet. Solche beschichteten Schneideinsätze umfassen typischerweise ein Substrat mit einer Schneideinsatzgeometrie und einem Beschichtungsschema auf dem Substrat. Die das Beschichtungsschema umfassenden Beschichtungsschichten umfassen typischerweise feuerfeste Hartmaterialien, die die Verschleißfestigkeitseigenschaft aufweisen. Hauptsächlich dient die Verwendung einer Beschichtung auf einem Schneideinsatz dem Zweck, die Nutzungsdauer des Schneideinsatzes bei Anwendungen zum Abtrag von Material zu verlängern. Beispiele für diese Beschichtungsschemen, bei denen feuerfeste Hartmaterialien verwendet werden, sind in den folgenden Dokumenten beschrieben: Europäische Patent Nr. EP 1 245 698 B1 , Mitsubishi Materials Corp.; Europäische Patentanmeldung Nr. EP 1 455 003 A2 , Sandvik AB; Europäische Patent Nr. EP 1 980 649 B1 , Iscar Ltd.; veröffentlichte US-Patentanmeldung Nr. US 2012 / 0 202 032 A1 , Tatsuoka et al.; veröffentlichte US-Patentanmeldung Nr. US 2013 / 0 045 057 A1 , Kojima et al.; US-Patent Nr. US 7 132 153 B2 , Zackisson et al.; US-Patent Nr. US 7 396 371 B2 , Cedergren et al.; US-Patent Nr. US 7 455 918 B2 , Gates, Jr. et al.; US-Patent Nr. US 7 470 296 B2 , Londholm et al.; US-Patent Nr. US 7 597 951 B2 , Björmander et al.; US-Patent Nr. US 7 727 592 B2 , Cedergren et al.; US-Patent Nr. US 7 785 665 B2 , Gates, Jr. et al.; US-Patent Nr. US 8 080 312 B2 , McNerny et al.; US-Patent Nr. US 8 080 323 B2 , Ban et al.; US-Patent Nr. US 8 323 783 B2 , Sottke et al.; US-Patent Nr. US 8 557 406 B2 , Ban et al.; Chinchanikar et al., „Wear behavior of single-layer and multi-layer coated carbide inserts in high speed machining of hardened AISI 4340 steel", Journal of Mechanical Science and Technology, 27 (5), (2013), S. 1451 - 1459 und Halvarsson et al., „Microstructure and performance of CVD κ-Al2O3 multilayers", Materials Science and Engineering, A209 (1996) S. 337 - 344.
  • Aus der DE 11 2014 001 640 T5 ist ein Schneidwerkzeug bekannt, das ein Substrat; und eine an dem Substrat haftende Beschichtung umfasst, wobei die Beschichtung eine mehrschichtige Struktur einschließlich einer Vielzahl von Struktureinheiten aufweist, die jeweils eine Verbindungsschicht und eine angrenzende Aluminiumoxidschicht umfassen, wobei die Aluminiumoxidschicht eine Dicke von weniger als 0,5 µm aufweist und die Verbindungsschicht eine Dicke von weniger als 1 µm aufweist, wobei die Verbindungsschicht TiCN und TiAlOC umfasst. Die US 2005 / 0 202 283 A1 zeigt ein Schneidwerkzeug mit einem Substrat und einer auf dem Substrat aufgebrachten Beschichtung, die eine alpha-Aluminiumoxidschicht mit plattenförmiger Morphologie aufweist. Ferner ist aus der US 2010 / 0 255 345 A1 ein beschichteter Schneideinsatz aus polykristallinem kubischem Bornitrid bekannt, der ein Substrat aus polykristallinem kubischem Bornitrid mit einer Spanfläche und mindestens einer Freifläche sowie eine an der Verbindungsstelle zwischen der Spanfläche und der Freifläche gebildete Schneidkante umfasst.
  • Wie aus den obigen Dokumenten zu entnehmen ist, wurden in der Vergangenheit für einen beschichteten Schneideinsatz viele verschiedene Beschichtungsschemen verwendet. Diesen Dokumenten zufolge soll jedes einzelne dieser Beschichtungsschemen bestimmte Vorteile bieten. Auch wenn Beschichtungsschemen existieren, die bestimmte Vorteile bieten sollen, besteht weiterhin die Notwendigkeit der Bereitstellung eines Beschichtungsschemas, welches die Nutzungsdauer eines beschichteten Schneideinsatzes verlängert und die Leistungseigenschaften eines beschichteten Schneideinsatzes bei einer Anwendung zum Abtrag von Material verbessert. Darüber hinaus besteht nach wie vor die Notwendigkeit der Bereitstellung eines verbesserten beschichteten Schneideinsatzes, wobei das Beschichtungsschema eine hohe Festigkeit aufweist, die insbesondere beim stark unterbrochenen Drehen und Fräsen zu einer besseren Schneidkantenstabilität führt. Zudem besteht weiterhin die Notwendigkeit der Bereitstellung eines verbesserten beschichteten Schneideinsatzes, der ein Beschichtungsschema aufweist, das ein mehrlagiges Beschichtungsschema einschließt, welches das Risswachstum und die Rissausbreitung in dem Beschichtungsschema aufgrund mechanischer Spannung oder Temperaturwechsel besser verhindert. Zusätzlich besteht die Notwendigkeit der Bereitstellung eines verbesserten beschichteten Schneideinsatzes, der eine Übergangsschicht aufweist, die eine bessere Nukleation und Adhäsion des mehrlagigen Beschichtungsschemas begünstigt.
  • Daher wäre es äußerst erstrebenswert, einen verbesserten beschichteten Schneideinsatz sowie ein Verfahren zu dessen Herstellung bereitzustellen, wobei der Schneideinsatz bei Anwendungen zum Abtrag von Material nützlich ist. Es wäre äußerst erstrebenswert, einen verbesserten beschichteten Schneideinsatz sowie ein Verfahren zu dessen Herstellung bereitzustellen, wobei der Schneideinsatz bei Anwendungen zum Abtrag von Material nützlich ist und der beschichtete Schneideinsatz eine längere Standzeit aufweist. Es wäre äußerst erstrebenswert, einen verbesserten beschichteten Schneideinsatz sowie ein Verfahren zu dessen Herstellung bereitzustellen, wobei der Schneideinsatz bei Anwendungen zum Abtrag von Material nützlich ist und der beschichtete Schneideinsatz verbesserte Leistungseigenschaften aufweist.
  • Es wäre äußerst erstrebenswert, einen verbesserten beschichteten Schneideinsatz sowie ein Verfahren zu dessen Herstellung bereitzustellen, wobei der Schneideinsatz bei Anwendungen zum Abtrag von Material nützlich ist und der beschichtete Schneideinsatz ein Beschichtungsschema mit einer hohen Festigkeit aufweist, die insbesondere beim stark unterbrochenen Drehen und Fräsen zu einer besseren Schneidkantenstabilität führt. Es wäre äußerst erstrebenswert, einen verbesserten beschichteten Schneideinsatz sowie ein Verfahren zu dessen Herstellung bereitzustellen, wobei der Schneideinsatz bei Anwendungen zum Abtrag von Material nützlich ist, wobei der beschichtete Schneideinsatz ein Beschichtungsschema aufweist, das ein mehrlagiges Beschichtungsschema einschließt, welches das Risswachstum und die Rissausbreitung in dem Beschichtungsschema aufgrund mechanischer Spannung oder Temperaturwechsel besser verhindert. Es wäre äußerst erstrebenswert, einen verbesserten beschichteten Schneideinsatz sowie ein Verfahren zu dessen Herstellung bereitzustellen, wobei der Schneideinsatz bei Anwendungen zum Abtrag von Material nützlich ist und der beschichtete Schneideinsatz eine Beschichtung aufweist, die eine Übergangsschicht einschließt, die eine bessere Nukleation und Adhäsion des mehrlagigen Beschichtungsschemas begünstigt.
  • ZUSAMMENFASSUNG DER ERFINDUNG
  • In einer Ausführungsform davon ist die Erfindung ein beschichteter Schneideinsatz zur Verwendung in einem Verfahren zum Abtrag von Material durch Zerspanen. Der beschichtete Schneideinsatz umfasst ein Substrat und ein Beschichtungsschema auf dem Substrat. Das Beschichtungsschema weist ein Stützbeschichtungsschema auf, das durch chemische Abscheidung aus der Gasphase abgeschieden wird, wobei sich das Stützbeschichtungsschema auf der Oberfläche des Substrats befindet. Durch chemische Abscheidung aus der Gasphase wird eine Übergangsschicht auf der Oberfläche des Stützbeschichtungsschemas abgeschieden. Auf der Oberfläche der Übergangsschicht wird durch chemische Abscheidung aus der Gasphase ein mehrlagiges Beschichtungsschema abgeschieden, das eine Mehrzahl von sich wiederholenden Beschichtungssets umfasst. Jedes der Beschichtungssets ist gebildet aus einer Beschichtungsschicht aus Aluminiumoxid, die eine alpha-Aluminiumoxid-Kristallstruktur aufweist, und einer stickstoffhaltigen TiOxCyNz-Beschichtungsschicht, die eine Kristallstruktur einer stickstoffhaltigen TiOxCyNz-Beschichtung aufweist. Die Aluminiumoxid-Kristallstruktur unterscheidet sich von der Kristallstruktur der stickstoffhaltigen TiOxCyNz-Beschichtungsschicht, wodurch zwischen einander benachbarten Beschichtungsschichten aus Aluminiumoxid und den stickstoffhaltigen TiOxCyNz-Beschichtungsschichten eine klare Grenze besteht, und wobei die TiOxCyNz-Beschichtungsschicht mit der Aluminiumoxidschicht eines benachbarten Beschichtungssets in Kontakt ist. Die Variablen x, y und z in der stickstoffhaltigen TiOxCyNz-Beschichtungsschicht weisen folgende Werte auf: 0<x<0,7, 0<y<0,7 und 0<z<0,7.
  • In einer weiteren Ausführungsform davon ist die Erfindung ein Verfahren zur Herstellung des beschichteten Schneideinsatzes, das folgende Schritte umfasst: Bereitstellung eines Substrats; Aufbringen eines Stützbeschichtungsschemas auf dem Substrat durch chemische Abscheidung aus der Gasphase Aufbringen einer Übergangsschicht auf dem Stützbeschichtunsschema durch chemische Abscheidung aus der Gasphase; Aufbringen eines mehrlagigen Beschichtungsschemas auf die Übergangsschicht durch chemische Abscheidung aus der Gasphase, wobei das mehrlagige Beschichtungsschema eine Mehrzahl von sich wiederholenden Beschichtungssets umfasst und wobei die Schritte zum Aufbringen der einzelnen Beschichtungssets Folgendes umfassen: als Erstes Aufbringen einer Beschichtungsschicht aus Aluminiumoxid ohne Variation der Parameter zur Abscheidung der Beschichtung, wobei die Beschichtungsschicht aus Aluminiumoxid eine alpha-Aluminiumoxid-Kristallstruktur aufweist; und Unterbrechen des Aufbringens der Beschichtungsschicht aus Aluminiumoxid durch Aufbringen einer stickstoffhaltigen Beschichtungsschicht, welche die Kristallstruktur einer stickstoffhaltigen Beschichtungsschicht aufweist, wobei sich die Kristallstruktur der stickstoffhaltigen Beschichtungsschicht von der alpha-Aluminiumoxid-Kristallstruktur unterscheidet, wodurch zwischen der Beschichtungsschicht aus Aluminiumoxid und der stickstoffhaltigen Beschichtungsschicht eine klare Grenze gebildet ist, und wobei die TiOxCyNz-Beschichtungsschicht mit der Aluminiumoxidschicht eines benachbarten Beschichtungssets in Kontakt ist. Die Variablen x, y und z in der stickstoffhaltigen TiOxCyNz-Beschichtungsschicht weisen folgende Werte auf: 0<x<0,7, 0<y<0,7 und 0<z<0,7
  • KURZE BESCHREIBUNG DER ZEICHNUNGEN
  • Es folgt eine kurze Beschreibung der Zeichnungen, die einen Teil dieser Patentanmeldung bilden:
    • 1 zeigt eine isometrische Ansicht eines beschichteten Schneideinsatzes, der ein auf ein Substrat aufgebrachtes Beschichtungsschema aufweist, wobei ein Teil des Beschichtungsschemas zur Darstellung des Substrats entfernt wurde;
    • 2 ist eine Querschnittsansicht einer ersten spezifischen Ausführungsform eines beschichteten Schneideinsatzes, die in schematischer Form das Substrat und die Beschichtungsschichten, die das Beschichtungsschema umfassen, zeigt;
    • 3 (nicht erfindungsgemäß) ist eine Querschnittsansicht einer zweiten spezifischen Ausführungsform eines beschichteten Schneideinsatzes, die in schematischer Form das Substrat und die Beschichtungsschichten, die das Beschichtungsschema umfassen, zeigt;
    • 4 ist eine Mikroaufnahme (mit einer Skala von 10 µm) der Querschnittsansicht eines beschichteten Einsatzes, welche die unterschiedlichen Schichten zeigt, die durch die Mehrzahl der Beschichtungssets gebildet werden, die auf einem Stützbeschichtungsschema auf einem Hartmetall-Substrat abgeschieden sind;
    • 5 (nicht erfindungsgemäß) ist eine Querschnittsansicht einer vierten spezifischen Ausführungsform eines Beschichtungsschemas eines beschichteten Schneideinsatzes, die in schematischer Form das Substrat und die Beschichtungsschichten, die das Beschichtungsschema umfassen, zeigt;
    • 6A (nicht erfindungsgemäß) ist eine Mikroaufnahme (mit einer Skala von 500 µm) einer Querschnittsansicht eines abgenutzten erfindungsgemäßen beschichteten Schneideinsatzes, wobei ein Bereich der Mikroaufnahme als „6B/C“ bezeichnet ist;
    • 6B (nicht erfindungsgemäß) ist eine Mikroaufnahme (mit einer Skala von 100 µm) des Bereichs von 6A, der als 6B/C bezeichnet ist;
    • 6C (nicht erfindungsgemäß) ist eine Mikroaufnahme (mit einer Skala von 100 µm) des Bereichs von 6A, der als 6B/C bezeichnet ist, jedoch relativ zu 6B gedreht und mit Kennzeichnung der Beschichtungsschichten;
    • 7A ist eine Mikroaufnahme (mit einer Skala von 500 µm) einer Querschnittsansicht eines abgenutzten herkömmlichen beschichteten Schneideinsatzes, wobei ein Bereich der Mikroaufnahme als „7B/C“ bezeichnet ist;
    • 7B ist eine Mikroaufnahme (mit einer Skala von 100 µm) des Bereichs von 7A, der als 7B/C bezeichnet ist; und
    • 7C ist eine Mikroaufnahme (mit einer Skala von 100 µm) des Bereichs von 7A, der als 7B/C bezeichnet ist, jedoch relativ zu 7B gedreht und mit Kennzeichnung der Beschichtungsschichten.
  • DETAILLIERTE BESCHREIBUNG
  • Die vorliegende Erfindung betrifft einen beschichteten Schneideinsatz, der für den Abtrag von Material durch Zerspanen nützlich ist. Beim Abtrag von Material durch Zerspanen dringt der Schneideinsatz in ein Werkstück ein, um Material, typischerweise in Form von Spänen, von einem Werkstück zu entfernen. Ein Verfahren zum Abtrag von Material, bei dem Material typischerweise in Form von Spänen vom Werkstück entfernt wird, ist dem Fachmann als Verfahren zum Abtrag von Material durch Zerspanen bekannt. Das Buch Machine Shop Practice [Industrial Press Inc., New York, New York (1981)] von Moltrecht enthält auf den Seiten 199 - 204 unter anderem eine Beschreibung der Spanbildung sowie der unterschiedlichen Arten von Spänen (d.h. kontinuierlicher Span, diskontinuierlicher Span, segmentierter Span). Bei Moltrecht heißt es [auszugsweise] auf den Seiten 199-200: „Wenn das Schneidwerkzeug den ersten Kontakt zum Metall herstellt, verdichtet es das Metall vor der Schneidkante. Mit Vorrücken des Werkzeugs wird das Metall vor der Schneidkante bis zu dem Punkt beansprucht, an dem es im Inneren abschert, so dass sich die Metallkörner verformen und plastisch entlang einer als Scherfläche bezeichneten Ebene fließen ... Ist die Art des geschnittenen Metalls duktil, wie beispielsweise Stahl, löst sich der Span in einem kontinuierlichen Band ab ....“. Moltrecht fährt mit der Beschreibung eines diskontinuierlichen Spans und eines segmentierten Spans fort.
  • Als weiteres Beispiel findet sich auf den Seiten 302 - 315 des ASTE Tool Engineers Handbook, McGraw Hill Book Co., New York, New York (1949), eine längere Beschreibung der Spanbildung beim Metallschneideprozess. Auf Seite 303 stellt das ASTE Handbook den eindeutigen Zusammenhang zwischen Spanbildung und maschinellen Bearbeitungsvorgängen wie Drehen, Fräsen und Bohren her. Die folgenden Patentschriften erörtern die Bildung von Spänen in einem Verfahren zum Abtrag von Material: US-Patent Nr. US 5 709 907 A , Battaglia et al. (erteilt an Kennametal Inc.), US-Patent Nr. US 5 722 803 A , Battaglia et al. (erteilt an Kennametal Inc.) und US-Patent Nr. US 6 161 990 A , Oles et al. (erteilt an Kennametal Inc.).
  • Bezugnehmend auf die Zeichnungen wird eine Reihe von spezifischen Ausführungsformen eines beschichteten Schneideinsatzes dargestellt. Bezugnehmend auf 1 wird ein beschichteter Schneideinsatz veranschaulicht, der allgemein als 20 bezeichnet wird, wobei der beschichtete Schneideinsatz 20 ein Substrat 22 und ein Beschichtungsschema 24 auf dem Substrat 22 aufweist. Der beschichtete Schneideinsatz 20 veranschaulicht eine typische Art von Geometrie, die als beschichteter Schneideinsatz verwendet wird. Jede dieser spezifischen Ausführungsformen der Beschichtungsschemen wird nachfolgend ausführlicher erklärt.
  • Bezugnehmend auf das in 2 gezeigte Beschichtungsschema ist ein beschichteter Schneideinsatz zu sehen, der allgemein als 30 bezeichnet wird, welcher ein Substrat 32 und ein auf der Oberfläche 31 des Substrats 32 befindliches Beschichtungsschema 32A umfasst. Das Beschichtungsschema 32A umfasst ein Stützbeschichtungsschema 33, umfassend eine TiN-Beschichtungsschicht 34 auf der Oberfläche des Substrats 32 und eine MT-TiCN-Beschichtungsschicht 36 auf der TiN-Beschichtungsschicht 34 sowie eine TiCN-Beschichtungsschicht 37 auf der MT-TiCN-Beschichtungsschicht 36. Der Begriff „MT-TiCN-Beschichtungsschicht“ bezieht sich auf eine Beschichtungsschicht aus Titancarbonitrid, die durch chemische Abscheidung aus der Gasphase (CVD) bei einer mittleren Temperatur, die zwischen etwa 750 °C und etwa 920 °C liegt, abgeschieden wird. Im Gegensatz zur MT-TiCN-Beschichtungsschicht bezieht sich der Begriff „HT-TiCN“- oder „TiCN“-Beschichtungsschicht auf eine Beschichtungsschicht aus Titancarbonitrid, die mittels CVD bei einer Temperatur von mehr als etwa 950 °C, und typischerweise innerhalb eines Bereichs von etwa 950 °C bis etwa 1020 °C, abgeschieden wird.
  • Auf der HT-TiCN-Beschichtungsschicht 37 gibt es zudem eine Ti+O+C+N-Übergangsschicht 38, die Titan und Sauerstoff und Kohlenstoff und Stickstoff enthält. Es ist wichtig zu berücksichtigen, dass die Anmelder im Hinblick auf die Funktion der Ti+O+C+N-Übergangsschicht zwar nicht an eine bestimmte Theorie gebunden sein möchten, man aber annimmt, dass die Ti+O+C+N-Übergangsschicht die Nukleation und Adhäsion der Beschichtungsschichten des mehrlagigen Beschichtungsschemas begünstigt.
  • Das mehrlagige Beschichtungsschema 49 befindet sich auf der Ti+O+C+N-Übergangsschicht 38, wobei das mehrlagige Beschichtungsschema 49 eine Mehrzahl von Beschichtungssets (39, 43) umfasst. Obwohl 2 zwei Beschichtungssets zeigt, muss erwähnt werden, dass für diese spezifische Ausführungsform und die anderen hierin genannten spezifischen Ausführungsformen auch eine andere Anzahl von Beschichtungssets verwendet werden kann. Zur Verwendung bei dieser spezifischen Ausführungsform und den anderen hierin genannten spezifischen Ausführungsformen eignen sich beispielsweise zwischen zwei und sechzehn Beschichtungssets, was zwischen etwa vier und zweiunddreißig Beschichtungsschichten entspricht. Das Beschichtungsset 39 umfasst eine Beschichtungsschicht aus Aluminiumoxid 40 und eine TiOxCyNz-Beschichtungsschicht 42. Das Beschichtungsset 43 umfasst eine Beschichtungsschicht aus Aluminiumoxid 44 und eine TiOxCyNz-Beschichtungsschicht 46. Bei dieser spezifischen Ausführungsform sowie bei allen hierin genannten Ausführungsformen weisen die Beschichtungsschichten aus Aluminiumoxid die alpha-kristalline Phase von Aluminiumoxid auf. Bezugnehmend auf die TiOxCyNz-Beschichtungsschichten 42 und 46 sind die Werte für x, y und z wie folgt: 0<x<0,7, 0<y<0,7, 0<z<0,7.
  • Die Zusammensetzung der Beschichtungsschichten, welche die Beschichtungssets des mehrlagigen Beschichtungsschemas umfassen, wird so gewählt, dass die Abscheidung der einzelnen Beschichtungsschichten durch die Abscheidung der nachfolgenden Beschichtungsschicht abrupt unterbrochen wird.
  • Das Ergebnis ist die vollständige Unterbrechung des Kristallwachstums der vorhergehenden Beschichtungsschicht durch die Initiierung der darauffolgenden Beschichtungsschicht. Diese abrupte Unterbrechung kann durch eine Änderung der Beschichtungszusammensetzung oder der Beschichtungsparameter herbeigeführt werden, was zur Nukleation einer Schicht mit einer eigenen Kristallstruktur führt. Eine solche Änderung kann dazu führen, dass einander benachbarte Beschichtungsschichten verschiedene Kristallstrukturen aufweisen. Diese Unterbrechungen resultieren in Beschichtungsschichten mit einer klaren Grenze zwischen den benachbarten Beschichtungsschichten, so dass es in den einzelnen Beschichtungsschichten keine Mischphase eines Verbundwerkstoffes gibt.
  • Obwohl in 2 nicht gezeigt, enthält eine andere Ausführungsform der Erfindung ein außenliegendes Beschichtungsschema, das mittels CVD auf die Oberfläche des äußersten, sich wiederholenden Schichtsets aufgebracht werden kann. Eine solche außenliegende Beschichtungsschicht kann ein von einem Element der Gruppe IV b gebildetes Carbid, Carbonitrid, Nitrid oder Oxycarbonitrid umfassen.
  • Die nachfolgende Tabelle 1 zeigt die Dickenbereiche der Beschichtungsschemen und Beschichtungsschichten für den in 2 dargestellten beschichteten Schneideinsatz 30. Tabelle 1 - Dicke von Beschichtungsschemen und Beschichtungsschichten von FIG. 2
    Beschichtungsschicht oder Beschichtungsschema Dickenbereich (Mikrometer) Alternativer Dickenbereich (Mikrometer)
    Beschichtungsschema 32A 2 - 35 5-30
    Stützbeschichtungsschema 33 1 - 20 2-18
    TiN-Beschichtungsschicht 34 bis zu 2 bis zu 1
    MT-TiCN-Beschichtungsschicht 36 1 - 18 2-15
    HT-TiCN-Beschichtungsschicht 37 bis zu 5 bis zu 2
    Ti + O + C + N-Übergangsschicht 38 bis zu 3 bis zu 2
    Mehrlagiges Beschichtungsschema 49 1 - 15 2-12
    Beschichtungssets 39 und 43 0,1 - 0,8 0,2 - 0,7
    Beschichtungsschichten aus Aluminiumoxid 40 und 44 0,05 - 0,7 0,1 - 0,5
    TiOxCyNz-Beschichtungsschichten 42 und 46 0,01 - 0,5 0,05 - 0,25
  • Die nachfolgende Tabelle 2 zeigt die Abscheidungsparameter für die Abscheidung des Beschichtungsschemas 32A des beschichteten Schneideinsatzes 30 von 2. Tabelle 2 - Verfahren zur Herstellung des Beschichtungsschemas von FIG. 2
    Stützsubstanz Stützsubstanz Stützsubstanz Übergang Wiederholungssequenz für mehrlagiges Beschichtungsschema
    TiN MT-TiCN HT-TiCN Ti+O+C+N Al2O3 TiOxCyNz
    Temp.-Bereich (°C) 850 - 960 750 - 900 950 - 1020 950 - 1020 920 - 1020 950 - 1050
    Druckbereich (mb) 60 - 90 40 - 90 300 - 700 100 - 400 50 - 120 200 - 500
    Dauer Minuten 10 - 90 50 - 400 5-60 30 - 70 5-30 3-15
    H2 Vol% zum Rest zum Rest zum Rest zum Rest zum Rest zum Rest
    N2 Vol% 15-20 25 - 35 20 - 40 15 - 20 30 - 45
    CH4 Vol% 1 -5 2-3 2-3
    CO2 Vol% 2,0 - 2,8
    HCl Vol% 1,0 - 1,5 2,5 - 3,5 0,8 - 1,5
    H2S Vol% 0,1 - 1,0
    TiCl4 Vol% 0,5 - 2,5 1,0 - 2,0 1 -3 0,5 - 1,3 0,5 - 1,2
    CH3CN Vol% 0,001 - 0,03
    AlCl3 Vol% 4,0 - 6,0
    CO Vol% 1,0 - 1,5 0,8 - 1,5
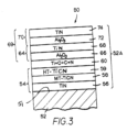
  • Bezugnehmend auf das in 3 gezeigte Beschichtungsschema (nicht erfindungsgemäß) ist ein beschichteter Schneideinsatz zu sehen, der allgemein als 50 bezeichnet wird, welcher ein Substrat 52 und ein auf der Oberfläche 51 des Substrats 52 befindliches Beschichtungsschema 52A umfasst. Das Beschichtungsschema 52A umfasst ein Stützbeschichtungsschema 54, umfassend eine TiN-Beschichtungsschicht 56 auf der Oberfläche des Substrats 52 und eine MT-TiCN-Beschichtungsschicht 58 auf der TiN-Beschichtungsschicht 56 sowie eine HT-TiCN-Beschichtungsschicht 59 auf der MT-TiCN-Beschichtungsschicht 58.
  • Auf der TiCN-Beschichtungsschicht 59 befindet sich eine Ti+O+C+N-Übergangsschicht 60, die Titan und Sauerstoff und Kohlenstoff und Stickstoff enthält. Es ist wichtig zu berücksichtigen, dass die Anmelder im Hinblick auf die Funktion der Ti+O+C+N-Übergangsschicht zwar nicht an eine bestimmte Theorie gebunden sein möchten, man aber annimmt, dass die Ti+O+C+N-Übergangsschicht die Nukleation und Adhäsion der Beschichtungsschichten des mehrlagigen Beschichtungsschemas begünstigt.
  • Das mehrlagige Beschichtungsschema 69 befindet sich auf der Ti+O+C+N-Übergangsschicht 60, wobei das mehrlagige Beschichtungsschema 69 eine Mehrzahl von Beschichtungssets (64, 70) umfasst. Das Beschichtungsset 64 umfasst eine Beschichtungsschicht aus Aluminiumoxid 66 und eine TiN-Beschichtungsschicht 68, und das Beschichtungsset 70 umfasst eine Beschichtungsschicht aus Aluminiumoxid 72 und eine TiN-Beschichtungsschicht 74. Obwohl in 3 nicht gezeigt, enthält eine andere Ausführungsform der Erfindung ein außenliegendes Beschichtungsschema, das mittels CVD auf die Oberfläche der äußersten Schicht des sich wiederholenden Sets aufgebracht werden kann. Eine solche außenliegende Beschichtungsschicht kann ein von einem Element der Gruppe IVb gebildetes Carbid, Carbonitrid, Nitrid oder Oxycarbonitrid umfassen.
  • Die nachfolgende Tabelle 3 zeigt die Dickenbereiche der Beschichtungsschemen und Beschichtungsschichten für den in 3 dargestellten beschichteten Schneideinsatz 30. Tabelle 3 - Dicke von Beschichtungsschemen und Beschichtungsschichten von FIG. 3 (nicht erfindungsgemäß)
    Beschichtungsschicht oder Beschichtungsschema Dickenbereich (Mikrometer) Alternativer Dickenbereich (Mikrometer)
    Beschichtungsschema 52A 2 - 35 5 - 30
    Stützbeschichtungsschema 54 1 - 20 2-18
    TiN-Beschichtungsschicht 56 bis zu 2 bis zu 1
    MT-TiCN-Beschichtungsschicht 58 1 - 18 2-15
    HT-TiCN-Beschichtungsschicht 59 bis zu 5 bis zu 2
    Ti + O + C + N-Übergangsschicht bis zu 3 bis zu 2
    Mehrlagiges Beschichtungsschema 69 1 - 15 2-12
    Beschichtungssets 64 und 70 0,1 - 0,8 0,2 - 0,7
    Beschichtungsschichten aus Aluminiumoxid 66 und 72 0,05 - 0,7 0,1 - 0,5
    TiN-Beschichtungsschichten 68 und 74 0,01 - 0,5 0,05 - 0,25
  • Die nachfolgende Tabelle 4 zeigt die Abscheidungsparameter für die Abscheidung des Beschichtungsschemas 52A des beschichteten Schneideinsatzes 50 von 3 (nicht erfindungsgemäß). Tabelle 4 - Verfahren zur Herstellung des Beschichtungsschemas von FIG. 3 (nicht erfindungsgemäß)
    Stützsubstanz Stützsubstanz Stützsubstanz Übergang Wiederholungssequenz für mehrlagiges Beschichtungsschema
    TiN MT-TiCN MT-TiCN Ti+O+C+N Al2O3 TiN
    Temp.-Bereich (°C) 850 - 960 750 - 900 950 - 1020 950 - 1020 920 - 1020 950 - 1050
    Druckbereich (mb) 60 - 90 40 - 90 300 - 700 100 - 400 50 - 120 60 - 250
    Dauer Minuten 10 - 90 50 - 400 5-60 30 - 70 5-30 3-15
    H2 Vol% zum Rest zum Rest zum Rest zum Rest zum Rest zum Rest
    N2 Vol% 15-20 25 - 35 20 - 40 15-20 20 - 30
    CH4 Vol% 1 -5 2-3
    CO2 Vol% 2,0 - 2,8
    HCl Vol% 1,0 - 1,5 2,5 - 3,5 0,5 - 1,0
    H2S Vol% 0,1 - 1,0
    TiCl4 Vol% 0,5 - 2,5 1,0 - 2,0 1 -3 0,5 - 1,3 0,5 - 2,5
    CH3CN Vol% 0,001 - 0,03
    AlCl3 Vol% 4,0 - 6,0
    CO Vol% 1,0 - 1,5
  • Bezugnehmend auf die Mikrostruktur des beschichteten Schneideinsatzes, der in der Mikroaufnahme von 4 zu sehen ist, zeigt die Querschnittsansicht eines beschichteten Schneideinsatzes die unterschiedlichen Schichten, die durch die Vielzahl der Beschichtungssets gebildet werden, die auf dem Stützbeschichtungsschema auf einem Hartmetall-Substrat abgeschieden sind.
  • Bezugnehmend auf das in 5 gezeigte Beschichtungsschema (nicht erfindungsgemäß) ist ein beschichteter Schneideinsatz zu sehen, der allgemein als 130 bezeichnet wird, welcher ein Substrat 132 und ein auf der Oberfläche 131 des Substrats 132 befindliches Beschichtungsschema 133 umfasst. Das Beschichtungsschema 133 umfasst ein Stützbeschichtungsschema 134, umfassend eine TiN-Beschichtungsschicht 136 auf der Oberfläche des Substrats 132 und eine MT-TiCN-Beschichtungsschicht 138 auf der TiN-Beschichtungsschicht 136 sowie eine HT-TiCN-Beschichtungsschicht 140 auf der MT-TiCN-Beschichtungsschicht 138.
  • Auf der TiCN-Beschichtungsschicht 140 befindet sich eine Ti+O+C+N-Übergangsschicht 139, die Titan und Sauerstoff und Kohlenstoff und Stickstoff enthält. Es ist wichtig zu berücksichtigen, dass die Anmelder im Hinblick auf die Funktion der Ti+O+C+N-Übergangsschicht zwar nicht an eine bestimmte Theorie gebunden sein möchten, man aber annimmt, dass die Ti+O+C+N-Übergangsschicht die Nukleation und Adhäsion der Beschichtungsschichten des mehrlagigen Beschichtungsschemas begünstigt.
  • Auf der Ti+O+C+N-Übergangsschicht 139 befindet sich ein mehrlagiges Beschichtungsschema 141, wobei das mehrlagige Beschichtungsschema 141 eine Vielzahl von Beschichtungssets (146, 152, 158) umfasst. Das Beschichtungsset 146 umfasst eine Beschichtungsschicht aus Aluminiumoxid 148 und eine TiAlOCN-Beschichtungsschicht 150. Das Beschichtungsset 152 umfasst eine Beschichtungsschicht aus Aluminiumoxid 154 und eine TiAlOCN-Beschichtungsschicht 156. Das Beschichtungsset 158 umfasst eine Beschichtungsschicht aus Aluminiumoxid 160 und eine TiAlOCN-Beschichtungsschicht 162. In einer Ausführungsform der Erfindung ist die äußerste, sich wiederholende Schicht freigelegt. Eine andere Ausführungsform der Erfindung weist ein optionales außenliegendes Beschichtungsschichtschema auf, das mittels CVD auf die Oberfläche der äußersten Schicht des sich wiederholenden Sets aufgebracht werden kann. Die spezifische Ausführungsform in 5 zeigt eine außenliegende TiOCN-Beschichtungsschicht 164. Die nachfolgende Tabelle 5 zeigt die Dickenbereiche der Beschichtungsschemen und Beschichtungsschichten für den in 5 dargestellten beschichteten Schneideinsatz 130. Tabelle 5 - Dicke von Beschichtungsschemen und Beschichtungsschichten von FIG. 5 (nicht erfindungsgemäß)
    Beschichtungsschicht oder Beschichtungsschema Dickenbereich (Mikrometer) Alternativer Dickenbereich (Mikrometer)
    Beschichtungsschema 133 2 - 35 5 - 30
    Stützbeschichtungsschema 134 1 - 20 2-18
    TiN-Beschichtungsschicht 136 bis zu 2 bis zu 1
    MT-TiCN-Beschichtungsschicht 138 1 - 18 2-15
    HT-TiCN-Beschichtungsschicht 140 bis zu 5 bis zu 2
    Ti + O + C + N-Übergangsschicht bis zu 3 bis zu 2
    Mehrlagiges Beschichtungsschema 141 1 - 15 2-12
    Beschichtungssets 146. 152 und 158 0,1 - 0,8 0,2 - 0,7
    Beschichtungsschichten aus Aluminiumoxid 148, 154, 160 0,05 - 0,7 0,1 - 0,5
    TiAlOCN-Beschichtungsschichten 150, 156, 162 0,01 - 0,5 0,05 - 0,25
    Außenliegende TiOCN-Beschichtungsschicht 164 1,0 - 3,0 1,5 - 2,5
  • Die nachfolgende Tabelle 6 zeigt die Abscheidungsparameter für die Abscheidung des Beschichtungsschemas 133 des beschichteten Schneideinsatzes 130 von 5. Tabelle 6 - Verfahren zur Herstellung des Beschichtungsschemas von FIG. 5 (nicht erfindungsgemäß)
    Stützsubstanz Stützsubstanz Stützsubstanz Übergang Wiederholungssequenz für mehrlagiges Beschichtungsschema Außenliegend
    TiN MT-TiCN HT-TiCN Ti+O+C+N Al2O3 TiAlOCN TiOCN
    Temp.-Bereich (°C) 850 - 960 750 - 900 970 - 1000 950 - 1020 920 - 1020 970 - 1000 970 - 1000
    Druckbereich (mb) 60 - 90 40 - 90 120 - 380 100 - 400 50 - 120 60 - 200 60 - 400
    Dauer Minuten 10-90 50 - 400 30 - 70 5 - 30
    H2 Vol% zum Rest zum Rest zum Rest zum Rest zum Rest zum Rest zum Rest
    N2 Vol% 15 - 20 25 - 35 15 - 45 15-20 5-20 35 - 45
    CH4 Vol% 1 - 4,5 2-3 0-3 2,5 - 3,5
    CO2 Vol% 2,0 - 2,8
    HCl Vol% 1,0 - 2,0 2,5 - 3,5 0-3 1 - 1,5
    H2S Vol% 0,1 -1,0
    TiCl4 Vol% 0,5 - 2,5 1,0 - 2,0 0,8 - 3 0,5 - 1,3 0,1 - 2,5 1,8 - 2,4
    CH3CN Vol% 0,001 - 0,03
    AlCl3 Vol% 4,0 - 6,0 2-4
    CO Vol% 1 -2 1,0 - 1,5 1 - 5,5 1 - 1,5
  • Mithilfe von Schneidtests wurde die Leistung der beschichteten Schneideinsätze der Erfindung im Vergleich zu herkömmlichen beschichteten Standard-Schneideinsätzen evaluiert. In den nachfolgenden Tabellen 7 und 8 sind die Testergebnisse aufgeführt, die in mehreren Bearbeitungsgängen unter Berücksichtigung der folgenden Verschleißkriterien gemessen wurden. Durchgeführt wurden die Tests unter den folgenden Parametern: Schneideinsatzgeometrie CNMG432RN (gerade Schneidkante); Steigungswinkel 0°/ 90°; Durchmesser des Schneidwerkzeugs = 2,48 Zoll; maximaler Werkzeugdurchmesser = 2,48 Zoll; Länge des Bearbeitungsganges = 12 Zoll; Zeitspanvolumen = 1,95 Zoll3/Min.; Schnittgeschwindigkeit = 820 Fuß pro Minute; Umdrehungen pro Minute = 1263; Zahnvorschub (fz) = 0,008 Zoll/Zahn; Vorschubgeschwindigkeit (Vf) = 10,104 Zoll/Min.; axiale Schnitttiefe (Ap) = 0,098 Zoll; radiale Schnitttiefe (Ae) = 1,969 Zoll; Maschine = Mazak AJV; Kühlmittel = trocken; und Werkstoffmaterial = DCI 80-55-06. Tabelle 7 - Testergebnisse für beschichtete Schneideinsätze
    Muster Wied. 1 Wied. 2 Standardabweichung Durchschnitt % Verbesserung
    Kontrollnorm beschichtete Schneideinsätze 12,00 15,00 2,12 13,50 -
    Beschichteter Schneideinsatz von 2 mit 4 Beschichtungssets aus Al2O3/TiOCN 19,00 24,00 3,54 21,50 59 %
    Beschichteter Schneideinsatz von 2 mit 8 Beschichtungssets aus Al2O3/TiOCN 15,00 19,00 2,83 17,00 26 %
    Tabelle 8 - Testergebnisse für beschichtete Schneideinsätze
    Muster Wied. 1 Wied. 2 Standardabweichung Durchschnitt % Verbesserung
    Kontrollnorm beschichtete Schneideinsätze 9,80 14,30 3,18 12,05 -
    Beschichteter Schneideinsatz von 2 mit 4 Beschichtungssets aus Al2O3/TiOCN 18,50 21,50 2,12 20,00 66 %
    Beschichteter Schneideinsatz von 2 mit 8 Beschichtungssets aus Al2O3/TiOCN 14,60 18,80 2,97 16,70 38 %
  • Eine Hauptfehlermöglichkeit einer in dieser Erfindung beschriebenen Beschichtungsstruktur ist der Verschleißmechanismus, der sich beim stark unterbrochenen Zerspanen zeigt. Bei Anwendungen mit unterbrochenem Schnitt wirkt sich jeder Kontakt mit dem Werkstückmaterial auf die Beschichtung aus. Laufende Einwirkungen können zu einem Ermüdungsversagen der Beschichtung führen, was bei herkömmlichen Beschichtungen die Absplitterung einer oder mehrerer Schichten zur Folge hat. Bei der hierin beschriebenen erfindungsgemäßen Beschichtung wirkt sich das Versagen einer einzelnen Beschichtungsschichteinheit nicht nachteilig auf die Unversehrtheit des gesamten Beschichtungsschemas aus, da ein Riss zwischen Beschichtungsschichteinheiten (z. B. zwei Beschichtungsschichten, die eine Al2O3-Ti-haltige Schicht umfassen) weitergeleitet wird. Mit anderen Worten: Das vorliegende erfindungsgemäße Beschichtungsschema beschränkt das Ausmaß der Beschädigung auf eine spezifische einzelne Beschichtungsschicht (oder zwei Beschichtungsschichten, die Al2O3-Ti enthalten) und verhindert dadurch die Ausbreitung eines oder mehrerer Risse im gesamten Beschichtungsschema. Eine Beschädigung einer einzelnen Beschichtungsschicht (oder zwei Beschichtungsschichten, die Al2O3-Ti enthalten) wirkt sich nicht nachteilig auf die Unversehrtheit des gesamten Beschichtungsschema aus, auch nicht auf die darunter liegenden Beschichtungsschichtpaare, die Al2O3-Ti enthalten. Diese Eigenschaft wird in den 6A bis 6C gezeigt.
  • Das Beschichtungsschema in 6A bis 6C (nicht erfindungsgemäß) umfasst eine TiN-Basisschicht auf der Oberfläche eines Substrats, eine MT-TiCN-Beschichtungsschicht auf der TiN-Basisschicht, eine HT-TiCN-Beschichtungsschicht auf der MT-TiCN-Beschichtungsschicht und eine sich wiederholende Serie von Beschichtungsschichtpaaren aus jeweils einer Tihaltigen und einer Al2O3-Beschichtungsschicht, wobei die Ti-haltige Beschichtungsschicht HT-TiCN ist, auf der HT-TiCN-Beschichtung. Auf der äußersten Al2O3-Beschichtungsschicht der sich wiederholenden Serie befindet sich eine äußerste HT-TiCN-Beschichtungsschicht, und auf der äußersten HT-TiCN-Beschichtungsschicht befindet sich eine TiN-Beschichtungsschicht. 6A ist eine Mikroaufnahme, die einige der Beschichtungsschichten eines erfindungsgemäßen Beschichtungsschemas im Querschnitt zeigt. 6A enthält einen Bereich, der als 6B/C bezeichnet ist. Dieser Bereich ist in den Mikroaufnahmen der 6B und 6C zu sehen. 6B und 6C sind dieselbe Mikroaufnahme, außer dass 6C relativ zu 6B gedreht ist und 6C Kennzeichnungen zur Identifizierung der Beschichtungsschichten enthält. Wie zuvor beschrieben, wird eine Rissweiterleitung zwischen Beschichtungsschichteinheiten (z. B. zwischen zwei Beschichtungsschichten, die eine Al2O3-Ti-haltige Schicht umfassen) in 6A bis 6C gezeigt, und insbesondere in 6B und 6C.
  • Das herkömmliche Beschichtungsschema eines herkömmlichen Werkzeugs wird in 7A bis 7C gezeigt. Das herkömmliche Beschichtungsschema von 7A bis 7C umfasst eine TiN-Basisbeschichtungsschicht auf der Oberfläche eines Substrats, eine MT-TiCN-Beschichtungsschicht auf der TiN-Basisbeschichtungsschicht, eine TiCN-Beschichtungsschicht auf der MT-TiCN-Beschichtungsschicht, eine Ti-haltige Beschichtungsschicht auf der TiCN-Beschichtungsschicht, eine einzelne Al2O3-Beschichtungsschicht auf der Tihaltigen Beschichtungsschicht. Auf der Al2O3-Beschichtungsschicht befindet sich eine äußerste TiCN-Beschichtungsschicht, und auf der äußersten TiCN-Beschichtungsschicht befindet sich eine TiN-Beschichtungsschicht. 7A ist eine Mikroaufnahme, die einige der Beschichtungsschichten eines herkömmlichen Beschichtungsschemas im Querschnitt zeigt. 7A enthält einen Bereich, der als 7B/C bezeichnet ist. Dieser Bereich ist in den Mikroaufnahmen der 7B und 7C zu sehen. 7B und 7C sind dieselbe Mikroaufnahme, außer dass 7C relativ zu 7B gedreht ist und 7C Kennzeichnungen zur Identifizierung der Beschichtungsschichten enthält. Wie in 7A bis 7C zu sehen ist, weist das herkömmliche Beschichtungsschema aufgrund einer Rissbildung einen kompletten Defekt auf, wodurch die darunter liegende Beschichtungsstruktur offen gelegt wird und das Schneidwerkzeug einem höheren Verschleiß ausgesetzt ist, was zu einer kürzeren nützlichen Standzeit führt.
  • Das Substrat für jede der spezifischen Ausführungsformen kann aus derselben Materialgruppe gewählt werden. Diesbezüglich schließen geeignete Materialien für das Substrat Hartmetalle (z. B. Wolframcarbid-Kobalt-Materialien) ein. Ein weiteres bevorzugtes Substratmaterial basiert auf Kobalt-Wolframcarbid-Hartmetall, das zu etwa 0,1 Gewichtsprozent bis etwa 20 Gewichtsprozent aus Kobalt und zum Rest aus Wolframcarbid besteht. Es ist möglich, dass ein solches Kobalt-Wolframcarbid-Hartmetall Additive wie Titan, Tantal, Niob, Zirconium, Hafnium, Vanadium und Chrom, entweder alleine oder in einer beliebigen Kombination, einschließt, wobei diese Additive in Form von Carbiden und/oder Nitriden und/oder Carbonitriden vorliegen, sowie andere Additive, die typischerweise Hartmetallen hinzugefügt werden. In wieder einer anderen Zusammensetzung umfasst das Substrat ein Wolframcarbid-Hartmetall, umfassend: zwischen etwa 89,8 Gewichtsprozent und etwa 92,3 Gewichtsprozent Wolframcarbid, zwischen etwa 5,7 Gewichtsprozent und etwa 11,5 Gewichtsprozent Kobalt, bis zu etwa 3,0 Gewichtsprozent Tantal, bis zu etwa 2 Gewichtsprozent Titan, bis zu etwa 2,4 Gewichtsprozent Niob und bis zu etwa 0,8 Gewichtsprozent Chrom.
  • Die Anmelder ziehen auch in Betracht, dass das Substrat Gradientenzusammensetzungen aufweisen kann, insbesondere bei der Konzentration des Bindemittels, der Konzentration des Carbonitrids und der Konzentration des Carbids. Substrate könnten beispielsweise ein Hartmetall-Substrat einschließen, das einen Oberflächenbereich mit einer Bindemittelanreicherung aufweist, oder ein Hartmetall-Substrat, das einen Bindemittel-abgereicherten Oberflächenbereich mit einer Hartmetallanreicherung in fester Lösung aufweist.
  • Für jede dieser spezifischen Ausführungsformen ist zu berücksichtigen, dass vor der Abscheidung des Beschichtungsschemas die Oberfläche des Substrats behandelt werden sollte, um die Adhäsion des Beschichtungsschemas am Substrat zu verbessern. Vorbehandlungen umfassen beispielsweise ein Verfahren zur Entfernung oder Verringerung der Bindemittelmenge an der Substratoberfläche. Im Falle eines Substrats aus Kobalt-Wolframcarbid-Hartmetall würde durch eine solche Vorbehandlung das Kobalt von der Oberfläche des Substrats entfernt oder die Oberfläche zur Verbesserung der Adhäsion der Beschichtung behandelt werden. Ein weiteres Beispiel für eine solche Vorbehandlung wäre ein Verfahren, das mechanisch auf die Substratoberfläche einwirkt, so dass diese aufgeraut wird und sich dadurch die Adhäsion der Beschichtung verbessert.
  • Zu berücksichtigen ist, dass die Oberfläche des Beschichtungsschemas zur Leistungsverbesserung in einigen Fällen nach der Abscheidung behandelt werden muss, indem die Beschichtung geglättet und eine die Spannung verändernde Wirkung auf die Beschichtung erzeugt wird. Ein Beispiel für eine Behandlung ist das Entfernen von Unebenheiten auf der Oberfläche des Beschichtungsschemas, um die Anzahl von Stellen mit erhöhter Spannung zu verringern oder zu minimieren. Ein weiteres Beispiel für eine Behandlung ist die bevorzugte Entfernung der Beschichtung (oder eines Teils der Beschichtungsschicht) von ausgewählten Bereichen des Schneideinsatzes. Eine Oberflächenbehandlung verringert typischerweise die Zugspannung oder erhöht die Druckspannung in der/den Beschichtungsschicht(en). Zum Beispiel: Die PCT-Patenpublikation Nr. WO 02/ 077 312 A2 , Widia GmbH, offenbart das Kugelstrahlen einer Beschichtung (PVD oder PCVD oder CVD), um in den außenliegenden Beschichtungsschichten die innere Druckspannung zu erhöhen oder die innere Zugspannung zu vermindern.
  • Es sollte zudem berücksichtigt werden, dass zur Verbesserung der Adhäsion der Beschichtungsschichten mikroskopisch raue Schnittflächen zwischen den einzelnen Beschichtungsschichten bereitgestellt werden können. Diese mikroskopisch rauen Schnittflächen können durch Festlegung der Parameter für das CVD-Verfahren (oder das MT-CVD-Verfahren, MT-CVD = chemische Abscheidung aus der Gasphase bei mittlerer Temperatur) erzeugt werden, um bei den Beschichtungsschichten hohe Wachstumsraten zu begünstigen. Hohe Wachstumsraten können bei CVD-Verfahren (einschließlich MT-CVD-Verfahren) infolge der Anwendung relativ hoher Abscheidungstemperaturen und/oder relativ hoher Drücke auftreten. Eine weitere Alternative zur Verbesserung der Adhäsion zwischen Beschichtungsschichten ist Folgende: Im Abscheidungsverfahren kann die Zusammensetzung einander benachbarter Schichten schrittweise geändert werden, um die Anzahl die Zusammensetzung betreffender scharfer Schnittstellen zwischen einander benachbarten Beschichtungsschichten zu verringern.
  • Angesichts des Vorstehenden kann der Schluss gezogen werden, dass ein verbesserter beschichteter Schneideinsatz sowie ein Verfahren zu dessen Herstellung bereitgestellt werden, wobei der Schneideinsatz bei Anwendungen zum Abtrag von Material nützlich ist und der beschichtete Schneideinsatz ein Beschichtungsschema mit einer hohen Festigkeit aufweist, die insbesondere beim stark unterbrochenem Drehen und Fräsen zu einer besseren Schneidkantenstabilität führt. Es werden ein verbesserter beschichteter Schneideinsatz sowie ein Verfahren zu dessen Herstellung bereitgestellt, wobei der Schneideinsatz bei Anwendungen zum Abtrag von Material nützlich ist, wobei der beschichtete Schneideinsatz ein Beschichtungsschema aufweist, das ein mehrlagiges Beschichtungsschema einschließt, welches das Risswachstum und die Rissausbreitung in dem Beschichtungsschema aufgrund mechanischer Spannung oder Temperaturwechsel besser verhindert. Es werden ein verbesserter beschichteter Schneideinsatz sowie ein Verfahren zu dessen Herstellung bereitgestellt, wobei der Schneideinsatz bei Anwendungen zum Abtrag von Material nützlich ist und der beschichtete Schneideinsatz eine Beschichtung aufweist, die eine Übergangsschicht einschließt, die eine bessere Nukleation und Adhäsion des mehrlagigen Beschichtungsschemas begünstigt.
  • Weitere Ausführungsformen der Erfindung sind für den Fachmann bei Betrachtung der Beschreibung oder einer hierin offengelegten Anwendung der Erfindung offenkundig. Es ist beabsichtigt, dass die Beschreibung und Beispiele nur veranschaulichend sind und den Umfang der Erfindung nicht einschränken sollen. Der tatsächliche Umfang der Erfindung wird durch die folgenden Ansprüche angezeigt.

Claims (22)

  1. Beschichteter Schneideinsatz (30) zum Abtrag von Material durch Zerspanen, mit: einem Substrat (32) und einem Beschichtungsschema (32A) auf dem Substrat (32); wobei das Beschichtungsschema (32A) Folgendes umfasst: ein durch chemische Abscheidung aus der Gasphase abgeschiedenes Stützbeschichtungsschema (33), wobei das Stützbeschichtungsschema (33) auf der Oberfläche des Substrats (32) liegt; eine durch chemische Abscheidung aus der Gasphase abgeschiedene Übergangsschicht (38) auf der Oberfläche des Stützbeschichtungsschemas (33); und ein durch chemische Abscheidung aus der Gasphase abgeschiedenes mehrlagiges Beschichtungsschema (49), welches eine Mehrzahl von sich wiederholenden Beschichtungssets (39, 43) umfasst, wobei das mehrlagige Beschichtungsschema (49) auf der Oberfläche der Übergangsschicht (38) liegt; und wobei jedes der Beschichtungssets (39, 43) aus einer Beschichtungsschicht aus Aluminiumoxid (40, 44) gebildet ist, die eine alpha-Aluminiumoxid-Kristallstruktur aufweist, und einer stickstoffhaltigen TiOxCyNz-Beschichtungsschicht (42, 46), die eine Kristallstruktur der stickstoffhaltigen TiOxCyNz-Beschichtungsschicht (42, 46) aufweist, wobei sich die Aluminiumoxid-Kristallstruktur von der Kristallstruktur der stickstoffhaltigen TiOxCyNz-Beschichtungsschicht (42, 46) unterscheidet, wodurch zwischen einander benachbarten Beschichtungsschichten aus Aluminiumoxid (40, 44) und der stickstoffhaltigen TiOxCyNz-Beschichtungsschicht (42, 46) der Beschichtungssets (39, 43) eine klare Grenze gebildet ist, und wobei die TiOxCyNz-Beschichtungsschicht (42) mit der Aluminiumoxidschicht (44) eines benachbarten Beschichtungssets (43) in Kontakt ist, und wobei x, y und z in der stickstoffhaltigen TiOxCyNz-Beschichtungsschicht (42,46) folgende Werte aufweisen: 0<x<0,7, 0<y<0,7, 0<z<0,7.
  2. Beschichteter Schneideinsatz (30) nach Anspruch 1, wobei in jedem der Beschichtungssets (39, 43) die Beschichtungsschicht aus Aluminiumoxid (40, 44) eine Dicke zwischen 0,05 µm und 0,7 µm aufweist und die stickstoffhaltige TiOxCyNz-Beschichtungsschicht (42, 46) eine Dicke zwischen 0,01 µm und 0,5 µm aufweist.
  3. Beschichteter Schneideinsatz (30) nach Anspruch 1 oder 2, wobei das mehrlagige Beschichtungsschema (49) eine Dicke zwischen 1 µm und 15 µm aufweist.
  4. Beschichteter Schneideinsatz (30) nach einem der Ansprüche 1 bis 3, wobei das Stützbeschichtungsschema (33) eine innenliegende Beschichtungsschicht aus Titannitrid (34) mit einer Dicke bis zu 2 µm, eine mittlere Beschichtungsschicht aus MT-Titancarbonitrid (36) mit einer Dicke zwischen 1 µm und 18 µm und eine außenliegende Beschichtungsschicht (37) aufweist, die entweder eine Titannitrid-Beschichtungsschicht oder eine HT-Titancarbonitrid-Beschichtungsschicht umfasst.
  5. Beschichteter Schneideinsatz (30) nach Anspruch 4, wobei die außenliegende Beschichtungsschicht (37) die HT-Titancarbonitrid-Beschichtungsschicht umfasst.
  6. Beschichteter Schneideinsatz (30) nach einem der Ansprüche 1 bis 5, wobei in jedem Beschichtungsset (39, 43) die Beschichtungsschicht aus Aluminiumoxid (40, 44) näher zum Substrat (32) liegt als die stickstoffhaltige TiOxCyNz-Beschichtungsschicht (42, 46).
  7. Beschichteter Schneideinsatz (30) nach einem der Ansprüche 1 bis 6, wobei das Substrat (32) ein Wolframcarbid-Hartmetall umfasst, mit zwischen 89,8 Gewichtsprozent und 92,3 Gewichtsprozent Wolframcarbid, zwischen 5,7 Gewichtsprozent und 11,5 Gewichtsprozent Kobalt, bis zu 3,0 Gewichtsprozent Tantal, bis zu 2 Gewichtsprozent Titan, bis zu 2,4 Gewichtsprozent Niob und bis zu 0,8 Gewichtsprozent Chrom.
  8. Beschichteter Schneideinsatz (30) nach einem der Ansprüche 1 bis 7, wobei das Beschichtungsschema (32A) zudem ein außenliegendes Beschichtungsschema auf dem mehrlagigen Beschichtungsschema (49) umfasst.
  9. Beschichteter Schneideinsatz (30) nach Anspruch 8, wobei das außenliegende Beschichtungsschema eine HT-Titanoxycarbonitrid-Beschichtungsschicht umfasst.
  10. Beschichteter Schneideinsatz (30) nach einem der Ansprüche 1 bis 9, wobei die Übergangsschicht (38) Titan, Sauerstoff, Kohlenstoff und Stickstoff umfasst.
  11. Verfahren zur Herstellung eines beschichteten Schneideinsatzes (30) gemäß einem der Ansprüche 1 bis 10, wobei das Verfahren folgende Schritte umfasst: Bereitstellen eines Substrats (32); Aufbringen eines Stützbeschichtungsschemas (33) auf dem Substrat (32) durch chemische Abscheidung aus der Gasphase; Aufbringen einer Übergangsschicht (38) auf dem Stützbeschichtungsschema (33) durch chemische Abscheidung aus der Gasphase; Aufbringen eines mehrlagigen Beschichtungsschemas (49) auf die Übergangsschicht (38) durch chemische Abscheidung aus der Gasphase, wobei das mehrlagige Beschichtungsschema (49) mehrere sich wiederholende Beschichtungssets (39, 43) umfasst und wobei die Schritte zum Aufbringen der einzelnen Beschichtungssets (39, 43) jeweils Folgendes umfassen: Aufbringen einer Beschichtungsschicht aus Aluminiumoxid (40, 44) ohne Variation der Parameter zur Abscheidung der Beschichtung, wobei die Beschichtungsschicht aus Aluminiumoxid (40, 44) eine alpha-Aluminiumoxid-Kristallstruktur aufweist; und Unterbrechen des Aufbringens der Beschichtungsschicht aus Aluminiumoxid (40, 44) durch Aufbringen einer stickstoffhaltigen TiOxCyNz-Beschichtungsschicht (42, 46), welche die Kristallstruktur der stickstoffhaltigen Beschichtungsschicht (42, 46) aufweist, wobei die Kristallstruktur der stickstoffhaltigen TiOxCyNz-Beschichtungsschicht (42, 46) sich von der alpha-Aluminiumoxid-Kristallstruktur unterscheidet, wodurch eine klare Grenze zwischen der Beschichtungsschicht aus Aluminiumoxid (40, 44) und der stickstoffhaltigen TiOxCyNz-Beschichtungsschicht (42, 46) des Beschichtungssets (39, 43) gebildet wird, und wobei die TiOxCyNz-Beschichtungsschicht (42) mit der Aluminiumoxidschicht (44) eines benachbarten Beschichtungssets (43) in Kontakt ist, und wobei x, y und z in der stickstoffhaltigen TiOxCyNz-Beschichtungsschicht (42,46) folgende Werte aufweisen: 0<x<0,7, 0<y<0,7, 0<z<0,7.
  12. Verfahren nach Anspruch 11, wobei in jedem der Beschichtungssets (39, 43) die Beschichtungsschicht aus Aluminiumoxid (40, 44) eine Dicke zwischen 0,05 µm und 0,7 µm aufweist und die stickstoffhaltige TiOxCyNz-Beschichtungsschicht (42, 46) eine Dicke zwischen 0,01 µm und 0,5 µm aufweist.
  13. Verfahren nach Anspruch 11, wobei das mehrlagige Beschichtungsschema (49) eine Dicke zwischen 1 µm und 15 µm aufweist.
  14. Verfahren nach Anspruch 11, bei dem das Stützbeschichtungsschema (33) eine innenliegende Titannitridbeschichtungsschicht (34) mit einer Dicke von bis zu 2 µm und eine mittlere Beschichtungsschicht aus MT-Titancarbonitrid (36) mit einer Dicke zwischen 1 µm und 18 µm aufweist.
  15. Verfahren nach Anspruch 14, bei dem ferner eine außenliegende Stützbeschichtungsschicht (37) auf das Stützbeschichtungsschema (33) aufgebracht wird, welche entweder eine Titannitridbeschichtungsschicht oder eine Beschichtungsschicht aus HT-Titancarbonitrid aufweist.
  16. Verfahren nach Anspruch 11, bei dem ferner ein außenliegendes Beschichtungsschema auf dem mehrlagigen Beschichtungsschema (49) durch chemische Abscheidung aus der Gasphase aufgebracht wird, wobei das außenliegende Beschichtungsschema eine Beschichtungsschicht aus Titanoxycarbonitrid aufweist.
  17. Verfahren nach Anspruch 11, wobei die Übergangsschicht (38) Titan, Sauerstoff, Kohlenstoff und Stickstoff umfasst und der Schritt des Aufbringens der Übergangsschicht (38) bei einer Temperatur zwischen 950 °C und 1020 °C und einem Druck zwischen 100 Millibar und 400 Millibar stattfindet und ein Gasgemisch mit TiCl4, CH4, CO, N2 und Wasserstoff verwendet wird.
  18. Verfahren nach Anspruch 17, wobei N2 in einem Anteil zwischen 15 Volumenprozent und 20 Volumenprozent des Gasgemisches vorliegt, CH4 in einem Anteil zwischen 2 Volumenprozent und 3 Volumenprozent des Gasgemisches, TiCl4 in einem Anteil zwischen 0,5 Volumenprozent und 1,3 Volumenprozent des Gasgemisches, CO in einem Anteil zwischen 1,0 Volumenprozent und 1,5 Volumenprozent des Gasgemisches und Wasserstoff in einem Anteil zwischen 74,2 Volumenprozent und 81,5 Volumenprozent des Gasgemisches.
  19. Verfahren nach Anspruch 11, bei dem der Schritt des Aufbringens als Erstes einer Beschichtungsschicht aus Aluminiumoxid (40, 44) bei einer Temperatur zwischen 920 °C und 1020 °C und einem Druck zwischen 50 Millibar und 120 Millibar stattfindet und ein Gasgemisch aus CO2, HCl, H2S, AlCl3 und Wasserstoff verwendet wird.
  20. Verfahren nach Anspruch 19, wobei CO2 in einem Anteil zwischen 2,0 Volumenprozent und 2,8 Volumenprozent des Gasgemisches vorliegt, HCl in einem Anteil zwischen 2,5 Volumenprozent und 3,5 Volumenprozent des Gasgemisches, H2S in einem Anteil zwischen 0,1 Volumenprozent und 1,0 Volumenprozent des Gasgemisches, AlCl3 in einem Anteil zwischen 4,0 Volumenprozent und 6,0 Volumenprozent des Gasgemisches und Wasserstoff in einem Anteil zwischen 85,2 Volumenprozent und 89,4 Volumenprozent des Gasgemisches.
  21. Verfahren nach Anspruch 11, bei dem der Schritt des Aufbringens der stickstoffhaltigen TiOxCyNz-Beschichtungsschicht (42, 46) bei einer Temperatur zwischen 950 °C und 1050 °C und einem Druck zwischen 200 Millibar und 500 Millibar stattfindet und ein Gasgemisch aus N2, CH4, HCl, TiCl4, CO und Wasserstoff verwendet wird.
  22. Verfahren nach Anspruch 21, bei dem N2 in einem Anteil zwischen 30 Volumenprozent und 45 Volumenprozent des Gasgemisches vorliegt, CH4 in einem Anteil zwischen 2 Volumenprozent und 3 Volumenprozent des Gasgemisches, HCl in einem Anteil zwischen 0,8 Volumenprozent und 1,5 Volumenprozent des Gasgemisches, TiCl4 in einem Anteil zwischen 0,5 Volumenprozent und 1,2 Volumenprozent des Gasgemisches, CO in einem Anteil zwischen 0,8 Volumenprozent und 1,5 Volumenprozent des Gasgemisches und Wasserstoff in einem Anteil zwischen 47,8 Volumenprozent und 65,9 Volumenprozent des Gasgemisches.
DE102016106952.3A 2015-04-20 2016-04-14 CVD-beschichteter Schneideinsatz und Verfahren zu dessen Herstellung Active DE102016106952B4 (de)

Applications Claiming Priority (2)

Application Number Priority Date Filing Date Title
US14/690,631 US10100405B2 (en) 2015-04-20 2015-04-20 CVD coated cutting insert and method of making the same
US14,690,631 2015-04-20

Publications (2)

Publication Number Publication Date
DE102016106952A1 DE102016106952A1 (de) 2016-10-20
DE102016106952B4 true DE102016106952B4 (de) 2024-10-02

Family

ID=57043277

Family Applications (1)

Application Number Title Priority Date Filing Date
DE102016106952.3A Active DE102016106952B4 (de) 2015-04-20 2016-04-14 CVD-beschichteter Schneideinsatz und Verfahren zu dessen Herstellung

Country Status (3)

Country Link
US (1) US10100405B2 (de)
CN (1) CN106065448B (de)
DE (1) DE102016106952B4 (de)

Families Citing this family (4)

* Cited by examiner, † Cited by third party
Publication number Priority date Publication date Assignee Title
EP3814547B1 (de) * 2018-06-28 2024-11-13 AB Sandvik Coromant Mehrlagiges beschichtetes schneidwerkzeug
EP3976849B1 (de) * 2019-05-27 2023-03-08 AB Sandvik Coromant Beschichtetes schneidwerkzeug
US11371150B2 (en) 2020-01-04 2022-06-28 Kennametal Inc. Coating and coated cutting tool comprising the coating
CN112647060A (zh) * 2020-12-14 2021-04-13 苏州索科特新材料科技有限公司 一种切边模具用cvd复合涂层及其制备方法

Citations (18)

* Cited by examiner, † Cited by third party
Publication number Priority date Publication date Assignee Title
US202032A (en) 1878-04-02 Improvement in bed-bottoms
US5709907A (en) 1995-07-14 1998-01-20 Kennametal Inc. Method of making coated cutting tools
US6161990A (en) 1998-11-12 2000-12-19 Kennametal Inc. Cutting insert with improved flank surface roughness and method of making the same
WO2002077312A2 (de) 2001-03-27 2002-10-03 Widia Gmbh Verfahren zur erhöhung der druckspannung oder zur erniedrigung der zugeigenspannung einer schicht
EP1455003A2 (de) 2003-01-24 2004-09-08 Sandvik AB Beschichteter Einsatz aus zementiertem Karbid
US20050202283A1 (en) 2004-03-12 2005-09-15 Gates Alfred S.Jr. Alumina coating, coated product and method of making the same
EP1245698B1 (de) 2001-03-26 2006-09-27 Mitsubishi Materials Corporation Beschichtetes Schneidwerkzeug
US7132153B2 (en) 2003-03-24 2006-11-07 Seco Tools Ab Coated cutting tool insert for machining of cast irons
US7396371B2 (en) 2004-06-24 2008-07-08 Sandvik Intellectual Property Ab Coated insert
US7470296B2 (en) 2004-07-13 2008-12-30 Sandvik Intellectual Property Ab Coated insert and method of making same
US7597951B2 (en) 2005-03-23 2009-10-06 Sandvik Intellectual Property Ab Coated cutting tool insert
EP1980649B1 (de) 2007-04-01 2010-08-18 Iscar Ltd. Schneideeinsatz mit keramischer Beschichtung
US20100255345A1 (en) 2007-06-28 2010-10-07 Kennametal Inc. Coated pcbn cutting insert, coated pcbn cutting tool using such coated pcbn cutting insert, and method for making the same
US8080312B2 (en) 2006-06-22 2011-12-20 Kennametal Inc. CVD coating scheme including alumina and/or titanium-containing materials and method of making the same
US8080323B2 (en) 2007-06-28 2011-12-20 Kennametal Inc. Cutting insert with a wear-resistant coating scheme exhibiting wear indication and method of making the same
US8323783B2 (en) 2009-11-10 2012-12-04 Kennametal Inc. Coated cutting insert and method for making the same
US20130045057A1 (en) 2011-05-10 2013-02-21 Sumitomo Electric Hardmetal Corp. Surface-coated cutting tool
DE112014001640T5 (de) 2013-03-28 2016-01-21 Kennametal Inc. Mehrschichtig strukturierte Beschichtungen für Schneidwerkzeuge

Family Cites Families (14)

* Cited by examiner, † Cited by third party
Publication number Priority date Publication date Assignee Title
DE2917348C2 (de) * 1979-04-28 1984-07-12 Fried. Krupp Gmbh, 4300 Essen Verschleißfester Verbundkörper
JPS586969A (ja) * 1981-07-06 1983-01-14 Mitsubishi Metal Corp 切削工具用表面被覆超硬合金部材
US5585176A (en) * 1993-11-30 1996-12-17 Kennametal Inc. Diamond coated tools and wear parts
EP0727509B1 (de) * 1995-02-17 2001-12-12 Seco Tools Ab Sinterkarbidsubstrat mit Mehrschichten aus Aluminien
SE518151C2 (sv) * 1997-12-10 2002-09-03 Sandvik Ab Multiskiktbelagt skärverktyg
SE518134C2 (sv) * 1997-12-10 2002-09-03 Sandvik Ab Multiskiktbelagt skärverktyg
JP3436169B2 (ja) * 1999-02-03 2003-08-11 三菱マテリアル株式会社 硬質被覆層を構成する酸化アルミニウム層がすぐれた靭性を発揮する表面被覆超硬合金製切削工具
US6638571B2 (en) * 2000-05-31 2003-10-28 Mitsubishi Materials Corporation Coated cemented carbide cutting tool member and process for producing the same
EP1323847A3 (de) * 2001-12-28 2005-09-14 Seco Tools Ab Beschichteter Hartmetallkörper und Verfahren zu seiner Herstellung
SE528107C2 (sv) * 2004-10-04 2006-09-05 Sandvik Intellectual Property Belagt hårdmetallskär, speciellt användbart för höghastighetsbearbetning av metalliska arbetsstycken
DE102004063816B3 (de) * 2004-12-30 2006-05-18 Walter Ag Al2O3-Multilagenplatte
JP5462549B2 (ja) * 2009-08-20 2014-04-02 住友電気工業株式会社 超硬合金
JP5818159B2 (ja) 2011-02-03 2015-11-18 三菱マテリアル株式会社 硬質被覆層がすぐれた耐チッピング性、耐欠損性を備える表面被覆切削工具
US9371580B2 (en) * 2013-03-21 2016-06-21 Kennametal Inc. Coated body wherein the coating scheme includes a coating layer of TiAl2O3 and method of making the same

Patent Citations (23)

* Cited by examiner, † Cited by third party
Publication number Priority date Publication date Assignee Title
US202032A (en) 1878-04-02 Improvement in bed-bottoms
US5709907A (en) 1995-07-14 1998-01-20 Kennametal Inc. Method of making coated cutting tools
US5722803A (en) 1995-07-14 1998-03-03 Kennametal Inc. Cutting tool and method of making the cutting tool
US6161990A (en) 1998-11-12 2000-12-19 Kennametal Inc. Cutting insert with improved flank surface roughness and method of making the same
EP1245698B1 (de) 2001-03-26 2006-09-27 Mitsubishi Materials Corporation Beschichtetes Schneidwerkzeug
WO2002077312A2 (de) 2001-03-27 2002-10-03 Widia Gmbh Verfahren zur erhöhung der druckspannung oder zur erniedrigung der zugeigenspannung einer schicht
EP1455003A2 (de) 2003-01-24 2004-09-08 Sandvik AB Beschichteter Einsatz aus zementiertem Karbid
US7132153B2 (en) 2003-03-24 2006-11-07 Seco Tools Ab Coated cutting tool insert for machining of cast irons
US7455918B2 (en) 2004-03-12 2008-11-25 Kennametal Inc. Alumina coating, coated product and method of making the same
US7785665B2 (en) 2004-03-12 2010-08-31 Kennametal Inc. Alumina coating, coated product and method of making the same
US20050202283A1 (en) 2004-03-12 2005-09-15 Gates Alfred S.Jr. Alumina coating, coated product and method of making the same
US7396371B2 (en) 2004-06-24 2008-07-08 Sandvik Intellectual Property Ab Coated insert
US7727592B2 (en) 2004-06-24 2010-06-01 Sandvik Intellectual Property Ab Coated insert
US7470296B2 (en) 2004-07-13 2008-12-30 Sandvik Intellectual Property Ab Coated insert and method of making same
US7597951B2 (en) 2005-03-23 2009-10-06 Sandvik Intellectual Property Ab Coated cutting tool insert
US8080312B2 (en) 2006-06-22 2011-12-20 Kennametal Inc. CVD coating scheme including alumina and/or titanium-containing materials and method of making the same
EP1980649B1 (de) 2007-04-01 2010-08-18 Iscar Ltd. Schneideeinsatz mit keramischer Beschichtung
US20100255345A1 (en) 2007-06-28 2010-10-07 Kennametal Inc. Coated pcbn cutting insert, coated pcbn cutting tool using such coated pcbn cutting insert, and method for making the same
US8080323B2 (en) 2007-06-28 2011-12-20 Kennametal Inc. Cutting insert with a wear-resistant coating scheme exhibiting wear indication and method of making the same
US8557406B2 (en) 2007-06-28 2013-10-15 Kennametal Inc. Coated PCBN cutting insert, coated PCBN cutting tool using such coated PCBN cutting insert, and method for making the same
US8323783B2 (en) 2009-11-10 2012-12-04 Kennametal Inc. Coated cutting insert and method for making the same
US20130045057A1 (en) 2011-05-10 2013-02-21 Sumitomo Electric Hardmetal Corp. Surface-coated cutting tool
DE112014001640T5 (de) 2013-03-28 2016-01-21 Kennametal Inc. Mehrschichtig strukturierte Beschichtungen für Schneidwerkzeuge

Non-Patent Citations (4)

* Cited by examiner, † Cited by third party
Title
Buch Machine Shop Practice [Industrial Press Inc., New York, New York (1981)] von Moltrecht enthält auf den Seiten 199 - 204
Chinchanikar et al., „Wear behavior of single-layer and multi-layer coated carbide inserts in high speed machining of hardened AISI 4340 steel", Journal of Mechanical Science and Technology, 27 (5), (2013), S. 1451 - 1459
Halvarsson et al., „Microstructure and performance of CVD κ-Al2O3 multilayers", Materials Science and Engineering, A209 (1996) S. 337 - 344
Seiten 302 - 315 des ASTE Tool Engineers Handbook, McGraw Hill Book Co., New York, New York (1949)

Also Published As

Publication number Publication date
US20160305018A1 (en) 2016-10-20
CN106065448A (zh) 2016-11-02
US10100405B2 (en) 2018-10-16
CN106065448B (zh) 2020-03-24
DE102016106952A1 (de) 2016-10-20

Similar Documents

Publication Publication Date Title
DE69509035T2 (de) Beschichtete Klinge aus Sinterkarbid auf Wolframkarbidbasis
DE112011101826B4 (de) Mehrschichtige Nitridhartbeschichtungen, Hartbeschichteter Gegenstand und Verfahren zu deren Herstellung
DE60026634T2 (de) Beschichteter Schneidwerkzeugeinsatz
EP0925386B1 (de) Verschleissschutz-beschichtetes werkstück
EP2250299B1 (de) Hartstoffbeschichteter körper
DE69334012T2 (de) Zementiertes karbid mit binderphase angereicherter oberflächenzone
DE112013002291T9 (de) Hartbeschichtung für ein Schneidwerkzeug
EP2252721B1 (de) Hartstoffbeschichteter körper
DE60214922T2 (de) Beschichtetes Schneidwerkzeug
DE112011101379T5 (de) Beschichtung für Schneidwerkzeuge
DE102012004367B4 (de) Mit Aluminiumoxynitrid beschichteter Gegenstand und Verfahren zu dessen Herstellung
DE112012003571B4 (de) Schneidwerkzeug
DE102016106952B4 (de) CVD-beschichteter Schneideinsatz und Verfahren zu dessen Herstellung
DE2511242A1 (de) Schneidwerkzeug mit laminiertem karbideinsatz
DE112014005858B4 (de) Alpha-Aluminiumoxid-Dünnschicht zum Bearbeiten von schwer zu zerspanendem Material und Gusseisen
DE112013002302B4 (de) Hartbeschichtung für ein Schneidwerkzeug
EP2686462B1 (de) Beschichteter körper und verfahren zu dessen herstellung
DE69227190T2 (de) Beschichteter schneideinsatz
DE69013678T2 (de) Multischichtiger hartmetall-schneideinsatz.
DE112014001520B4 (de) Beschichtungen für Schneidwerkzeuge
DE102015115859B4 (de) Mehrschichtig strukturierte Beschichtungen für Schneidwerkzeuge
DE112014001543B4 (de) Beschichtete Schneidplatte und Verfahren zum Herstellen einer beschichteten Schneidplatte
DE102012002394B4 (de) Beschichtete Substrate und Verfahren zu deren Herstellung
DE112014001640T5 (de) Mehrschichtig strukturierte Beschichtungen für Schneidwerkzeuge
DE112022004810T5 (de) Schneidwerkzeug mit Hartbeschichtung mit ausgezeichneter Verschleißfestigkeit und Zähigkeit

Legal Events

Date Code Title Description
R012 Request for examination validly filed
R016 Response to examination communication
R016 Response to examination communication
R018 Grant decision by examination section/examining division
R020 Patent grant now final