CN2621047Y - Air disinfection purification apparatus - Google Patents
Air disinfection purification apparatus Download PDFInfo
- Publication number
- CN2621047Y CN2621047Y CNU032572557U CN03257255U CN2621047Y CN 2621047 Y CN2621047 Y CN 2621047Y CN U032572557 U CNU032572557 U CN U032572557U CN 03257255 U CN03257255 U CN 03257255U CN 2621047 Y CN2621047 Y CN 2621047Y
- Authority
- CN
- China
- Prior art keywords
- nano
- net
- air disinfection
- voltage pulse
- high voltage
- Prior art date
- Legal status (The legal status is an assumption and is not a legal conclusion. Google has not performed a legal analysis and makes no representation as to the accuracy of the status listed.)
- Expired - Fee Related
Links
Images
Classifications
-
- Y—GENERAL TAGGING OF NEW TECHNOLOGICAL DEVELOPMENTS; GENERAL TAGGING OF CROSS-SECTIONAL TECHNOLOGIES SPANNING OVER SEVERAL SECTIONS OF THE IPC; TECHNICAL SUBJECTS COVERED BY FORMER USPC CROSS-REFERENCE ART COLLECTIONS [XRACs] AND DIGESTS
- Y02—TECHNOLOGIES OR APPLICATIONS FOR MITIGATION OR ADAPTATION AGAINST CLIMATE CHANGE
- Y02A—TECHNOLOGIES FOR ADAPTATION TO CLIMATE CHANGE
- Y02A50/00—TECHNOLOGIES FOR ADAPTATION TO CLIMATE CHANGE in human health protection, e.g. against extreme weather
- Y02A50/20—Air quality improvement or preservation, e.g. vehicle emission control or emission reduction by using catalytic converters
Landscapes
- Disinfection, Sterilisation Or Deodorisation Of Air (AREA)
Abstract
本实用新型公开了一种空气消毒净化器,包括壳体,电源控制,以及设在壳体外部的开关、控制钮、定时设置、电源插头,以及设在壳体内的风扇、隔板、催化反应装置、除尘装置,催化反应装置包括紫外灯、脉冲高压纳米光催化网和吸附光催化滤网,脉冲高压纳米光催化网和吸附光催化滤网紧贴在隔板上,隔板密封安装在风扇的下方,风扇安装在排气口处。本产品具有空气消毒灭菌、催化降解有机污染气体,清除污染微粒功能。更由于采用脉冲高压和紫外线光对纳米半导体氧化物的双重激发效应,使灭菌和有机污染气体降解的效率大为提高。
The utility model discloses an air disinfection purifier, which comprises a casing, a power supply control, a switch, a control button, a timing setting, a power plug arranged outside the casing, a fan, a partition, and a catalytic reaction device inside the casing. The device, dust removal device, and catalytic reaction device include ultraviolet lamps, pulsed high-voltage nano-photocatalytic nets and adsorption photocatalytic filters. Below, the fan is installed at the exhaust port. This product has the functions of air disinfection and sterilization, catalytic degradation of organic pollutant gases, and removal of pollutant particles. Moreover, due to the double excitation effect of pulsed high voltage and ultraviolet light on nano-semiconductor oxides, the efficiency of sterilization and organic pollution gas degradation is greatly improved.
Description
技术领域technical field
本实用新型涉及一种空气消毒净化器。The utility model relates to an air disinfection purifier.
背景技术Background technique
非典型肺炎流行以来,各方面(包括医院、公共场所、地铁、办公室、商场等)对空气消毒的需求极大增加。现有的空气消毒方法主要是过氧乙酸雾熏蒸法和紫外灯消毒法。用过氧乙酸雾熏蒸法消毒对设备有严重的腐蚀性,对人的眼睛、呼吸道有严重刺激;用紫外灯消毒时人不能在现场,使用受到限制。其他方法,由于灭菌效率较低,不能达到GB15982-1995的医院现场消毒的卫生标准。现各方面急需无毒副作用,灭菌效果好的空气消毒技术和设备。Since the SARS epidemic, the demand for air disinfection has greatly increased in all aspects (including hospitals, public places, subways, offices, shopping malls, etc.). Existing air disinfection methods are mainly peracetic acid mist fumigation and ultraviolet lamp disinfection. Disinfection with peracetic acid mist fumigation is highly corrosive to equipment and severely irritating to human eyes and respiratory tract; people cannot be on site when disinfecting with ultraviolet lamps, and their use is restricted. Other methods, due to their low sterilization efficiency, cannot meet the hygienic standards for on-site hospital disinfection of GB15982-1995. There is an urgent need for air disinfection technology and equipment with no toxic and side effects and good sterilization effect.
发明内容Contents of the invention
本实用新型的目的是提供一种采用TiO2纳米光催化材料在脉冲高压非平衡态电场和紫外线的双重激发作用下,对微生物和空气中机污染物的进行分解,并采用过滤装置去除污染微粒,达到空气消毒和净化的空气消毒净化器。The purpose of this utility model is to provide a kind of use TiO 2 nanometer photocatalytic material under the double excitation action of pulse high voltage non-equilibrium state electric field and ultraviolet ray, decompose microbes and organic pollutants in air, and adopt filtering device to remove polluting particles , to achieve air disinfection and purification of the air disinfection purifier.
本实用新型的一种空气消毒净化器,包括壳体,电源控制,以及设在壳体上的进气口、排气口、电源开关、电源插头、控制钮、时间设置,以及设在壳体内的风扇、除尘过滤装置,还包括由紫外灯、脉冲高压纳米光催化网和吸附光催化滤网组成的催化反应装置,脉冲高压纳米光催化网和吸附光催化滤网紧贴在一起,并安装在隔板有孔处,隔板固定在壳体内,紫外灯安装在隔板下方的壳体上。An air disinfection and purifier of the utility model comprises a housing, a power control, and an air inlet, an exhaust port, a power switch, a power plug, a control button, and a time setting arranged on the housing. The fan, dust removal and filtering device, also includes a catalytic reaction device composed of an ultraviolet lamp, a pulsed high-voltage nano-photocatalytic net and an adsorption photocatalytic filter. Where the partition has holes, the partition is fixed in the casing, and the ultraviolet lamp is installed on the casing below the partition.
所述的空气消毒净化器,由紫外灯、脉冲高压纳米光催化网和吸附光催化滤网组成的催化反应装置,具有脉冲高压非平衡态电场和紫外线的双重激发作用,可以使价电子跃迁和空穴产生的数量大大增加,从而显著提高催化反应效率,同时吸附光催化滤网有很好的吸附功能,上述作用使本产品的灭菌和有机污染气体降解的效率大为提高。The air disinfection purifier is a catalytic reaction device composed of a UV lamp, a pulsed high-voltage nano-photocatalytic net and an adsorption photocatalytic filter. It has the double excitation of a pulsed high-voltage non-equilibrium electric field and ultraviolet rays, which can make valence electrons transition and The number of holes generated is greatly increased, thereby significantly improving the efficiency of the catalytic reaction. At the same time, the adsorption photocatalytic filter has a good adsorption function. The above effects greatly improve the efficiency of the sterilization of this product and the degradation of organic pollutant gases.
所述的空气消毒净化器,其脉冲高压纳米光催化网是表面涂有搀杂稀土的纳米TiO2光催化材料的金属网。Said air disinfection purifier, its pulse high-voltage nano-photocatalytic net is a metal net coated with rare-earth-doped nano- TiO2 photocatalytic material.
所述的空气消毒净化器,其吸附光催化滤网是由表面涂有搀杂稀土的纳米TiO2光催化材料的活性炭纤维织物网。Described air disinfection purifier, its adsorption photocatalytic filter screen is by the activated carbon fiber fabric net that the surface is coated with rare earth-doped nano TiO 2 photocatalytic material.
所述的空气消毒净化器,其脉冲高压纳米光催化网和吸附光催化滤网上的TiO2颗粒的尺寸小于30纳米。In the air disinfection purifier, the size of the TiO 2 particles on the pulsed high-voltage nano photocatalytic net and the adsorption photocatalytic filter net is less than 30 nanometers.
所述的空气消毒净化器,其脉冲高压纳米光催化网工作时接通10~30KV的高压脉冲电源。The air disinfection and purifier described above, when the pulsed high-voltage nano photocatalytic network is working, is connected to a high-voltage pulse power supply of 10-30KV.
所述的空气消毒净化器,其除尘过滤装置是由高压静电集尘网、粗过滤网和细过滤网构成,高压静电集尘网工作时接通高压静电电源。Said air disinfection purifier, its dust removal and filtering device is composed of a high-voltage electrostatic dust collection net, a coarse filter and a fine filter, and the high-voltage electrostatic dust collection net is connected to a high-voltage electrostatic power supply when it is working.
本实用新型的优点:采用脉冲高压非平衡态电场和紫外线的双重激发作用,可以使价电子跃迁和空穴产生的数量大大提高,同时吸附光催化滤网有很好的吸附功能,上述作用使本产品的灭菌和有机污染气体降解的效率大为提高。本产品在使用过程中不会产生常规标准空气消毒方法(过氧乙酸熏蒸法和紫外灯灭菌法)的毒副作用。The utility model has the advantages: the dual excitation of pulsed high-voltage non-equilibrium electric field and ultraviolet rays can greatly increase the number of valence electron transitions and hole generation, and at the same time, the adsorption photocatalytic filter has a good adsorption function. The efficiency of sterilization and organic pollution gas degradation of this product is greatly improved. This product will not produce toxic and side effects of conventional standard air disinfection methods (peracetic acid fumigation method and ultraviolet lamp sterilization method) during use.
附图说明Description of drawings
图1是本实用新型的结构剖视图。Fig. 1 is a structural sectional view of the utility model.
图2是壳体外观正面视图。Fig. 2 is a front view of the shell appearance.
图3是本实用新型的电路图。Fig. 3 is a circuit diagram of the utility model.
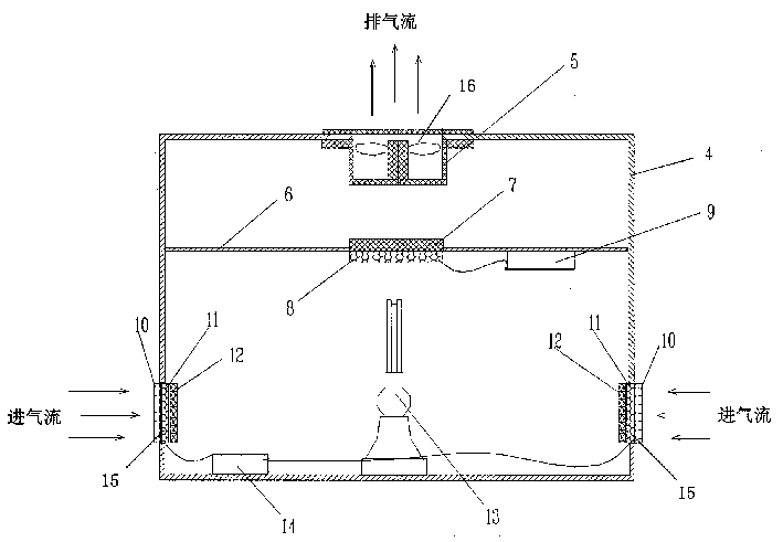
图中:1.时间设值 2.电源开关 3.控制钮 4.壳体 5.风扇 6.隔板 7.吸附光催化滤网 8.脉冲高压纳米光催化网9.高压脉冲电源 10.高压静电集尘网 11.粗过滤网 12.细过滤网 13.紫外灯 14.高压静电电源 15.进气口 16.排气口In the figure: 1. Time setting 2. Power switch 3. Control button 4. Housing 5. Fan 6. Partition 7. Adsorption
具体实施方式Detailed ways
本实用新型是一种新型纳米材料光催化空气消毒净化器,由壳体4,电源控制,以及设在壳体4上的进气口15、排气口16、电源开关1、时间设置2、控制钮3、电源插头,以及设在壳体4内的风扇5、隔板6、吸附光催化滤网7、脉冲高压纳米光催化网8、紫外灯13、除尘过滤装置组成。进气口15设在壳体4的下半部,进气口15处设有除尘过滤装置,除尘过滤装置由高压静电集尘网10、粗过滤网11和细过滤网12按此先后顺序固接构成,高压静电集尘网10工作时接通高压静电电源14。排气口16设在壳体4的顶部,排气口16的下方即在壳体内设有风扇5,风扇5通过风扇壳固定在壳体4内,风扇5的下方设有隔板6,隔板6密封固定在壳体4上,隔板6有孔处安装有吸附光催化滤网7和脉冲高压纳米光催化网8,脉冲高压纳米光催化网8和吸附光催化滤网7紧贴在一起,紫外灯13固定在壳体4内。The utility model is a novel nano-material photocatalytic air disinfection purifier, which is controlled by a housing 4, a power supply, an air inlet 15, an exhaust outlet 16, a
本实用新型的电源控制电路由图3说明。整个控制系统,是工作在220V电压50ZH频率的电源环境,T1是双刀开关电源,能同时切断相线和零线,彻底和供电电网脱开,确保使用者安全;在进线处都装有断路器(R1、R2),使整个线路有一明显断开点,设立了安全保障。The power supply control circuit of the present utility model is illustrated by Fig. 3 . The entire control system works in a power supply environment with 220V voltage and 50ZH frequency. T1 is a double-pole switching power supply, which can cut off the phase line and neutral line at the same time, completely disconnected from the power supply grid, and ensure the safety of users; The circuit breaker (R1, R2) makes the whole circuit have an obvious disconnection point and sets up a safety guarantee.
电路中S1是电子定时器,是由用户自由设定系统开启时间和关断时间,并有由用户任意设定开启次数,如可一次设定一天内多次启停时间段。S1 in the circuit is an electronic timer, which is freely set by the user to turn on and turn off the system, and the number of turns on can be set arbitrarily by the user.
B1是高压静电发生器,为静电集尘网10提供直流高压,将浮尘吸到网上,达到滤尘效果。B1 is a high-voltage electrostatic generator, which provides DC high voltage for the electrostatic
B2是高压脉冲发生器,为光催化网8提供脉冲高压,形成高压脉冲电场,有效提高了催化效率。B2 is a high-voltage pulse generator, which provides high-voltage pulses for the
D1是紫外灯电源。D1 is the UV lamp power supply.
T2是风扇电源开关。T2 is the fan power switch.
M1是风扇驱动电机。M1 is the fan drive motor.
本实用新型的空气净化消毒器,其脉冲高压纳米光催化网8是表面涂有搀杂稀土的纳米TiO2光催化材料的金属网,脉冲高压纳米光催化网8工作时接通10~30KV脉冲高压电源9,在脉冲高压产生的非平衡态电场和紫外线共同的价电子跃迁激发作用下,纳米TiO2光催化材料的光催化效率会显著高于仅用紫外线的价电子跃迁激发的情况。In the air purifying and sterilizing device of the present utility model, its pulse high-voltage nano
本实用新型的空气净化消毒器,其吸附光催化滤网7是由表面涂有搀杂稀土的纳米TiO2光催化材料的活性炭纤维织物制成,具有光催化降解和吸附功能。In the air purifying and disinfecting device of the present utility model, its adsorption photocatalytic filter screen 7 is made of activated carbon fiber fabric whose surface is coated with rare earth-doped nano TiO2 photocatalytic material, and has photocatalytic degradation and adsorption functions.
本实用新型的空气净化消毒器,脉冲高压纳米光催化网8和吸附光催化滤网7在安装上是紧贴在一起的,这样脉冲高压纳米光催化网8上脉冲高压产生非平衡态强电场对吸附光催化滤网7表面的纳米TiO2光催化材料也同时有价电子跃迁激发作用。在紫外灯13光源和脉冲高压电场的共同作用下,脉冲高压纳米光催化网8和吸附光催化滤网7对空气中的有机污染物和细菌、病毒实现高效率的光催化降解,实现空气的净化和消毒。In the air purifying and disinfecting device of the present utility model, the pulsed high-voltage nano-
打开电源开关1,风扇5、紫外灯13、高压静电电源14和高压脉冲电源9导通电源,在风扇5转动形成气流的状况下,外部待净化的气体由进气口15被吸入消毒净化器内。经过静电集尘网10、粗过滤网11、细过滤网12将空气中的微尘颗粒过滤掉,气流进入光催化区域;气流经过脉冲高压纳米光催化网8、吸附光催化网7,在光催化区内,在脉冲高压电场和紫外线双重激发作用下,纳米TiO2产生的羟基自由基和活性氧使空气中的细菌、病毒和有机污染物被氧化分解为CO2和水蒸气,经消毒和净化的空气最后从排气口16排出。Turn on the
在实验中,发明人利用自制的消毒净化器样机,在医院进行了现场空气灭菌实验,房间面积为6~7平方米,进行封闭灭菌,灭菌结果如下:
在实验中,发明人利用自制的消毒净化器样机,在办公楼进行了现场纳米光催化降解空气污染的实验。试验结果如下:
光催化降解原理:TiO2的禁带宽度为3.2eV(锐钛型),在波长小于400nm的光照射下,价带电子被激发到导带形成空穴——电子对。电子与空穴发生分离,迁移到粒子表面的不同位置。热力学理论表明,分布在表面的空穴h+可以将吸附在TiO2表面的OH-和H2O分子氧化成羟基自由基。羟基自由基的氧化能力是水体中存在的氧化剂中最强的,能氧化大部分的有机污染物及部分无机污染物,将其最终降解为CO2、H2O等无害物质,而且羟基自由基对反应物几乎无选择性,因而在光催化氧化中起着决定性的作用。Principle of photocatalytic degradation: TiO 2 has a forbidden band width of 3.2eV (anatase type). Under light irradiation with a wavelength of less than 400nm, electrons in the valence band are excited to the conduction band to form hole-electron pairs. The electrons and holes are separated and migrate to different locations on the surface of the particle. The thermodynamic theory shows that the holes h+ distributed on the surface can oxidize the OH- and H 2 O molecules adsorbed on the surface of TiO 2 into hydroxyl radicals. The oxidation ability of hydroxyl radicals is the strongest among the oxidants existing in water bodies. It can oxidize most organic pollutants and some inorganic pollutants, and finally degrade them into harmless substances such as CO 2 and H 2 O. Moreover, the hydroxyl radicals are free The radical has almost no selectivity to the reactants and thus plays a decisive role in the photocatalytic oxidation.
本产品采用脉冲高压非平衡态电场和紫外线的双重激发作用,可以使价电子跃迁和空穴产生的数量大大提高,同时吸附光催化滤网有很好的吸附功能,上述作用使本产品的灭菌和有机污染气体降解的效率大为提高。本产品在使用过程中不会产生常规标准空气消毒方法(过氧乙酸熏蒸法和紫外灯灭菌法)的毒副作用。This product adopts the dual excitation of pulsed high-voltage non-equilibrium electric field and ultraviolet rays, which can greatly increase the number of valence electron transitions and holes generated. At the same time, the adsorption photocatalytic filter has a good adsorption function. The efficiency of bacteria and organic pollutant gas degradation is greatly improved. This product will not produce toxic and side effects of conventional standard air disinfection methods (peracetic acid fumigation method and ultraviolet lamp sterilization method) during use.
本实用新型的产品可应用在医院、宾馆、会议室、家庭。The product of the utility model can be applied in hospitals, hotels, conference rooms and families.
Claims (7)
Priority Applications (1)
| Application Number | Priority Date | Filing Date | Title |
|---|---|---|---|
| CNU032572557U CN2621047Y (en) | 2003-05-15 | 2003-05-15 | Air disinfection purification apparatus |
Applications Claiming Priority (1)
| Application Number | Priority Date | Filing Date | Title |
|---|---|---|---|
| CNU032572557U CN2621047Y (en) | 2003-05-15 | 2003-05-15 | Air disinfection purification apparatus |
Publications (1)
| Publication Number | Publication Date |
|---|---|
| CN2621047Y true CN2621047Y (en) | 2004-06-23 |
Family
ID=34254179
Family Applications (1)
| Application Number | Title | Priority Date | Filing Date |
|---|---|---|---|
| CNU032572557U Expired - Fee Related CN2621047Y (en) | 2003-05-15 | 2003-05-15 | Air disinfection purification apparatus |
Country Status (1)
| Country | Link |
|---|---|
| CN (1) | CN2621047Y (en) |
Cited By (9)
| Publication number | Priority date | Publication date | Assignee | Title |
|---|---|---|---|---|
| CN101869719A (en) * | 2010-06-09 | 2010-10-27 | 滕龙海 | Ultraviolet sterilization, lighting and air purification device |
| CN103191457A (en) * | 2013-04-24 | 2013-07-10 | 苏州吴盛环保科技有限公司 | Photocatalysis sterilization deodorization device |
| CN105465898A (en) * | 2014-09-03 | 2016-04-06 | 中国科学院城市环境研究所 | Photocatalyst air purifier |
| WO2017045588A1 (en) * | 2015-09-14 | 2017-03-23 | Lifa Air Environmental Technology Limited | Apparatus to purify fresh air using biodegradable filter |
| CN106979560A (en) * | 2017-06-08 | 2017-07-25 | 合肥峰腾节能科技有限公司 | A kind of domestic air purification chlorination equipment |
| CN107162094A (en) * | 2017-04-26 | 2017-09-15 | 东华大学 | A kind of photo catalysis reactor, reaction system and method |
| CN107238154A (en) * | 2017-06-08 | 2017-10-10 | 合肥峰腾节能科技有限公司 | A kind of air cleaning unit with dehumidification function |
| CN107655095A (en) * | 2017-10-25 | 2018-02-02 | 林清 | A kind of movable medical air cleaning unit |
| CN112413796A (en) * | 2020-11-25 | 2021-02-26 | 北京新风航天装备有限公司 | Sterilizing equipment for air purification based on ultraviolet pulse laser |
-
2003
- 2003-05-15 CN CNU032572557U patent/CN2621047Y/en not_active Expired - Fee Related
Cited By (10)
| Publication number | Priority date | Publication date | Assignee | Title |
|---|---|---|---|---|
| CN101869719A (en) * | 2010-06-09 | 2010-10-27 | 滕龙海 | Ultraviolet sterilization, lighting and air purification device |
| CN103191457A (en) * | 2013-04-24 | 2013-07-10 | 苏州吴盛环保科技有限公司 | Photocatalysis sterilization deodorization device |
| CN105465898A (en) * | 2014-09-03 | 2016-04-06 | 中国科学院城市环境研究所 | Photocatalyst air purifier |
| WO2017045588A1 (en) * | 2015-09-14 | 2017-03-23 | Lifa Air Environmental Technology Limited | Apparatus to purify fresh air using biodegradable filter |
| US10258918B2 (en) | 2015-09-14 | 2019-04-16 | Lifa Air Environmental Technology Limited | Apparatus to purify fresh air using biodegradable filter |
| CN107162094A (en) * | 2017-04-26 | 2017-09-15 | 东华大学 | A kind of photo catalysis reactor, reaction system and method |
| CN106979560A (en) * | 2017-06-08 | 2017-07-25 | 合肥峰腾节能科技有限公司 | A kind of domestic air purification chlorination equipment |
| CN107238154A (en) * | 2017-06-08 | 2017-10-10 | 合肥峰腾节能科技有限公司 | A kind of air cleaning unit with dehumidification function |
| CN107655095A (en) * | 2017-10-25 | 2018-02-02 | 林清 | A kind of movable medical air cleaning unit |
| CN112413796A (en) * | 2020-11-25 | 2021-02-26 | 北京新风航天装备有限公司 | Sterilizing equipment for air purification based on ultraviolet pulse laser |
Similar Documents
| Publication | Publication Date | Title |
|---|---|---|
| CN201143317Y (en) | Electrostatic field plasma air purification device | |
| CN100441966C (en) | Vertical Photocatalytic Air Purifier | |
| CN208431874U (en) | A kind of low concentration formaldehyde air purifier | |
| CN203364250U (en) | Filtering dedusting disinfection apparatus of indoor air purifier | |
| CN101280943B (en) | A device for long-term purification of compound pollution in indoor air | |
| CN207815524U (en) | A kind of air purifier having except ozone function | |
| WO2021196703A1 (en) | Air-supply-type dynamic filtration and static sterilization and disinfection air purification system | |
| CN101322852B (en) | Toilet air purification device | |
| CN2747497Y (en) | Vertical photocatalysed air purifier | |
| CN203276733U (en) | A video display device with one or more air disinfection and purification technologies | |
| CN2621047Y (en) | Air disinfection purification apparatus | |
| CN108954533A (en) | A kind of plasma generation ladder type module and the module deodorization and disinfection purification device | |
| CN206094328U (en) | An air purification device based on photocatalytic technology | |
| CN2603697Y (en) | Water-washing photocatalytic air purifier | |
| CN106196321A (en) | A kind of novel photocatalysis air purifier and the method purifying air | |
| CN2639769Y (en) | Air sterilizing, dust removing and purifying equipment | |
| CN102145190B (en) | High-frequency pulse light air purification and disinfection device | |
| CN1486778A (en) | Photocatalytic Air Purifier | |
| CN205092016U (en) | Public place is with compound air purification advertisement machine | |
| CN201692352U (en) | High-frequency pulsed light air purification and disinfection device | |
| CN2676079Y (en) | Air purification sterilizing machine | |
| CN201028708Y (en) | indoor air purifier | |
| CN212132743U (en) | Air supply type dynamic filtering and static sterilizing air purifying system | |
| CN201235100Y (en) | Air purifier | |
| CN2640468Y (en) | Multifunction high efficiency air purifying sterilizer |
Legal Events
| Date | Code | Title | Description |
|---|---|---|---|
| C14 | Grant of patent or utility model | ||
| GR01 | Patent grant | ||
| C19 | Lapse of patent right due to non-payment of the annual fee | ||
| CF01 | Termination of patent right due to non-payment of annual fee |
