CN219335525U - Stamping forming device - Google Patents
Stamping forming device Download PDFInfo
- Publication number
- CN219335525U CN219335525U CN202223051014.5U CN202223051014U CN219335525U CN 219335525 U CN219335525 U CN 219335525U CN 202223051014 U CN202223051014 U CN 202223051014U CN 219335525 U CN219335525 U CN 219335525U
- Authority
- CN
- China
- Prior art keywords
- stamping
- frame
- support
- forming device
- support plate
- Prior art date
- Legal status (The legal status is an assumption and is not a legal conclusion. Google has not performed a legal analysis and makes no representation as to the accuracy of the status listed.)
- Expired - Fee Related
Links
Images
Landscapes
- Bending Of Plates, Rods, And Pipes (AREA)
Abstract
本实用新型涉及冲压成型技术领域,且公开了一种冲压成型装置,包括支撑板,所述支撑板的顶部固定安装有成型框;所述成型框的内部设有与其适配的并可上下移动的冲压块;所述支撑板上位于成型框的一侧设有支撑导向件;所述支撑导向件上设有送料顶出机构。本实用新型提出一种冲压成型装置,本实用新型通过设有支撑导向件,以对板材件进行放置,配合送料顶出机构,对板材件进行上料的同时将冲压成型板材件进行移出,以完成上料和下料的效果,进而提高生产效率。
The utility model relates to the technical field of stamping and forming, and discloses a stamping and forming device, comprising a support plate, a forming frame is fixedly installed on the top of the support plate; The stamping block; the support plate is provided with a support guide on one side of the forming frame; the support guide is provided with a feeding ejection mechanism. The utility model proposes a stamping and forming device. The utility model is equipped with a supporting guide to place the plate parts, and cooperates with the feeding and ejecting mechanism to remove the stamped and formed plate parts while feeding the plate parts. Complete the effect of loading and unloading, thereby improving production efficiency.
Description
技术领域technical field
本实用新型涉及冲压成型领域,尤其涉及一种冲压成型装置。The utility model relates to the field of stamping forming, in particular to a stamping forming device.
背景技术Background technique
冲压成型是指靠压力机和模具对板材、带材、管材和型材等施加外力,使之产生塑性变形或分离,从而获得所需形状和尺寸的工件(冲压件)的加工成型方法。Stamping forming refers to the process of applying external force to plates, strips, pipes and profiles by presses and molds to cause plastic deformation or separation, so as to obtain workpieces (stamping parts) of required shape and size.
而现有一些冲压成型模具在对板材进行冲压成所需形状后需要人工将冲压后的件进行移出,并再次放入待冲压的板材件,造成了耗费时间的现象,不利于提高生产效率。However, some existing stamping molds need to manually remove the stamped parts after stamping the sheet into the required shape, and put the sheet parts to be punched again, which causes time-consuming phenomenon and is not conducive to improving production efficiency.
为解决上述问题,本申请中提出一种冲压成型装置。In order to solve the above problems, this application proposes a stamping and forming device.
实用新型内容Utility model content
(一)实用新型目的(1) Purpose of utility model
为解决背景技术中存在的技术问题,本实用新型提出一种冲压成型装置,本实用新型通过设有支撑导向件,以对板材件进行放置,配合送料顶出机构,对板材件进行上料的同时将冲压成型板材件进行移出,以完成上料和下料的效果,进而提高生产效率。In order to solve the technical problems existing in the background technology, the utility model proposes a stamping forming device. The utility model is equipped with a supporting guide to place the plate parts, and cooperates with the feeding and ejecting mechanism to load the plate parts. At the same time, the stamped and formed sheet parts are removed to complete the effect of loading and unloading, thereby improving production efficiency.
(二)技术方案(2) Technical solution
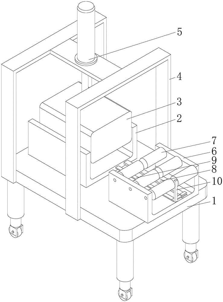
为解决上述问题,本实用新型提供了一种冲压成型装置,包括支撑板,所述支撑板的顶部固定安装有成型框;In order to solve the above problems, the utility model provides a stamping forming device, which includes a support plate, and a forming frame is fixedly installed on the top of the support plate;
所述成型框的内部设有与其适配的并可上下移动的冲压块;The inside of the forming frame is provided with a stamping block that is adapted to it and can move up and down;
所述支撑板上位于成型框的一侧设有支撑导向件;A support guide is provided on one side of the forming frame on the support plate;
所述支撑导向件上设有送料顶出机构。The supporting guide is provided with a feeding and ejecting mechanism.
优选的,所述支撑板上固定安装有支撑架,所述支撑架上固定安装有液压缸,所述液压缸驱动杆的与冲压块固定连接。Preferably, a support frame is fixedly installed on the support plate, a hydraulic cylinder is fixedly installed on the support frame, and the driving rod of the hydraulic cylinder is fixedly connected with the stamping block.
优选的,所述支撑导向件包括支撑框和转辊,所述支撑框固定安装在支撑板上,所述转辊的一端通过转轴与支撑框转动连接。Preferably, the supporting guide includes a supporting frame and a rotating roller, the supporting frame is fixedly mounted on the supporting plate, and one end of the rotating roller is rotatably connected to the supporting frame through a rotating shaft.
优选的,所述送料顶出机构包括导轨、直角顶杆和推杆,所述导轨固定安装在支撑框的内部,所述导轨的滑台通过直角顶杆与推杆固定连接。Preferably, the feeding and ejecting mechanism includes a guide rail, a right-angle ejector rod and a push rod, the guide rail is fixedly installed inside the support frame, and the slide table of the guide rail is fixedly connected to the push rod through the right-angle ejector rod.
优选的,所述支撑框与成型框的两侧均固定安装有限位板。Preferably, both sides of the supporting frame and the forming frame are fixedly equipped with limiting plates.
优选的,所述支撑板上远离支撑框的一侧固定安装有导料板。Preferably, a material guide plate is fixedly installed on the side of the support plate away from the support frame.
本实用新型的上述技术方案具有如下有益的技术效果:The above technical solution of the utility model has the following beneficial technical effects:
启动液压缸可带动冲压块朝向成型框的内部移动,以对板材件进行冲压成型,通过将待冲压的板材件放置在转辊上,推动推杆沿着支撑板的长度方向移动,以带动板材件前移,直至搭放在成型框上,板材件前移的同时,直角顶出杆对位于成型框内部成型的板材件进行水平顶出,从而完成了上料和下料的同步进行,以提高生产效率。Start the hydraulic cylinder to drive the stamping block to move towards the inside of the forming frame to stamp the plate. By placing the plate to be stamped on the roller, push the push rod to move along the length of the support plate to drive the plate. The parts move forward until they are placed on the forming frame. When the plate parts move forward, the right-angle ejector bar will horizontally eject the plate parts formed inside the forming frame, thus completing the simultaneous loading and unloading. Increase productivity.
附图说明Description of drawings
图1为本实用新型提出的一种冲压成型装置的结构示意图。Fig. 1 is a structural schematic diagram of a stamping forming device proposed by the utility model.
图2为本实用新型提出的一种冲压成型装置中的部分结构示意图。Fig. 2 is a partial structural schematic diagram of a stamping forming device proposed by the utility model.
图3为本实用新型提出的一种冲压成型装置中板材件在成型框内成型后的结构示意图。Fig. 3 is a structural schematic diagram of a sheet metal part formed in a forming frame in a stamping forming device proposed by the present invention.
附图标记:1、支撑板;2、成型框;3、冲压块;4、支撑架;5、液压缸;6、支撑框;7、转辊;8、导轨;9、直角顶杆;10、推杆。Reference signs: 1. Support plate; 2. Forming frame; 3. Stamping block; 4. Support frame; 5. Hydraulic cylinder; 6. Support frame; 7. Roller; 8. Guide rail; , putter.
具体实施方式Detailed ways
为使本实用新型的目的、技术方案和优点更加清楚明了,下面结合具体实施方式并参照附图,对本实用新型进一步详细说明。应该理解,这些描述只是示例性的,而并非要限制本实用新型的范围。此外,在以下说明中,省略了对公知结构和技术的描述,以避免不必要地混淆本实用新型的概念。In order to make the purpose, technical solutions and advantages of the utility model clearer, the utility model will be further described in detail below in combination with specific embodiments and with reference to the accompanying drawings. It should be understood that these descriptions are only exemplary and not intended to limit the scope of the present invention. In addition, in the following description, descriptions of known structures and technologies are omitted to avoid unnecessarily confusing the concept of the present invention.
如图1-2所示,本实用新型提出的一种冲压成型装置,包括支撑板1,支撑板1的顶部固定安装有成型框2;As shown in Figure 1-2, a stamping forming device proposed by the utility model includes a support plate 1, and a forming
成型框2的内部设有与其适配的并可上下移动的冲压块3;The inside of the forming
支撑板1上位于成型框2的一侧设有支撑导向件;A supporting guide is provided on one side of the forming
支撑导向件上设有送料顶出机构。A feeding and ejecting mechanism is arranged on the supporting guide.
进一步的,支撑板1的底部固定安装有支撑腿,且支撑腿上安装有滚轮,以利于对整个装置进行移动。Further, support legs are fixedly installed on the bottom of the support plate 1, and rollers are installed on the support legs, so as to facilitate the movement of the whole device.
在一个可选的实施例中,支撑板1上固定安装有支撑架4,支撑架4上固定安装有液压缸5,液压缸5驱动杆的与冲压块3固定连接。In an optional embodiment, a
在一个可选的实施例中,支撑导向件包括支撑框6和转辊7,支撑框6固定安装在支撑板1上,转辊7的一端通过转轴与支撑框6转动连接。In an optional embodiment, the supporting guide includes a supporting
需要说明的是,转辊7的外周上固定套装有橡胶套;转辊7的顶部与成型框2的顶部齐平,以使得板材件可顺利移动至成型框2上进行放置。It should be noted that the outer circumference of the rotating roller 7 is fixedly covered with a rubber sleeve; the top of the rotating roller 7 is flush with the top of the forming
在一个可选的实施例中,送料顶出机构包括导轨8、直角顶杆9和推杆10,导轨8固定安装在支撑框6的内部,导轨8的滑台通过直角顶杆9与推杆10固定连接。In an optional embodiment, the feeding and ejecting mechanism includes a
进一步的,导轨8可替换为无杆气缸,且无杆气缸的滑台与直角顶杆9的一端固定连接,以增加动作的快速性。Further, the
需要说明的是,转辊7的数量为多个,且多个转辊7平均分为两组,且两组转辊7之间形成可供推杆10通过的间距区域。It should be noted that the number of the rotating rollers 7 is multiple, and the plurality of rotating rollers 7 are equally divided into two groups, and a space area for the
在一个可选的实施例中,支撑框6与成型框2的两侧均固定安装有限位板。In an optional embodiment, both sides of the supporting
需要说明的是,在限位板的作用下,可对板材件在水平方向的位置进行限位。It should be noted that, under the action of the limiting plate, the position of the plate member in the horizontal direction can be limited.
在一个可选的实施例中,支撑板1上远离支撑框6的一侧固定安装有导料板。In an optional embodiment, a material guide plate is fixedly installed on a side of the support plate 1 away from the
需要说明的是,由成型框2内部移出的成型料板可由导料板导出。It should be noted that the forming material sheet removed from the inside of the forming
本实用新型中,启动液压缸5可带动冲压块3朝向成型框2的内部移动,以对板材件进行冲压成型,通过将待冲压的板材件放置在转辊7上,推动推杆10沿着支撑板1的长度方向移动,以带动板材件前移,直至搭放在成型框2上,板材件前移的同时,直角顶出杆9对位于成型框2内部成型的板材件进行水平顶出,从而完成了上料和下料的同步进行,以提高生产效率。In the present utility model, the starting hydraulic cylinder 5 can drive the stamping block 3 to move towards the inside of the forming
应当理解的是,本实用新型的上述具体实施方式仅仅用于示例性说明或解释本实用新型的原理,而不构成对本实用新型的限制。因此,在不偏离本实用新型的精神和范围的情况下所做的任何修改、等同替换、改进等,均应包含在本实用新型的保护范围之内。此外,本实用新型所附权利要求旨在涵盖落入所附权利要求范围和边界、或者这种范围和边界的等同形式内的全部变化和修改例。It should be understood that the above specific embodiments of the present utility model are only used to illustrate or explain the principle of the present utility model, but not to limit the present utility model. Therefore, any modification, equivalent replacement, improvement, etc. made without departing from the spirit and scope of the present utility model shall be included in the protection scope of the present utility model. Furthermore, the appended claims are intended to cover all changes and modifications that come within the scope and boundaries of the appended claims, or equivalents of such scope and boundaries.
Claims (6)
Priority Applications (1)
| Application Number | Priority Date | Filing Date | Title |
|---|---|---|---|
| CN202223051014.5U CN219335525U (en) | 2022-11-16 | 2022-11-16 | Stamping forming device |
Applications Claiming Priority (1)
| Application Number | Priority Date | Filing Date | Title |
|---|---|---|---|
| CN202223051014.5U CN219335525U (en) | 2022-11-16 | 2022-11-16 | Stamping forming device |
Publications (1)
| Publication Number | Publication Date |
|---|---|
| CN219335525U true CN219335525U (en) | 2023-07-14 |
Family
ID=87076725
Family Applications (1)
| Application Number | Title | Priority Date | Filing Date |
|---|---|---|---|
| CN202223051014.5U Expired - Fee Related CN219335525U (en) | 2022-11-16 | 2022-11-16 | Stamping forming device |
Country Status (1)
| Country | Link |
|---|---|
| CN (1) | CN219335525U (en) |
-
2022
- 2022-11-16 CN CN202223051014.5U patent/CN219335525U/en not_active Expired - Fee Related
Similar Documents
| Publication | Publication Date | Title |
|---|---|---|
| CN105013887A (en) | Bending machine used for bending plates | |
| CN207724458U (en) | A kind of plastic parts stamping equipment | |
| CN206997490U (en) | The multidirectional punching die of the U-shaped aluminium sheet of reflectal | |
| CN103057154B (en) | Loading and unloading mechanism used for molds of press machine | |
| CN219335525U (en) | Stamping forming device | |
| CN103538142B (en) | A kind of horizontal moving circulative mechanism for die | |
| CN205926696U (en) | Transport formula bender | |
| CN210436365U (en) | Concrete prefabricated component mould shedder | |
| CN215750902U (en) | Press fitting device for plate processing | |
| CN203343300U (en) | Device special for forming hydraulic machine replacement die | |
| CN115318957A (en) | Stamping die and using method thereof | |
| CN112222258B (en) | Multi-station punching machine conveying device for automobile part production and use method thereof | |
| CN221873308U (en) | Tablet pressing mechanism of pharmaceutical tablet press | |
| CN221909311U (en) | Urea tank end cover stamping forming device | |
| CN218873612U (en) | Demoulding device of hot die forging hydraulic press | |
| CN202514337U (en) | Capsule strain forming machine | |
| CN206394095U (en) | A punch automatic feeding device | |
| CN113601858B (en) | A kind of pasting cotton formwork equipment | |
| CN105253682B (en) | A kind of thimble positioning die-cutting paper product conveying equipment | |
| CN205147157U (en) | Push away waste material device | |
| CN203198284U (en) | Loading and unloading mechanism for dies on press machine | |
| CN116140486A (en) | Feeding and stamping production line | |
| CN203804083U (en) | Automatic discharging device for cold-punching mold | |
| CN203227707U (en) | Sheet Bending Device | |
| CN207756676U (en) | A large-tonnage rapid stamping device |
Legal Events
| Date | Code | Title | Description |
|---|---|---|---|
| GR01 | Patent grant | ||
| GR01 | Patent grant | ||
| CF01 | Termination of patent right due to non-payment of annual fee |
Granted publication date: 20230714 |
|
| CF01 | Termination of patent right due to non-payment of annual fee |
