CN219308303U - Coal mine ventilation and dust removal mechanism - Google Patents
Coal mine ventilation and dust removal mechanism Download PDFInfo
- Publication number
- CN219308303U CN219308303U CN202223251908.9U CN202223251908U CN219308303U CN 219308303 U CN219308303 U CN 219308303U CN 202223251908 U CN202223251908 U CN 202223251908U CN 219308303 U CN219308303 U CN 219308303U
- Authority
- CN
- China
- Prior art keywords
- dust
- dust removal
- ventilation
- box body
- removal mechanism
- Prior art date
- Legal status (The legal status is an assumption and is not a legal conclusion. Google has not performed a legal analysis and makes no representation as to the accuracy of the status listed.)
- Expired - Fee Related
Links
- 239000000428 dust Substances 0.000 title claims abstract description 119
- 238000009423 ventilation Methods 0.000 title claims abstract description 40
- 239000003245 coal Substances 0.000 title claims abstract description 32
- 230000007246 mechanism Effects 0.000 title claims abstract description 21
- 238000005065 mining Methods 0.000 claims description 18
- 230000000149 penetrating effect Effects 0.000 claims description 5
- 238000003756 stirring Methods 0.000 claims description 5
- 238000010521 absorption reaction Methods 0.000 claims 2
- 238000001914 filtration Methods 0.000 abstract description 5
- 230000000694 effects Effects 0.000 abstract description 3
- 238000009825 accumulation Methods 0.000 abstract description 2
- XLYOFNOQVPJJNP-UHFFFAOYSA-N water Substances O XLYOFNOQVPJJNP-UHFFFAOYSA-N 0.000 description 12
- 238000000034 method Methods 0.000 description 10
- 230000005540 biological transmission Effects 0.000 description 6
- 238000004140 cleaning Methods 0.000 description 6
- 230000008569 process Effects 0.000 description 5
- 230000009286 beneficial effect Effects 0.000 description 2
- 239000007789 gas Substances 0.000 description 2
- 230000004048 modification Effects 0.000 description 2
- 238000012986 modification Methods 0.000 description 2
- 230000002411 adverse Effects 0.000 description 1
- 230000008859 change Effects 0.000 description 1
- 230000007812 deficiency Effects 0.000 description 1
- 238000005516 engineering process Methods 0.000 description 1
- 230000036541 health Effects 0.000 description 1
- 239000012535 impurity Substances 0.000 description 1
- 238000009434 installation Methods 0.000 description 1
Images
Classifications
-
- Y—GENERAL TAGGING OF NEW TECHNOLOGICAL DEVELOPMENTS; GENERAL TAGGING OF CROSS-SECTIONAL TECHNOLOGIES SPANNING OVER SEVERAL SECTIONS OF THE IPC; TECHNICAL SUBJECTS COVERED BY FORMER USPC CROSS-REFERENCE ART COLLECTIONS [XRACs] AND DIGESTS
- Y02—TECHNOLOGIES OR APPLICATIONS FOR MITIGATION OR ADAPTATION AGAINST CLIMATE CHANGE
- Y02A—TECHNOLOGIES FOR ADAPTATION TO CLIMATE CHANGE
- Y02A50/00—TECHNOLOGIES FOR ADAPTATION TO CLIMATE CHANGE in human health protection, e.g. against extreme weather
- Y02A50/20—Air quality improvement or preservation, e.g. vehicle emission control or emission reduction by using catalytic converters
- Y02A50/2351—Atmospheric particulate matter [PM], e.g. carbon smoke microparticles, smog, aerosol particles, dust
Landscapes
- Filtering Of Dispersed Particles In Gases (AREA)
Abstract
本实用新型涉及煤矿通风除尘技术领域,且公开了一种煤矿采矿通风除尘机构,包括箱体,所述箱体的上方设置有除尘通风组件,所述除尘通风组件包括固定安装于箱体顶部的吸尘箱,所述箱体的顶部固定安装有U形支架,所述箱体的顶部固定安装有直流电机,所述直流电机的输出轴固定安装有转轴,所述U形支架内腔的左侧壁转动连接有转杆。该煤矿采矿通风除尘机构,通过设置除尘通风组件,可以多方位多角度地对煤矿内部空气中的粉尘进行清理过滤,避免了在使用过程中需要人为班委调整方向角度的问题,同时,通过除尘通风组件也可以对过滤网进行拆卸更换,避免了过滤网上粉尘堆积过多,从而影响过滤效果的问题。
The utility model relates to the technical field of coal mine ventilation and dust removal, and discloses a coal mine ventilation and dust removal mechanism, which includes a box body, a dust removal ventilation assembly is arranged above the box body, and the dust removal ventilation assembly includes a A dust collection box, a U-shaped bracket is fixedly installed on the top of the box body, a DC motor is fixedly installed on the top of the box body, and a rotating shaft is fixedly installed on the output shaft of the DC motor, and the left side of the inner cavity of the U-shaped bracket The side wall is rotatably connected with a rotating rod. The coal mine ventilation and dust removal mechanism can clean and filter the dust in the air inside the coal mine from multiple directions and angles by setting the dust removal and ventilation components, avoiding the problem that the shift committee needs to manually adjust the direction and angle during use. At the same time, through the dust removal The ventilation component can also disassemble and replace the filter screen, which avoids the problem of excessive dust accumulation on the filter screen, thereby affecting the filtering effect.
Description
技术领域technical field
本实用新型涉及煤矿通风除尘技术领域,具体为一种煤矿采矿通风除尘机构。The utility model relates to the technical field of coal mine ventilation and dust removal, in particular to a coal mine ventilation and dust removal mechanism.
背景技术Background technique
煤矿是人们在富含煤炭的矿区开采煤炭资源的区域,而煤矿在开采和煤炭的运输过程中,会产生大量的粉尘,如果不对粉尘进行处理,会对工人的健康造成不利影响,严重危及工人的健康和生命安全,所以一般在进行煤矿开采时会使用通风除尘机构对煤矿内部的粉尘进行清理。Coal mines are areas where people mine coal resources in coal-rich mining areas. During the mining and transportation of coal, a large amount of dust will be generated. If the dust is not treated, it will have an adverse effect on the health of workers and seriously endanger workers. Therefore, the ventilation and dust removal mechanism is generally used to clean the dust inside the coal mine during coal mining.
根据中国专利公开号为CN216440276U提出了一种煤矿通风除尘装置,通过先过滤再净化的方式,便于对气体有效除尘,且能够有效降低水的更换频率,节省水资源,便于对两个盒形滤网形成快速调换过滤清理,通过调换过滤清理的方式,不需要停止过滤工作,达到便于在不停机的同时快速对灰尘杂质清理移出的目的,节省了停机等待时间,提高工作效率,满足使用需求,该申请文件中的通风除尘装置时可以对煤矿内部的粉尘进行清理,但是在实际使用过程中,该通风除尘装置只能对一个方向的粉尘进行清理过滤,当需要对其他方向的粉尘进行清理过滤时,就需要移动该通风除尘装置,然后人为地去调整吸尘的角度,造成了使用过后过程中不方便,故而提出一种煤矿采矿通风除尘机构来解决上述问题。According to the Chinese Patent Publication No. CN216440276U, a ventilation and dust removal device for coal mines is proposed. By filtering first and then purifying, it is convenient to effectively remove dust from the gas, and can effectively reduce the frequency of water replacement, save water resources, and facilitate the installation of two box-shaped filters. The network forms a quick exchange filter cleaning. By changing the filter cleaning method, there is no need to stop the filter work, so as to achieve the purpose of quickly cleaning and removing dust and impurities without stopping the machine, saving the waiting time of the machine, improving work efficiency, and meeting the use requirements. The ventilation and dust removal device in this application document can clean the dust inside the coal mine, but in actual use, the ventilation and dust removal device can only clean and filter the dust in one direction, and when it needs to clean and filter the dust in other directions When it is used, it is necessary to move the ventilation and dust removal device, and then artificially adjust the angle of dust collection, which causes inconvenience in the process after use. Therefore, a coal mining ventilation and dust removal mechanism is proposed to solve the above problems.
实用新型内容Utility model content
(一)解决的技术问题(1) Solved technical problems
针对现有技术的不足,本实用新型提供了一种煤矿采矿通风除尘机构,具备了可以多方位多角度进行粉尘清理过滤等优点,解决了现有煤矿采矿通风除尘机构在工作过程中需要人为调整角度和方向的问题。Aiming at the deficiencies of the prior art, the utility model provides a coal mining ventilation and dust removal mechanism, which has the advantages of dust cleaning and filtering in multiple directions and angles, and solves the need for manual adjustment during the working process of the existing coal mining ventilation and dust removal mechanism. Questions of angle and direction.
(二)技术方案(2) Technical solutions
为实现上述可以多方位多角度进行粉尘清理过滤的目的,本实用新型提供如下技术方案:一种煤矿采矿通风除尘机构,包括箱体,所述箱体的上方设置有除尘通风组件。In order to achieve the above-mentioned purpose of dust cleaning and filtering in multiple directions and angles, the utility model provides the following technical solution: a coal mining ventilation and dust removal mechanism, including a box body, and a dust removal ventilation component is arranged above the box body.
所述除尘通风组件包括固定安装于箱体顶部的吸尘箱,所述箱体的顶部固定安装有U形支架,所述箱体的顶部固定安装有直流电机,所述直流电机的输出轴固定安装有转轴,所述U形支架内腔的左侧壁转动连接有转杆,所述转杆的右侧固定安装有转动盘,所述转动盘的右侧底部固定安装有拨动杆,所述吸尘箱的顶部设置有吸尘管,所述吸尘箱的外侧固定安装有凹形环,所述吸尘箱的内部设置有吸尘组件。The dust removal and ventilation assembly includes a dust collection box fixedly installed on the top of the box body, a U-shaped bracket is fixedly installed on the top of the box body, a DC motor is fixedly installed on the top of the box body, and the output shaft of the DC motor is fixed A rotating shaft is installed, the left side wall of the inner chamber of the U-shaped bracket is rotatably connected with a rotating rod, the right side of the rotating rod is fixedly mounted with a rotating disk, and the right bottom of the rotating disk is fixedly installed with a toggle rod, so A dust suction pipe is arranged on the top of the dust collection box, a concave ring is fixedly installed on the outside of the dust collection box, and a dust suction assembly is arranged inside the dust collection box.
进一步的,所述吸尘组件包括固定安装于吸尘箱内部的抽风机,所述吸尘箱内腔的左右两侧壁均固定安装有滑轨,两个所述滑轨的相对一侧之间滑动连接有过滤板,所述箱体的内顶部连通有一端与吸尘箱内部相连通的导气管。Further, the dust collection assembly includes an exhaust fan fixedly installed inside the dust collection box, slide rails are fixedly installed on the left and right side walls of the inner chamber of the dust collection box, and the two opposite sides of the slide rails A filter plate is slidably connected between them, and the inner top of the box communicates with an air duct with one end communicating with the inside of the dust collection box.
进一步的,所述箱体的右侧顶部连通有出气管,所述箱体的底部四角均固定安装有支撑杆。Further, the top of the right side of the box is connected with an air outlet pipe, and the four corners of the bottom of the box are fixedly installed with support rods.
进一步的,所述转轴的左侧与U形支架内腔的左侧壁转动连接,所述U形支架的顶部开设有贯穿至其内部的贯穿孔,所述吸尘管的外表面与贯穿孔转动连接。Further, the left side of the rotating shaft is rotatably connected to the left side wall of the inner chamber of the U-shaped bracket, and the top of the U-shaped bracket is provided with a through hole penetrating into its interior, and the outer surface of the dust suction pipe and the through hole Turn to connect.
进一步的,所述转轴与转杆的外表面均固定安装有传动轮,两个所述传动轮的外表面之间传动连接有皮带。Further, transmission wheels are fixedly installed on the outer surfaces of the rotating shaft and the rotating rod, and a belt is drivingly connected between the outer surfaces of the two transmission wheels.
进一步的,所述吸尘箱的顶部与U形支架内顶壁之间固定安装有支撑板,所述支撑板的左侧开设有贯穿至其右侧的转动孔,所述转杆的外表面与转动孔转动连接。Further, a support plate is fixedly installed between the top of the dust collection box and the inner top wall of the U-shaped bracket, the left side of the support plate is provided with a rotation hole extending to the right side, and the outer surface of the rotation rod Rotate connected with the rotating hole.
进一步的,所述凹形环的顶部开设有均匀分布的拨动槽,所述拨动杆位于拨动槽的内部。Further, evenly distributed shifting grooves are opened on the top of the concave ring, and the shifting rod is located inside the shifting grooves.
进一步的,所述吸尘箱的顶部开设有贯穿至其内部的通孔,所述通孔的内部固定安装有轴承,所述吸尘管的外表面与轴承的内表面固定连接。Further, the top of the dust collection box is provided with a through hole penetrating to the inside thereof, and a bearing is fixedly installed inside the through hole, and the outer surface of the dust suction pipe is fixedly connected with the inner surface of the bearing.
(三)有益效果(3) Beneficial effects
与现有技术相此,本实用新型提供了一种煤矿采矿通风除尘机构,具备以下有益效果:Compared with the prior art, the utility model provides a ventilation and dust removal mechanism for coal mining, which has the following beneficial effects:
该煤矿采矿通风除尘机构,通过设置除尘通风组件,可以多方位多角度地对煤矿内部空气中的粉尘进行清理过滤,避免了在使用过程中需要人为班委调整方向角度的问题,同时,通过除尘通风组件也可以对过滤网进行拆卸更换,避免了过滤网上粉尘堆积过多,从而影响过滤效果的问题。The coal mine ventilation and dust removal mechanism can clean and filter the dust in the air inside the coal mine from multiple directions and angles by setting the dust removal and ventilation components, avoiding the problem that the shift committee needs to manually adjust the direction and angle during use. At the same time, through the dust removal The ventilation component can also disassemble and replace the filter screen, which avoids the problem of excessive dust accumulation on the filter screen, thereby affecting the filtering effect.
附图说明Description of drawings
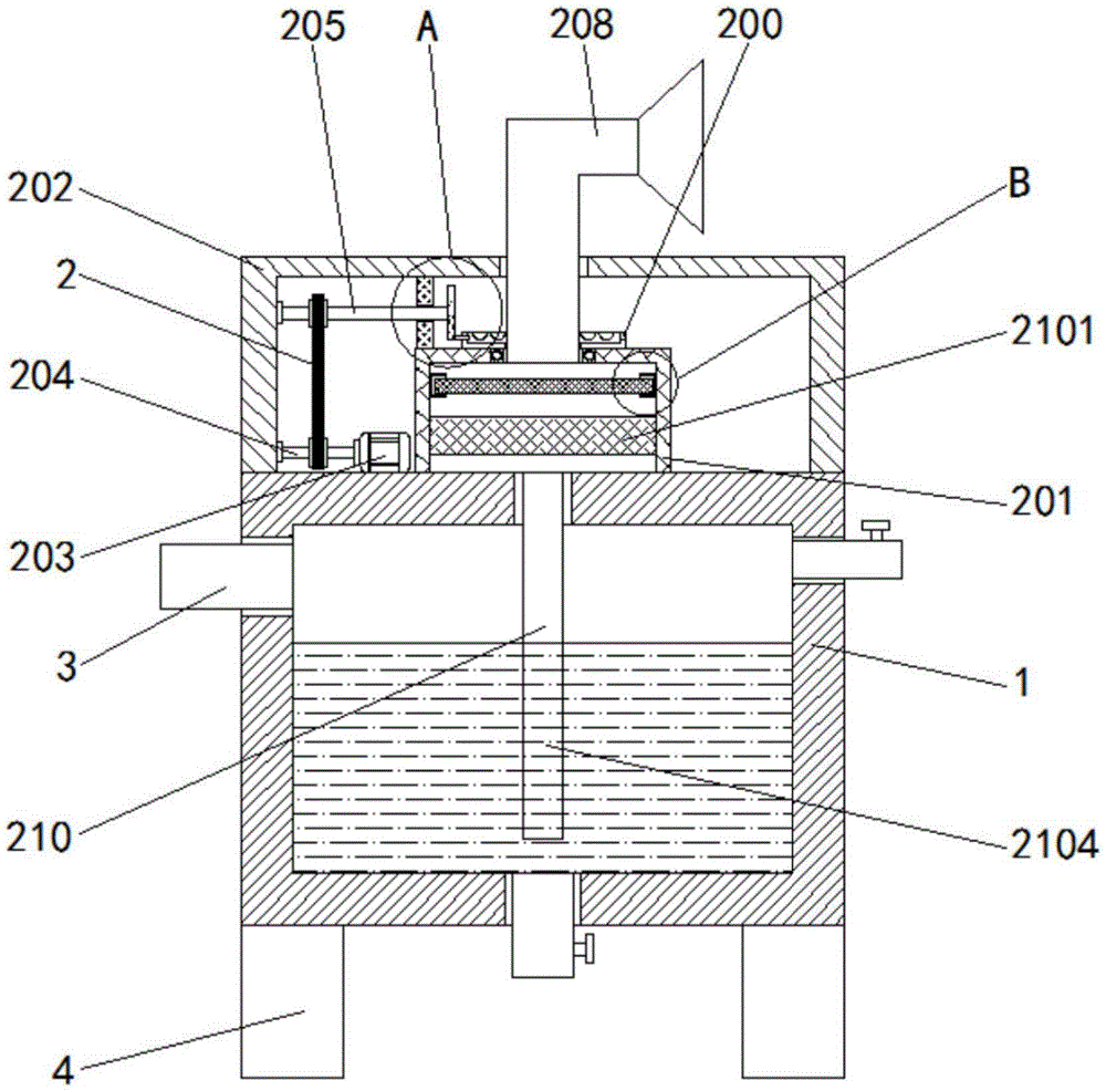
图1为本实用新型结构示意图;Fig. 1 is the structural representation of the utility model;
图2为本实用新型结构图1中A的放大图;Fig. 2 is the enlarged view of A in structure Fig. 1 of the present utility model;
图3为本实用新型结构图1中B的放大图。Fig. 3 is an enlarged view of B in Fig. 1 of the structure of the utility model.
图中:1箱体、2除尘通风组件、201吸尘箱、202U形支架、203直流电机、204转轴、205转杆、206转动盘、207拨动杆、208吸尘管、209凹形环、210吸尘组件、2101抽风机、2102滑轨、2103过滤板、2104导气管、3出气管、4支撑杆。In the figure: 1 cabinet, 2 dust removal and ventilation components, 201 dust suction box, 202 U-shaped bracket, 203 DC motor, 204 rotating shaft, 205 rotating rod, 206 rotating disc, 207 toggle rod, 208 dust suction pipe, 209 concave ring , 210 vacuum assembly, 2101 exhaust fan, 2102 slide rail, 2103 filter plate, 2104 air guide pipe, 3 air outlet pipe, 4 support rod.
具体实施方式Detailed ways
下面将结合本实用新型实施例中的附图,对本实用新型实施例中的技术方案进行清楚、完整地描述,显然,所描述的实施例仅仅是本实用新型一部分实施例,而不是全部的实施例。基于本实用新型中的实施例,本领域普通技术人员在没有做出创造性劳动前提下所获得的所有其他实施例,都属于本实用新型保护的范围。The technical solutions in the embodiments of the present invention will be clearly and completely described below in conjunction with the accompanying drawings in the embodiments of the present invention. Obviously, the described embodiments are only part of the embodiments of the present invention, not all of them. example. Based on the embodiments of the present utility model, all other embodiments obtained by persons of ordinary skill in the art without making creative efforts belong to the scope of protection of the present utility model.
实施例一:请参阅图1-3,本实施例中的一种煤矿采矿通风除尘机构,包括箱体1,箱体1的上方设置有除尘通风组件2。Embodiment 1: Please refer to Fig. 1-3, a coal mining ventilation and dust removal mechanism in this embodiment includes a
其中,箱体1的右侧顶部连通有出气管3,通过出气管3可以将过滤完成的空气进行排出,箱体1的底部四角均固定安装有支撑杆4,通过支撑杆4对箱体1进行稳定的支撑。Wherein, the top right side of the
另外,箱体1的内部盛放有水,而箱体1右侧顶部连通有进水管,箱体1的底部连通有出水管,进水管和出水管的内部均固定安装有阀门,通过进水管和出水管可以对箱体1内部的水进行更换。In addition, the inside of the
具体的,通过除尘通风组件2可以多方位多角度地对煤矿内部空气中的粉尘进行清理过滤,同时也可以对过滤网进行拆卸更换。Specifically, the dust removal and
实施例二:请参阅图1-3,在实施例一的基础上,除尘通风组件2包括固定安装于箱体1顶部的吸尘箱201,箱体1的顶部固定安装有U形支架202,箱体1的顶部固定安装有直流电机203,直流电机203的输出轴固定安装有转轴204,U形支架202内腔的左侧壁转动连接有转杆205,转杆205的右侧固定安装有转动盘206,转动盘206的右侧底部固定安装有拨动杆207,吸尘箱201的顶部设置有吸尘管208,吸尘箱201的外侧固定安装有凹形环209,吸尘箱201的内部设置有吸尘组件210。Embodiment 2: Please refer to Figures 1-3. On the basis of
其中,转轴204的左侧与U形支架202内腔的左侧壁转动连接,确保转轴204转动的稳定性,当直流电机203开启时,直流电机203的输出轴会带动转轴204进行转动。Wherein, the left side of the rotating
另外,转轴204与转杆205的外表面均固定安装有传动轮,两个传动轮的外表面之间传动连接有皮带,通过传动轮和皮带可以确保转轴204与转杆205可以进行稳定传动,当转轴204转动时,可以通过传动轮和皮带传动,带动转杆205进行转动。In addition, transmission wheels are fixedly installed on the outer surfaces of the rotating
需要说明的是,吸尘箱201的顶部与U形支架202内顶壁之间固定安装有支撑板,支撑板的左侧开设有贯穿至其右侧的转动孔,转杆205的外表面与转动孔转动连接,通过支撑板和转动孔可以保证转杆205可以进行稳定地转动,同时带动转动盘206转动。It should be noted that a support plate is fixedly installed between the top of the
另外,凹形环209的顶部开设有均匀分布的拨动槽,拨动杆207位于拨动槽的内部,当转动盘206转动时,转动盘206会带动拨动杆207进行旋转,而拨动杆207旋转时,会通过拨动槽拨动凹形环209转动。In addition, the top of the
需要说明的是,拨动槽的均匀分布必须保证拨动杆207每次转动到底部时,都会进入拨动槽的内部,拨动槽为圆形槽,与拨动杆207的运动轨迹相符合,避免拨动杆207与凹形环209造成限位。It should be noted that the even distribution of the toggle groove must ensure that the
另外,吸尘箱201的顶部开设有贯穿至其内部的通孔,通孔的内部固定安装有轴承,吸尘管208的外表面与轴承的内表面固定连接,当凹形环209转动时,会通过轴承带动吸尘管208进行转动,从而调整吸尘管208的吸尘方向与角度。In addition, the top of the
其中,U形支架202的顶部开设有贯穿至其内部的贯穿孔,吸尘管208的外表面与贯穿孔转动连接,通过贯穿孔可以对吸尘管208进行稳定的支撑,使吸尘管208转动得更加稳定。Wherein, the top of the
具体的,通过启动直流电机203可以带动拨动杆207做圆形运动,而拨动杆207每转一圈会带动凹形环209进行一次转动,从而带动吸尘管208进行一次转动,进一步使吸尘管208每隔一段时间进行一次转动,可以对多个方位的空气进行吸尘,而且也保证了吸尘的时间。Specifically, by starting the
实施例三:请参阅图1和图3,在实施例一和实施例二的基础上,吸尘组件210包括固定安装于吸尘箱201内部的抽风机2101,吸尘箱201内腔的左右两侧壁均固定安装有滑轨2102,两个滑轨2102的相对一侧之间滑动连接有过滤板2103,箱体1的内顶部连通有一端与吸尘箱201内部相连通的导气管2104。Embodiment 3: please refer to Fig. 1 and Fig. 3, on the basis of
其中,导气管2104底部位于箱体1内部的水中,使抽取的空气都会通过导气管2104进入水中,然后通过水将粉尘一些刺激性气体吸收,然后在通过出气管3排出。Wherein, the bottom of the
需要说明的是,吸尘箱201的正面通过合页铰接有与过滤板2103位置相对应的箱门,打开箱门即可将过滤板2103取下进行清理和更换。It should be noted that the front of the
具体的,通过抽风机2101可以对外界空气进抽取,通过滑轨2102可以将过滤板2103进行拆卸。Specifically, the outside air can be drawn in through the
上述实施例的工作原理为:The working principle of the above-mentioned embodiment is:
在使用煤矿采矿通风除尘机构时,启动直流电机203和抽风机2101,抽风机2101通过吸尘管208对外界空气进行吸取,先通过过滤板2103过滤粉尘,在通过导气管2104进入箱体1内部的水中,然后从出气管3排出,同时,直流电机203的输出轴会带动转轴204进行转动,可以通过传动轮和皮带传动,转轴204会带动转杆205进行转动,转杆205会带动转动盘206转动,转动盘206会带动拨动杆207进行旋转,拨动杆207会通过拨动槽拨动凹形环209转动,凹形环209会带动吸尘管208进行转动,从而使吸尘管208的吸尘角度会产生变化,其中,拨动杆207每转一圈,带动吸尘管208进行一次转动,进一步使吸尘管208每隔一段时间进行一次转动,可以对多个方位的空气进行吸尘,而且也保证了吸尘的时间。When using the coal mining ventilation and dust removal mechanism, start the
文中出现的电器元件均与主控器及电源电连接,主控器可为计算机等起到控制的常规已知设备,且现有公开的电力连接技术,不在文中赘述。The electrical components appearing in the article are all electrically connected to the main controller and the power supply. The main controller can be a conventionally known device controlled by a computer, etc., and the existing public power connection technology will not be repeated in the article.
需要说明的是,术语“包括”、“包含”或者其任何其他变体意在涵盖非排他性的包含,从而使得包括一系列要素的过程、方法、物品或者设备不仅包括那些要素,而且还包括没有明确列出的其他要素,或者是还包括为这种过程、方法、物品或者设备所固有的要素。在没有更多限制的情况下,由语句“包括一个......”限定的要素,并不排除在包括所述要素的过程、方法、物品或者设备中还存在另外的相同要素。It should be noted that the term "comprising", "comprising" or any other variation thereof is intended to cover a non-exclusive inclusion such that a process, method, article or apparatus comprising a set of elements includes not only those elements, but also includes none other elements specifically listed, or also include elements inherent in such a process, method, article, or apparatus. Without further limitations, an element defined by the phrase "comprising a ..." does not exclude the presence of additional identical elements in the process, method, article or apparatus comprising said element.
尽管已经示出和描述了本实用新型的实施例,对于本领域的普通技术人员而言,可以理解在不脱离本实用新型的原理和精神的情况下可以对这些实施例进行多种变化、修改、替换和变型,本实用新型的范围由所附权利要求及其等同物限定。Although the embodiments of the present invention have been shown and described, those skilled in the art can understand that various changes and modifications can be made to these embodiments without departing from the principle and spirit of the present invention , replacements and modifications, the scope of the present utility model is defined by the appended claims and their equivalents.
Claims (8)
Priority Applications (1)
| Application Number | Priority Date | Filing Date | Title |
|---|---|---|---|
| CN202223251908.9U CN219308303U (en) | 2022-12-05 | 2022-12-05 | Coal mine ventilation and dust removal mechanism |
Applications Claiming Priority (1)
| Application Number | Priority Date | Filing Date | Title |
|---|---|---|---|
| CN202223251908.9U CN219308303U (en) | 2022-12-05 | 2022-12-05 | Coal mine ventilation and dust removal mechanism |
Publications (1)
| Publication Number | Publication Date |
|---|---|
| CN219308303U true CN219308303U (en) | 2023-07-07 |
Family
ID=87034760
Family Applications (1)
| Application Number | Title | Priority Date | Filing Date |
|---|---|---|---|
| CN202223251908.9U Expired - Fee Related CN219308303U (en) | 2022-12-05 | 2022-12-05 | Coal mine ventilation and dust removal mechanism |
Country Status (1)
| Country | Link |
|---|---|
| CN (1) | CN219308303U (en) |
Cited By (1)
| Publication number | Priority date | Publication date | Assignee | Title |
|---|---|---|---|---|
| CN117187997A (en) * | 2023-10-20 | 2023-12-08 | 南通华强布业有限公司 | Spinning machine is with inside dust collecting equipment |
-
2022
- 2022-12-05 CN CN202223251908.9U patent/CN219308303U/en not_active Expired - Fee Related
Cited By (1)
| Publication number | Priority date | Publication date | Assignee | Title |
|---|---|---|---|---|
| CN117187997A (en) * | 2023-10-20 | 2023-12-08 | 南通华强布业有限公司 | Spinning machine is with inside dust collecting equipment |
Similar Documents
| Publication | Publication Date | Title |
|---|---|---|
| CN206967645U (en) | A kind of dust-collecting type timber processes cutter device | |
| CN212810964U (en) | Distribution control cabinet convenient to overhaul | |
| CN114412811B (en) | Energy-saving environment-friendly noise-reducing blower for cement plant | |
| CN114470993A (en) | Be used for waste gas dust removal to adsorb processing apparatus | |
| CN219308303U (en) | Coal mine ventilation and dust removal mechanism | |
| CN211315920U (en) | Energy-saving street lamp control device | |
| CN219014326U (en) | Wind-powered electricity generation blade discarded object burns furnace conveyor with clearance mechanism | |
| CN118543181A (en) | A dust removal device for mining engineering | |
| CN218624291U (en) | Regulation formula ventilation unit | |
| CN218690466U (en) | Putty powder workshop electrostatic precipitator equipment | |
| CN111530793A (en) | LED street lamp cleaning device | |
| CN217952572U (en) | Ventilation device for building construction | |
| CN218579741U (en) | A sewage treatment tank capable of assisting filtration | |
| CN214269068U (en) | A dust removal device for chemical fertilizer raw material processing | |
| CN215490173U (en) | Laboratory environmental protection ventilation unit | |
| CN113083508B (en) | Electrostatic type oil smoke clarifier | |
| CN214235505U (en) | A laboratory fume hood that can purify organic waste gas | |
| CN217584745U (en) | A prefabricated steel structure house building fresh air system | |
| CN221933435U (en) | Exhaust gas collection equipment for sandblasting of notebook cover plate | |
| CN219965933U (en) | Side suction type dust collection mechanism convenient for suction inlet angle adjustment | |
| CN222930546U (en) | Scraper cyclone tower | |
| CN217482824U (en) | Oil smoke clarifier with take oily collection device | |
| CN218410217U (en) | A dust removal device for construction and decoration | |
| CN216825515U (en) | Environment-friendly industrial waste gas treatment device | |
| CN218983546U (en) | Thick steel plate laser cutting device |
Legal Events
| Date | Code | Title | Description |
|---|---|---|---|
| GR01 | Patent grant | ||
| GR01 | Patent grant | ||
| CF01 | Termination of patent right due to non-payment of annual fee |
Granted publication date: 20230707 |
|
| CF01 | Termination of patent right due to non-payment of annual fee |
