CN111795441A - An air purification treatment unit - Google Patents
An air purification treatment unit Download PDFInfo
- Publication number
- CN111795441A CN111795441A CN202010654879.7A CN202010654879A CN111795441A CN 111795441 A CN111795441 A CN 111795441A CN 202010654879 A CN202010654879 A CN 202010654879A CN 111795441 A CN111795441 A CN 111795441A
- Authority
- CN
- China
- Prior art keywords
- expansion section
- assembly
- pipe
- positive electrode
- baffle plate
- Prior art date
- Legal status (The legal status is an assumption and is not a legal conclusion. Google has not performed a legal analysis and makes no representation as to the accuracy of the status listed.)
- Withdrawn
Links
- 238000004887 air purification Methods 0.000 title claims abstract description 22
- 239000000428 dust Substances 0.000 claims abstract description 27
- 230000008602 contraction Effects 0.000 claims abstract description 15
- 238000007790 scraping Methods 0.000 claims abstract description 13
- 230000000694 effects Effects 0.000 claims abstract description 7
- 241000258957 Asteroidea Species 0.000 claims description 3
- 238000009434 installation Methods 0.000 claims description 2
- 238000004140 cleaning Methods 0.000 abstract description 11
- 239000012717 electrostatic precipitator Substances 0.000 abstract description 6
- WSFSSNUMVMOOMR-UHFFFAOYSA-N Formaldehyde Chemical compound O=C WSFSSNUMVMOOMR-UHFFFAOYSA-N 0.000 description 6
- 238000000746 purification Methods 0.000 description 4
- 238000010586 diagram Methods 0.000 description 2
- 238000005367 electrostatic precipitation Methods 0.000 description 2
- 238000013475 authorization Methods 0.000 description 1
- 230000009286 beneficial effect Effects 0.000 description 1
- 230000007547 defect Effects 0.000 description 1
- 238000005265 energy consumption Methods 0.000 description 1
- 238000005516 engineering process Methods 0.000 description 1
- 239000012535 impurity Substances 0.000 description 1
- 238000000034 method Methods 0.000 description 1
- 239000002699 waste material Substances 0.000 description 1
Images
Classifications
-
- F—MECHANICAL ENGINEERING; LIGHTING; HEATING; WEAPONS; BLASTING
- F24—HEATING; RANGES; VENTILATING
- F24F—AIR-CONDITIONING; AIR-HUMIDIFICATION; VENTILATION; USE OF AIR CURRENTS FOR SCREENING
- F24F13/00—Details common to, or for air-conditioning, air-humidification, ventilation or use of air currents for screening
- F24F13/28—Arrangement or mounting of filters
Landscapes
- Engineering & Computer Science (AREA)
- Chemical & Material Sciences (AREA)
- Combustion & Propulsion (AREA)
- Mechanical Engineering (AREA)
- General Engineering & Computer Science (AREA)
- Electrostatic Separation (AREA)
Abstract
本发明属于空气处理设备领域,具体是一种空气净化处理机组,包括处理机组本体;所述处理机组本体内部从左往右依次是第一收缩段、第一扩容段、第二扩容段以及第二收缩段;所述第一收缩段与第一扩容段之间通过第一通管接通;第一扩容段与第二扩容段之间通过第二通管接通;所述第一通管内部安装有进气组件,第一扩容段内部设有刮灰组件以及过滤网,刮灰组件外侧设有刷子;所述第一扩容段下端接通集尘管;所述第二通管内部安装有吹风机;第二扩容段内部设有静电除尘组件;所述的空气净化处理机组设置的刮灰组件的开槽转盘上安装的刷子扩大了对过滤网的清洁面积以及延长了刷子在过滤网上的停留时间,大大提高了刮灰组件对过滤网的清理效果。
The invention belongs to the field of air treatment equipment, in particular to an air purification treatment unit, comprising a treatment unit body; the interior of the treatment unit body is, from left to right, a first contraction section, a first expansion section, a second expansion section and a first expansion section. Two contraction sections; the first contraction section and the first expansion section are connected through a first through pipe; the first expansion section and the second expansion section are connected through a second through pipe; the first through pipe An air intake assembly is installed inside, a scraper assembly and a filter screen are arranged inside the first expansion section, and a brush is arranged on the outside of the scraper assembly; the lower end of the first expansion section is connected to a dust collection pipe; the second through pipe is installed inside There is a blower; the second expansion section is provided with an electrostatic precipitator assembly; the brush installed on the slotted turntable of the dust scraping assembly set in the air purification processing unit expands the cleaning area of the filter screen and prolongs the cleaning area of the brush on the filter screen. The residence time greatly improves the cleaning effect of the dust scraping component on the filter screen.
Description
技术领域technical field
本发明涉及空气处理设备领域,具体是一种空气净化处理机组。The invention relates to the field of air treatment equipment, in particular to an air purification treatment unit.
背景技术Background technique
空气处理机组是一种集中式空气处理系统,针对应用场合的不同,可以具有不同的功能。目前所使用的空气处理机组过滤除尘系统单独存在,无法针对外界不同的空气状况进行调整使用,从而降低了空气处理机组的适用范围,同时过滤器使用后,空气中的杂质易堵塞过滤器,导致过滤器的风阻变大,能耗提高,从而造成了能源的浪费。为此专利授权公告号为CN208652773U的专利申请文件中提供了一种空气净化处理机组。The air handling unit is a centralized air handling system that can have different functions for different applications. The filter and dust removal system of the currently used air handling unit exists alone, and cannot be adjusted for different external air conditions, thus reducing the scope of application of the air handling unit. The wind resistance of the filter increases and the energy consumption increases, resulting in a waste of energy. For this purpose, an air purification treatment unit is provided in the patent application document with the patent authorization announcement number of CN208652773U.
该空气净化处理机组设置有过滤器和布袋除尘器,使空气净化处理机组有多种过滤装置,能够针对外界不同的空气状况进行调整使用,通过清理装置能够有效地去除过滤器表面的杂质,通过除甲醛装置能够有效地吸收甲醛;但是该空气净化处理机组也存在一定缺陷,例如,其对过滤器表面沾附的灰尘进行清理的清理组件由于是通过滑块以及滑杆推动刷子进行,刷子的运行速度较快,清理效果不明显,而且由于是单根滑轨与滑块,导致清理组件的清理范围始终存在死角。The air purification treatment unit is equipped with a filter and a bag filter, so that the air purification treatment unit has a variety of filter devices, which can be adjusted and used according to different air conditions in the outside world. The cleaning device can effectively remove impurities on the surface of the filter. The formaldehyde removal device can effectively absorb formaldehyde; however, the air purification treatment unit also has certain defects. For example, the cleaning component for cleaning the dust attached to the surface of the filter is carried out by pushing the brush through the slider and the sliding rod, and the brush is removed. The running speed is fast, the cleaning effect is not obvious, and because it is a single slide rail and slider, there is always a dead angle in the cleaning range of the cleaning component.
针对上述背景技术中的问题,本发明旨在提供一种空气净化处理机组。In view of the above-mentioned problems in the background art, the present invention aims to provide an air purification treatment unit.
发明内容SUMMARY OF THE INVENTION
本发明的目的在于提供一种空气净化处理机组,以解决上述背景技术中提出的问题。The purpose of the present invention is to provide an air purification treatment unit to solve the problems raised in the above background technology.
为实现上述目的,本发明提供如下技术方案:To achieve the above object, the present invention provides the following technical solutions:
一种空气净化处理机组,其包括:处理机组本体,所述处理机组本体左侧设有进气口,处理机组本体右侧设有出气端口,处理机组本体内部从左往右依次是第一收缩段、第一扩容段、第二扩容段以及第二收缩段;所述第一收缩段与第一扩容段之间通过第一通管接通;第一扩容段与第二扩容段之间通过第二通管接通;An air purification processing unit, comprising: a processing unit body, an air inlet is provided on the left side of the processing unit body, an air outlet port is provided on the right side of the processing unit body, and the interior of the processing unit body is a first contraction from left to right. section, the first expansion section, the second expansion section and the second contraction section; the first contraction section and the first expansion section are connected through a first pipe; the first expansion section and the second expansion section pass through The second pipe is connected;
所述第一通管内部安装有进气组件,第一扩容段内部设有刮灰组件以及过滤网,刮灰组件外侧设有刷子,刷子与过滤网接触,刮灰组件上下两端通过支架安装固定在第一扩容段内部;所述第一扩容段下端接通集尘管;所述第二通管内部安装有吹风机;第二扩容段内部设有静电除尘组件。An air intake assembly is installed inside the first through pipe, a scraper assembly and a filter screen are installed inside the first expansion section, a brush is arranged outside the scraper assembly, the brush is in contact with the filter screen, and the upper and lower ends of the scraper assembly are installed through brackets It is fixed inside the first capacity expansion section; the lower end of the first capacity expansion section is connected to a dust collecting pipe; the second through pipe is installed with a blower; the second capacity expansion section is provided with an electrostatic dust removal component.
作为本发明进一步的方案:所述进气组件包括球型阀、转轴以及电机,球型阀活动安装在第一通管内部,球型阀上端设有转轴,转轴上端穿过第一通管内壁后通过轴封实现活动安装,转轴上设有从动齿轮,电机的驱动轴上安装有主动齿轮,转轴上设置的从动齿轮与电机的驱动轴上安装的主动齿轮之间啮合;对第一通管内部的进入污染空气进行流量控制调节时,通过启动电机,电机通过主动齿轮以及从动齿轮配合作用带动转轴下端设置的球型阀转动,通过改变球型阀在第一通管内部的横截面位置,进而改变污染空气的流量大小。As a further solution of the present invention: the air intake assembly includes a ball valve, a rotating shaft and a motor, the ball valve is movably installed inside the first through pipe, the upper end of the ball valve is provided with a rotating shaft, and the upper end of the rotating shaft passes through the inner wall of the first through pipe Afterwards, the movable installation is realized through the shaft seal, a driven gear is arranged on the rotating shaft, a driving gear is installed on the driving shaft of the motor, and the driven gear arranged on the rotating shaft is meshed with the driving gear installed on the driving shaft of the motor; When the polluted air entering the inside of the passage is controlled and adjusted, the motor is started, and the motor drives the ball valve set at the lower end of the rotating shaft to rotate through the cooperation of the driving gear and the driven gear. The position of the cross section, thereby changing the flow rate of the polluted air.
作为本发明再进一步的方案:所述刮灰组件包括开槽转盘,开槽转盘呈海星状,开槽转盘一面设有刷子,开槽转盘另一面边角位置处设有限位柱;开槽转盘通过驱动组件实现缓慢转动进而使刷子对过滤网表面积留的灰尘进行清理。As a further solution of the present invention: the ash scraping assembly includes a slotted turntable, the slotted turntable is in the shape of a starfish, one side of the slotted turntable is provided with brushes, and the other side of the slotted turntable is provided with limit posts at the corners; The slow rotation of the drive assembly enables the brush to clean the dust left on the surface of the filter screen.
作为本发明再进一步的方案:所述驱动组件包括驱动轴、减速箱、曲柄、U形块以及限位杆,驱动轴一端安装在减速箱内部,减速箱安装固定在支架上,减速箱的输出轴上安装有曲柄,曲柄一端活动安装在减速箱的输出轴上,曲柄另一端通过销轴铰接活动安装在限位杆上,限位杆一端设有U形块,U形块上开设有U形槽,限位杆另一端活动安装在限位槽上,限位槽通过销轴活动设置在固定块上,固定块与第一扩容段内部下端的支架连接固定。As a further solution of the present invention: the drive assembly includes a drive shaft, a reduction box, a crank, a U-shaped block and a limit rod, one end of the drive shaft is installed inside the reduction box, the reduction box is installed and fixed on the bracket, and the output of the reduction box A crank is installed on the shaft. One end of the crank is movably installed on the output shaft of the reduction box. The other end of the limit rod is movably installed on the limit groove, the limit groove is movably arranged on the fixed block through the pin shaft, and the fixed block is connected and fixed with the bracket at the lower end of the first expansion section.
作为本发明再进一步的方案:所述静电除尘组件包括正极组件以及负极组件,正极组件设置在第二扩容段上端,负极组件安装固定在第二扩容段下端。As a further solution of the present invention, the electrostatic precipitator assembly includes a positive electrode assembly and a negative electrode assembly, the positive electrode assembly is arranged at the upper end of the second capacity expansion section, and the negative electrode assembly is installed and fixed at the lower end of the second capacity expansion section.
作为本发明再进一步的方案:所述正极组件包括正极板、正极接电块以及正极折流板,正极板上端设有正极接电块,正极板下端安装有正极折流板;所述负极组件包括负极折流板、负极板以及变压器,负极板上端设有负极折流板,负极板下端安装固定有负极接电块;负极折流板与正极折流板之间在第二扩容段内部呈间隔分布;负极折流板上以及正极折流板上均设有放电柱;负极折流板上的放电柱与正极折流板上的放电柱水平位置持平;通过这种结构设计,有助于折流板对污染空气的引导,增加了净化时间,从而有助于提高净化效果。As a further solution of the present invention: the positive electrode assembly includes a positive electrode plate, a positive electrode connection block and a positive electrode baffle plate, a positive electrode connection block is arranged on the upper end of the positive electrode plate, and a positive electrode baffle plate is installed at the lower end of the positive electrode plate; the negative electrode assembly Including a negative baffle, a negative plate and a transformer, the upper end of the negative plate is provided with a negative baffle, and the lower end of the negative plate is fixed with a negative connection block; the negative baffle and the positive baffle are arranged in the second capacity expansion section. spaced distribution; discharge columns are arranged on the negative baffle plate and the positive baffle plate; the discharge column on the negative electrode baffle plate is at the same horizontal position as the discharge column on the positive baffle plate; through this structural design, it is helpful to The baffle plate guides the polluted air, which increases the purification time, thereby helping to improve the purification effect.
作为本发明再进一步的方案:所述处理机组本体下端设有变压器,变压器通过导线分别连接正极接电块以及负极接电块,通过变压器集中增压给正极组件以及负极组件同时供电。As a further solution of the present invention: the lower end of the processing unit body is provided with a transformer, the transformer is connected to the positive terminal block and the negative terminal block respectively through wires, and the transformer is centrally boosted to supply power to the positive and negative components simultaneously.
与现有技术相比,本发明的有益效果是:Compared with the prior art, the beneficial effects of the present invention are:
所述的空气净化处理机组通过设置的驱动组件推动刮灰组件的开槽转盘转动时,驱动轴通过减速箱使曲柄慢速转动,曲柄推动限位杆位移,限位杆一端由于限位活动安装在限位槽内部,而限位槽通过销轴铰接活动安装在固定块上,因此U形块既能向限位槽靠近收缩,又能转动角度位置,最终使U形块上开设的U形槽卡合开槽转盘上不同位置处的限位柱,实现对整个开槽转盘的缓慢转动,提高了开槽转盘上安装的刷子对过滤网的清洁面积以及延长了刷子在过滤网上停留的时间,大大提高了刮灰组件对过滤网的清理效果;When the air purification processing unit pushes the slotted turntable of the dust scraping assembly to rotate through the provided drive assembly, the drive shaft rotates the crank at a slow speed through the reduction box, and the crank pushes the limit rod to displace, and one end of the limit rod is installed due to the limit movement. Inside the limit slot, and the limit slot is hingedly mounted on the fixed block through the pin shaft, so the U-shaped block can not only shrink toward the limit slot, but also rotate the angular position, and finally make the U-shaped block opened on the U-shaped block. The slot engages the limit posts at different positions on the slotted turntable to realize the slow rotation of the entire slotted turntable, improve the cleaning area of the brushes installed on the slotted turntable to the filter screen and prolong the stay time of the brush on the filter screen , greatly improving the cleaning effect of the scraping component on the filter;
另外,其通过设置的静电除尘组件提高了对污染空气的除尘效果。In addition, it improves the dust removal effect on polluted air through the set electrostatic dust removal components.
附图说明Description of drawings
图1为本发明实施例的一种空气净化处理机组的结构示意图。FIG. 1 is a schematic structural diagram of an air purification processing unit according to an embodiment of the present invention.
图2为本发明实施例的一种空气净化处理机组的刮灰组件结构示意图。FIG. 2 is a schematic structural diagram of a dust scraping component of an air purification treatment unit according to an embodiment of the present invention.
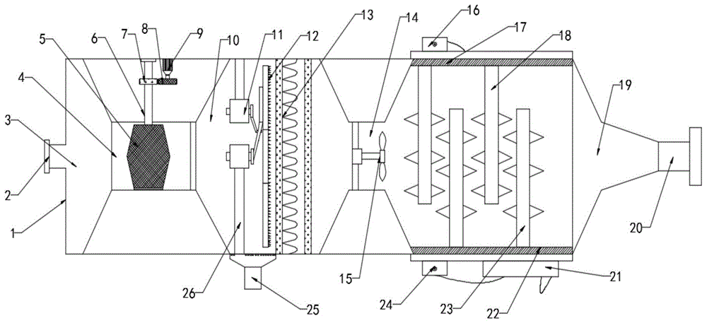
图中:1-处理机组本体、2-进气口、3-第一收缩段、4-第一通管、5-球型阀、6-转轴、7-从动齿轮、8-主动齿轮、9-电机、10-第一扩容段、11-刮灰组件、12-刷子、13-过滤网、14-第二通管、15-吹风机、16-正极接电块、17-正极板、18-正极折流板、19-第二收缩段、20-出气端口、21-变压器、22-负极板、23-负极折流板、24-负极接电块、25-集尘管、26-支架、27-开槽转盘、28-限位柱、29-驱动轴、30-减速箱、31-曲柄、32-U形块、33-限位杆、34-限位槽、35-固定块。In the picture: 1-processing unit body, 2-air inlet, 3-first constriction section, 4-first pass pipe, 5-ball valve, 6-rotating shaft, 7-driven gear, 8-drive gear, 9-motor, 10-first capacity expansion section, 11-dust scraper, 12-brush, 13-filter, 14-second pipe, 15-hair dryer, 16-positive connection block, 17-positive plate, 18 -Positive baffle, 19-Second contraction section, 20-Air outlet, 21-Transformer, 22-Negative plate, 23-Negative baffle, 24-Negative connection block, 25-Dust collecting tube, 26-Support , 27-slotted turntable, 28-limit column, 29-drive shaft, 30-reduction box, 31-crank, 32-U-shaped block, 33-limit rod, 34-limit slot, 35-fixed block.
具体实施方式Detailed ways
下面结合具体实施方式对本发明的技术方案作进一步详细地说明。The technical solutions of the present invention will be described in further detail below in conjunction with specific embodiments.
实施例1Example 1
请参阅图1,本发明实施例1中,一种空气净化处理机组,其包括:处理机组本体1,所述处理机组本体1左侧设有进气口2,处理机组本体1右侧设有出气端口20,处理机组本体1内部从左往右依次是第一收缩段3、第一扩容段10、第二扩容段以及第二收缩段19;所述第一收缩段3与第一扩容段10之间通过第一通管4接通;第一扩容段10与第二扩容段之间通过第二通管14接通;Referring to FIG. 1 , in Embodiment 1 of the present invention, an air purification processing unit includes: a processing unit body 1 , an air inlet 2 is provided on the left side of the processing unit body 1 , and an air inlet 2 is provided on the right side of the processing unit body 1 The
所述第一通管4内部安装有进气组件,第一扩容段10内部设有刮灰组件11以及过滤网13,刮灰组件11外侧设有刷子12,刷子12与过滤网13接触,刮灰组件11上下两端通过支架26安装固定在第一扩容段10内部;所述第一扩容段10下端接通集尘管25;所述第二通管14内部安装有吹风机15;第二扩容段内部设有静电除尘组件;An air intake assembly is installed inside the first through-pipe 4, a
待处理的污染空气通过进气口2进入处理机组本体1内部,污染空气先经过第一收缩段3集中至第一通管4内部,在第一通管4内部,进气组件控制污染空气流量大小;接着污染空气进入第一扩容段10内部,在第一扩容段10内部,过滤网13对污染空气进行过滤清理,过滤网13表面截留下来的灰尘通过刮灰组件11带动刷子12对过滤网13表面进行清理,第一扩容段10内部积存的灰尘通过集尘管25位置处排出;紧接着,启动吹风机15,吹风机15吸入第一扩容段10内部经过过滤的空气穿过第二通管14进入第二扩容段内部,在第二扩容段内部,通过静电除尘组件对过滤后的空气进行静电除尘作业,最后空气穿过第二收缩段19后通过出气端口20位置处排出。The polluted air to be treated enters the interior of the processing unit body 1 through the air inlet 2, and the polluted air first passes through the first constriction section 3 and is concentrated into the interior of the first passage 4. Inside the first passage 4, the air intake assembly controls the flow of the polluted air. Then the polluted air enters the inside of the first expansion section 10. Inside the first expansion section 10, the filter screen 13 filters and cleans the polluted air, and the dust trapped on the surface of the filter screen 13 drives the brush 12 to the filter screen through the
进一步地,所述进气组件包括球型阀5、转轴6以及电机9,球型阀5活动安装在第一通管4内部,球型阀5上端设有转轴6,转轴6上端穿过第一通管4内壁后通过轴封实现活动安装,转轴6上设有从动齿轮7,电机9的驱动轴上安装有主动齿轮8,转轴6上设置的从动齿轮7与电机9的驱动轴上安装的主动齿轮8之间啮合;对第一通管4内部的进入污染空气进行流量控制调节时,通过启动电机9,电机9通过主动齿轮8以及从动齿轮7配合作用带动转轴6下端设置的球型阀5转动,通过改变球型阀5在第一通管4内部的横截面位置,进而改变污染空气的流量大小。Further, the air intake assembly includes a ball valve 5, a rotating shaft 6 and a motor 9, the ball valve 5 is movably installed inside the first through pipe 4, the upper end of the ball valve 5 is provided with a rotating shaft 6, and the upper end of the rotating shaft 6 passes through the first pass pipe 4. The inner wall of a through-pipe 4 is movably installed through a shaft seal. The rotating shaft 6 is provided with a driven gear 7 , the driving shaft of the motor 9 is mounted with a driving gear 8 , and the driven gear 7 provided on the rotating shaft 6 is connected with the drive shaft of the motor 9 . The driving gear 8 installed on the upper part meshes with each other; when the flow control and adjustment of the entering polluted air inside the first pass pipe 4 is performed, by starting the motor 9, the motor 9 drives the lower end of the rotating shaft 6 through the cooperation of the driving gear 8 and the driven gear 7. When the ball valve 5 rotates, the cross-sectional position of the ball valve 5 inside the first passage pipe 4 is changed, thereby changing the flow rate of the polluted air.
实施例2Example 2
请参阅图2,进一步地,所述刮灰组件11包括开槽转盘27,开槽转盘27呈海星状,开槽转盘27一面设有刷子12,开槽转盘27另一面边角位置处设有限位柱28;开槽转盘27通过驱动组件实现缓慢转动进而使刷子12对过滤网13表面积留的灰尘进行清理;Please refer to FIG. 2 , further, the
具体地,所述驱动组件包括驱动轴29、减速箱30、曲柄31、U形块32以及限位杆33,驱动轴29一端安装在减速箱30内部,减速箱30安装固定在支架26上,减速箱30的输出轴上安装有曲柄31,曲柄31一端活动安装在减速箱30的输出轴上,曲柄31另一端通过销轴铰接活动安装在限位杆33上,限位杆33一端设有U形块32,U形块32上开设有U形槽,限位杆33另一端活动安装在限位槽34上,限位槽34通过销轴活动设置在固定块35上,固定块35与第一扩容段10内部下端的支架26连接固定;Specifically, the drive assembly includes a
驱动组件推动开槽转盘27转动时,驱动轴29通过减速箱30使曲柄31慢速转动,曲柄31推动限位杆33位移,限位杆33一端由于限位活动安装在限位槽34内部,而限位槽34通过销轴铰接活动安装在固定块35上,因此U形块32既能向限位槽34靠近收缩,又能转动角度位置,最终使U形块32上开设的U形槽卡合开槽转盘27上不同位置处的限位柱28,实现对整个开槽转盘27的缓慢转动;When the drive assembly pushes the
实施例2的其余结构部分与实施例1相同。The remaining structural parts of Embodiment 2 are the same as those of Embodiment 1.
实施例3Example 3
进一步地,所述静电除尘组件包括正极组件以及负极组件,正极组件设置在第二扩容段上端,负极组件安装固定在第二扩容段下端;Further, the electrostatic precipitator assembly includes a positive electrode assembly and a negative electrode assembly, the positive electrode assembly is arranged at the upper end of the second capacity expansion section, and the negative electrode assembly is installed and fixed at the lower end of the second capacity expansion section;
具体地,所述正极组件包括正极板17、正极接电块16以及正极折流板18,正极板17上端设有正极接电块16,正极板17下端安装有正极折流板18;所述负极组件包括负极折流板23、负极板22以及变压器21,负极板22上端设有负极折流板23,负极板22下端安装固定有负极接电块24;负极折流板23与正极折流板18之间在第二扩容段内部呈间隔分布;负极折流板23上以及正极折流板18上均设有放电柱;负极折流板23上的放电柱与正极折流板18上的放电柱水平位置持平;通过这种结构设计,有助于折流板对污染空气的引导,增加了净化时间,从而有助于提高净化效果;Specifically, the positive electrode assembly includes a positive electrode plate 17 , a positive electrode connection block 16 and a positive electrode baffle plate 18 , a positive electrode connection block 16 is arranged on the upper end of the positive electrode plate 17 , and a positive electrode baffle plate 18 is installed at the lower end of the positive electrode plate 17 ; The negative electrode assembly includes a negative
更进一步地,所述处理机组本体1下端设有变压器21,变压器21通过导线分别连接正极接电块16以及负极接电块24,通过变压器21集中增压给正极组件以及负极组件同时供电;Further, the lower end of the processing unit body 1 is provided with a
实施例3的其余结构部分与实施例1相同。The rest of the structure of Embodiment 3 is the same as that of Embodiment 1.
本发明的工作原理是:The working principle of the present invention is:
待处理的污染空气通过进气口2进入处理机组本体1内部,污染空气先经过第一收缩段3集中至第一通管4内部,在第一通管4内部,进气组件控制污染空气流量大小;接着污染空气进入第一扩容段10内部,在第一扩容段10内部,过滤网13对污染空气进行过滤清理,过滤网13表面截留下来的灰尘通过刮灰组件11带动刷子12对过滤网13表面进行清理,第一扩容段10内部积存的灰尘通过集尘管25位置处排出;紧接着,启动吹风机15,吹风机15吸入第一扩容段10内部经过过滤的空气穿过第二通管14进入第二扩容段内部,在第二扩容段内部,通过静电除尘组件对过滤后的空气进行静电除尘作业,最后空气穿过第二收缩段19后通过出气端口20位置处排出。The polluted air to be treated enters the interior of the processing unit body 1 through the air inlet 2, and the polluted air first passes through the first constriction section 3 and is concentrated into the interior of the first passage 4. Inside the first passage 4, the air intake assembly controls the flow of the polluted air. Then the polluted air enters the inside of the first expansion section 10. Inside the first expansion section 10, the filter screen 13 filters and cleans the polluted air, and the dust trapped on the surface of the filter screen 13 drives the brush 12 to the filter screen through the
上面对本发明的较佳实施方式作了详细说明,但是本发明并不限于上述实施方式,在本领域的普通技术人员所具备的知识范围内,还可以在不脱离本发明宗旨的前提下作出各种变化。The preferred embodiments of the present invention have been described in detail above, but the present invention is not limited to the above-mentioned embodiments. Within the scope of knowledge possessed by those of ordinary skill in the art, various aspects can also be made without departing from the purpose of the present invention. kind of change.
Claims (7)
Priority Applications (1)
| Application Number | Priority Date | Filing Date | Title |
|---|---|---|---|
| CN202010654879.7A CN111795441A (en) | 2020-07-09 | 2020-07-09 | An air purification treatment unit |
Applications Claiming Priority (1)
| Application Number | Priority Date | Filing Date | Title |
|---|---|---|---|
| CN202010654879.7A CN111795441A (en) | 2020-07-09 | 2020-07-09 | An air purification treatment unit |
Publications (1)
| Publication Number | Publication Date |
|---|---|
| CN111795441A true CN111795441A (en) | 2020-10-20 |
Family
ID=72809833
Family Applications (1)
| Application Number | Title | Priority Date | Filing Date |
|---|---|---|---|
| CN202010654879.7A Withdrawn CN111795441A (en) | 2020-07-09 | 2020-07-09 | An air purification treatment unit |
Country Status (1)
| Country | Link |
|---|---|
| CN (1) | CN111795441A (en) |
Cited By (4)
| Publication number | Priority date | Publication date | Assignee | Title |
|---|---|---|---|---|
| CN112325426A (en) * | 2020-10-27 | 2021-02-05 | 大连交通大学 | Multifunctional indoor air odor removal treatment device |
| CN113280425A (en) * | 2021-05-13 | 2021-08-20 | 河南科技大学第一附属医院 | Respiratory disease prevention humidification device for medical science |
| CN114593512A (en) * | 2022-01-04 | 2022-06-07 | 青岛海尔空调器有限总公司 | Method, device and air conditioner for controlling closing of air deflector |
| CN119289452A (en) * | 2024-12-13 | 2025-01-10 | 东韩医疗科技(常州)有限公司 | Ventilation duct purification and disinfection device with wind power generation components |
-
2020
- 2020-07-09 CN CN202010654879.7A patent/CN111795441A/en not_active Withdrawn
Cited By (4)
| Publication number | Priority date | Publication date | Assignee | Title |
|---|---|---|---|---|
| CN112325426A (en) * | 2020-10-27 | 2021-02-05 | 大连交通大学 | Multifunctional indoor air odor removal treatment device |
| CN113280425A (en) * | 2021-05-13 | 2021-08-20 | 河南科技大学第一附属医院 | Respiratory disease prevention humidification device for medical science |
| CN114593512A (en) * | 2022-01-04 | 2022-06-07 | 青岛海尔空调器有限总公司 | Method, device and air conditioner for controlling closing of air deflector |
| CN119289452A (en) * | 2024-12-13 | 2025-01-10 | 东韩医疗科技(常州)有限公司 | Ventilation duct purification and disinfection device with wind power generation components |
Similar Documents
| Publication | Publication Date | Title |
|---|---|---|
| CN111795441A (en) | An air purification treatment unit | |
| CN111701345A (en) | Device for removing haze in urban atmospheric environment and method for removing haze | |
| CN212806008U (en) | High-efficient supply-air outlet with self-cleaning function | |
| CN118249727A (en) | A photovoltaic module cleaning device and method for a large photovoltaic power station | |
| CN217031514U (en) | Intelligent air cleaning system | |
| CN209848556U (en) | A purification device for an electronic equipment production workshop | |
| CN214078030U (en) | A catalyst cleaning device with good sealing effect | |
| CN221693200U (en) | Multistage purification treatment device for dust-containing industrial waste gas | |
| CN110657542A (en) | A fresh air purification device | |
| CN216879833U (en) | Movable electric dust remover | |
| CN216174455U (en) | Box detection cabinet of air conditioner | |
| CN113908655B (en) | An air dust removal filtration device used in construction projects | |
| CN215876646U (en) | New forms of energy air purification device | |
| CN213610518U (en) | A dustless purifier for high accuracy instrument equipment | |
| CN114260102A (en) | High-voltage electrostatic purification dust removal equipment | |
| CN221570785U (en) | Filter screen for air purifier | |
| CN221172503U (en) | Energy-saving ventilation device | |
| CN218108789U (en) | Part tray for cleaning automobile parts | |
| CN221825562U (en) | Multifunctional module cleaning device | |
| CN223726533U (en) | Clean equipment of indoor air | |
| CN222468220U (en) | Self-cleaning screen mechanism for sewage treatment | |
| CN220677269U (en) | Waste gas purifying equipment for welding workshop | |
| CN216910609U (en) | Spraying dust removal device capable of realizing electrocoagulation method | |
| CN222459715U (en) | Ventilating and dedusting device for factory building construction | |
| CN221333251U (en) | Efficient automatic waste gas removing device for paint production |
Legal Events
| Date | Code | Title | Description |
|---|---|---|---|
| PB01 | Publication | ||
| PB01 | Publication | ||
| SE01 | Entry into force of request for substantive examination | ||
| SE01 | Entry into force of request for substantive examination | ||
| WW01 | Invention patent application withdrawn after publication |
Application publication date: 20201020 |
|
| WW01 | Invention patent application withdrawn after publication |
