CN219305784U - Breed pond equipment of decontaminating - Google Patents
Breed pond equipment of decontaminating Download PDFInfo
- Publication number
- CN219305784U CN219305784U CN202320411917.5U CN202320411917U CN219305784U CN 219305784 U CN219305784 U CN 219305784U CN 202320411917 U CN202320411917 U CN 202320411917U CN 219305784 U CN219305784 U CN 219305784U
- Authority
- CN
- China
- Prior art keywords
- main body
- scraper
- filter box
- connecting pipe
- sewage suction
- Prior art date
- Legal status (The legal status is an assumption and is not a legal conclusion. Google has not performed a legal analysis and makes no representation as to the accuracy of the status listed.)
- Active
Links
Images
Classifications
-
- Y—GENERAL TAGGING OF NEW TECHNOLOGICAL DEVELOPMENTS; GENERAL TAGGING OF CROSS-SECTIONAL TECHNOLOGIES SPANNING OVER SEVERAL SECTIONS OF THE IPC; TECHNICAL SUBJECTS COVERED BY FORMER USPC CROSS-REFERENCE ART COLLECTIONS [XRACs] AND DIGESTS
- Y02—TECHNOLOGIES OR APPLICATIONS FOR MITIGATION OR ADAPTATION AGAINST CLIMATE CHANGE
- Y02A—TECHNOLOGIES FOR ADAPTATION TO CLIMATE CHANGE
- Y02A40/00—Adaptation technologies in agriculture, forestry, livestock or agroalimentary production
- Y02A40/80—Adaptation technologies in agriculture, forestry, livestock or agroalimentary production in fisheries management
- Y02A40/81—Aquaculture, e.g. of fish
Landscapes
- Cleaning In General (AREA)
Abstract
本实用新型涉及养殖池清理的技术领域,且公开了一种养殖池清污设备,包括推车主体,所述推车主体上固定连接有过滤箱,所述过滤箱的底部设置有出水口,所述推车主体上固定连接有吸污泵,所述吸污泵和过滤箱之间通过第一连接管连接,所述吸污泵的一侧还连接有第二连接管,所述第二连接管的一端连接有吸污罩,通过吸污泵和吸污罩的配合将杂质污物吸附进过滤箱内,再过滤网收集,同时刮板能将吸附在池底的顽固污物刮除,使得清污更加彻底,弹簧杆外侧的弹簧能避免刮板和池底产生硬性接触,避免刮坏池底铺设的防水布或是崩坏刮板,且能保证刮板和池底始终接触,避免了刮板磨损后不能有效除污的情况。
The utility model relates to the technical field of culture pond cleaning, and discloses a culture pond cleaning equipment, comprising a cart main body, a filter box is fixedly connected to the cart main body, and a water outlet is arranged at the bottom of the filter box. A sewage suction pump is fixedly connected to the main body of the trolley, and the sewage suction pump and the filter box are connected through a first connecting pipe. One side of the sewage suction pump is also connected to a second connecting pipe. One end of the connecting pipe is connected with a suction cover, through the cooperation of the suction pump and the suction cover, the impurities and dirt are absorbed into the filter box, and then collected by the filter, and the scraper can scrape off the stubborn dirt adsorbed on the bottom of the pool , making the cleaning more thorough. The spring on the outside of the spring rod can avoid the hard contact between the scraper and the bottom of the pool, avoid scratching the waterproof cloth laid on the bottom of the pool or collapse the scraper, and can ensure that the scraper and the bottom of the pool are always in contact. It avoids the situation that the scraper cannot be effectively decontaminated after being worn.
Description
技术领域technical field
本实用新型涉及养殖池清理的技术领域,具体为一种养殖池清污设备。The utility model relates to the technical field of cleaning aquaculture ponds, in particular to cleaning equipment for aquaculture ponds.
背景技术Background technique
人工养殖的鱼苗一般放在养殖池内养殖,养殖池可用水泥砌成,也可以用玻璃钢等材质制作,养殖池内一般铺设有防水布,在鱼苗养殖的过程中,鱼苗的代谢物、也可能还有过量的鱼食会沉积在养殖池的底部,为了保持水质干净,鱼苗能健康的成长,需要对这些沉淀污物进行清理。Artificially cultured fish fry are generally cultured in breeding ponds, which can be made of cement or glass fiber reinforced plastics. Generally, waterproof cloth is laid in the breeding ponds. During the process of fry breeding, the metabolites of fry, and possibly Excessive fish food will be deposited at the bottom of the breeding pond. In order to keep the water clean and the fry to grow healthily, it is necessary to clean up these sediments.
现有的清理方式一般是通过人工清理,或是吸污机吸走池中的污物,其中人工清理效率低,劳动量大,而吸污机通过吸污泵产生负压吸附污物,但是部分顽固污物会粘附在池底,这种方法很难去除。The existing cleaning methods are generally manual cleaning, or the sewage suction machine sucks away the dirt in the pool. Among them, the manual cleaning efficiency is low and the labor load is large, and the sewage suction machine generates negative pressure to absorb the dirt through the sewage suction pump, but Some stubborn dirt will stick to the bottom of the pool, which is difficult to remove.
所以针对这些问题,我们需要一种养殖池清污设备来解决。Therefore, in response to these problems, we need a kind of cleaning equipment for breeding ponds to solve them.
实用新型内容Utility model content
针对现有技术的不足,本实用新型提供了一种养殖池清污设备,具备能清理顽固污物的优点。Aiming at the deficiencies of the prior art, the utility model provides a kind of cleaning equipment for breeding ponds, which has the advantage of being able to clean stubborn dirt.
为实现上述目的,本实用新型提供如下技术方案:一种养殖池清污设备,包括推车主体,所述推车主体上固定连接有过滤箱,所述过滤箱的底部设置有出水口,所述推车主体上固定连接有吸污泵,所述吸污泵和过滤箱之间通过第一连接管连接,所述吸污泵的一侧还连接有第二连接管,所述第二连接管的一端连接有吸污罩,所述推车主体上开设有两个定位槽,两个所述定位槽内安装有刮除组件,刮除组件用于清理养殖池地面。In order to achieve the above object, the utility model provides the following technical solutions: a culture pond cleaning equipment, including a cart main body, a filter box is fixedly connected to the cart main body, and a water outlet is provided at the bottom of the filter box. A sewage suction pump is fixedly connected to the main body of the trolley, and the sewage suction pump and the filter box are connected through a first connecting pipe. One side of the sewage suction pump is also connected to a second connecting pipe, and the second connecting pipe One end of the pipe is connected with a suction cover, and two positioning grooves are provided on the main body of the trolley, and a scraping assembly is installed in the two positioning grooves, and the scraping assembly is used to clean the ground of the culture pond.
优选的,所述推车主体上且位于过滤箱的底部出水口对应位置开设有通孔。Preferably, a through hole is opened on the main body of the trolley at a position corresponding to the water outlet at the bottom of the filter box.
优选的,所述吸污罩设置有推车主体的底部,而第二连接管穿过推车主体和吸污罩连接。Preferably, the dirt suction hood is provided with the bottom of the trolley main body, and the second connecting pipe passes through the trolley main body and is connected to the dirt suction hood.
优选的,所述刮除组件包括固定板、弹簧杆、安装架和刮板,其中固定板通过螺钉固定在定位槽内,安装架的上方固定连接有弹簧杆,安装架的内侧开设有安装槽,所述安装槽内安装有刮板。Preferably, the scraping assembly includes a fixed plate, a spring rod, a mounting frame and a scraper, wherein the fixed plate is fixed in the positioning groove by screws, the spring rod is fixedly connected to the top of the mounting frame, and the inside of the mounting frame is provided with a mounting groove , a scraper is installed in the installation groove.
优选的,所述弹簧杆的上端穿过固定板,且弹簧杆的末端连接有限位块。Preferably, the upper end of the spring rod passes through the fixing plate, and the end of the spring rod is connected with a limit block.
优选的,所述过滤箱的内壁上卡接有过滤网。Preferably, a filter screen is clamped on the inner wall of the filter box.
有益效果Beneficial effect
该养殖池清污设备,通过吸污泵和吸污罩的配合将杂质污物吸附进过滤箱内,再过滤网收集,同时刮板能将吸附在池底的顽固污物刮除,使得清污更加彻底,弹簧杆外侧的弹簧能避免刮板和池底产生硬性接触,避免刮坏池底铺设的防水布或是崩坏刮板,且能保证刮板和池底始终接触,避免了刮板磨损后不能有效除污的情况。The sewage cleaning equipment for the breeding pond absorbs the impurities and dirt into the filter box through the cooperation of the sewage suction pump and the sewage suction cover, and then collects them through the filter screen. The pollution is more thorough. The spring on the outside of the spring rod can avoid the hard contact between the scraper and the bottom of the pool, avoid scratching the waterproof cloth laid on the bottom of the pool or collapse the scraper, and can ensure that the scraper and the bottom of the pool are always in contact, avoiding scraping The situation where the plate cannot be effectively decontaminated after wear.
附图说明Description of drawings
图1为本实用新型整体结构示意图;Fig. 1 is a schematic diagram of the overall structure of the utility model;
图2为本实用新型整体结构正视图;Fig. 2 is the front view of the overall structure of the utility model;
图3为本实用新型刮出组件结构示意图。Fig. 3 is a structural schematic diagram of the scraper assembly of the present invention.
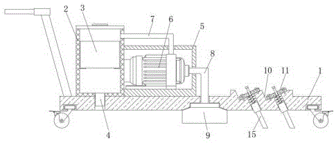
图中:1、推车主体;2、过滤箱;3、过滤网;4、出水口;5、防护罩;6、吸污泵;7、第一连接管;8、第二连接管;9、吸污罩;10、定位槽;11、固定板;12、弹簧杆;13、安装架;14、安装槽;15、刮板。In the figure: 1. Cart main body; 2. Filter box; 3. Filter screen; 4. Water outlet; 5. Protective cover; 6. Sewage suction pump; 7. First connecting pipe; 8. Second connecting pipe; 9 1. Suction cover; 10. Positioning groove; 11. Fixed plate; 12. Spring rod; 13. Mounting frame; 14. Mounting groove; 15. Scraper.
具体实施方式Detailed ways
下面将结合本实用新型实施例中的附图,对本实用新型实施例中的技术方案进行清楚、完整地描述,显然,所描述的实施例仅仅是本实用新型一部分实施例,而不是全部的实施例。基于本实用新型中的实施例,本领域普通技术人员在没有做出创造性劳动前提下所获得的所有其他实施例,都属于本实用新型保护的范围。The technical solutions in the embodiments of the present invention will be clearly and completely described below in conjunction with the accompanying drawings in the embodiments of the present invention. Obviously, the described embodiments are only part of the embodiments of the present invention, not all of them. example. Based on the embodiments of the present utility model, all other embodiments obtained by persons of ordinary skill in the art without making creative efforts belong to the scope of protection of the present utility model.
请参阅图1-3,一种养殖池清污设备,包括推车主体1,推车主体1包括下方的滚轮以及推车把手,推车主体1上通过螺钉连接有过滤箱2,过滤箱2的内壁上卡接有过滤网3,同时过滤箱2的底部设置有出水口4,同时在推车主体1上且与出水口4对应位置开设有通孔。Please refer to Figure 1-3, a kind of cleaning equipment for breeding ponds, including a cart main body 1, the cart main body 1 includes the rollers below and the cart handle, the cart main body 1 is connected with a
推车主体1上通过螺钉连接有吸污泵6,吸污泵6的外侧还安装有防护罩5,在吸污泵6上连接有第一连接管7和第二连接管8,其中第一连接管7的另一端和过滤箱2连接,而第二连接管8的另一端穿过推车主体1,且与推车主体1底部的吸污罩9连接,及吸污泵6开启时,污物通过吸污罩9吸入,然后通过第二连接管8和第一连接管7进入过滤箱2内。The cart main body 1 is connected with a sewage suction pump 6 by screws, and a
推车主体1上开设有两个定位槽10,定位槽10内安装有刮除组件,鱼池底可能会有污泥、鱼食或是鱼类排泄物卡在底部,无法通过吸污泵6直接吸走时,刮除组件可以将这些顽固的污物刮除。Two
请参阅图3,作为本实施例的优选方案,刮除组件包括固定板11、弹簧杆12、安装架13和刮板15,其中固定板11通过螺钉固定安装在定位槽内10,因为定位槽10整体呈“V”形,刮除组件安装后整体呈倾斜状态,同时定位槽10的位置开设有倾斜的通孔,即刮出组件可通过该倾斜通孔伸出;Please refer to Fig. 3, as a preferred solution of this embodiment, the scraper assembly includes a
安装架13的上方通过焊接固定有三组弹簧杆12,弹簧杆12的上端穿过固定板11,且在弹簧杆12的末端连接有限位块,其中弹簧杆12外侧的弹簧设置在固定板11和安装架13之间的部分。The top of
在安装架13的内侧开设有安装槽14,而刮板15卡接在安装槽14内,且刮板15和安装架13通过螺钉固定,刮板15的下端设有倾斜面。An
因为养殖池一般会铺设鱼池防水布,有的鱼池是用水泥砌成,也有采用玻璃钢等其他材质的,为了防止鱼池或是防水布损坏,刮板15采用塑料材质。Because culture pool generally can lay fishpond waterproof cloth, some fishponds are to build with cement, also have to adopt other materials such as fiberglass, in order to prevent fishpond or tarpaulin from being damaged, scraper 15 adopts plastic material.
工作过程及原理:通过外接电源启动吸污泵6,此时通过第二连接管8和吸污泵6连接的吸污罩9内会产生负压,将杂质污物进行吸附,污物沿着第二连接管8以及第一连接管7进入到过滤箱2内,被过滤网3拦截住,而杂质污物中还含有的水分则通过过滤网3以及出水口4流出。Working process and principle: Start the sewage suction pump 6 through an external power supply. At this time, a negative pressure will be generated in the sewage suction cover 9 connected to the sewage suction pump 6 through the second connecting
同时推动推车主体1移动时,倾斜的刮板15会将吸附在池底的顽固污物刮下来,方便后续通过吸污罩9吸附。When pushing the cart main body 1 to move at the same time, the
因为弹簧杆12的外侧设有弹簧,即安装架13、刮板15可沿着推车主体1上的倾斜通孔向上移动,刮板15不会和池底产生硬性的接触,避免刮坏池底铺设的防水布或是崩坏刮板15等。Because the outside of the
因为刮板15采用塑料材质,在与池底接触刮除顽固污物时会有磨损变短,此时,弹簧杆12外侧的弹簧会推动安装架13以及刮板15下移,使得刮板15始终和池底接触,避免刮板15磨损变短后不能有效除污的情况。Because the
当刮板15需要更换时,松开固定板11的固定螺钉,以及安装架13上的螺钉,即可将刮板15取出,更换新的刮板15后重新固定螺钉即可。When the
尽管已经示出和描述了本实用新型的实施例,对于本领域的普通技术人员而言,可以理解在不脱离本实用新型的原理和精神的情况下可以对这些实施例进行多种变化、修改、替换和变型,本实用新型的范围由所附权利要求及其等同物限定。Although the embodiments of the present invention have been shown and described, those skilled in the art can understand that various changes and modifications can be made to these embodiments without departing from the principle and spirit of the present invention , replacements and modifications, the scope of the present utility model is defined by the appended claims and their equivalents.
Claims (6)
Priority Applications (1)
| Application Number | Priority Date | Filing Date | Title |
|---|---|---|---|
| CN202320411917.5U CN219305784U (en) | 2023-03-07 | 2023-03-07 | Breed pond equipment of decontaminating |
Applications Claiming Priority (1)
| Application Number | Priority Date | Filing Date | Title |
|---|---|---|---|
| CN202320411917.5U CN219305784U (en) | 2023-03-07 | 2023-03-07 | Breed pond equipment of decontaminating |
Publications (1)
| Publication Number | Publication Date |
|---|---|
| CN219305784U true CN219305784U (en) | 2023-07-07 |
Family
ID=87024613
Family Applications (1)
| Application Number | Title | Priority Date | Filing Date |
|---|---|---|---|
| CN202320411917.5U Active CN219305784U (en) | 2023-03-07 | 2023-03-07 | Breed pond equipment of decontaminating |
Country Status (1)
| Country | Link |
|---|---|
| CN (1) | CN219305784U (en) |
-
2023
- 2023-03-07 CN CN202320411917.5U patent/CN219305784U/en active Active
Similar Documents
| Publication | Publication Date | Title |
|---|---|---|
| CN109594643B (en) | Household rainwater reservoir under sponge city concept | |
| CN219305784U (en) | Breed pond equipment of decontaminating | |
| CN219835019U (en) | Energy-saving environment-friendly rabbit house excrement treatment device | |
| CN216983197U (en) | Full-automatic circulating water aquaculture pond fish excrement absorbing device | |
| CN218167944U (en) | Belt cleaning device is used in processing of copper handicraft convenient to clearance waste water | |
| CN202035379U (en) | Fish pond contamination removing device | |
| CN216292638U (en) | A kind of nursery box for fish fry breeding | |
| CN220343275U (en) | Fish pond bag for cultivation | |
| CN221702921U (en) | Water route anti-clogging device | |
| CN114916491A (en) | Multi-functional goldfish cultured equipment | |
| CN219373492U (en) | Green abalone seedling raising box | |
| CN212018834U (en) | A landscape pool debris cleaning device | |
| CN216366830U (en) | Open-air portable purifier | |
| CN220987068U (en) | Fecal treatment ware | |
| CN221815407U (en) | Pig farm sewage filtering mechanism | |
| CN218007770U (en) | Strong leakproofness belt cleaning device under water | |
| CN118303359B (en) | Graphene heating constant-temperature water tank device with connecting structure | |
| CN217772212U (en) | Intelligent floor washing machine with sewage liquid level overhigh warning device | |
| CN222676107U (en) | A pig house cleaning device | |
| CN221011539U (en) | Bottom cleaning device for micropterus salmoides culture pond | |
| CN220176297U (en) | Floating impurity filtering device for cleaning sesame oil raw materials | |
| CN216629842U (en) | A greenhouse with cleaning function | |
| CN202697477U (en) | Dirt removal device for surface of fish pond | |
| CN221732600U (en) | A grid filtering structure capable of avoiding clogging | |
| CN219593410U (en) | Penaeus vannamei Boone breeding device |
Legal Events
| Date | Code | Title | Description |
|---|---|---|---|
| GR01 | Patent grant | ||
| GR01 | Patent grant | ||
| TR01 | Transfer of patent right | ||
| TR01 | Transfer of patent right |
Effective date of registration: 20251016 Address after: 448000 Hubei Province Jingmen City Zhongxiang City Wenxia Kou Reservoir Management Office Wenxia Hotel Patentee after: Hubei Agricultural Development Fishery Technology Co.,Ltd. Country or region after: China Address before: 238000 Anhui Province Hefei City Chaohu City Huailin Town Zhahe Administrative Village Dingzhuang Village Patentee before: Chaohu Jiucheng Ecological Agriculture Co.,Ltd. Country or region before: China |
