CN218796181U - crushed stone recycling machine - Google Patents
crushed stone recycling machine Download PDFInfo
- Publication number
- CN218796181U CN218796181U CN202222991002.4U CN202222991002U CN218796181U CN 218796181 U CN218796181 U CN 218796181U CN 202222991002 U CN202222991002 U CN 202222991002U CN 218796181 U CN218796181 U CN 218796181U
- Authority
- CN
- China
- Prior art keywords
- crushing
- box
- grinding
- fixed mounting
- crushing box
- Prior art date
- Legal status (The legal status is an assumption and is not a legal conclusion. Google has not performed a legal analysis and makes no representation as to the accuracy of the status listed.)
- Active
Links
Images
Classifications
-
- Y—GENERAL TAGGING OF NEW TECHNOLOGICAL DEVELOPMENTS; GENERAL TAGGING OF CROSS-SECTIONAL TECHNOLOGIES SPANNING OVER SEVERAL SECTIONS OF THE IPC; TECHNICAL SUBJECTS COVERED BY FORMER USPC CROSS-REFERENCE ART COLLECTIONS [XRACs] AND DIGESTS
- Y02—TECHNOLOGIES OR APPLICATIONS FOR MITIGATION OR ADAPTATION AGAINST CLIMATE CHANGE
- Y02W—CLIMATE CHANGE MITIGATION TECHNOLOGIES RELATED TO WASTEWATER TREATMENT OR WASTE MANAGEMENT
- Y02W30/00—Technologies for solid waste management
- Y02W30/50—Reuse, recycling or recovery technologies
- Y02W30/52—Mechanical processing of waste for the recovery of materials, e.g. crushing, shredding, separation or disassembly
Landscapes
- Crushing And Grinding (AREA)
Abstract
本实用新型公开了一种碎石回收碾碎机,包括碾碎箱,所述碾碎箱下端面四角均固定安装有第一支撑柱,所述碾碎箱上端面开设有进料口,所述进料口上端面通过铰链连接有双开门,所述碾碎箱下方设有输送组件,所述碾碎箱前侧固定安装有传送机构,所述碾碎箱左侧设有防尘机构,所述碾碎箱右侧安装有驱动组件,所述碾碎箱内腔上部转动安装有粉碎辊,所述碾碎箱内壁两侧对称固定安装有倾斜挡板,所述碾碎箱内腔下部安装有过滤组件,本实用新型涉及碎石碾碎技术领域;本实用新型通过设置的防尘机构,可防止粉碎辊在对石块进行碾碎的过程中有灰尘飞出危害工作人员的身体健康,在碾碎过程中,启动水泵向粉碎辊内喷水,避免灰尘飘出,危害工作人员的身体健康。
The utility model discloses a crushing machine for recovering crushed stones, which comprises a crushing box, the four corners of the lower end surface of the crushing box are fixedly installed with first support columns, and the upper end surface of the crushing box is provided with a feeding port. The upper end surface of the feed inlet is connected with a double door through a hinge, a conveying assembly is arranged under the crushing box, a transmission mechanism is fixedly installed on the front side of the crushing box, and a dust-proof mechanism is installed on the left side of the crushing box. The right side of the crushing box is equipped with a drive assembly, the upper part of the inner cavity of the crushing box is rotated and installed with crushing rollers, the inner wall of the crushing box is symmetrically fixed on both sides with inclined baffles, and the lower part of the inner cavity of the crushing box is installed There is a filter assembly, and the utility model relates to the technical field of gravel crushing; the utility model can prevent the dust flying out of the crushing roller during the crushing process of the stones through the dust-proof mechanism, which will endanger the health of the staff. During the crushing process, start the water pump to spray water into the crushing roller to avoid dust floating out and endangering the health of the workers.
Description
技术领域technical field
本实用新型涉及碎石碾碎技术领域,具体是一种碎石回收碾碎机。The utility model relates to the technical field of gravel crushing, in particular to a crushing machine for recovering crushed stones.
背景技术Background technique
碾碎机是将大尺寸的固体原料粉碎至要求尺寸的机械,碾碎机由粗碎、细碎、风力输送等装置组成,以高速撞击的形式达到碾碎机之目的,利用风能一次成粉,取消了传统的筛选程序,矿石的石料加工碾碎机是对石料进粉碎的装置,石料需要通过粉碎后才能进行接下来的加工碾碎机分类根据被碎料或碎制料的尺寸可将高效碾碎机区分为粗碎机、中碎机、细磨机、超细磨机。The crusher is a machine that crushes large-sized solid raw materials to the required size. The crusher is composed of devices such as coarse crushing, fine crushing, and wind conveying. The traditional screening procedure is cancelled. The ore stone processing and crushing machine is a device for crushing the stone. The stone needs to be crushed before it can be processed next. Crushers are divided into coarse crushers, medium crushers, fine grinders, and ultrafine grinders.
在公开为CN214078441U公布了本实用新型公开了一种城市建筑垃圾碎石回收碾碎装置,涉及建筑工程技术领域,包括底板,所述底板的上表面固定连接有两个相对称的支撑板,所述支撑板的上表面固定连接有三个等距离排列的支撑块,所述支撑块的上表面固定连接有碾碎装置,所述碾碎装置的左右内壁之间固定连接有挡板,所述碾碎装置前后内侧壁的上部转动连接有两个相对称的第一转轴。Publicly published as CN214078441U, the utility model discloses a recovery and crushing device for urban construction waste rubble, which relates to the technical field of construction engineering, and includes a bottom plate, and the upper surface of the bottom plate is fixedly connected with two symmetrical support plates. The upper surface of the support plate is fixedly connected with three support blocks arranged equidistantly, the upper surface of the support block is fixedly connected with a crushing device, and a baffle is fixedly connected between the left and right inner walls of the crushing device. The upper part of the front and rear inner side walls of the crushing device is rotatably connected with two symmetrical first rotating shafts.
但是上述结构之中存在不足之处,在对石块进行碎石碾碎时,容易有碎石和扬尘从进料口飞出,从而危害工作人员的身体健康。However, there are deficiencies in the above-mentioned structure. When the stone is crushed, it is easy to have gravel and dust to fly out from the feed port, thereby endangering the health of the staff.
为此,本实用新型提供了一种碎石回收碾碎机,以解决上述问题。For this reason, the utility model provides a kind of crushing stone recycling grinder, to solve the above problems.
实用新型内容Utility model content
针对现有技术的不足,本实用新型提供了一种碎石回收碾碎机,解决了上述问题。Aiming at the deficiencies of the prior art, the utility model provides a crushing machine for recovering crushed stones, which solves the above-mentioned problems.
为实现以上目的,本实用新型通过以下技术方案予以实现:一种碎石回收碾碎机,包括用于碾碎石块的碾碎箱,所述碾碎箱下端面四角均固定安装有第一支撑柱,所述碾碎箱上端面开设有进料口,所述进料口上端面通过铰链连接有双开门,所述碾碎箱下方设有输送组件,所述碾碎箱前侧固定安装有传送机构,所述碾碎箱左侧设有防尘机构,所述碾碎箱右侧安装有驱动组件所述碾碎箱内腔上部转动安装有两个内部中空的粉碎辊,所述碾碎箱内壁两侧对称固定安装有倾斜挡板,所述倾斜挡板位于两个粉碎辊上方,所述碾碎箱内腔下部安装有过滤组件。In order to achieve the above purpose, the utility model is achieved through the following technical solutions: a gravel recovery crusher, including a crushing box for crushing stones, and the four corners of the lower end surface of the crushing box are fixedly installed with first The support column, the upper end surface of the crushing box is provided with a feed port, the upper end face of the feeding port is connected with a double door through a hinge, the conveying assembly is arranged under the crushing box, and the front side of the crushing box is fixedly installed with The transmission mechanism, the left side of the crushing box is provided with a dust-proof mechanism, and the right side of the crushing box is equipped with a drive assembly. Both sides of the inner wall of the box are symmetrically fixed with inclined baffles, and the inclined baffles are located above the two crushing rollers, and a filter assembly is installed at the lower part of the inner cavity of the crushing box.
防尘机构包括固定安装在碾碎箱一侧的第一支撑板,所述第一支撑板上端面固定安装有水箱,所述水箱上端面固定安装有水泵,所述水泵的进水口通过管道连通水箱内腔底部,所述水泵的出水口固定安装有传送管道,所述传送管道另一端通过旋转接头安装有输水管,所述输水管一端通过轴承贯穿碾碎箱一侧固定连接在粉碎辊的转轴上并通过密封橡胶延伸至粉碎辊内部,所述粉碎辊的碾碎区域上等间距开设有出水孔,所述出水孔位于碾碎区域两个齿牙之间的凹面上。The dust-proof mechanism includes a first support plate fixedly installed on one side of the crushing box, a water tank is fixedly installed on the end surface of the first support plate, a water pump is fixedly installed on the upper end surface of the water tank, and the water inlet of the water pump is connected through a pipeline. At the bottom of the inner cavity of the water tank, the water outlet of the water pump is fixedly equipped with a transmission pipe, and the other end of the transmission pipe is installed with a water delivery pipe through a rotary joint. The rotating shaft extends to the inside of the crushing roller through the sealing rubber, and the crushing area of the crushing roller is provided with water outlet holes at equal intervals, and the water outlet holes are located on the concave surface between the two teeth of the crushing area.
优选的,所述过滤组件包括固定安装在碾碎箱内壁一侧的固定板,所述固定板底部固定安装有若干个弹簧,所述弹簧下端面固定安装有筛框,所述筛框远离固定板一端转动连接在碾碎箱内壁一侧,所述筛框倾斜设置在碾碎箱内,所述筛框下端面安装有凸轮,所述凸轮轴心位置固定安装有连接杆,所述连接杆远离凸轮一端通过轴承贯穿碾碎箱一侧固定安装有第一带轮。Preferably, the filter assembly includes a fixed plate fixedly installed on one side of the inner wall of the crushing box, several springs are fixedly installed on the bottom of the fixed plate, and a screen frame is fixedly installed on the lower end of the spring, and the screen frame is far away from the fixed One end of the plate is rotatably connected to one side of the inner wall of the crushing box, the screen frame is installed obliquely in the crushing box, a cam is installed on the lower surface of the screen frame, and a connecting rod is fixedly installed at the center of the cam axis, and the connecting rod One end away from the cam runs through the side of the crushing box through a bearing and is fixedly installed with a first pulley.
优选的,所述传送机构包括固定安装在碾碎箱前侧的传送箱体,所述传送箱体内壁上下两侧均转动安装有第一转动辊,两个第一转动辊通过第一传送带传动连接,所述第一传送带外壁均匀分布固定安装有盛料板,所述传送箱体底部连通有出料管,所述出料管另一端连通碾碎箱内腔中部,所述出料管与碾碎箱连接处位于筛框的转动轴位置,所述传送箱体顶部连通有传送筒,所述传送筒另一端连通碾碎箱内腔上部,所述传送筒位于倾斜挡板上方,位于上方的第一转动辊通过轴承贯穿传送箱体一侧固定安装有第二带轮。Preferably, the transmission mechanism includes a transmission box fixedly installed on the front side of the crushing box, first rotating rollers are rotatably installed on the upper and lower sides of the inner wall of the transmission box, and the two first rotating rollers are driven by the first conveyor belt. connected, the outer wall of the first conveyor belt is evenly distributed and fixedly installed with a material holding plate, the bottom of the transmission box is connected with a discharge pipe, and the other end of the discharge pipe is connected with the middle of the inner cavity of the crushing box, and the discharge pipe is connected to the middle of the inner cavity of the crushing box. The connection of the crushing box is located at the position of the rotation axis of the screen frame. The top of the transmission box is connected to a transmission cylinder, and the other end of the transmission cylinder is connected to the upper part of the inner cavity of the crushing box. The first rotating roller passes through the bearing and is fixedly installed on one side of the conveying box with the second pulley.
优选的,所述驱动组件包括固定安装在碾碎箱右侧的U形支撑板,所述U形支撑板上端面固定安装有第一驱动电机,所述第一驱动电机输出端固定安装有第三带轮,所述第三带轮远离第一驱动电机一端固定安装有驱动齿轮,一侧粉碎辊的转轴通过轴承贯穿碾碎箱右侧固定连接驱动齿轮轴心位置,所述驱动齿轮啮合有从动齿轮,另一侧粉碎辊的转轴通过轴承贯穿碾碎箱右侧固定连接从动齿轮轴心位置,所述第三带轮通过皮带与第一带轮和第二带轮传动连接。Preferably, the drive assembly includes a U-shaped support plate fixedly installed on the right side of the crushing box, a first drive motor is fixedly installed on the upper surface of the U-shaped support plate, and a second drive motor is fixedly installed on the output end of the first drive motor. Three pulleys, the end of the third pulley far away from the first drive motor is fixedly installed with a drive gear, and the rotating shaft of one side of the crushing roller passes through the bearing to pass through the right side of the crushing box and is fixedly connected to the shaft center of the drive gear, and the drive gear is meshed with The driven gear, the rotating shaft of the crushing roller on the other side passes through the bearing on the right side of the crushing box and is fixedly connected to the axial center position of the driven gear, and the third pulley is connected to the first pulley and the second pulley through a belt.
优选的,所述输送组件包括安装在碾碎箱下方的存水箱,所述存水箱顶端对应两侧固定安装有挡板,两个挡板之间转动连接有左右对称设置的第二转动辊,所述第二转动辊外壁转动连接有第二传送带,所述挡板一侧固定安装有第二支撑板,所述第二支撑板上端面固定安装有第二驱动电机,所述第二驱动电机输出端贯穿挡板一端固定安装在第二转动辊一端。Preferably, the conveying assembly includes a water storage tank installed below the crushing tank, baffles are fixedly installed on both sides corresponding to the top of the water storage tank, and a second rotating roller symmetrically arranged left and right is rotatably connected between the two baffles. The outer wall of the second rotating roller is rotatably connected with a second conveyor belt, a second support plate is fixedly installed on one side of the baffle plate, and a second drive motor is fixedly installed on the upper surface of the second support plate, and the second drive motor The output end passes through one end of the baffle plate and is fixedly installed on one end of the second rotating roller.
优选的,所述碾碎箱底部呈倒锥形。Preferably, the bottom of the crushing box is in the shape of an inverted cone.
优选的,所述碾碎箱底部开设有出料口,所述出料口正对第二传送带中间位置。Preferably, a discharge opening is opened at the bottom of the crushing box, and the discharge opening is directly opposite to the middle position of the second conveyor belt.
有益效果Beneficial effect
本实用新型提供了一种碎石回收碾碎机。与现有技术相比具备以下有益效果:The utility model provides a crushing machine for recovering crushed stones. Compared with the prior art, it has the following beneficial effects:
(1)、本实用新型通过设置的防尘机构,能够有效的遮挡灰尘和碎石飞出,将石块从进料口投入后将双开门合上,可防止粉碎辊在对石块进行碾碎的过程中有碎石飞溅出来,危害工作人员的身体健康,在碾碎过程中,启动水泵向粉碎辊内喷水,降低粉碎辊对石块碾碎时产生的灰尘,避免灰尘飘出,危害工作人员的身体健康。(1) The utility model can effectively block dust and broken stones from flying out through the dust-proof mechanism. After putting the stones into the feed port, close the double doors to prevent the crushing roller from grinding the stones. During the crushing process, gravel splashes out, endangering the health of the workers. During the crushing process, start the water pump to spray water into the crushing rollers to reduce the dust generated when the crushing rollers crush the stones and prevent dust from floating out. endanger the health of workers.
(2)、本实用新型通过设置的过滤组件能够将碾碎后的较大的石块分拣出来,通过启动第一驱动电机将较大的石块通过出料管输送到传送机构内,然后第一驱动电机输送端安装的第三带轮通过皮带带动第二带轮转动,第二带轮带动第一传送带上的盛料板转动,从而将较大的石块通过盛料板输送到碾碎箱内进行再次碾碎,直到石块达到使用要求。(2), the utility model can sort out the larger stones after crushing through the filter assembly provided, and transport the larger stones to the transmission mechanism through the discharge pipe by starting the first drive motor, and then The third pulley installed at the delivery end of the first drive motor drives the second pulley to rotate through the belt, and the second pulley drives the material holding plate on the first conveyor belt to rotate, so that the larger stones are transported to the mill through the material holding plate. Crushed again in the crushing box until the stone meets the requirements for use.
附图说明Description of drawings
图1是本实用新型的外部结构立体图;Fig. 1 is a perspective view of the external structure of the utility model;
图2是本实用新型的内部结构主视图;Fig. 2 is a front view of the internal structure of the utility model;
图3是本实用新型的内部结构左视图;Fig. 3 is a left view of the internal structure of the utility model;
图4是本实用新型的驱动组件示意图;Fig. 4 is a schematic diagram of a drive assembly of the present utility model;
图5是本实用新型的A部放大示意图。Fig. 5 is an enlarged schematic view of part A of the present invention.
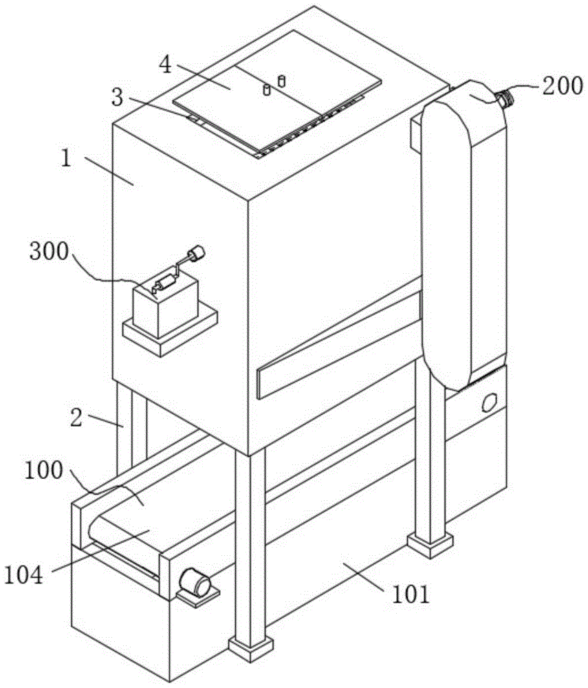
图中1、碾碎箱;2、第一支撑柱;3、进料口;4、双开门;5、粉碎辊;6、倾斜挡板;7、出料口;100、输送组件;101、存水箱;102、挡板;103、第二转动辊;104、第二传送带;105、第二支撑板;106、第二驱动电机;200、传送机构;201、传送箱体;202、第一转动辊;203、第一传送带;204、盛料板;205、出料管;206、传送筒;207、第二带轮;300、防尘机构;301、第一支撑板;302、水箱;303、水泵;304、传送管道;305、输水管;306、出水孔;400、驱动组件;401、U形支撑板;402、第一驱动电机;403、第三带轮;404、驱动齿轮;405、从动齿轮;406、皮带;500、过滤组件;501、固定板;502、弹簧;503、筛框;504、凸轮;505、连接杆;506、第一带轮。In the figure 1, crushing box; 2, first support column; 3, feed inlet; 4, double doors; 5, crushing roller; 6, inclined baffle; 7, discharge port; Water storage tank; 102, baffle plate; 103, second rotating roller; 104, second conveyor belt; 105, second support plate; 106, second drive motor; 200, transmission mechanism; 201, transmission box; 202, first Rotating roller; 203, the first conveyor belt; 204, the material holding plate; 205, the discharge pipe; 206, the transmission cylinder; 207, the second pulley; 300, the dustproof mechanism; 301, the first support plate; 302, the water tank; 303, water pump; 304, transmission pipeline; 305, water delivery pipe; 306, water outlet hole; 400, driving assembly; 401, U-shaped support plate; 402, first driving motor; 403, third pulley; 404, driving gear; 405, driven gear; 406, belt; 500, filter assembly; 501, fixed plate; 502, spring; 503, screen frame; 504, cam; 505, connecting rod; 506, first pulley.
具体实施方式Detailed ways
下面将结合本实用新型实施例中的附图,对本实用新型实施例中的技术方案进行清楚、完整地描述,显然,所描述的实施例仅仅是本实用新型一部分实施例,而不是全部的实施例。基于本实用新型中的实施例,本领域普通技术人员在没有做出创造性劳动前提下所获得的所有其他实施例,都属于本实用新型保护的范围。The technical solutions in the embodiments of the present invention will be clearly and completely described below in conjunction with the accompanying drawings in the embodiments of the present invention. Obviously, the described embodiments are only part of the embodiments of the present invention, not all of them. example. Based on the embodiments of the present utility model, all other embodiments obtained by persons of ordinary skill in the art without making creative efforts belong to the scope of protection of the present utility model.
实施例一:Embodiment one:
请参阅图1-5,一种碎石回收碾碎机,包括用于碾碎石块的碾碎箱1,碾碎箱1下端面四角均固定安装有第一支撑柱2,碾碎箱1上端面开设有进料口3,进料口3上端面通过铰链连接有双开门4,碾碎箱1下方设有输送组件100,碾碎箱1前侧固定安装有传送机构200,碾碎箱1左侧设有防尘机构300,碾碎箱1右侧安装有驱动组件400,碾碎箱1内腔上部转动安装有两个内部中空的粉碎辊5,碾碎箱1内壁两侧对称固定安装有倾斜挡板6,倾斜挡板6位于两个粉碎辊5上方,碾碎箱1内腔下部安装有过滤组件500。Please refer to Fig. 1-5, a crushing machine for recovering crushed stones, including a crushing
防尘机构300包括固定安装在碾碎箱1一侧的第一支撑板301,第一支撑板301上端面固定安装有水箱302,水箱302上端面固定安装有水泵303,水泵303的进水口通过管道连通水箱302内腔底部,水泵303的出水口固定安装有传送管道304,传送管道304另一端通过旋转接头安装有输水管305,输水管305一端通过轴承贯穿碾碎箱1一侧固定连接在粉碎辊5的转轴上并通过密封橡胶延伸至粉碎辊5内部,粉碎辊5的碾碎区域上等间距开设有出水孔306,出水孔306位于碾碎区域两个齿牙之间的凹面上,通过设置的防尘机构300能够避免粉碎辊5在对石块进行碾碎时会有灰尘飘出,危害工作人员的健康,需要降尘时,启动水泵303将水箱302内的水通过输水管305适量的将水输送到粉碎辊5内,从而对碾碎箱1内部进行降尘处理,避免较多的灰尘产生。The dust-
实施例二:Embodiment two:
请参阅图1-5,本实施例在实施例一的基础上提供了一种技术方案:过滤组件500包括固定安装在碾碎箱1内壁一侧的固定板501,固定板501底部固定安装有若干个弹簧502,弹簧502下端面固定安装有筛框503,筛框503远离固定板501一端转动连接在碾碎箱1内壁一侧,筛框503倾斜设置在碾碎箱1内,筛框503下端面安装有凸轮504,凸轮504轴心位置固定安装有连接杆505,连接杆505远离凸轮504一端通过轴承贯穿碾碎箱1一侧固定安装有第一带轮506,通过设置的过滤组件500能够有效的将不合格的石块过滤出来,碾碎后的石块掉落到筛框503内,通过凸轮504的转动将不合格的石块从筛框503过滤出来。Please refer to Figures 1-5, this embodiment provides a technical solution on the basis of Embodiment 1: the
传送机构200包括固定安装在碾碎箱1前侧的传送箱体201,传送箱体201内壁上下两侧均转动安装有第一转动辊202,两个第一转动辊202通过第一传送带203传动连接,第一传送带203外壁均匀分布固定安装有盛料板204,传送箱体201底部连通有出料管205,出料管205另一端连通碾碎箱1内腔中部,出料管205与碾碎箱1连接处位于筛框503的转动轴位置,传送箱体201顶部连通有传送筒206,传送筒206另一端连通碾碎箱1内腔上部,传送筒206位于倾斜挡板6上方,位于上方的第一转动辊202通过轴承贯穿传送箱体201一侧固定安装有第二带轮207,通过设置的传送机构200能够将不合格的石块进行再次碾压,筛框503过滤出的不合格石块通过出料管205输送到传送箱体201内,通过驱动组件400带动第二带轮207转动,第二带轮207带动第一传送带203上的盛料板204转动,从而将不合格石块通过传送筒206输送到碾碎箱1内部进行再次碾碎,直到达到使用要求。The
驱动组件400包括固定安装在碾碎箱1右侧的U形支撑板401,U形支撑板401上端面固定安装有第一驱动电机402,第一驱动电机402输入端通过外置线缆连接电源,第一驱动电机402输出端固定安装有第三带轮403,第三带轮403远离第一驱动电机402一端固定安装有驱动齿轮404,一侧粉碎辊5的转轴通过轴承贯穿碾碎箱1右侧固定连接驱动齿轮404轴心位置,驱动齿轮404啮合有从动齿轮405,另一侧粉碎辊5的转轴通过轴承贯穿碾碎箱1右侧固定连接从动齿轮405轴心位置,第三带轮403通过皮带406与第一带轮506和第二带轮207传动连接,通过设置的驱动组件400能够有效的带动粉碎辊5和过滤组件500工作,当需要对石块进行碾碎时,通过启动第一驱动电机402带动驱动齿轮404转动,驱动齿轮404带动从动齿轮405转动,从而带动粉碎辊5对石块进行碾碎挤压,第一驱动电机402上的第三带轮403带动第一带轮506转动,从而带动过滤组件500工作,输送组件100包括安装在碾碎箱1下方的存水箱101,存水箱101顶端对应两侧固定安装有挡板102,两个挡板102之间转动连接有左右对称设置的第二转动辊103,第二转动辊103外壁转动连接有第二传送带104,挡板102一侧固定安装有第二支撑板105,第二支撑板105上端面固定安装有第二驱动电机106,第二驱动电机106输入端通过外置线缆连接电源,第二驱动电机106输出端贯穿挡板102一端固定安装在第二转动辊103一端,通过设置的输送组件100能够有效的将碾碎后的碎石输送到工作地点,碾碎箱1底部呈倒锥形,碾碎箱1底部开设有出料口7,出料口7正对第二传送带104中间位置。The
同时本说明书中未作详细描述的内容均属于本领域技术人员公知的现有技术。At the same time, the content not described in detail in this specification belongs to the prior art known to those skilled in the art.
工作时,首先将双开门4打开,然后将需要碾碎的石块投放到碾碎箱1内,然后在将双开门4关上,碾碎箱1内部两侧对称安装的倾斜挡板6能够有效的阻挡石块落到碾碎区以外的地方,接着启动第一驱动电机402,第一驱动电机402输出端带动驱动齿轮404转动,驱动齿轮404带动从动齿轮405转动,从而带动两个粉碎辊5对石块进行碾碎挤压,在两个粉碎辊5对石块挤压过程中,会产生大量的灰尘,接着启动水泵303将水箱302内的水通过输水管305输送到粉碎辊5内腔,然后通过出水孔306对碾碎区域喷水,从而对产生的灰尘进行降尘处理,碾碎后的碎石落入到筛框503内,第一驱动电机402输出端安装的第三带轮403通过皮带406带动第一带轮506转动,第一带轮506带动凸轮504转动,凸轮504在转动的过程中带动筛框503震动,从而将不合格的较大石块过滤出来,筛框503震动过程中通过出料管205输送到传送箱体201内,第三带轮403通过皮带406带动第二带轮207转动,第二带轮207带动第一传送带203转动,第一传送带203带动盛料板204将较大石块通过传送筒206输送到碾碎箱1内进行再次碾碎,直至达到使用要求,合格后的碎石通过重力作用从出料口7落入到第二传送带104上,通过启动第二驱动电机106带动第二传送带104将碾碎后的碎石进行传输,提高了工作效率。During work, at first the double door 4 is opened, then the stones that need to be crushed are put into the crushing box 1, and then the double door 4 is closed, and the inclined baffles 6 installed symmetrically on both sides inside the crushing box 1 can effectively The blocking stone falls to a place outside the crushing area, and then starts the first driving motor 402, the output end of the first driving motor 402 drives the driving gear 404 to rotate, and the driving gear 404 drives the driven gear 405 to rotate, thereby driving two crushing rollers 5 crush and squeeze the stones, a large amount of dust will be generated during the crushing process of the stones by the two crushing rollers 5, and then start the water pump 303 to transport the water in the water tank 302 to the crushing rollers 5 through the water delivery pipe 305 cavity, and then spray water on the crushing area through the water outlet hole 306, so as to carry out dust reduction treatment on the generated dust, and the crushed gravel falls into the screen frame 503, and the third pulley installed at the output end of the first driving motor 402 403 drives the first pulley 506 to rotate through the belt 406, the first pulley 506 drives the cam 504 to rotate, and the cam 504 drives the screen frame 503 to vibrate during the rotation, thereby filtering out unqualified large stones, and the screen frame 503 During the vibration process, it is transported into the transmission box 201 through the discharge pipe 205, the third pulley 403 drives the second pulley 207 to rotate through the belt 406, the second pulley 207 drives the first conveyor belt 203 to rotate, and the first conveyor belt 203 drives the Sheng The material plate 204 transports the larger stones to the crushing box 1 through the conveying cylinder 206 for crushing again until the use requirements are met, and the qualified crushed stones fall from the discharge port 7 to the second conveyor belt 104 by gravity , by starting the second drive motor 106 to drive the second conveyor belt 104 to transport the crushed gravel, which improves the working efficiency.
需要说明的是,在本文中,诸如第一和第二等之类的关系术语仅仅用来将一个实体或者操作与另一个实体或操作区分开来,而不一定要求或者暗示这些实体或操作之间存在任何这种实际的关系或者顺序。而且,术语“包括”、“包含”或者其任何其他变体意在涵盖非排他性的包含,从而使得包括一系列要素的过程、方法、物品或者设备不仅包括那些要素,而且还包括没有明确列出的其他要素,或者是还包括为这种过程、方法、物品或者设备所固有的要素。It should be noted that in this article, relational terms such as first and second are only used to distinguish one entity or operation from another entity or operation, and do not necessarily require or imply that there is a relationship between these entities or operations. There is no such actual relationship or order between them. Furthermore, the term "comprises", "comprises" or any other variation thereof is intended to cover a non-exclusive inclusion such that a process, method, article, or apparatus comprising a set of elements includes not only those elements, but also includes elements not expressly listed. other elements of or also include elements inherent in such a process, method, article, or device.
尽管已经示出和描述了本实用新型的实施例,对于本领域的普通技术人员而言,可以理解在不脱离本实用新型的原理和精神的情况下可以对这些实施例进行多种变化、修改、替换和变型,本实用新型的范围由所附权利要求及其等同物限定。Although the embodiments of the present invention have been shown and described, those skilled in the art can understand that various changes and modifications can be made to these embodiments without departing from the principle and spirit of the present invention , replacements and modifications, the scope of the present utility model is defined by the appended claims and their equivalents.
Claims (7)
Priority Applications (1)
| Application Number | Priority Date | Filing Date | Title |
|---|---|---|---|
| CN202222991002.4U CN218796181U (en) | 2022-11-10 | 2022-11-10 | crushed stone recycling machine |
Applications Claiming Priority (1)
| Application Number | Priority Date | Filing Date | Title |
|---|---|---|---|
| CN202222991002.4U CN218796181U (en) | 2022-11-10 | 2022-11-10 | crushed stone recycling machine |
Publications (1)
| Publication Number | Publication Date |
|---|---|
| CN218796181U true CN218796181U (en) | 2023-04-07 |
Family
ID=87275426
Family Applications (1)
| Application Number | Title | Priority Date | Filing Date |
|---|---|---|---|
| CN202222991002.4U Active CN218796181U (en) | 2022-11-10 | 2022-11-10 | crushed stone recycling machine |
Country Status (1)
| Country | Link |
|---|---|
| CN (1) | CN218796181U (en) |
Cited By (3)
| Publication number | Priority date | Publication date | Assignee | Title |
|---|---|---|---|---|
| CN116855772A (en) * | 2023-06-12 | 2023-10-10 | 江西群鑫强磁新材料股份有限公司 | A kind of recycling equipment for recovering rare earth metal from rare earth metal slag |
| CN117138924A (en) * | 2023-10-30 | 2023-12-01 | 连云港润莱石英科技有限公司 | Milling machine for deep processing of quartz raw materials |
| CN117531564A (en) * | 2023-04-28 | 2024-02-09 | 云南建投第二建设有限公司 | a crushing device |
-
2022
- 2022-11-10 CN CN202222991002.4U patent/CN218796181U/en active Active
Cited By (4)
| Publication number | Priority date | Publication date | Assignee | Title |
|---|---|---|---|---|
| CN117531564A (en) * | 2023-04-28 | 2024-02-09 | 云南建投第二建设有限公司 | a crushing device |
| CN116855772A (en) * | 2023-06-12 | 2023-10-10 | 江西群鑫强磁新材料股份有限公司 | A kind of recycling equipment for recovering rare earth metal from rare earth metal slag |
| CN117138924A (en) * | 2023-10-30 | 2023-12-01 | 连云港润莱石英科技有限公司 | Milling machine for deep processing of quartz raw materials |
| CN117138924B (en) * | 2023-10-30 | 2024-01-26 | 连云港润莱石英科技有限公司 | Milling machine for deep processing of quartz raw materials |
Similar Documents
| Publication | Publication Date | Title |
|---|---|---|
| CN218796181U (en) | crushed stone recycling machine | |
| CN209238049U (en) | A kind of processing unit of Solid construction waste classification size degradation | |
| CN117483042A (en) | A sand and gravel crusher for screening stones with multiple particle sizes and a stone screening method | |
| CN217491037U (en) | A high-efficient grinding mechanism that smashes for slay grinds | |
| CN216654717U (en) | A raw material crushing device for metallurgical equipment | |
| CN214863963U (en) | Waste recovery processing device for construction | |
| CN214021064U (en) | Effectual crushing and screening device | |
| CN221108396U (en) | Crushing device for snow melting agent production | |
| CN212856008U (en) | Horizontal dull polish machine | |
| CN211755851U (en) | Fine superfine smashing device for lithium battery electrode | |
| CN221816234U (en) | Concrete waste crushing device | |
| CN218531156U (en) | Continuous ball milling device | |
| CN217830280U (en) | Concrete reducing mechanism | |
| CN219073095U (en) | A kind of ore crushing device | |
| CN218742157U (en) | Movable coal mill for coal treatment | |
| CN212092473U (en) | Reducing mechanism convenient to gesso screening | |
| CN218013015U (en) | An environmentally friendly roller fine crusher capable of secondary crushing | |
| CN212040869U (en) | Device for repairing soil heavy metal | |
| CN116408176A (en) | Raw material fine crusher and fine crushing method for spherical graphite production | |
| CN212309700U (en) | A civil engineering waste metal recycling and processing device | |
| CN113695001A (en) | Energy-efficient ore processing apparatus for open-pit mining | |
| CN110681436A (en) | A crushing device for boiler bottom slag | |
| CN221693916U (en) | Ore automatic crushing equipment for ore dressing | |
| CN213611892U (en) | Mineral powder mill for mining | |
| CN216224611U (en) | A construction waste treatment device with a pulverized structure for civil engineering |
Legal Events
| Date | Code | Title | Description |
|---|---|---|---|
| GR01 | Patent grant | ||
| GR01 | Patent grant | ||
| TR01 | Transfer of patent right |
Effective date of registration: 20250905 Address after: 350400 Fujian Province Fuzhou City Pingtan County Nanhai Township Lian'ao Village Lian'ao 134.NO Patentee after: Lin Wu Country or region after: China Address before: 266000 Shandong Province, Qingdao City, Jimo District, Xinxing Road No. 81, Taihe Business Park 5th Floor Patentee before: Zhongfu Urban Construction Group Co.,Ltd. Country or region before: China |
|
| TR01 | Transfer of patent right | ||
| TR01 | Transfer of patent right |
Effective date of registration: 20250922 Address after: 430014 Hubei Province, Wuhan City, Jiang'an District, Shiqiao Village Urban Villages Renovation K8 Site (Phase II), Building 2 / Unit 2nd Floor, Commercial Number 18 - 4 Patentee after: Hubei Hongyue Construction Engineering Co.,Ltd. Country or region after: China Address before: 350400 Fujian Province Fuzhou City Pingtan County Nanhai Township Lian'ao Village Lian'ao 134.NO Patentee before: Lin Wu Country or region before: China |
|
| TR01 | Transfer of patent right |
