CN217166312U - 一种制备异型双头螺栓的冷镦模具 - Google Patents
一种制备异型双头螺栓的冷镦模具 Download PDFInfo
- Publication number
- CN217166312U CN217166312U CN202123402415.6U CN202123402415U CN217166312U CN 217166312 U CN217166312 U CN 217166312U CN 202123402415 U CN202123402415 U CN 202123402415U CN 217166312 U CN217166312 U CN 217166312U
- Authority
- CN
- China
- Prior art keywords
- cold
- die
- box body
- rectangular box
- hot water
- Prior art date
- Legal status (The legal status is an assumption and is not a legal conclusion. Google has not performed a legal analysis and makes no representation as to the accuracy of the status listed.)
- Active
Links
- XLYOFNOQVPJJNP-UHFFFAOYSA-N water Substances O XLYOFNOQVPJJNP-UHFFFAOYSA-N 0.000 claims abstract description 56
- 238000001816 cooling Methods 0.000 claims abstract description 18
- 239000002912 waste gas Substances 0.000 claims abstract description 7
- 239000007789 gas Substances 0.000 claims abstract description 3
- 238000004519 manufacturing process Methods 0.000 claims description 10
- 239000004973 liquid crystal related substance Substances 0.000 claims description 4
- 230000002159 abnormal effect Effects 0.000 abstract description 11
- 238000002360 preparation method Methods 0.000 abstract description 10
- 238000007789 sealing Methods 0.000 abstract 1
- 230000017525 heat dissipation Effects 0.000 description 2
- 239000000126 substance Substances 0.000 description 2
- 230000009286 beneficial effect Effects 0.000 description 1
- 230000033228 biological regulation Effects 0.000 description 1
- 238000004140 cleaning Methods 0.000 description 1
- 238000005272 metallurgy Methods 0.000 description 1
- 238000012986 modification Methods 0.000 description 1
- 230000004048 modification Effects 0.000 description 1
Images
Landscapes
- Compressors, Vaccum Pumps And Other Relevant Systems (AREA)
Abstract
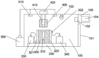
本实用新型属于紧固件加工设备领域,具体公开了一种制备异型双头螺栓的冷镦模具,包括矩形箱体(100)、安全门(101)、底座(200)、底模(300)、模具腔(310)、冷却套管(320)、冷水进口(321)、热水出口(322)、冷水泵(330)、热水泵(340)、移动模(400)、冲棒(410)、气缸(420)、真空泵(500)、废气口(510);本实用新型公开的一种制备异型双头螺栓的冷镦模具,散热能力强,模具不易变形,寿命长,可靠性好,整个装置密闭性能好,废气处理效果好,安全性能高。
Description
技术领域
本实用新型属于紧固件加工设备领域,具体公开了一种制备异型双头螺栓的冷镦模具。
背景技术
紧固件,是作紧固连接用且应用极为广泛的一类机械零件。紧固件,使用行业广泛,包括能源、电子、电器、机械、化工、冶金、模具、液压等等行业,在各种机械、设备、车辆、船舶、铁路、桥梁、建筑、结构、工具、仪器、化工、仪表和用品等上面,都可以看到各式各样的紧固件,是应用最广泛的机械基础件。它的特点是品种规格繁多,性能用途各异,而且标准化、系列化、通用化的程度也极高。因此,也有人把已有国家标准的一类紧固件称为标准紧固件,或简称为标准件。没有国家规范的螺栓称异型螺栓,它一般用在特殊的场合、特殊的用途。与普通螺栓区别在于是否有国家标准。螺栓特指直径较大一些的螺丝,也可以没有头部,如双头螺栓。一般的,不叫“双头螺栓”而叫“双头螺柱”。双头螺柱最常用的形式是两端有螺纹,中间是光杆。最典型的用途:地脚螺栓、或者类似地脚螺栓的地方、较厚的连接,用普通螺栓无法实现的时候。目前生产异形双头螺栓,主要采取冷镦方式,需要设计不同的冷镦模具制造不同规格的异形双头螺栓。现有的冷镦模具,在高速生产时,容易发热,并且热量无法快速发散,容易引起模具变形,影响产品质量。
实用新型内容
针对以上不足,本实用新型公开了一种制备异型双头螺栓的冷镦模具。
本实用新型的技术方案如下:
一种制备异型双头螺栓的冷镦模具,包括矩形箱体、安全门、底座、底模、模具腔、冷却套管、冷水进口、热水出口、冷水泵、热水泵、移动模、冲棒、气缸、真空泵、废气口;所述矩形箱体为一侧开设有安全门的密闭箱体;所述矩形箱体内部的中心设置有底座;所述底模设置在所述底座的中央;所述冷水泵和热水泵分别设置在所述底模的两侧;所述底模中心设置有所述模具腔;所述底模四周设置有冷却套管;所述冷水进口设置在所述冷却套管的中下部;所述热水出口设置在所述冷却套管的中上部;所述冷水进口通过管道与所述冷水泵连通;所述热水出口通过管道与所述热水泵连通;所述移动模可升降的设置在所述底模的正上方;所述移动模中央设置有所述冲棒;所述移动模上端连接有所述气缸;所述矩形箱体的顶部设置有若干的废气口;所述矩形箱体的侧面设置有所述真空泵;所述真空泵通过管道连接所述废气口。
进一步的,上述一种制备异型双头螺栓的冷镦模具,所述底座为可旋转的。
进一步的,上述一种制备异型双头螺栓的冷镦模具,所述安全门为电动门。
进一步的,上述一种制备异型双头螺栓的冷镦模具,所述矩形箱体内设置有照明灯。
进一步的,上述一种制备异型双头螺栓的冷镦模具,所述矩形箱体的内部的天花板上设置有全景摄像头。
进一步的,上述一种制备异型双头螺栓的冷镦模具,所述矩形箱体外设置有控制面板。
进一步的,上述一种制备异型双头螺栓的冷镦模具,所述控制面板上设置有液晶显示屏。
从上述技术方案可以看出,本实用新型具有如下有益效果:
本实用新型公开了一种制备异型双头螺栓的冷镦模具,结构紧凑,安全性能好,废气清理能力强,底模设置有散热套管,散热能力好,模具腔不易变形,成品精度高,模具寿命长,进一步的,可设置选择底座,带动底模旋转,更方便螺纹成型 ;进一步的,设置有摄像头,可在箱体外观察模具工作情况,安全性能好。
附图说明
附图1为实施例1中的一种制备异型双头螺栓的冷镦模具的示意图;
附图2为实施例2中的一种制备异型双头螺栓的冷镦模具的示意图;
其中: 矩形箱体100、安全门101、照明灯102、全景摄像头103、控制面板104、液晶显示屏105、底座200、底模300、模具腔310、冷却套管320、冷水进口321、热水出口322、冷水泵330、热水泵340、移动模400、冲棒410、气缸420、真空泵500、废气口510。
具体实施方式
下面详细描述本实用新型的实施例,所述实施例的示例在附图中示出,其中自始至终相同或类似的标号表示相同或类似的元件或具有相同或类似功能的元件。下面通过参考附图描述的实施例是示例性的,旨在用于解释本实用新型,而不能理解为对本实用新型的限制。
在本实用新型的描述中,需要理解的是,术语“中心”、“纵向”、“横向”、“长度”、“宽度”、“厚度”、“上”、“下”、“前”、“后”、“左”、“右”、“竖直”、“水平”、“顶”、“底”“内”、“顺时针”、“逆时针”等指示的方位或位置关系为基于附图所示的方位或位置关系,仅是为了便于描述本实用新型和简化描述,而不是指示或暗示所指的装置或元件必须具有特定的方位、以特定的方位构造和操作,因此不能理解为对本实用新型的限制。
此外,术语“第一”、“第二”仅用于描述目的,而不能理解为指示或暗示相对重要性或者隐含指明所指示的技术特征的数量。由此,限定有“第一”、“第二”的特征可以明示或者隐含地包括一个或者更多个该特征。在本实用新型的描述中,除非另有说明,“多个”的含义是两个或两个以上,除非另有明确的限定。
在本实用新型中,除非另有明确的规定和限定,术语“安装”、“相连”、“连接”、“固定”等术语应做广义理解,例如,可以是固定连接,也可以是可拆卸连接,或一体地连接;可以是机械连接,也可以是电连接;可以是直接相连,也可以通过中间媒介间接相连,可以是两个元件内部的连通。对于本领域的普通技术人员而言,可以根据具体情况理解上述术语在本实用新型中的具体含义。
在本实用新型中,除非另有明确的规定和限定,第一特征在第二特征之“上”或之“下”可以包括第一和第二特征直接接触,也可以包括第一和第二特征不是直接接触而是通过它们之间的另外的特征接触。而且,第一特征在第二特征“之上”、“上方”和“上面”包括第一特征在第二特征正上方和斜上方,或仅仅表示第一特征水平高度高于第二特征。第一特征在第二特征“之下”、“下方”和“下面”包括第一特征在第二特征正下方和斜下方,或仅仅表示第一特征水平高度小于第二特征。
实施例1
如图1所示的一种制备异型双头螺栓的冷镦模具,包括矩形箱体100、安全门101、底座200、底模300、模具腔310、冷却套管320、冷水进口321、热水出口322、冷水泵330、热水泵340、移动模400、冲棒410、气缸420、真空泵500、废气口510;所述矩形箱体100为一侧开设有安全门101的密闭箱体;所述矩形箱体100内部的中心设置有底座200;所述底模300设置在所述底座200的中央;所述冷水泵330和热水泵340分别设置在所述底模300的两侧;所述底模300中心设置有所述模具腔310;所述底模300四周设置有冷却套管320;所述冷水进口321设置在所述冷却套管320的中下部;所述热水出口322设置在所述冷却套管320的中上部;所述冷水进口321通过管道与所述冷水泵330连通;所述热水出口322通过管道与所述热水泵340连通;所述移动模400可升降的设置在所述底模300的正上方;所述移动模400中央设置有所述冲棒410;所述移动模400上端连接有所述气缸420;所述矩形箱体100的顶部设置有若干的废气口510;所述矩形箱体100的侧面设置有所述真空泵500;所述真空泵通过管道连接所述废气口510。
实施例2
如图2所示的一种制备异型双头螺栓的冷镦模具,包括矩形箱体100、安全门101、底座200、底模300、模具腔310、冷却套管320、冷水进口321、热水出口322、冷水泵330、热水泵340、移动模400、冲棒410、气缸420、真空泵500、废气口510;所述矩形箱体100为一侧开设有安全门101的密闭箱体;所述矩形箱体100内部的中心设置有底座200;所述底模300设置在所述底座200的中央;所述冷水泵330和热水泵340分别设置在所述底模300的两侧;所述底模300中心设置有所述模具腔310;所述底模300四周设置有冷却套管320;所述冷水进口321设置在所述冷却套管320的中下部;所述热水出口322设置在所述冷却套管320的中上部;所述冷水进口321通过管道与所述冷水泵330连通;所述热水出口322通过管道与所述热水泵340连通;所述移动模400可升降的设置在所述底模300的正上方;所述移动模400中央设置有所述冲棒410;所述移动模400上端连接有所述气缸420;所述矩形箱体100的顶部设置有若干的废气口510;所述矩形箱体100的侧面设置有所述真空泵500;所述真空泵通过管道连接所述废气口510;优选的,所述底座200为可旋转的;进一步的,所述安全门101为电动门;特别的,所述矩形箱体100内设置有照明灯102;进一步的,所述矩形箱体100的内部的天花板上设置有全景摄像头103;优选的,所述矩形箱体100外设置有控制面板104;特别的,所述控制面板104上设置有液晶显示屏105。
以上仅为本实用新型的较佳实施例而已,不能以此限定本实用新型的保护范围,即大凡依本实用新型权利要求书及实用新型内容所做的简单的等效变化与修改,皆仍属于本实用新型专利申请的保护范围。
Claims (7)
1.一种制备异型双头螺栓的冷镦模具,其特征在于,包括矩形箱体(100)、安全门(101)、底座(200)、底模(300)、模具腔(310)、冷却套管(320)、冷水进口(321)、热水出口(322)、冷水泵(330)、热水泵(340)、移动模(400)、冲棒(410)、气缸(420)、真空泵(500)、废气口(510);所述矩形箱体(100)为一侧开设有安全门(101)的密闭箱体;所述矩形箱体(100)内部的中心设置有底座(200);所述底模(300)设置在所述底座(200)的中央;所述冷水泵(330)和热水泵(340)分别设置在所述底模(300)的两侧;所述底模(300)中心设置有所述模具腔(310);所述底模(300)四周设置有冷却套管(320);所述冷水进口(321)设置在所述冷却套管(320)的中下部;所述热水出口(322)设置在所述冷却套管(320)的中上部;所述冷水进口(321)通过管道与所述冷水泵(330)连通;所述热水出口(322)通过管道与所述热水泵(340)连通;所述移动模(400)可升降的设置在所述底模(300)的正上方;所述移动模(400)中央设置有所述冲棒(410);所述移动模(400)上端连接有所述气缸(420);所述矩形箱体(100)的顶部设置有若干的废气口(510);所述矩形箱体(100)的侧面设置有所述真空泵(500);所述真空泵通过管道连接所述废气口(510)。
2.根据权利要求1所述的一种制备异型双头螺栓的冷镦模具,其特征在于,所述底座(200)为可旋转的。
3.根据权利要求1所述的一种制备异型双头螺栓的冷镦模具,其特征在于,所述安全门(101)为电动门。
4.根据权利要求1所述的一种制备异型双头螺栓的冷镦模具,其特征在于,所述矩形箱体(100)内设置有照明灯(102)。
5.根据权利要求1所述的一种制备异型双头螺栓的冷镦模具,其特征在于,所述矩形箱体(100)的内部的天花板上设置有全景摄像头(103)。
6.根据权利要求1所述的一种制备异型双头螺栓的冷镦模具,其特征在于,所述矩形箱体(100)外设置有控制面板(104)。
7.根据权利要求6所述的一种制备异型双头螺栓的冷镦模具,其特征在于,所述控制面板(104)上设置有液晶显示屏(105)。
Priority Applications (1)
| Application Number | Priority Date | Filing Date | Title |
|---|---|---|---|
| CN202123402415.6U CN217166312U (zh) | 2021-12-30 | 2021-12-30 | 一种制备异型双头螺栓的冷镦模具 |
Applications Claiming Priority (1)
| Application Number | Priority Date | Filing Date | Title |
|---|---|---|---|
| CN202123402415.6U CN217166312U (zh) | 2021-12-30 | 2021-12-30 | 一种制备异型双头螺栓的冷镦模具 |
Publications (1)
| Publication Number | Publication Date |
|---|---|
| CN217166312U true CN217166312U (zh) | 2022-08-12 |
Family
ID=82731711
Family Applications (1)
| Application Number | Title | Priority Date | Filing Date |
|---|---|---|---|
| CN202123402415.6U Active CN217166312U (zh) | 2021-12-30 | 2021-12-30 | 一种制备异型双头螺栓的冷镦模具 |
Country Status (1)
| Country | Link |
|---|---|
| CN (1) | CN217166312U (zh) |
Cited By (2)
| Publication number | Priority date | Publication date | Assignee | Title |
|---|---|---|---|---|
| CN116809835A (zh) * | 2023-08-02 | 2023-09-29 | 浙江量泰标准件有限公司 | 一种双头螺柱冷镦模具和成型方法 |
| CN118122940A (zh) * | 2024-03-05 | 2024-06-04 | 南昌航空大学 | 一种异型头螺栓双工序挤-镦复合成形方法及模具 |
-
2021
- 2021-12-30 CN CN202123402415.6U patent/CN217166312U/zh active Active
Cited By (2)
| Publication number | Priority date | Publication date | Assignee | Title |
|---|---|---|---|---|
| CN116809835A (zh) * | 2023-08-02 | 2023-09-29 | 浙江量泰标准件有限公司 | 一种双头螺柱冷镦模具和成型方法 |
| CN118122940A (zh) * | 2024-03-05 | 2024-06-04 | 南昌航空大学 | 一种异型头螺栓双工序挤-镦复合成形方法及模具 |
Similar Documents
| Publication | Publication Date | Title |
|---|---|---|
| CN217166312U (zh) | 一种制备异型双头螺栓的冷镦模具 | |
| CN114918399B (zh) | 一种高强度钢材铸造成型模具 | |
| CN210547996U (zh) | 一种铝合金压铸机用压铸机构 | |
| CN211304732U (zh) | 一种具有降温结构的汽车发动机盖模具 | |
| CN208684423U (zh) | 一种立式固态二氧化碳成型机 | |
| CN210907920U (zh) | 一种新型金属制品用锻造模具 | |
| CN213162742U (zh) | 一种便于维护的五金模具用模具散热装置 | |
| CN215719371U (zh) | 一种隔膜压缩机的缸盖冷却结构 | |
| CN212288313U (zh) | 一种冷却效果好的定型模具 | |
| CN213163007U (zh) | 一种五金制作用紧固件快速成型装置 | |
| CN211574458U (zh) | 注塑模具水管专用接头 | |
| CN114871372A (zh) | 一种外螺纹紧固件的成型方法及成型机构 | |
| CN209452775U (zh) | 用于滑块抽芯装置的冷却结构 | |
| CN218873926U (zh) | 一种铝质管用切割装置 | |
| CN210282708U (zh) | 一种陶瓷元件夹具用模具 | |
| CN112223672A (zh) | 一种散热性较好的外壳模具 | |
| CN216881659U (zh) | 一种具有冷却水路的模具 | |
| CN222080041U (zh) | 一种塑料件弯曲成型模具 | |
| CN110789098A (zh) | 一种塑料棒材挤出模具 | |
| CN210615033U (zh) | 一种制造压裂球的模具 | |
| CN221392173U (zh) | 一种耐火材料生产用硅胶条密封模具 | |
| CN217748709U (zh) | 摄子冷挤专用压成型模具 | |
| CN210651649U (zh) | 一种具有自冷成型性能的注塑模具 | |
| CN114654654A (zh) | 一种用于抗击疫情提示器外壳的精密模具 | |
| CN213393502U (zh) | 立体密封结构及真空设备 |
Legal Events
| Date | Code | Title | Description |
|---|---|---|---|
| GR01 | Patent grant | ||
| GR01 | Patent grant |