CN216870635U - 一种高压试验线缆固定装置 - Google Patents
一种高压试验线缆固定装置 Download PDFInfo
- Publication number
- CN216870635U CN216870635U CN202220312535.2U CN202220312535U CN216870635U CN 216870635 U CN216870635 U CN 216870635U CN 202220312535 U CN202220312535 U CN 202220312535U CN 216870635 U CN216870635 U CN 216870635U
- Authority
- CN
- China
- Prior art keywords
- clamping plate
- screw rod
- fixing device
- splint
- ceramic
- Prior art date
- Legal status (The legal status is an assumption and is not a legal conclusion. Google has not performed a legal analysis and makes no representation as to the accuracy of the status listed.)
- Expired - Fee Related
Links
- 238000012360 testing method Methods 0.000 title claims abstract description 28
- 239000000919 ceramic Substances 0.000 claims abstract description 20
- 238000003466 welding Methods 0.000 claims description 2
- 238000001816 cooling Methods 0.000 abstract description 3
- 238000001514 detection method Methods 0.000 description 2
- 230000000694 effects Effects 0.000 description 2
- 238000002474 experimental method Methods 0.000 description 2
- 230000000149 penetrating effect Effects 0.000 description 2
- 206010010904 Convulsion Diseases 0.000 description 1
- 230000009286 beneficial effect Effects 0.000 description 1
- 230000036461 convulsion Effects 0.000 description 1
- 238000010586 diagram Methods 0.000 description 1
- 238000006073 displacement reaction Methods 0.000 description 1
- 238000009434 installation Methods 0.000 description 1
- 238000012986 modification Methods 0.000 description 1
- 230000004048 modification Effects 0.000 description 1
Images
Landscapes
- Clamps And Clips (AREA)
Abstract
本实用新型公开了一种高压试验线缆固定装置,包括L型夹板、夹线板和夹板,还包括陶瓷夹块、第一螺杆和第二螺杆,所述L型夹板底部一侧设有夹线板,所述L型夹板顶部设有夹板,所述L型夹板底部一侧和夹线板一侧均通过螺栓安装有陶瓷夹块,所述陶瓷夹块一侧开设有卡线槽,所述陶瓷夹块另一侧开设有引风槽,所述L型夹板底部另一侧和夹线板另一侧均通过螺栓贯穿安装有抽风扇。整体高压试验线缆固定装置使用稳定安全,能够助于人员对多种规格的线缆进行固定,以供人员更好的对线缆进行高压试验,并具备良好的降温部件,以避免固定部件内部温度积攒过高,大大增加试验的稳定性,具有较高的实用性。
Description
技术领域
本实用新型涉及线缆技术领域,特别涉及一种高压试验线缆固定装置。
背景技术
线缆在使用时,需要人员对其抽查进行高压试验,且试验时,需要将线缆的端部与检测设备进行连接,而检测设备的高度往往无法与线缆平行,导致线缆与设备连接后呈现垂落式状态,导致线缆与设备的连接稳定性差。
目前缺乏一种能够助于人员对待进行高压试验的线缆进行固定的部件,使得线缆与试验设备之间的连接稳定性较差。为此,我们提出一种高压试验线缆固定装置。
实用新型内容
本实用新型的主要目的在于提供一种高压试验线缆固定装置,可以有效解决背景技术中的问题。
为实现上述目的,本实用新型采取的技术方案为:
一种高压试验线缆固定装置,包括L型夹板、夹线板和夹板,还包括陶瓷夹块、第一螺杆和第二螺杆,所述L型夹板底部一侧设有夹线板,所述L型夹板顶部设有夹板,所述L型夹板底部一侧和夹线板一侧均通过螺栓安装有陶瓷夹块,所述陶瓷夹块一侧开设有卡线槽,所述陶瓷夹块另一侧开设有引风槽,所述L型夹板底部另一侧和夹线板另一侧均通过螺栓贯穿安装有抽风扇。
进一步地,所述夹线板顶部通过螺纹穿设有第一螺杆,所述第一螺杆一端通过轴承与L型夹板转动连接,所述夹线板顶部两侧穿设有第一导向杆,所述第一导向杆一端与L型夹板螺栓安装连接。
进一步地,所述夹板一端螺纹插设有第二螺杆,所述第二螺杆底部通过轴承与L型夹板转动连接,所述夹板一端的两侧分别插设有第二导向杆,所述第二导向杆底部通过螺栓与L型夹板安装连接。
进一步地,所述第一螺杆和第二螺杆另一端均焊接连接有手轮,所述夹线板一侧通过螺栓安装有蓄电池。
与现有技术相比,本实用新型具有如下有益效果:
1.人员通过L型夹板、夹线板、夹板、陶瓷夹块、第一螺杆和第二螺杆组成的组件,实现为线缆提供高压试验的固定夹具,以使所需试验的线缆能够夹设固定于人员所需使用的试验架体或面板上,并具备良好的绝缘部件,具备良好的散热组件,大大增加线缆试验期间的散热效果,增加试验的稳定性。
2.整体高压试验线缆固定装置使用稳定安全,能够助于人员对多种规格的线缆进行固定,以供人员更好的对线缆进行高压试验,并具备良好的降温部件,以避免固定部件内部温度积攒过高,大大增加试验的稳定性,具有较高的实用性。
附图说明
图1为本实用新型一种高压试验线缆固定装置的整体结构示意图。
图2为本实用新型一种高压试验线缆固定装置的L型夹板结构示意图。
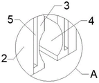
图3为本实用新型一种高压试验线缆固定装置的图1中A处放大示意图。
图中:1、L型夹板;2、夹线板;3、陶瓷夹块;4、卡线槽;5、引风槽;6、抽风扇;7、第一螺杆;8、第一导向杆;9、蓄电池;10、夹板;11、第二导向杆;12、第二螺杆;13、手轮。
具体实施方式
为使本实用新型实现的技术手段、创作特征、达成目的与功效易于明白了解,下面结合具体实施方式,进一步阐述本实用新型。
如图1-3所示,一种高压试验线缆固定装置,包括L型夹板1、夹线板2和夹板10,还包括陶瓷夹块3、第一螺杆7和第二螺杆12,所述L型夹板1底部一侧设有夹线板2,所述L型夹板1顶部设有夹板10,所述L型夹板1底部一侧和夹线板2一侧均通过螺栓安装有陶瓷夹块3,所述陶瓷夹块3一侧开设有卡线槽4,所述陶瓷夹块3另一侧开设有引风槽5,所述L型夹板1底部另一侧和夹线板2另一侧均通过螺栓贯穿安装有抽风扇6。
其中,所述夹线板2顶部通过螺纹穿设有第一螺杆7,所述第一螺杆7一端通过轴承与L型夹板1转动连接,所述夹线板2顶部两侧穿设有第一导向杆8,所述第一导向杆8一端与L型夹板1螺栓安装连接;第一导向杆8用于对夹线板2移动的方向进行导向处理。
其中,所述夹板10一端螺纹插设有第二螺杆12,所述第二螺杆12底部通过轴承与L型夹板1转动连接,所述夹板10一端的两侧分别插设有第二导向杆11,所述第二导向杆11底部通过螺栓与L型夹板1安装连接;第二导向杆11用于对夹板10移动的方向进行导向处理。
其中,所述第一螺杆7和第二螺杆12另一端均焊接连接有手轮13,所述夹线板2一侧通过螺栓安装有蓄电池9,所述蓄电池9的输出端与抽风扇6的输入端通过导线构成电连接;通过蓄电池9实现为抽风扇6提供电源,手轮13可助于人员对对应的第一螺杆7和第二螺杆12进行转动。
需要说明的是,本实用新型为一种高压试验线缆固定装置,工作时,人员利用L型夹板1的顶部和夹板10降整体固定装置夹设于所需试验使用的架体或桌板等面板上,随后对第二螺杆12进行旋转,使夹板10基于与第二螺杆12的螺纹连接,实现对L型夹板1端位移,使L型夹板1与夹板10之间能够与外物之间进行加紧固定,随后将需要试验固定的线缆置于L型夹板1与夹线板2的陶瓷夹块3之间,利用陶瓷夹块3上的卡线槽4实现对线缆进行卡紧固定,卡紧时,人员转动第一螺杆7,使夹线板2实现位移,使得夹线板2与L型夹板1之间的陶瓷夹块3能够对线缆进行夹紧处理,从而达到将线缆对所需试验的设备或台面上进行固定,以助于试验更加稳定,试验时,人员可通过抽风扇6对于陶瓷夹块3区域进行抽风,使得外部空气通过引风槽5进入陶瓷夹块3背部,再由抽风扇6对外排出,使空气能够快速带走陶瓷夹块3表面的热量,实现降温处理,以陶瓷夹块3使用更加稳定。
以上显示和描述了本实用新型的基本原理和主要特征和本实用新型的优点。本行业的技术人员应该了解,本实用新型不受上述实施例的限制,上述实施例和说明书中描述的只是说明本实用新型的原理,在不脱离本实用新型精神和范围的前提下,本实用新型还会有各种变化和改进,这些变化和改进都落入要求保护的本实用新型范围内。本实用新型要求保护范围由所附的权利要求书及其等效物界定。
Claims (4)
1.一种高压试验线缆固定装置,包括L型夹板(1)、夹线板(2)和夹板(10),其特征在于,还包括陶瓷夹块(3)、第一螺杆(7)和第二螺杆(12),所述L型夹板(1)底部一侧设有夹线板(2),所述L型夹板(1)顶部设有夹板(10),所述L型夹板(1)底部一侧和夹线板(2)一侧均通过螺栓安装有陶瓷夹块(3),所述陶瓷夹块(3)一侧开设有卡线槽(4),所述陶瓷夹块(3)另一侧开设有引风槽(5),所述L型夹板(1)底部另一侧和夹线板(2)另一侧均通过螺栓贯穿安装有抽风扇(6)。
2.根据权利要求1所述的一种高压试验线缆固定装置,其特征在于:所述夹线板(2)顶部通过螺纹穿设有第一螺杆(7),所述第一螺杆(7)一端通过轴承与L型夹板(1)转动连接,所述夹线板(2)顶部两侧穿设有第一导向杆(8),所述第一导向杆(8)一端与L型夹板(1)螺栓安装连接。
3.根据权利要求1所述的一种高压试验线缆固定装置,其特征在于:所述夹板(10)一端螺纹插设有第二螺杆(12),所述第二螺杆(12)底部通过轴承与L型夹板(1)转动连接,所述夹板(10)一端的两侧分别插设有第二导向杆(11),所述第二导向杆(11)底部通过螺栓与L型夹板(1)安装连接。
4.根据权利要求1所述的一种高压试验线缆固定装置,其特征在于:所述第一螺杆(7)和第二螺杆(12)另一端均焊接连接有手轮(13),所述夹线板(2)一侧通过螺栓安装有蓄电池(9)。
Priority Applications (1)
| Application Number | Priority Date | Filing Date | Title |
|---|---|---|---|
| CN202220312535.2U CN216870635U (zh) | 2022-02-16 | 2022-02-16 | 一种高压试验线缆固定装置 |
Applications Claiming Priority (1)
| Application Number | Priority Date | Filing Date | Title |
|---|---|---|---|
| CN202220312535.2U CN216870635U (zh) | 2022-02-16 | 2022-02-16 | 一种高压试验线缆固定装置 |
Publications (1)
| Publication Number | Publication Date |
|---|---|
| CN216870635U true CN216870635U (zh) | 2022-07-01 |
Family
ID=82155637
Family Applications (1)
| Application Number | Title | Priority Date | Filing Date |
|---|---|---|---|
| CN202220312535.2U Expired - Fee Related CN216870635U (zh) | 2022-02-16 | 2022-02-16 | 一种高压试验线缆固定装置 |
Country Status (1)
| Country | Link |
|---|---|
| CN (1) | CN216870635U (zh) |
Cited By (1)
| Publication number | Priority date | Publication date | Assignee | Title |
|---|---|---|---|---|
| CN116930557A (zh) * | 2023-05-15 | 2023-10-24 | 扬州京柏自动化科技有限公司 | 一种导通测试治具 |
-
2022
- 2022-02-16 CN CN202220312535.2U patent/CN216870635U/zh not_active Expired - Fee Related
Cited By (2)
| Publication number | Priority date | Publication date | Assignee | Title |
|---|---|---|---|---|
| CN116930557A (zh) * | 2023-05-15 | 2023-10-24 | 扬州京柏自动化科技有限公司 | 一种导通测试治具 |
| CN116930557B (zh) * | 2023-05-15 | 2024-05-17 | 扬州京柏自动化科技有限公司 | 一种导通测试治具 |
Similar Documents
| Publication | Publication Date | Title |
|---|---|---|
| CN216870635U (zh) | 一种高压试验线缆固定装置 | |
| CN113937398B (zh) | 一种新型储能逆变器一体化储能电池及其工作方法 | |
| CN213122216U (zh) | 一种用于测试单体电芯的定位组件 | |
| CN221378197U (zh) | 一种基于电池梯次利用的锂电池电芯测试夹具 | |
| CN110600642B (zh) | 一种锂电池电芯结构 | |
| CN220984717U (zh) | 一种太阳能光伏储能柜用的防护板及储能柜 | |
| CN207603285U (zh) | 一种输电铁塔监测装置的供能系统 | |
| CN206907869U (zh) | 一种电池安装装置及电池组 | |
| CN212693934U (zh) | 一种便捷式微电网故障检测装置 | |
| CN110474601A (zh) | 一种太阳能光伏直流组件和太阳能发电系统 | |
| CN108882601A (zh) | 一种新能源汽车的主板防护盖 | |
| CN215493813U (zh) | 一种便于安装的带有无线通信功率分析仪 | |
| CN209993740U (zh) | 一种太阳能光伏组件边框接地装置 | |
| CN210608134U (zh) | 一种支持800v电压直接采集的箱变测控装置 | |
| CN215658378U (zh) | 一种防水等级高的igbt逆变式手弧焊机 | |
| CN223274019U (zh) | 一种带电流检测和电压检测功能的pcs模块 | |
| CN221860563U (zh) | 一种圆形导体可调回路电阻测试夹 | |
| CN220307152U (zh) | 一种带有调节结构的光伏板安装架 | |
| CN222952472U (zh) | 一种逆变器漏电检测装置 | |
| CN218513938U (zh) | 一种基于太阳能进行高效散热的配电箱 | |
| CN221572640U (zh) | 一种用于超级电容器的充放电夹具 | |
| CN221709747U (zh) | 一种便于安装的太阳能电池板 | |
| CN214746585U (zh) | 屋顶式空气源热泵 | |
| CN216664772U (zh) | 一种新型光伏组件、光伏阵列及光伏屋顶系统 | |
| CN217690874U (zh) | 一种高压隔离开关动触头拆装夹具 |
Legal Events
| Date | Code | Title | Description |
|---|---|---|---|
| GR01 | Patent grant | ||
| GR01 | Patent grant | ||
| CF01 | Termination of patent right due to non-payment of annual fee |
Granted publication date: 20220701 |
|
| CF01 | Termination of patent right due to non-payment of annual fee |