CN216693936U - Automatically controlled box subassembly, heat exchange assemblies and air conditioner - Google Patents

Automatically controlled box subassembly, heat exchange assemblies and air conditioner Download PDF

Info

Publication number
CN216693936U
CN216693936U CN202123223391.8U CN202123223391U CN216693936U CN 216693936 U CN216693936 U CN 216693936U CN 202123223391 U CN202123223391 U CN 202123223391U CN 216693936 U CN216693936 U CN 216693936U
Authority
CN
China
Prior art keywords
control box
electric control
mounting plate
groove
box cover
Prior art date
Legal status (The legal status is an assumption and is not a legal conclusion. Google has not performed a legal analysis and makes no representation as to the accuracy of the status listed.)
Active
Application number
CN202123223391.8U
Other languages
Chinese (zh)
Inventor
李晨晨
杨亮
王荣华
Current Assignee (The listed assignees may be inaccurate. Google has not performed a legal analysis and makes no representation or warranty as to the accuracy of the list.)
Aux Air Conditioning Co Ltd
Ningbo Aux Electric Co Ltd
Original Assignee
Ningbo Aux Electric Co Ltd
Ningbo Aux Intelligent Commercial Air Conditioning Manufacturing Co Ltd
Priority date (The priority date is an assumption and is not a legal conclusion. Google has not performed a legal analysis and makes no representation as to the accuracy of the date listed.)
Filing date
Publication date
Application filed by Ningbo Aux Electric Co Ltd, Ningbo Aux Intelligent Commercial Air Conditioning Manufacturing Co Ltd filed Critical Ningbo Aux Electric Co Ltd
Priority to CN202123223391.8U priority Critical patent/CN216693936U/en
Application granted granted Critical
Publication of CN216693936U publication Critical patent/CN216693936U/en
Active legal-status Critical Current
Anticipated expiration legal-status Critical

Links

Images

Landscapes

  • Casings For Electric Apparatus (AREA)

Abstract

本实用新型提供一种电控盒组件、换热组件及空调器,电控盒组件包括:安装板,安装板设有凹槽,凹槽内设置有填充件;电控盒盖,电控盒盖设有翻边;其中,电控盒盖与安装板配合时,翻边用于覆盖凹槽,以使得填充件抵靠翻边。与现有技术相比,本方案所能达到的效果:填充件装入凹槽内时,由于填充件的弹性作用以及凹槽的挤压,填充件具有一部分高于安装板的外侧平面,此时将电控盒盖与安装板装配,电控盒盖的翻边结构覆盖在安装板的外侧面,填充件高于安装板的外侧平面的部分被翻边挤压,使得填充件与翻边紧密贴合,从而能防止水分从安装板处渗入电控盒组件。

Figure 202123223391

The utility model provides an electric control box assembly, a heat exchange assembly and an air conditioner. The electric control box assembly comprises: a mounting plate, the mounting plate is provided with a groove, and a filling piece is arranged in the groove; an electric control box cover, an electric control box The cover is provided with a flange; wherein, when the electric control box cover is matched with the mounting plate, the flange is used to cover the groove, so that the filling piece abuts against the flange. Compared with the prior art, the effect that this solution can achieve: when the filler is installed in the groove, due to the elastic effect of the filler and the extrusion of the groove, the filler has a part of the outer plane higher than the mounting plate, which is When assembling the electric control box cover and the installation board, the flanging structure of the electric control box cover covers the outer side of the installation board, and the part of the filling piece higher than the outer plane of the installation board is pressed by the flanging, so that the filling piece and the flanging A tight fit prevents moisture from penetrating the electrical control box assembly from the mounting plate.

Figure 202123223391

Description

Automatically controlled box subassembly, heat exchange assemblies and air conditioner
Technical Field
The utility model relates to the technical field of air conditioners, in particular to an electric control box assembly, a heat exchange assembly and an air conditioner.
Background
Along with the development of air conditioner, the design of the apron of automatically controlled box is also more and more, and in the design of automatically controlled box apron in the past, only singly use the screw with automatically controlled box cover board mechanical fastening to automatically controlled box, this installation that just leads to automatically controlled box's apron is too simple, has the gap between apron and the automatically controlled box, and because the work scene of automatically controlled box is more, the condition that outside infiltration water got into automatically controlled box inside often appears, has seriously influenced the operation and the life of air conditioner.
Therefore, how to prevent external water from penetrating into the interior of the electric control box becomes a problem which needs to be solved urgently.
SUMMERY OF THE UTILITY MODEL
The utility model solves the problem of how to prevent external water from permeating into the electric control box.
In order to solve the above problems, the present invention provides an electric control box assembly, comprising: the mounting plate is provided with a groove, and a filling piece is arranged in the groove; the electric control box cover is provided with a flanging; when the electric control box cover is matched with the mounting plate, the flanging is used for covering the groove, so that the filling piece abuts against the flanging.
Compared with the prior art, the effect that this scheme can reach: when the filling member is arranged in the groove, due to the elastic action of the filling member and the extrusion of the groove, the filling member has a part higher than the outer plane of the mounting plate, the electric control box cover is assembled with the mounting plate at the moment, the flanging structure of the electric control box cover covers the outer side surface of the mounting plate, and the part of the filling member higher than the outer plane of the mounting plate is extruded by the flanging, so that the filling member is tightly attached to the flanging, and the moisture can be prevented from permeating into the electric control box assembly from the mounting plate.
In one embodiment of the utility model, the mounting plate comprises: the limiting part is arranged in the groove and used for limiting the filling part.
Compared with the prior art, the effect that this scheme can reach: the locating part sets up the outside that is close to the mounting panel at the opening of recess, and when the packing element passed through in the elastic action embedding recess, the locating part just carries out the backstop effect to the packing element, can effectually prevent that the packing element from deviating from in the recess.
In one embodiment of the present invention, the filling member is inserted into the groove through the opening, and the limiting member protrudes toward the opening to block a portion of the opening.
Compared with the prior art, the effect that this scheme can reach: the locating part sets up towards the opening for the turn-ups can not contradict with the locating part when leaning on the mounting panel, thereby can not produce the gap, guarantees that the turn-ups can support with the packing and lean on and produce good water-proof effects.
In an embodiment of the utility model, the number of the limiting members is multiple, and the multiple limiting members are arranged at intervals at the groove.
Compared with the prior art, the effect that this scheme can reach: the limiting stop elements can improve the limiting stop effect on the filling piece, so that the filling piece is guaranteed not to fall off from the groove under the action of gravity.
In one embodiment of the present invention, the electronic control box assembly further comprises: the mounting plate is arranged on the shell; the guide rail is connected with the shell; the electric control box cover is provided with a sliding groove, and the sliding groove is matched with the guide rail and used for enabling the electric control box cover to slide relative to the shell.
Compared with the prior art, the effect that this scheme can reach: the electric control box cover and the shell are in sliding connection with the guide rail through the sliding grooves, so that the electric control box cover is convenient to assemble and disassemble.
In one embodiment of the present invention, the electronic control box assembly further comprises: the bulge part is connected with the flanging; the mounting plate is provided with a position yielding part, and the protruding part is embedded into the position yielding part when the mounting plate is matched with the electric control box cover.
Compared with the prior art, the effect that this scheme can reach: let the cooperation of position portion and bellying play the guide effect to the assembly of automatically controlled lid, let the cooperation of position portion and bellying simultaneously can further strengthen being connected of automatically controlled lid and casing.
In one embodiment of the utility model, at least one relief portion is provided on the mounting plate; and/or at least one convex part is arranged on the flanging.
Compared with the prior art, the effect that this scheme can reach: when the number of the position giving part and the protruding part is one, the matching of the position giving part and the protruding part can enable the electric control box cover to have a guiding effect on the clamping of the mounting plate. Set up a plurality of portions of letting position and corresponding bellying, can make the connection of automatically controlled lid and casing more stable, joint strength is higher.
In one embodiment of the utility model, the flange is provided with a first shaft hole, the mounting plate is provided with a second shaft hole, and when the electric control box cover is matched with the mounting plate, the first shaft hole is superposed with the second shaft hole and matched with the shaft body through the shaft body.
Compared with the prior art, the effect that this scheme can reach: when the electric control box cover is installed on the shell, the first shaft hole and the second shaft hole are matched through the shaft body, and the effect of strengthening fixation is further achieved.
In one embodiment of the present invention, there is provided a heat exchange assembly comprising: a housing provided with an installation space; the heat exchanger is arranged in the installation space; wherein the housing comprises an electrical control box assembly as in any of the previous embodiments.
Compared with the prior art, the effect that this scheme can reach: the heat exchange assembly in this embodiment has the electric control box assembly in any one of the above embodiments, so that the heat exchange assembly in this embodiment has the beneficial effects of any one of the above embodiments, and details are not repeated herein.
In one embodiment of the present invention, an air conditioner is provided, the air conditioner comprising the heat exchange assembly as in the previous embodiments.
Compared with the prior art, the effect that this scheme can reach: the air conditioner in this embodiment has the heat exchange assembly in the above embodiments, and therefore the air conditioner in this embodiment has the beneficial effects of any of the above embodiments, and details are not repeated here.
Drawings
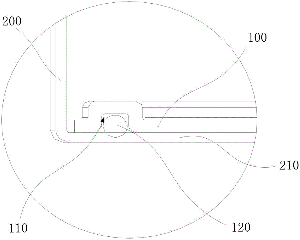
FIG. 1 is a schematic structural diagram of an electric control box assembly;
FIG. 2 is an enlarged view of a portion of FIG. 1 at A;
FIG. 3 is a schematic view of the valve plate;
FIG. 4 is a cross-sectional view taken along A-A of FIG. 3;
FIG. 5 is a partial enlarged view of the portion B in FIG. 4;
FIG. 6 is a schematic structural diagram of an outer cover of the electrical control box;
FIG. 7 is another schematic view of the valve plate;
FIG. 8 is a schematic structural view of a heat exchange assembly;
fig. 9 is a schematic structural view of an air conditioner.
Description of reference numerals:
10: an electronic control box assembly; 100: mounting a plate; 110: a groove; 120: a filling member; 130: a limiting member; 140: an opening; 150: a second shaft hole; 200: an electric control box cover; 210: flanging; 211: a first shaft hole; 220: a chute; 300: a housing; 400: a guide rail; 500: a boss portion; 600: a relief portion; 700: a heat exchange assembly; 710: a housing; 720: a heat exchanger; 800: an air conditioner; 900: a valve plate.
Detailed Description
In order to make the aforementioned objects, features and advantages of the present invention comprehensible, embodiments accompanied with figures are described in detail below.
The first embodiment is as follows:
referring to fig. 1 to 2, the present embodiment provides an electronic control box assembly 10, including: the mounting plate 100, the mounting plate 100 has grooves 110, there are fillers 120 in the groove 110; the electric control box cover 200 is provided with a flanging 210; wherein, when the electrical control box cover 200 is matched with the mounting plate 100, the flange 210 is used for covering the groove 110, so that the filling member 120 abuts against the flange 210.
In this embodiment, the mounting plate 100 is specifically a bottom plate of the electronic control box, and it can be seen from fig. 7 that the mounting plate 100 is a circular arc-shaped thin plate, the mounting plate 100 is recessed inward to form a groove 110, and external moisture easily enters the electronic control box assembly 10 from the position of the mounting plate 100. The bending structure of the electric control box cover 200 forms a flange 210, and when the electric control box assembly 10 is assembled, the flange 210 of the electric control box cover 200 is attached to the bottom of the mounting plate 100 in a semi-surrounding manner.
Specifically, the groove 110 is disposed on the outward side of the mounting plate 100, and the length of the groove 110 is adapted to the length of the periphery of the mounting plate 100. The groove 110 is disposed closer to the periphery of the mounting plate 100, and the groove path of the groove 110 is substantially curved in accordance with the outer periphery of the mounting plate 100. The groove 110 is embedded with a filling member 120, and the filling member 120 is an elastically expandable material. The filling member 120 can be inserted into the groove 110 or removed from the groove 110, i.e. the filling member 120 is detachable with respect to the groove 110. When the filling member 120 is installed in the groove 110, due to the elastic effect of the filling member 120 and the extrusion of the groove 110, a part of the filling member 120 is higher than the outer plane of the mounting plate 100, at this time, the electronic control box cover 200 is assembled with the mounting plate 100, the flange 210 of the electronic control box cover 200 structurally covers the outer side of the mounting plate 100, the part of the filling member 120 higher than the outer plane of the mounting plate 100 is extruded by the flange 210, a screw hole is arranged at the matching position of the flange 210 and the mounting plate 100, the flange 210 is further fixed to the mounting plate 100 by a screw, and the filling member 120 and the flange 210 are tightly attached and extruded by the early warning force generated by the screw, so that a good waterproof effect is achieved.
Further, the filling length of the filling member 120 is adapted to the slotting length of the groove 110, i.e. the filling member 120 is arranged everywhere of the groove 110.
Further, the filling member 120 is embodied as an elastic rubber strip.
Example two:
referring to fig. 1, 2 and 5, in the present embodiment, the mounting plate 100 includes: the limiting member 130, the limiting member 130 is disposed in the groove 110, and the limiting member 130 is used for limiting the filling member 120.
Because the groove 110 is disposed at the bottom of the mounting plate 100, the stopper 130 is not disposed, and under the action of gravity, after the filling member 120 is inserted into the groove 110, if the electrical control box cover 200 is not assembled in time, the filling member 120 is easily separated from the groove 110.
In the embodiment, the limiting member 130 is specifically a snap structure, the limiting member 130 is disposed at the opening 140 of the groove 110 near the outer side of the mounting plate 100, when the filling member 120 is inserted into the groove 110 through the elastic action, the limiting member 130 stops the filling member 120, and the filling member 120 can be effectively prevented from being pulled out from the groove 110.
Example three:
referring to fig. 1, 2 and 5, in the present embodiment, the filling member 120 is inserted into the groove 110 through the opening 140, and the limiting member 130 protrudes toward the opening 140 to block a portion of the opening 140.
In this embodiment, the filling member 120 is embedded into the groove 110 from the opening 140 of the mounting plate 100, the protrusion of the limiting member 130 faces the opening 140, meanwhile, the setting position of the limiting member 130 needs to be located in the opening 140 and faces the inside of the groove 110, and the setting of the limiting member 130 needs to be lower than the plane of the mounting plate 100 on the side where the groove 110 is located, so that when the flange 210 abuts against the mounting plate 100, the flange 210 does not abut against the limiting member 130, a gap is not generated, and it is ensured that the flange 210 can abut against the filling member 120 to generate a good waterproof effect.
Example four:
in the present embodiment, the number of the limiting members 130 is multiple, and the limiting members 130 are disposed at the groove 110 at intervals.
Specifically, referring to fig. 5, the single limiting member 130 can limit the position of the filling member 120, but because the length of the filling member 120 and the length of the groove 110 are long, the effect of slipping off is far from the effect of stopping the filling member 120 at a single point. Therefore, it is necessary to provide some more stoppers 130 on the groove 110 to ensure that each segment of the filling member 120 will not fall off from the groove 110.
Further, the number of the limiting members 130 is preferably three, the three limiting members 130 are respectively disposed at the head, the end and the middle of the corresponding filling member 120, and the three limiting members 130 are disposed to ensure that the filling member 120 does not fall off, and simultaneously, the processing and production cost can be reduced.
Further, the limiting member 130 and the groove 110 can be integrally formed, so that the processing and the production are convenient, and the production cost is reduced. Meanwhile, the limiting member 130 can be produced independently, and the limiting member 130 produced independently can be applied in a wider range
Example five:
referring to fig. 6 to 8, the electronic control box assembly 10 further includes: a housing 300, the mounting plate 100 being disposed on the housing 300; a guide rail 400, the guide rail 400 being connected with the housing 300; the electrical box cover 200 is provided with a sliding groove 220, and the sliding groove 220 is matched with the guide rail 400 to enable the electrical box cover 200 to slide relative to the housing 300.
In the present embodiment, the mounting plate 100 separates the housing 300 from the valve plate 900, i.e., the housing 300 is disposed on the upper portion of the mounting plate 100, and the valve plate 900 is disposed on the lower portion of the mounting plate 100. The electric control box cover 200 is firstly put into the valve plate 900 part, so that the sliding groove 220 of the electric control box cover 200 is aligned with the end part of the guide rail 400 at the position of the shell 300, after the sliding groove 220 is embedded into the guide rail 400, the electric control box cover 200 is gradually pushed towards the position of the shell 300 from the position of the valve plate 900, and after the flanging 210 of the electric control box cover 200 is attached to the filling piece 120, the pushing is stopped. Screw holes are formed around the sliding groove 220, and are also formed around the corresponding guide rail 400, after the electric control box cover 200 is assembled, the screw holes around the sliding groove 220 are aligned and overlapped with the screw holes around the guide rail 400, screws are screwed in, and the electric control box cover 200 is fixed on the shell 300.
Specifically, the electrical box cover 200 and the housing 300 are slidably connected to the guide rail 400 through the sliding slot 220, so that the electrical box cover 200 can be assembled and disassembled conveniently.
Example six:
referring to fig. 6 to 7, in this embodiment, the electronic control box assembly 10 further includes: the bulge 500, the bulge 500 is connected with the flanging 210; the mounting plate 100 is provided with a positioning portion 600, and when the mounting plate 100 is matched with the electric control box cover 200, the protruding portion 500 is embedded into the positioning portion 600.
In this embodiment, the edge of the mounting plate 100 is provided with a relief portion 600, and the relief portion 600 is a V-shaped unfilled corner, that is, the relief portion 600 is formed by inward recessing of the edge of the mounting plate 100. What want the matching with it by way of department 600 is the bellying 500 that sets up on automatically controlled lid 200, and the concrete position setting of bellying 500 is in the department of buckling of turn-ups 210, and bellying 500 specifically is a V type protruding muscle, and after automatically controlled lid 200 and the assembly of casing 300 were accomplished, turn-ups 210 accomplished with the cooperation of mounting panel 100, and the bellying 500 that is the V type protruding muscle this moment is embedded into the department 600 of stepping down to the V type unfilled corner. The cooperation of the positioning portion 600 and the protruding portion 500 guides the assembling of the electrical control box cover 200, and the cooperation of the positioning portion 600 and the protruding portion 500 can further enhance the connection between the electrical control box cover 200 and the housing 300.
Example seven:
referring to fig. 6 to 7, in the present embodiment, at least one positioning portion 600 is provided on the mounting plate 100; and/or at least one protrusion 500 is provided at the cuff 210.
When the number of the yielding part 600 and the number of the protruding part 500 are both one, when the protruding part 500 at the flange 210 is matched with the yielding part 600 at the mounting plate 100, the electric control box cover 200 can have a certain guiding effect on the accurate clamping of the mounting plate 100.
In this embodiment, the number of the protruding portions 500 needs to be less than or equal to the number of the yielding portions 600, if the number of the protruding portions 500 is greater than the number of the yielding portions 600, when the flange 210 is attached to the mounting plate 100, because the protruding portions 500 do not have the corresponding yielding portions 600 to be matched with, the protruding portions 500 will jack up the mounting plate 100, so that the flange 210 cannot be attached to the filling member 120, and therefore a large gap exists between the flange 210 and the mounting plate 100, and the waterproof effect is poor.
Meanwhile, the plurality of positioning parts 600 and the corresponding protrusions 500 are arranged, so that the connection between the electric control box cover 200 and the shell 300 is more stable, and the connection strength is higher.
Preferably, the number of the protruding portions 500 is the same as the number of the receding portions 600, and the number of the protruding portions 500 is four, and each protruding portion 500 is matched with the corresponding receding portion 600. The four protrusions 500 are spaced apart from each other at the bent portion of the flange 210, and the four positioning portions 600 are spaced apart from each other at the periphery of the mounting plate 100.
Example eight:
referring to fig. 6 to 7, the flange 210 is provided with a first shaft hole 211, the mounting plate 100 is provided with a second shaft hole 150, and when the electrical box cover 200 is matched with the mounting plate 100, the first shaft hole 211 is overlapped with the second shaft hole 150 and is matched with the second shaft body through a shaft body.
In this embodiment, as shown in fig. 6, an arc-shaped protrusion is further disposed on the position of the flange 210, a first shaft hole 211 is disposed on the arc-shaped protrusion, the position of the first shaft hole 211 corresponds to the position of the second shaft hole 150 on the mounting plate 100, and when the electrical control box cover 200 is mounted to the housing 300, after the screw connection is completed, the shaft body is in interference fit with the first shaft hole 211 and the second shaft hole 150, so as to further enhance the fixing effect.
Example nine:
referring to fig. 8, the present embodiment provides a heat exchange assembly 700, including: a housing 710, the housing 710 having an installation space; a heat exchanger 720, the heat exchanger 720 being disposed in the installation space; wherein the housing 710 includes the electrical control box assembly 10 of any of the previous embodiments.
In this embodiment, the electronic control box assembly 10 is disposed on the shell 710 of the heat exchange assembly 700, specifically, the electronic control box assembly 10 is disposed at any corner of the shell 710, and the shell 710 plays a role in limiting and protecting the heat exchanger 720.
Preferably, the housing 710 is disposed on the G-type heat exchanger 720, and similarly, the electrical control box assembly 10 in this embodiment is preferably used for the housing 710 of the G-type heat exchanger 720.
Example ten:
referring to fig. 9, the present embodiment provides an air conditioner 800, and the air conditioner 800 includes the heat exchange assembly 700 as in the above embodiments.
In this embodiment, the air conditioner 800 may be a wall-mounted air conditioner, a cabinet air conditioner, a central air conditioner, or a mobile air conditioner.
In this embodiment, the heat exchange assembly 700 is disposed in the air conditioner 800, and meanwhile, the air conditioner 800 is further provided with other equipment assemblies, the air conditioner 800 has the heat exchange assembly 700, and the heat exchange assembly 700 is provided with the electronic control box assembly 10 according to any one of the embodiments, so that the heat exchange assembly 700 has the beneficial effects of any one of the embodiments.
Although the present invention is disclosed above, the present invention is not limited thereto. Various changes and modifications may be effected therein by one skilled in the art without departing from the spirit and scope of the utility model as defined in the appended claims.

Claims (10)

1.一种电控盒组件(10),其特征在于,包括:1. An electric control box assembly (10) is characterized in that, comprising: 安装板(100),所述安装板(100)设有凹槽(110),所述凹槽(110)内设置有填充件(120);an installation plate (100), wherein the installation plate (100) is provided with a groove (110), and a filler (120) is provided in the groove (110); 电控盒盖(200),所述电控盒盖(200)设有翻边(210);an electric control box cover (200), the electric control box cover (200) is provided with a flange (210); 其中,所述电控盒盖(200)与所述安装板(100)配合时,所述翻边(210)用于覆盖所述凹槽(110),以使得所述填充件(120)抵靠所述翻边(210)。Wherein, when the electric control box cover (200) is matched with the mounting plate (100), the flange (210) is used to cover the groove (110), so that the filler (120) is against the against the flange (210). 2.根据权利要求1所述的电控盒组件(10),其特征在于,所述安装板(100)包括:2. The electrical control box assembly (10) according to claim 1, wherein the mounting plate (100) comprises: 限位件(130),所述限位件(130)设于所述凹槽(110),且所述限位件(130)用于对所述填充件(120)进行限位。A limiting member (130), the limiting member (130) is arranged in the groove (110), and the limiting member (130) is used for limiting the filling member (120). 3.根据权利要求2所述的电控盒组件(10),其特征在于,所述填充件(120)经由开口(140)嵌入所述凹槽(110),所述限位件(130)向所述开口(140)凸伸,以遮挡部分的所述开口(140)。3. The electric control box assembly (10) according to claim 2, wherein the filler (120) is inserted into the groove (110) through an opening (140), and the limiting member (130) It protrudes toward the opening (140) to cover part of the opening (140). 4.根据权利要求2所述的电控盒组件(10),其特征在于,所述限位件(130)的数量为多个,多个所述限位件(130)在所述凹槽(110)处间隔设置。4. The electric control box assembly (10) according to claim 2, characterized in that, the number of the limiting members (130) is multiple, and a plurality of the limiting members (130) are located in the grooves (110) the interval setting. 5.根据权利要求1所述的电控盒组件(10),其特征在于,所述电控盒组件(10)还包括:5. The electric control box assembly (10) according to claim 1, wherein the electric control box assembly (10) further comprises: 壳体(300),所述安装板(100)设置于所述壳体(300);a casing (300), the mounting plate (100) is disposed on the casing (300); 导轨(400),所述导轨(400)与所述壳体(300)连接;a guide rail (400), the guide rail (400) is connected with the housing (300); 其中,所述电控盒盖(200)设置有滑槽(220),所述滑槽(220)与所述导轨(400)配合,用于使得所述电控盒盖(200)相对于所述壳体(300)滑动。Wherein, the electric control box cover (200) is provided with a chute (220), and the chute (220) cooperates with the guide rail (400) for making the electric control box cover (200) relative to the The casing (300) slides. 6.根据权利要求1所述的电控盒组件(10),其特征在于,所述电控盒组件(10)还包括:6. The electric control box assembly (10) according to claim 1, wherein the electric control box assembly (10) further comprises: 凸起部(500),所述凸起部(500)与所述翻边(210)连接;a raised part (500), the raised part (500) is connected with the flange (210); 其中,所述安装板(100)设有让位部(600),所述安装板(100)与所述电控盒盖(200)配合时,所述凸起部(500)嵌入所述让位部(600)。Wherein, the mounting plate (100) is provided with an escape portion (600), and when the mounting plate (100) is matched with the electric control box cover (200), the raised portion (500) is embedded in the escape portion (600). Bits (600). 7.根据权利要求6所述的电控盒组件(10),其特征在于,至少一个所述让位部(600)设置于所述安装板(100);和/或,7. The electrical control box assembly (10) according to claim 6, characterized in that, at least one of the escape portions (600) is provided on the mounting plate (100); and/or, 至少一个所述凸起部(500)设置于所述翻边(210)。At least one of the protruding parts (500) is arranged on the flange (210). 8.根据权利要求1-7中任意一项所述的电控盒组件(10),其特征在于,所述翻边(210)设置有第一轴孔(211),所述安装板(100)设置有第二轴孔(150),所述电控盒盖(200)与所述安装板(100)配合时,所述第一轴孔(211)与所述第二轴孔(150)重合,且通过轴体配合。8. The electric control box assembly (10) according to any one of claims 1-7, wherein the flange (210) is provided with a first shaft hole (211), and the mounting plate (100) ) is provided with a second shaft hole (150), when the electric control box cover (200) is matched with the mounting plate (100), the first shaft hole (211) and the second shaft hole (150) Coincidence, and fit through the shaft body. 9.一种换热组件(700),其特征在于,包括:9. A heat exchange assembly (700), characterized in that, comprising: 外壳(710),所述外壳(710)设有安装空间;a casing (710), the casing (710) is provided with an installation space; 换热器(720),所述换热器(720)设置于所述安装空间;a heat exchanger (720), the heat exchanger (720) is arranged in the installation space; 其中,所述外壳(710)包括如权利要求1-8中任意一项所述的电控盒组件(10)。Wherein, the housing (710) includes the electrical control box assembly (10) according to any one of claims 1-8. 10.一种空调器(800),其特征在于,所述空调器(800)包括如权利要求9所述的换热组件(700)。10. An air conditioner (800), characterized in that, the air conditioner (800) comprises the heat exchange assembly (700) according to claim 9.
CN202123223391.8U 2021-12-21 2021-12-21 Automatically controlled box subassembly, heat exchange assemblies and air conditioner Active CN216693936U (en)

Priority Applications (1)

Application Number Priority Date Filing Date Title
CN202123223391.8U CN216693936U (en) 2021-12-21 2021-12-21 Automatically controlled box subassembly, heat exchange assemblies and air conditioner

Applications Claiming Priority (1)

Application Number Priority Date Filing Date Title
CN202123223391.8U CN216693936U (en) 2021-12-21 2021-12-21 Automatically controlled box subassembly, heat exchange assemblies and air conditioner

Publications (1)

Publication Number Publication Date
CN216693936U true CN216693936U (en) 2022-06-07

Family

ID=81841737

Family Applications (1)

Application Number Title Priority Date Filing Date
CN202123223391.8U Active CN216693936U (en) 2021-12-21 2021-12-21 Automatically controlled box subassembly, heat exchange assemblies and air conditioner

Country Status (1)

Country Link
CN (1) CN216693936U (en)

Similar Documents

Publication Publication Date Title
CN107635370B (en) Electrical apparatus box mounting structure, electrical apparatus box and air purification equipment
CN216693936U (en) Automatically controlled box subassembly, heat exchange assemblies and air conditioner
CN212544316U (en) sealing structure
CN106451829B (en) Electric machine
CN110529424B (en) Decorative panel assembly and household appliance
CN203027635U (en) Bottom shell of outdoor LED display screen module
CN211694782U (en) Wire pressing device for lighting equipment and lighting equipment
CN210157533U (en) Waterproof shell
WO2018077057A1 (en) Control-panel structure and household appliance device
CN211261045U (en) Electric control box and window type air conditioner
CN216960442U (en) Shell assembly and outdoor power supply
CN218544630U (en) Window type air conditioner
CN212204978U (en) Electric control box and air conditioner
CN111356046B (en) Intelligent terminal equipment
CN212115963U (en) Waterproof controller
CN210891518U (en) A new light source base structure
CN221807380U (en) An easy-to-assemble power supply housing
CN218096518U (en) Electric appliance cover plate and air conditioner outdoor unit
CN222356707U (en) A driving power box
CN112103113A (en) Waterproof structure of soft rubber key and installation method
CN219329405U (en) AC socket structure and defibrillator charger
CN219106607U (en) Signal connector convenient to waterproof
CN221009538U (en) Waterproof box
CN219372857U (en) Electrical apparatus box subassembly and air conditioner
CN223452194U (en) Power supply structure and power supply board fixing components

Legal Events

Date Code Title Description
GR01 Patent grant
GR01 Patent grant
TR01 Transfer of patent right

Effective date of registration: 20221008

Address after: 315191 No. 1166 Mingguang North Road, Jiangshan Town, Ningbo, Zhejiang, Yinzhou District

Patentee after: NINGBO AUX ELECTRIC Co.,Ltd.

Patentee after: AUX AIR CONDITIONING LIMITED BY SHARE Ltd.

Address before: 315100 No. 1166 Mingguang North Road, Jiangshan Town, Ningbo, Zhejiang, Yinzhou District

Patentee before: NINGBO AUX ELECTRIC Co.,Ltd.

Patentee before: Ningbo Oxfam intelligent commercial air conditioning manufacturing Co.,Ltd.

TR01 Transfer of patent right
CP03 Change of name, title or address

Address after: 315191 No. 1166 Mingguang North Road, Jiangshan Town, Ningbo, Zhejiang, Yinzhou District

Patentee after: NINGBO AUX ELECTRIC Co.,Ltd.

Country or region after: China

Patentee after: AUX AIR CONDITIONING LIMITED BY SHARE Ltd.

Address before: No. 1166 Mingguang North Road, Jiangshan Town, Ningbo, Zhejiang, Yinzhou District

Patentee before: NINGBO AUX ELECTRIC Co.,Ltd.

Country or region before: China

Patentee before: AUX AIR CONDITIONING LIMITED BY SHARE Ltd.

CP03 Change of name, title or address