CN216406832U - Tunnel engineering excavation construction rack - Google Patents
Tunnel engineering excavation construction rack Download PDFInfo
- Publication number
- CN216406832U CN216406832U CN202120932428.5U CN202120932428U CN216406832U CN 216406832 U CN216406832 U CN 216406832U CN 202120932428 U CN202120932428 U CN 202120932428U CN 216406832 U CN216406832 U CN 216406832U
- Authority
- CN
- China
- Prior art keywords
- construction platform
- tunnel engineering
- engineering excavation
- excavation construction
- bottom plate
- Prior art date
- Legal status (The legal status is an assumption and is not a legal conclusion. Google has not performed a legal analysis and makes no representation as to the accuracy of the status listed.)
- Expired - Fee Related
Links
- 238000010276 construction Methods 0.000 title claims abstract description 61
- 238000009412 basement excavation Methods 0.000 title claims abstract description 22
- 230000001681 protective effect Effects 0.000 claims description 12
- 238000012986 modification Methods 0.000 description 3
- 230000004048 modification Effects 0.000 description 3
- 230000009286 beneficial effect Effects 0.000 description 1
- 230000007812 deficiency Effects 0.000 description 1
- 238000000034 method Methods 0.000 description 1
Images
Landscapes
- Ladders (AREA)
Abstract
本实用新型属于工程设备相关技术领域,具体涉及一种隧道工程开挖施工台架,其包括:底板;两个n形的框架,对称设置且固定于底板的上表面;两个丝杠,两个丝杠的第一端均与底板转动连接,第二端分别穿过一个框架的水平部且与该框架转动连接,每个丝杠的第二端还固定连接有水平设置的从动齿轮;两个旋转电机,其分别固定设置于一个框架的水平部,每个旋转电机的输出轴上均固定连接有主动齿轮,每个主动齿轮均与其同侧的从动齿轮啮合;两个内螺纹杆,每个内螺纹杆分别与一个丝杠螺接;水平设置的施工平台,其两端分别与一个内螺纹杆固定连接。本实用新型提供的一种隧道工程开挖施工台架可灵活调整施工平台的高度,使工人施工更加便利且高效。
The utility model belongs to the technical field of engineering equipment, in particular to a tunnel engineering excavation and construction platform, which comprises: a base plate; two n-shaped frames are symmetrically arranged and fixed on the upper surface of the base plate; two lead screws, two The first ends of each lead screw are rotatably connected with the bottom plate, the second ends respectively pass through the horizontal portion of a frame and are rotatably connected with the frame, and the second end of each lead screw is also fixedly connected with a horizontally arranged driven gear; Two rotating electrical machines, which are respectively fixed on the horizontal part of a frame, the output shaft of each rotating electrical machine is fixedly connected with a driving gear, and each driving gear is meshed with the driven gear on the same side; two internally threaded rods , each internal thread rod is respectively screwed with a lead screw; the two ends of the horizontally arranged construction platform are respectively fixedly connected with an internal thread rod. The tunnel engineering excavation construction platform provided by the utility model can flexibly adjust the height of the construction platform, so that the construction is more convenient and efficient for workers.
Description
技术领域technical field
本实用新型属于工程设备相关技术领域,具体涉及一种隧道工程开挖施工台架。The utility model belongs to the technical field of engineering equipment, in particular to a tunnel engineering excavation construction platform.
背景技术Background technique
隧道在开挖过程中,需要工人站立在施工台架上进行作业。现有的施工台架,通过固定设置多层施工平台、使工人在各层平台间上下的方式来进行对隧道各部分的施工,这种施工台架,因设置了多层无法移动的平台,故台架间必须留有较大空隙以供工人站立,这就造成隧道施工处的有些地方,工人无论站在哪层台架上均无法对该地进行较为方便的施工,使得施工效率较低且施工风险较高。During the excavation of the tunnel, workers are required to stand on the construction bench for work. Existing construction benches carry out the construction of various parts of the tunnel by fixing multi-layer construction platforms so that workers can go up and down between each layer of platforms. Therefore, there must be a large gap between the benches for workers to stand, which results in that in some parts of the tunnel construction site, no matter which floor of benches workers stand on, they cannot carry out more convenient construction on the site, which makes the construction efficiency low. And the construction risk is high.
实用新型内容Utility model content
针对上述现有技术的不足,本实用新型提供了一种隧道工程开挖施工台架。In view of the above-mentioned deficiencies of the prior art, the utility model provides a tunnel engineering excavation construction platform.
本实用新型提供了一种隧道工程开挖施工台架,包括:The utility model provides a tunnel engineering excavation construction platform, comprising:
底板;bottom plate;
两个n形的框架,对称设置且固定于底板的上表面;Two n-shaped frames, symmetrically arranged and fixed on the upper surface of the base plate;
两个丝杠,两个丝杠的第一端均与底板转动连接,第二端分别穿过一个框架的水平部且与该框架转动连接,每个丝杠的第二端还固定连接有水平设置的从动齿轮;Two lead screws, the first ends of the two lead screws are rotatably connected with the bottom plate, the second ends respectively pass through the horizontal part of a frame and are rotatably connected with the frame, and the second ends of each lead screw are also fixedly connected with a horizontal Set driven gear;
两个旋转电机,其分别固定设置于一个框架的水平部,每个旋转电机的输出轴上均固定连接有主动齿轮,每个主动齿轮均与其同侧的从动齿轮啮合;Two rotating electrical machines, which are respectively fixed on the horizontal part of a frame, the output shaft of each rotating electrical machine is fixedly connected with a driving gear, and each driving gear is meshed with the driven gear on the same side;
两个内螺纹杆,每个内螺纹杆分别与一个丝杠螺接;Two internally threaded rods, each of which is screwed with a lead screw;
水平设置的施工平台,其两端分别与一个内螺纹杆固定连接。The horizontally arranged construction platform is fixedly connected with an inner threaded rod at both ends.
优选的,施工平台的四个角分别套设在框架的一个竖直部上,且可上下滑动。Preferably, the four corners of the construction platform are respectively sleeved on a vertical part of the frame, and can slide up and down.
优选的,底板下方相对的两个边沿处分别设有万向轮,万向轮还设有刹车件。Preferably, two opposite edges below the bottom plate are respectively provided with universal wheels, and the universal wheels are also provided with brakes.
优选的,还设置有控制器,两个旋转电机均与控制器电连接,并接受控制器控制开关。Preferably, a controller is also provided, and the two rotating electrical machines are both electrically connected to the controller and accept the controller to control switches.
优选的,施工平台的边沿处设有防护网。Preferably, a protective net is provided at the edge of the construction platform.
优选的,防护网侧开口,开口处铰接有门。Preferably, the side of the protective net is opened, and a door is hinged at the opening.
优选的,门上设有门栓。Preferably, a latch is provided on the door.
优选的,位于门下方的底板侧沿处铰接有折叠梯。Preferably, a folding ladder is hinged at the side edge of the bottom plate below the door.
与现有技术相比,本实用新型具有以下有益效果:Compared with the prior art, the utility model has the following beneficial effects:
(1)本实用新型提供的一种隧道工程开挖施工台架,其可上下运动的施工平台能使工人有合适的位置对隧道施工处的各个部分进行施工,保证施工安全性与便捷性的同时提升了施工效率。(1) A kind of tunnel engineering excavation construction platform provided by the present utility model, its construction platform that can move up and down can enable workers to have suitable positions to carry out construction on various parts of the tunnel construction site, ensuring construction safety and convenience. At the same time, the construction efficiency is improved.
(2)本实用新型提供的一种隧道工程开挖施工台架,其底板下方设置的万向轮能提升台架的可动性,便于对台架进行转移。(2) The utility model provides a tunnel engineering excavation construction platform, the universal wheel arranged under the bottom plate can improve the mobility of the platform and facilitate the transfer of the platform.
(3)本实用新型提供的一种隧道工程开挖施工台架,其底板侧沿铰接的梯子以及防护网上设置的门可方便工人上下施工平台,且在工人登上施工平台之后可将梯子扳起,减少占地面积的同时方便对台架进行转移。(3) The utility model provides a tunnel engineering excavation construction platform, the hinged ladder along the side of the bottom plate and the door set on the protective net can facilitate the workers to get on and off the construction platform, and after the workers board the construction platform, the ladder can be pulled up It is convenient to transfer the gantry while reducing the floor space.
附图说明Description of drawings
为了更清楚地说明本实用新型实施例或现有技术中的技术方案,下面将对实施例或现有技术描述中所需要使用的附图作简单地介绍,显而易见地,下面描述中的附图仅仅是本实用新型的一些实施例,对于本领域普通技术人员来讲,在不付出创造性劳动的前提下,还可以根据这些附图获得其他的附图。In order to more clearly illustrate the embodiments of the present utility model or the technical solutions in the prior art, the following briefly introduces the accompanying drawings that need to be used in the description of the embodiments or the prior art. Obviously, the accompanying drawings in the following description These are just some embodiments of the present invention, and for those of ordinary skill in the art, other drawings can also be obtained from these drawings without creative effort.
图1为本实用新型提供的一种隧道工程开挖施工台架的正面剖面图;Fig. 1 is the front sectional view of a kind of tunnel engineering excavation construction platform provided by the utility model;
图2为本实用新型提供的一种隧道工程开挖施工台架的侧面剖面图。Figure 2 is a side sectional view of a tunnel engineering excavation construction platform provided by the utility model.
附图标记说明:Description of reference numbers:
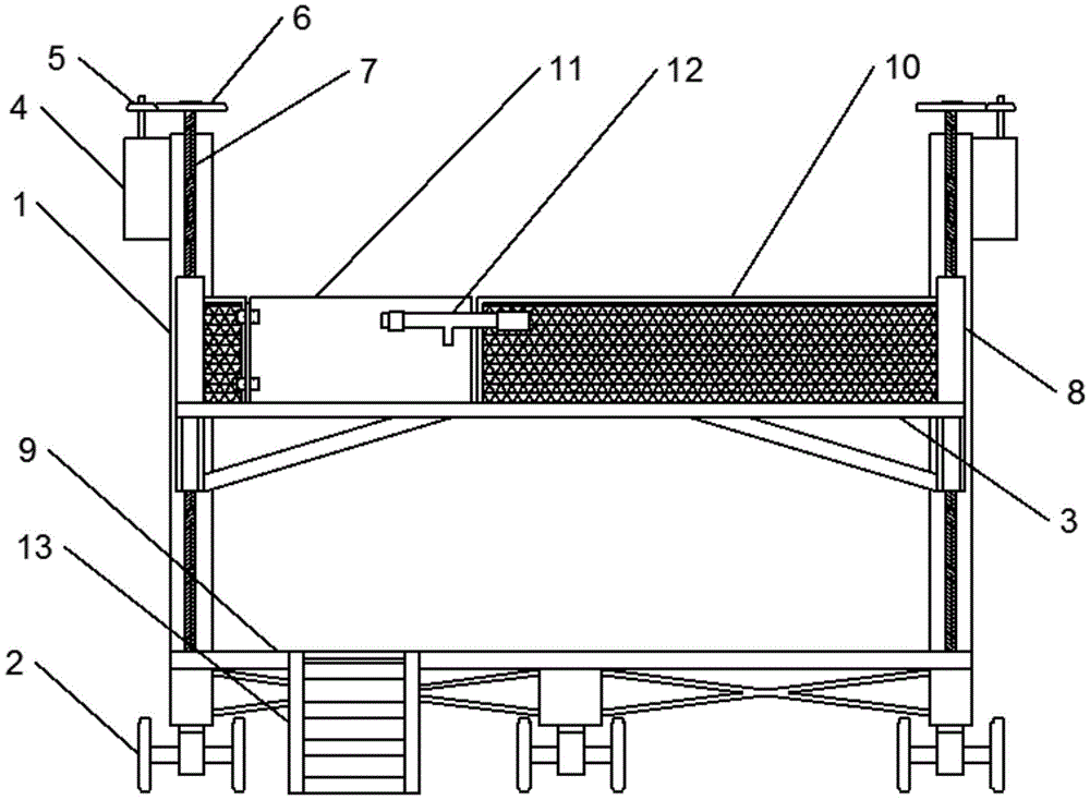
1-框架,2-万向轮,3-施工平台,4-旋转电机,5-主动齿轮,6-从动齿轮, 7-丝杠,8-内螺纹杆,9-底板,10-防护网,11-门,12-门栓,13-梯子。1- frame, 2- universal wheel, 3- construction platform, 4- rotating motor, 5- driving gear, 6- driven gear, 7- lead screw, 8- internal thread rod, 9- bottom plate, 10- protective net , 11-door, 12-bolt, 13-ladder.
具体实施方式Detailed ways
下面将结合本实用新型实施例中的附图,对本实用新型实施例中的技术方案进行清楚、完整地描述,显然,所描述的实施例仅仅是本实用新型一部分实施例,而不是全部的实施例。基于本实用新型中的实施例,本领域普通技术人员在没有做出创造性劳动前提下所获得的所有其他实施例,都属于本实用新型保护的范围。The technical solutions in the embodiments of the present utility model will be clearly and completely described below with reference to the accompanying drawings in the embodiments of the present utility model. Obviously, the described embodiments are only a part of the embodiments of the present utility model, rather than all the implementations. example. Based on the embodiments of the present invention, all other embodiments obtained by those of ordinary skill in the art without creative work fall within the protection scope of the present invention.
实施例1Example 1
本实施例提供了一种隧道工程开挖施工台架,如图1-2所示,其包括:This embodiment provides a tunnel engineering excavation construction platform, as shown in Figure 1-2, which includes:
底板9,其下方相对的两个边沿处分别设有万向轮2,万向轮2还设有刹车件;The
两个n形的框架1,对称设置固定于底板9的上表面固定连接;Two n-
两个丝杠7,两个丝杠7的第一端均与底板9转动连接,第二端分别穿过一个框架1的水平部且与该框架1转动连接,每个丝杠7的第二端还固定连接有水平设置的从动齿轮6;Two
两个旋转电机4,其分别固定设置于一个框架1的水平部,每个旋转电机 4的输出轴上均固定连接有主动齿轮5,每个主动齿轮5均与其同侧的从动齿轮6啮合;The two rotating
控制器,两个旋转电机4均与其电连接,且受其控制开关;a controller, the two rotating
两个内螺纹杆8,每个内螺纹杆8分别与一个丝杠7螺接;Two internally threaded
水平设置的施工平台3,其两端分别与一个内螺纹杆8固定连接,其四个角分别套设在框架1的一个竖直部上,且可上下滑动。The two ends of the horizontally arranged
所述防护网(10)侧开口,所述开口处铰接有门(11)。The protective net (10) is opened on the side, and a door (11) is hinged at the opening.
本实施例提供的隧道开挖施工台架,其工作原理如下:The working principle of the tunnel excavation construction platform provided by the present embodiment is as follows:
在施工时,首先将本台架移动至施工地点,并打开旋转电机4,使其带动主动齿轮5旋转,主动齿轮5带动从动齿轮6旋转,从动齿轮6带动丝杠7旋转,丝杠7带动内螺纹杆8向下移动,与内螺纹杆8固定连接的施工平台3即在内螺纹杆8的带动下向下移动,当施工平台3移动至工人可登上的高度后关闭旋转电机4,施工平台3即停止移动,当工人登上施工平台3后打开旋转电机4,使其以与之前相反的方向旋转,施工平台3即可带动工人上升,当工人上升至施工地点后,关闭旋转电机4,施工平台3即保持不动;之后只需根据需要控制旋转电机4的旋转方向与开关即可。During construction, first move the bench to the construction site, and turn on the
在本实施例的一个进一步的实施例中,施工平台的边沿处设有防护网 10,防护网10设有开口,开口处铰接有门11,门11上设有门阀12。防护网 10可防止工人在较高处施工时不慎跌落,同时,防护网10上的门11可便于工人上下施工平台3,门11上的门阀12可在工人登上施工平台3后关闭,以保证防护网10的保护性不受影响。In a further embodiment of this embodiment, the edge of the construction platform is provided with a
在本实施例的一个进一步的实施例中,底板9侧沿、与门11对应位置处铰接有梯子13。梯子13可便于工人上下施工平台3,且梯子13与底板9铰接,在需要对台架进行移动时,只需将梯子13扳起,即可对台架进行移动,提升了台架移动的便利性。In a further embodiment of this embodiment, a
显然,本领域技术人员可以对本实用新型进行各种改动和变型而不脱离本实用新型的精神和范围。这样,倘若本实用新型的这些修改和变型属于本实用新型权利要求及其等同技术的范围之内,则本实用新型也意图包含这些改动和变型在内。Obviously, those skilled in the art can make various changes and modifications to the present invention without departing from the spirit and scope of the present invention. Thus, if these modifications and variations of the present utility model fall within the scope of the claims of the present utility model and their equivalents, the present utility model is also intended to include these modifications and variations.
Claims (8)
Priority Applications (1)
| Application Number | Priority Date | Filing Date | Title |
|---|---|---|---|
| CN202120932428.5U CN216406832U (en) | 2021-04-30 | 2021-04-30 | Tunnel engineering excavation construction rack |
Applications Claiming Priority (1)
| Application Number | Priority Date | Filing Date | Title |
|---|---|---|---|
| CN202120932428.5U CN216406832U (en) | 2021-04-30 | 2021-04-30 | Tunnel engineering excavation construction rack |
Publications (1)
| Publication Number | Publication Date |
|---|---|
| CN216406832U true CN216406832U (en) | 2022-04-29 |
Family
ID=81281992
Family Applications (1)
| Application Number | Title | Priority Date | Filing Date |
|---|---|---|---|
| CN202120932428.5U Expired - Fee Related CN216406832U (en) | 2021-04-30 | 2021-04-30 | Tunnel engineering excavation construction rack |
Country Status (1)
| Country | Link |
|---|---|
| CN (1) | CN216406832U (en) |
Cited By (1)
| Publication number | Priority date | Publication date | Assignee | Title |
|---|---|---|---|---|
| CN116281785A (en) * | 2023-01-12 | 2023-06-23 | 中铁隧道局集团有限公司 | A support platform device applied to a tunnel microseismic equipment installation vehicle |
-
2021
- 2021-04-30 CN CN202120932428.5U patent/CN216406832U/en not_active Expired - Fee Related
Cited By (1)
| Publication number | Priority date | Publication date | Assignee | Title |
|---|---|---|---|---|
| CN116281785A (en) * | 2023-01-12 | 2023-06-23 | 中铁隧道局集团有限公司 | A support platform device applied to a tunnel microseismic equipment installation vehicle |
Similar Documents
| Publication | Publication Date | Title |
|---|---|---|
| CN107306480B (en) | Outdoor communication cabinet convenient to overhaul | |
| CN216406832U (en) | Tunnel engineering excavation construction rack | |
| CN107034773A (en) | A kind of mobile device of long cutting cement surface | |
| CN113097912B (en) | Electric power overhauls platform | |
| CN205497465U (en) | Production of computer lab floor is with pile up neatly machinery hand | |
| CN110565287A (en) | Combined sewing machine | |
| CN206359188U (en) | A kind of Bidirectional-screw drives lift rotating equipment | |
| CN215402810U (en) | Based on multi-direction platform adjusting device of electric automatization | |
| CN221953284U (en) | Large-scale equipment maintenance is with adjusting support frame | |
| CN205611084U (en) | Outdoor communication rack convenient to overhaul | |
| CN219760390U (en) | Electric control equipment convenient to move | |
| CN213457645U (en) | Automatic illumination adjusting device for exposure machine | |
| CN213439639U (en) | Vehicle for assembling aviation turbine engine equipment | |
| CN112186604B (en) | Transformer maintenance platform with multiple installation modes | |
| CN111975882A (en) | Wood cutting equipment convenient to equipment is changed | |
| CN210685317U (en) | Construction platform for building | |
| CN209568841U (en) | An integrated window power unit | |
| CN107706770A (en) | An adjustable power distribution cabinet | |
| CN211895955U (en) | A new type of power maintenance platform | |
| CN220082697U (en) | An electric power safety monitoring device | |
| CN206477751U (en) | A kind of sliding door | |
| CN207273120U (en) | A kind of assembling device of the connector of electric cooker heat-generating pipe | |
| CN208196819U (en) | Industrial robot control cabinet | |
| CN222647496U (en) | Lifting telescopic hard arm structure | |
| CN222671916U (en) | A three-phase asynchronous motor operation test device |
Legal Events
| Date | Code | Title | Description |
|---|---|---|---|
| GR01 | Patent grant | ||
| GR01 | Patent grant | ||
| CF01 | Termination of patent right due to non-payment of annual fee | ||
| CF01 | Termination of patent right due to non-payment of annual fee |
Granted publication date: 20220429 |
