CN216395761U - A kind of high-efficiency filtering and environmental protection equipment for automatic spraying line - Google Patents
A kind of high-efficiency filtering and environmental protection equipment for automatic spraying line Download PDFInfo
- Publication number
- CN216395761U CN216395761U CN202120485562.5U CN202120485562U CN216395761U CN 216395761 U CN216395761 U CN 216395761U CN 202120485562 U CN202120485562 U CN 202120485562U CN 216395761 U CN216395761 U CN 216395761U
- Authority
- CN
- China
- Prior art keywords
- filtering
- pipeline
- component
- air inlet
- automatic spraying
- Prior art date
- Legal status (The legal status is an assumption and is not a legal conclusion. Google has not performed a legal analysis and makes no representation as to the accuracy of the status listed.)
- Active
Links
Images
Landscapes
- Solid-Sorbent Or Filter-Aiding Compositions (AREA)
- Treating Waste Gases (AREA)
Abstract
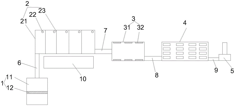
本实用新型属于过滤装置技术领域,具体涉及一种自动喷涂线高效过滤环保设备,包括初效过滤部件、水帘过滤部件、光固化降解部件、活性炭吸附部件以及抽风机;所述初效过滤部件的进气口连通于自动喷涂线的出气口,所述水帘过滤部件的进气口通过第一管道连通于所述初效过滤部件的出气口,所述光固化降解部件的进气口通过第二管道连通于所述水帘过滤部件的出气口,所述活性炭吸附部件的进气口通过第三管道连通于所述光固化降解部件的出气口,所述抽风机的进气口通过第四管道连通于所述活性炭吸附部件的出气口。本实用新型装置设置了多道废气过滤设备,提高了排放气体的过滤,减少污染物的排放,增加了设备的利用率。
The utility model belongs to the technical field of filtering devices, and in particular relates to a high-efficiency filtering and environmental protection equipment for an automatic spraying line, comprising a primary-effect filtering component, a water curtain filtering component, a light-curing degradation component, an activated carbon adsorption component and an exhaust fan; the primary-efficiency filtering component The air inlet is connected to the air outlet of the automatic spraying line, the air inlet of the water curtain filter part is connected to the air outlet of the primary filter part through the first pipe, and the air inlet of the light curing degradation part passes through The second pipe is connected to the air outlet of the water curtain filter element, the air inlet of the activated carbon adsorption element is connected to the air outlet of the photocuring degradation element through the third pipe, and the air inlet of the exhaust fan passes through the third pipe. The four pipes are communicated with the air outlet of the activated carbon adsorption component. The device of the utility model is provided with multi-channel waste gas filtering equipment, which improves the filtering of exhaust gas, reduces the discharge of pollutants, and increases the utilization rate of the equipment.
Description
Claims (5)
Priority Applications (1)
| Application Number | Priority Date | Filing Date | Title |
|---|---|---|---|
| CN202120485562.5U CN216395761U (en) | 2021-03-05 | 2021-03-05 | A kind of high-efficiency filtering and environmental protection equipment for automatic spraying line |
Applications Claiming Priority (1)
| Application Number | Priority Date | Filing Date | Title |
|---|---|---|---|
| CN202120485562.5U CN216395761U (en) | 2021-03-05 | 2021-03-05 | A kind of high-efficiency filtering and environmental protection equipment for automatic spraying line |
Publications (1)
| Publication Number | Publication Date |
|---|---|
| CN216395761U true CN216395761U (en) | 2022-04-29 |
Family
ID=81280520
Family Applications (1)
| Application Number | Title | Priority Date | Filing Date |
|---|---|---|---|
| CN202120485562.5U Active CN216395761U (en) | 2021-03-05 | 2021-03-05 | A kind of high-efficiency filtering and environmental protection equipment for automatic spraying line |
Country Status (1)
| Country | Link |
|---|---|
| CN (1) | CN216395761U (en) |
-
2021
- 2021-03-05 CN CN202120485562.5U patent/CN216395761U/en active Active
Similar Documents
| Publication | Publication Date | Title |
|---|---|---|
| CN201823666U (en) | Dry spray booth | |
| CN206064044U (en) | A kind of infant industry Multi-stage waste gas purifying installation | |
| CN216395761U (en) | A kind of high-efficiency filtering and environmental protection equipment for automatic spraying line | |
| CN207951025U (en) | A kind of energy conservation and environmental protection deduster with bidirectional interface | |
| CN104785057A (en) | Environment-friendly type pump-free paint mist dust treatment equipment | |
| CN205084563U (en) | Improvement device of spraying waste gas | |
| CN214715317U (en) | High-efficient purification adsorbs to wash deposits filtration cascade cabinet | |
| CN206483289U (en) | One kind paint catalytic converter | |
| CN116764425B (en) | High-strength waste gas purification spray tower and application method thereof | |
| CN211051150U (en) | Poisonous and harmful gaseous pollutants administers deep purification device | |
| CN103908859B (en) | Integrated efficient wet scrubber | |
| CN207085660U8 (en) | A kind of environment-friendly type equipment for treating industrial waste gas | |
| CN206381826U (en) | A kind of industrial fumes gas purifying equipment | |
| CN206570149U (en) | An easy-to-install industrial wastewater treatment device | |
| CN201120351Y (en) | Exhaust gas purifying device for spray painting workshop | |
| CN213101566U (en) | Purifier for industrial waste gas treatment | |
| CN214075745U (en) | A device for atomizing dust removal and purifying flue waste gas | |
| CN212236672U (en) | Waste gas purification device | |
| CN211913210U (en) | An environmentally friendly deodorizing device for organic fertilizer processing that can disassemble and clean the filter screen | |
| CN212188428U (en) | A vehicle lamp UV spraying exhaust gas filtering and purification device | |
| CN211384340U (en) | Exhaust gas treatment equipment for air conditioning panel spraying device | |
| CN209752466U (en) | Multistage exhaust-gas treatment clarification plant | |
| CN220478476U (en) | Waste gas purification environmental protection equipment | |
| CN211026838U (en) | Automatic spray room | |
| CN210021608U (en) | Spraying adsorption paint mist purification device |
Legal Events
| Date | Code | Title | Description |
|---|---|---|---|
| GR01 | Patent grant | ||
| GR01 | Patent grant | ||
| PE01 | Entry into force of the registration of the contract for pledge of patent right | ||
| PE01 | Entry into force of the registration of the contract for pledge of patent right |
Denomination of utility model: An efficient filtration environmental protection equipment for automatic spray line Granted publication date: 20220429 Pledgee: China Construction Bank Corporation Nanjing Jiangning sub branch Pledgor: Nanjing Jialong Auto Parts Co.,Ltd. Registration number: Y2025980044663 |
