CN216379758U - No negative pressure water supply equipment with high-efficient filtering capability - Google Patents

No negative pressure water supply equipment with high-efficient filtering capability Download PDF

Info

Publication number
CN216379758U
CN216379758U CN202122402142.9U CN202122402142U CN216379758U CN 216379758 U CN216379758 U CN 216379758U CN 202122402142 U CN202122402142 U CN 202122402142U CN 216379758 U CN216379758 U CN 216379758U
Authority
CN
China
Prior art keywords
water
water tank
fixed mounting
box
notch
Prior art date
Legal status (The legal status is an assumption and is not a legal conclusion. Google has not performed a legal analysis and makes no representation as to the accuracy of the status listed.)
Expired - Fee Related
Application number
CN202122402142.9U
Other languages
Chinese (zh)
Inventor
刘南珍
Current Assignee (The listed assignees may be inaccurate. Google has not performed a legal analysis and makes no representation or warranty as to the accuracy of the list.)
Shandong Liangdi Energy Saving Technology Co ltd
Original Assignee
Individual
Priority date (The priority date is an assumption and is not a legal conclusion. Google has not performed a legal analysis and makes no representation as to the accuracy of the date listed.)
Filing date
Publication date
Application filed by Individual filed Critical Individual
Priority to CN202122402142.9U priority Critical patent/CN216379758U/en
Application granted granted Critical
Publication of CN216379758U publication Critical patent/CN216379758U/en
Expired - Fee Related legal-status Critical Current
Anticipated expiration legal-status Critical

Links

Images

Landscapes

  • Filtration Of Liquid (AREA)

Abstract

本实用新型公开了一种具有高效过滤功能的无负压供水设备,包括水箱,所述水箱一侧底部固定安装有出水管,所述出水管一端固定安装有水泵,所述水箱顶端边部通过连接柱固定安装有进水管,所述水箱内部设置有过滤机构,所述过滤机构包括安装块、过滤盒、第一滤网、斜板、过滤箱、第二滤网和导水弯管在水通过进水管进入水箱内部落入过滤盒内部,通过第一滤网完成对水的第一次过滤,通过斜板使水落入过滤箱中,通过在过滤箱中固定安装的第二滤网,实现对水的第二次过滤,之后水通过导水弯管进入水箱底部,通过水泵输送入用户家中,通过对水的两次过滤,充分过滤了水中的杂质,提高了水的质量,提升了装置的过滤效果。

Figure 202122402142

The utility model discloses a non-negative pressure water supply equipment with high-efficiency filtering function, comprising a water tank, a water outlet pipe is fixedly installed at the bottom of one side of the water tank, a water pump is fixedly installed at one end of the water outlet pipe, and the top edge of the water tank passes through A water inlet pipe is fixedly installed on the connecting column, and a filter mechanism is arranged inside the water tank. It enters the water tank through the water inlet pipe and falls into the filter box, completes the first filtration of the water through the first filter screen, makes the water fall into the filter box through the inclined plate, and passes through the second filter screen fixedly installed in the filter box, The second filtration of the water is realized, and then the water enters the bottom of the water tank through the water guide pipe, and is transported into the user's home through the water pump. The filtering effect of the device.

Figure 202122402142

Description

No negative pressure water supply equipment with high-efficient filtering capability
Technical Field
The utility model relates to the technical field of water supply equipment, in particular to non-negative-pressure water supply equipment with a high-efficiency filtering function.
Background
The non-negative pressure water supply equipment is a pressurized water supply unit, is directly connected with a municipal water supply network, is connected with secondary pressurized water supply equipment for pressure-superposed water supply on the basis of the residual pressure of the municipal pipe network to ensure that the pressure of the municipal pipe network is not less than the set protection pressure, realizes safe, reliable, stable and water supply on the premise of ensuring that the water consumption of nearby users is not influenced, and is also called as pipe network pressure-superposed water supply equipment;
however, when water is filtered, the non-negative pressure water supply equipment on the current market cannot fully filter the water, so that impurities in the water cannot be fully removed, the impurity content in the water is high, and the health of people is affected.
SUMMERY OF THE UTILITY MODEL
The utility model provides non-negative pressure water supply equipment with a high-efficiency filtering function, which can effectively solve the problem that the non-negative pressure water supply equipment in the current market cannot fully filter water when filtering the water, so that impurities in the water cannot be fully removed, the content of the impurities in the water is high, and the influence on the health of people is caused.
In order to achieve the purpose, the utility model provides the following technical scheme: a non-negative-pressure water supply device with a high-efficiency filtering function comprises a water tank, wherein a water outlet pipe is fixedly mounted at the bottom of one side of the water tank, a water pump is fixedly mounted at one end of the water outlet pipe, a water inlet pipe is fixedly mounted at the edge part of the top end of the water tank through a connecting column, a valve bolt is rotatably mounted at the bottom of the outer side of the water inlet pipe, and a filtering mechanism is arranged in the water tank;
the filtering mechanism comprises an installation block, a filtering box, a first filter screen, an inclined plate, a filtering box, a second filter screen and a water guide bent pipe;
the inside symmetry fixed mounting of water tank has the installation piece, two fixed mounting has the filter box between the installation piece, filter box bottom end fixed mounting has first filter screen, the inside fixed mounting of water tank has the swash plate, outside one side middle part fixed mounting of water tank has the rose box, the inside fixed mounting of rose box has the second filter screen, rose box bottom middle part fixed mounting has the water guide return bend.
Preferably, the mesh diameter of second filter screen is less than first filter screen mesh diameter, water guide return bend one end fixed mounting is in water tank one side, rose box and water tank one side correspond swash plate one end position department and have all seted up the square mouth, and the square mouth size equals.
Preferably, a cleaning mechanism is arranged inside the water tank;
the cleaning mechanism comprises a fixed frame, a motor, a rotating shaft, a cleaning bent plate, a first notch, a first baffle, a conveying box, a collecting box, a sliding chute, a scraper plate, a second notch and a second baffle;
the utility model discloses a filter box, including water tank, mount, motor, pivot, filter box, spout, scraper blade, rose box, filter box, fixed mounting has the mount on water tank top, mount bottom middle part fixed mounting has the motor, motor bottom fixed mounting has the pivot, pivot bottom fixed mounting has the clearance bent plate, the inside first notch of having seted up of filter box, the inside slidable mounting of first notch has first baffle, the filter box outside corresponds first notch position department fixed mounting and has the transport box, the outside opposite side of water tank corresponds transport box position department fixed mounting and has the collection box, the spout has been seted up at rose box top middle part, the inside slidable mounting of spout has the scraper blade, the second notch has been seted up to rose box one side, the inside slidable mounting of second notch has the second baffle.
Preferably, carry box other end fixed mounting in the inside one side of water tank, the opening has been seted up to the corresponding first baffle position department in water tank top, first baffle passes through opening slidable mounting inside first notch, first baffle and second baffle outside all are provided with the sealing rubber piece, and first baffle and second baffle all keep closely laminating through extrusion sealing rubber piece and first notch and second notch inboard, the input of motor and external power source's output electric connection, clearance bent plate bottom closely laminates with first filter screen top, the scraper blade bottom closely laminates with second filter screen top.
Preferably, the bottom end of the water inlet pipe is provided with a drainage mechanism;
the drainage mechanism comprises a water guide pipe, a mounting frame, a drainage fan, a partition plate and a drainage head;
the water drainage device is characterized in that a water guide pipe is fixedly mounted at the bottom end of the water inlet pipe, a mounting frame is fixedly mounted at the top of the inner side of the water guide pipe, a drainage fan is fixedly mounted in the middle of the bottom end of the mounting frame, partition plates are fixedly mounted in the water guide pipe in an evenly staggered mode, and a drainage head is fixedly mounted at the bottom end of the water guide pipe.
Preferably, the number of the partition plates is three, the position of the drainage head corresponds to that of the filter box, and a square water outlet groove is formed in the drainage head.
Compared with the prior art, the utility model has the beneficial effects that: the utility model has scientific and reasonable structure and safe and convenient use:
1. the water tank is fixed by the fixed mounting block inside the water tank, the first filter screen is fixed at the bottom end of the filter box, water enters the water tank through the water inlet pipe and falls into the filter box, the first filtration of the water is completed through the first filter screen, the water falls into the filter box through the inclined plate, the second filtration of the water is realized through the second filter screen fixedly mounted in the filter box, the water then enters the bottom of the water tank through the water guide bent pipe and is conveyed into a user home through the water pump, impurities in the water are fully filtered through twice filtration of the water, the quality of the water is improved, the health of people is guaranteed, and the filtering effect of the device is improved;
2. the cleaning mechanism is arranged, the fixing frame is fixedly installed at the top end of the water tank, the motor is fixed, the rotating shaft is driven to rotate through the rotation of the motor, the cleaning bent plate is driven to rotate through the rotation of the rotating shaft, so that impurities on the first filter screen are gradually turned into the first notch, the impurities enter the collecting box through the conveying box by opening the first baffle, the impurities on the surface of the second filter screen are scraped by the scraper by pulling the scraper, the second baffle is opened, the impurities are discharged through the second notch, the filter screen is prevented from being blocked by cleaning the filter screen, and the filtering effect of the filter screen is improved;
3. set up hydrophobic mechanism, through at inlet tube bottom fixed mounting aqueduct, it is fixed with the hydrophobic fan through at the inside fixed mounting bracket of aqueduct, when water gets into the aqueduct, fall on the hydrophobic fan, thereby it rotates to drive the hydrophobic fan, make water evenly fall down, later block rivers through the water deflector, reduce the velocity of flow of rivers, make water become curtain form and fall down through hydrophobic head, thereby make water evenly spill on first filter screen, be convenient for better impurity to the aquatic filters, improve equipment's filter effect.
Drawings
The accompanying drawings, which are included to provide a further understanding of the utility model and are incorporated in and constitute a part of this specification, illustrate embodiments of the utility model and together with the description serve to explain the principles of the utility model and not to limit the utility model.
In the drawings:
FIG. 1 is a schematic structural view of the present invention;
FIG. 2 is a schematic view of the filter mechanism of the present invention;
FIG. 3 is a schematic view of the cleaning mechanism of the present invention;
FIG. 4 is a schematic structural view of a hydrophobic mechanism of the present invention;
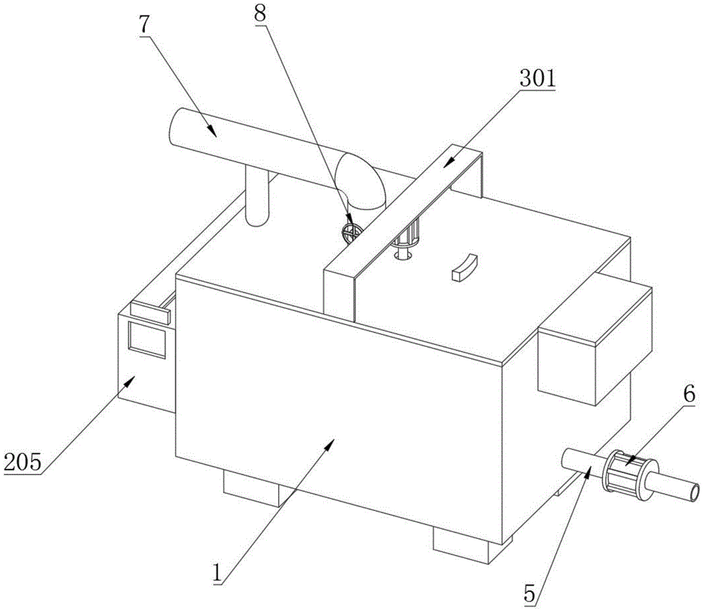
reference numbers in the figures: 1. a water tank;
2. a filtering mechanism; 201. mounting blocks; 202. a filter cartridge; 203. a first filter screen; 204. a sloping plate; 205. a filter box; 206. a second filter screen; 207. a water guide bent pipe;
3. a cleaning mechanism; 301. a fixed mount; 302. a motor; 303. a rotating shaft; 304. cleaning a bent plate; 305. a first notch; 306. a first baffle plate; 307. a transport box; 308. a collection box; 309. a chute; 310. a squeegee; 311. a second notch; 312. a second baffle;
4. a water draining mechanism; 401. a water conduit; 402. a mounting frame; 403. a water drainage fan; 404. a partition plate; 405. a hydrophobic head;
5. a water outlet pipe; 6. a water pump; 7. a water inlet pipe; 8. and (4) valve bolts.
Detailed Description
The preferred embodiments of the present invention will be described in conjunction with the accompanying drawings, and it will be understood that they are described herein for the purpose of illustration and explanation and not limitation.
Example (b): as shown in fig. 1-4, the utility model provides a non-negative pressure water supply device with high-efficiency filtering function, which comprises a water tank 1, wherein a water outlet pipe 5 is fixedly arranged at the bottom of one side of the water tank 1, a water pump 6 is fixedly arranged at one end of the water outlet pipe 5, a water inlet pipe 7 is fixedly arranged at the edge part of the top end of the water tank 1 through a connecting column, a valve bolt 8 is rotatably arranged at the bottom of the outer side of the water inlet pipe 7, and a filtering mechanism 2 is arranged in the water tank 1 in order to fully filter water;
the filter mechanism 2 comprises a mounting block 201, a filter box 202, a first filter screen 203, a sloping plate 204, a filter box 205, a second filter screen 206 and a water guide bent pipe 207;
the inside symmetry fixed mounting of water tank 1 has installation piece 201, fixed mounting has filter box 202 between two installation pieces 201, filter box 202 bottom fixed mounting has first filter screen 203, first filter screen 203 is the stainless steel filter screen, the inside fixed mounting of water tank 1 has swash plate 204, water tank 1 outside one side middle part fixed mounting has rose box 205, the inside fixed mounting of rose box 205 has second filter screen 206, second filter screen 206 is the nylon filter screen, rose box 205 bottom middle part fixed mounting has water guide return bend 207.
The mesh diameter of second filter screen 206 is less than first filter screen 203 mesh diameter, and water guide return bend 207 one end fixed mounting has all seted up the square opening in water tank 1 one side, and the filter box 205 corresponds swash plate 204 one end position department with water tank 1 one side, and the square opening size equals.
In order to clean the filter screen and prevent the filter screen from being blocked, a cleaning mechanism 3 is arranged inside the water tank 1;
the cleaning mechanism 3 comprises a fixed frame 301, a motor 302, a rotating shaft 303, a cleaning bent plate 304, a first notch 305, a first baffle 306, a conveying box 307, a collecting box 308, a sliding groove 309, a scraping plate 310, a second notch 311 and a second baffle 312;
1 top fixed mounting of water tank has mount 301, mount 301 bottom middle part fixed mounting has motor 302, motor 302 bottom fixed mounting has pivot 303, pivot 303 bottom fixed mounting has clearance bent plate 304, filter cartridge 202 is inside to have seted up first notch 305, the inside slidable mounting of first notch 305 has first baffle 306, the filter cartridge 202 outside corresponds first notch 305 position department fixed mounting and carries box 307, the outside opposite side of water tank 1 corresponds and carries box 307 position department fixed mounting and collect box 308, spout 309 has been seted up at filter box 205 top middle part, the inside slidable mounting of spout 309 has scraper blade 310, second notch 311 has been seted up to filter box 205 one side, the inside slidable mounting of second notch 311 has second baffle 312.
Carry box 307 other end fixed mounting in the inside one side of water tank 1, the opening has been seted up to the corresponding first baffle 306 position department in water tank 1 top, first baffle 306 passes through opening slidable mounting inside first notch 305, first baffle 306 and second baffle 312 outside all are provided with the sealing rubber piece, and first baffle 306 and second baffle 312 all keep closely laminating through extrusion sealing rubber piece and first notch 305 and second notch 311 inboard, the input of motor 302 and external power source's output electric connection, clearance bent plate 304 bottom closely laminates with first filter screen 203 top, scraper blade 310 bottom closely laminates with second filter screen 206 top.
In order to uniformly disperse water and improve the filtering effect on the water, the bottom end of the water inlet pipe 7 is provided with a drainage mechanism 4;
the water drainage mechanism 4 comprises a water guide pipe 401, a mounting frame 402, a water drainage fan 403, a partition plate 404 and a water drainage head 405;
the bottom end of the water inlet pipe 7 is fixedly provided with a water guide pipe 401, the top of the inner side of the water guide pipe 401 is fixedly provided with a mounting frame 402, the middle of the bottom end of the mounting frame 402 is fixedly provided with a water drainage fan 403, the water guide pipe 401 is internally and uniformly staggered and fixedly provided with a partition plate 404, and the bottom end of the water guide pipe 401 is fixedly provided with a water drainage head 405.
The number of the partition plates 404 is three, the flow rate of water is reduced, the position of the water drainage head 405 corresponds to that of the filter cartridge 202, and a square water outlet groove is formed in the water drainage head 405.
The working principle and the using process of the utility model are as follows: in the practical application process of the utility model, water flow enters the water guide pipe 401 through the water inlet pipe 7, the water drainage fan 403 is fixed by fixedly installing the installation frame 402 in the water guide pipe 401, when water enters the water guide pipe 401, the water drainage fan 403 is driven to rotate, so that the water uniformly falls down, the water flow is blocked by the separation plate 404 fixedly installed in the water guide pipe 401, so that the flow velocity of the water flow is reduced, the impact on the first filter screen 203 caused by the over-high flow velocity of the water flow is prevented, the filtering effect is reduced, and the water flow falls into the filter box 202 in a curtain shape through the water drainage head 405, so that the filtering effect on the water flow is improved;
after water flow enters the filter box 202, the water flow is filtered for the first time through the first filter screen 203, then falls onto the inclined plate 204 in the water tank 1, the water flows into the filter box 205 on one side of the water tank 1 through the gravity of the water, the water is filtered for the second time through the second filter screen 206 in the filter box 205, then falls into the bottom of the filter box 205, the water enters the bottom of the water tank 1 through the water guide bent pipe 207, the water is conveyed into a user home from the bottom of the water tank 1 through the operation of the water pump 6 on one side of the water tank 1, and the filtering effect of the device is improved through the twice filtration of the water;
when the filter screen needs to be cleaned, the water inlet pipe 7 is closed by the rotary valve bolt 8, water stops entering the water tank 1, when the first filter screen 203 is cleaned, the first baffle 306 is taken out, the first notch 305 is opened, the motor 302 is opened, the rotary shaft 303 is driven to rotate through the rotation of the motor 302, so that the cleaning bent plate 304 is driven to rotate, impurities on the surface of the first filter screen 203 are cleaned through the rotation of the cleaning bent plate 304, the impurities gradually enter the first notch 305, the impurities enter the collecting box 308 through the conveying box 307, when the second filter screen 206 is cleaned, the second baffle 312 is taken out, the second notch 311 is opened, the scraper blade 310 is moved, the impurities on the surface of the second filter screen 206 are scraped, and then the impurities are removed through the second notch 311, and the cleaning of the filter screen is completed.
Finally, it should be noted that: although the present invention has been described in detail with reference to the foregoing embodiments, it will be apparent to those skilled in the art that changes may be made in the embodiments and/or equivalents thereof without departing from the spirit and scope of the utility model. Any modification, equivalent replacement, or improvement made within the spirit and principle of the present invention should be included in the protection scope of the present invention.

Claims (6)

1. The utility model provides a no negative pressure water supply equipment with high-efficient filtering capability, includes water tank (1), water tank (1) one side bottom fixed mounting has outlet pipe (5), outlet pipe (5) one end fixed mounting has water pump (6), water tank (1) top limit portion has inlet tube (7) through spliced pole fixed mounting, inlet tube (7) outside bottom is rotated and is installed valve cock (8), its characterized in that: a filtering mechanism (2) is arranged in the water tank (1);
the filtering mechanism (2) comprises a mounting block (201), a filtering box (202), a first filter screen (203), an inclined plate (204), a filtering box (205), a second filter screen (206) and a water guide bent pipe (207);
the inside symmetry fixed mounting of water tank (1) has installation piece (201), two fixed mounting has filter box (202) between installation piece (201), filter box (202) bottom fixed mounting has first filter screen (203), the inside fixed mounting of water tank (1) has swash plate (204), water tank (1) outside one side middle part fixed mounting has rose box (205), the inside fixed mounting of rose box (205) has second filter screen (206), rose box (205) bottom middle part fixed mounting has water guide return bend (207).
2. The non-negative pressure water supply equipment with the high-efficiency filtering function according to claim 1, wherein the diameter of the mesh of the second filter screen (206) is smaller than that of the mesh of the first filter screen (203), one end of the water guide bent pipe (207) is fixedly installed on one side of the water tank (1), and square openings are formed in positions corresponding to one end of the inclined plate (204) on one side of the filter tank (205) and one side of the water tank (1) and are equal in size.
3. The non-negative pressure water supply equipment with high efficiency filtering function according to claim 1 is characterized in that a cleaning mechanism (3) is arranged inside the water tank (1);
the cleaning mechanism (3) comprises a fixed frame (301), a motor (302), a rotating shaft (303), a cleaning bent plate (304), a first notch (305), a first baffle (306), a conveying box (307), a collecting box (308), a sliding chute (309), a scraping plate (310), a second notch (311) and a second baffle (312);
the water tank is characterized in that a fixed frame (301) is fixedly mounted at the top end of the water tank (1), a motor (302) is fixedly mounted in the middle of the bottom end of the fixed frame (301), a rotating shaft (303) is fixedly mounted at the bottom end of the motor (302), a cleaning bent plate (304) is fixedly mounted at the bottom end of the rotating shaft (303), a first notch (305) is formed in the filter box (202), a first baffle (306) is slidably mounted in the first notch (305), a conveying box (307) is fixedly mounted at the position corresponding to the first notch (305) at the outer side of the filter box (202), a collecting box (308) is fixedly mounted at the position corresponding to the conveying box (307) at the other side of the outer portion of the water tank (1), a sliding groove (309) is formed in the middle of the top end of the filter box (205), a scraper (310) is slidably mounted in the sliding groove (309), and a second notch (311) is formed in one side of the filter box (205), and a second baffle plate (312) is arranged in the second notch (311) in a sliding way.
4. The non-negative pressure water supply equipment with high efficiency filtering function according to claim 3, it is characterized in that the other end of the conveying box (307) is fixedly arranged at one side inside the water tank (1), an opening is arranged at the position of the top of the water tank (1) corresponding to the first baffle (306), the first baffle (306) is slidably mounted inside the first notch (305) through an opening, sealing rubber sheets are arranged on the outer sides of the first baffle plate (306) and the second baffle plate (312), and the first baffle (306) and the second baffle (312) are tightly attached to the inner sides of the first notch (305) and the second notch (311) through pressing the sealing rubber sheet, the input end of the motor (302) is electrically connected with the output end of an external power supply, the bottom of the cleaning bent plate (304) is tightly attached to the top of the first filter screen (203), the bottom of the scraper (310) is tightly attached to the top of the second filter screen (206).
5. The non-negative pressure water supply equipment with the high-efficiency filtering function is characterized in that the bottom end of the water inlet pipe (7) is provided with a water draining mechanism (4);
the water drainage mechanism (4) comprises a water guide pipe (401), a mounting frame (402), a water drainage fan (403), a partition plate (404) and a water drainage head (405);
inlet tube (7) bottom fixed mounting has aqueduct (401), aqueduct (401) inboard top fixed mounting has mounting bracket (402), mounting bracket (402) bottom middle part fixed mounting has hydrophobic fan (403), the inside even dislocation fixed mounting of aqueduct (401) has division board (404), aqueduct (401) bottom fixed mounting has hydrophobic head (405).
6. The non-negative-pressure water supply equipment with the high-efficiency filtering function is characterized in that the number of the partition plates (404) is three, the position of the water drainage head (405) corresponds to that of the filter box (202), and a square water outlet groove is formed in the water drainage head (405).
CN202122402142.9U 2021-10-07 2021-10-07 No negative pressure water supply equipment with high-efficient filtering capability Expired - Fee Related CN216379758U (en)

Priority Applications (1)

Application Number Priority Date Filing Date Title
CN202122402142.9U CN216379758U (en) 2021-10-07 2021-10-07 No negative pressure water supply equipment with high-efficient filtering capability

Applications Claiming Priority (1)

Application Number Priority Date Filing Date Title
CN202122402142.9U CN216379758U (en) 2021-10-07 2021-10-07 No negative pressure water supply equipment with high-efficient filtering capability

Publications (1)

Publication Number Publication Date
CN216379758U true CN216379758U (en) 2022-04-26

Family

ID=81244608

Family Applications (1)

Application Number Title Priority Date Filing Date
CN202122402142.9U Expired - Fee Related CN216379758U (en) 2021-10-07 2021-10-07 No negative pressure water supply equipment with high-efficient filtering capability

Country Status (1)

Country Link
CN (1) CN216379758U (en)

Similar Documents

Publication Publication Date Title
CN100553729C (en) Automatic sewage decontamination machine
CN112028360A (en) Recycling device for extracting and collecting grease for sewage treatment
CN212141620U (en) A secondary filtration and recovery device for waste water
CN210543584U (en) Primary filtering structure of horizontal water treatment equipment
CN218740472U (en) Automatic clear up water pollution of impurity and administer and use circulation clarification plant
CN113230895B (en) Ceramic membrane filtration remote real-time control system and method based on Internet of things
CN114215958B (en) Special valve equipment for liquid delivery
CN216379758U (en) No negative pressure water supply equipment with high-efficient filtering capability
CN118360996A (en) A municipal secondary water supply equipment
CN112681498B (en) Solid-liquid shunting type integrated sewage lifting pump station
CN115317973B (en) Medical wastewater disinfection treatment equipment capable of separating waste materials
CN214415717U (en) An efficient urban integrated sewage treatment equipment for smart water services
CN214829672U (en) A water treatment filter device
CN216195354U (en) Integration pump station water inlet anti-clogging device
CN215855444U (en) Rely on heavy formula domestic sewage classification device
CN215388700U (en) Waste water and waste gas treatment device
CN212864425U (en) Domestic sewage disinfection and sterilization device
CN212894143U (en) Efficient sewage treatment device for separating mud from water
CN215538821U (en) Waste water treatment equipment in crystal production process
CN215387812U (en) Automatic filtering device for zero discharge of wastewater
CN221579886U (en) Multistage sewage treatment device
CN222900473U (en) Filter for wastewater treatment
CN221701325U (en) A multi-stage water purification device
CN218589819U (en) Energy-saving sewage filtration treatment device
CN214050755U (en) Pressure relief type secondary water tank

Legal Events

Date Code Title Description
GR01 Patent grant
GR01 Patent grant
TR01 Transfer of patent right
TR01 Transfer of patent right

Effective date of registration: 20220701

Address after: 250300 middle section of Industrial Road, Shuilongwang Industrial Park, Zhangxia Town, Changqing District, Jinan City, Shandong Province

Patentee after: SHANDONG LIANGDI ENERGY SAVING TECHNOLOGY Co.,Ltd.

Address before: 510000 No. 67, dawuo village, mountain village, Liwan District, Guangzhou City, Guangdong Province

Patentee before: Liu Nanzhen

CF01 Termination of patent right due to non-payment of annual fee
CF01 Termination of patent right due to non-payment of annual fee

Granted publication date: 20220426