CN215889310U - Connecting component and platform for mounting and constructing ceiling decorative plate - Google Patents

Connecting component and platform for mounting and constructing ceiling decorative plate Download PDF

Info

Publication number
CN215889310U
CN215889310U CN202121459541.2U CN202121459541U CN215889310U CN 215889310 U CN215889310 U CN 215889310U CN 202121459541 U CN202121459541 U CN 202121459541U CN 215889310 U CN215889310 U CN 215889310U
Authority
CN
China
Prior art keywords
rod
support arm
fixed
construction
long
Prior art date
Legal status (The legal status is an assumption and is not a legal conclusion. Google has not performed a legal analysis and makes no representation as to the accuracy of the status listed.)
Expired - Fee Related
Application number
CN202121459541.2U
Other languages
Chinese (zh)
Inventor
杨振
程士通
李�杰
徐晓飞
贾斌
赵现在
Current Assignee (The listed assignees may be inaccurate. Google has not performed a legal analysis and makes no representation or warranty as to the accuracy of the list.)
Construction Decoration Corp of China Construction Seventh Engineering Division Corp Ltd
Original Assignee
Construction Decoration Corp of China Construction Seventh Engineering Division Corp Ltd
Priority date (The priority date is an assumption and is not a legal conclusion. Google has not performed a legal analysis and makes no representation as to the accuracy of the date listed.)
Filing date
Publication date
Application filed by Construction Decoration Corp of China Construction Seventh Engineering Division Corp Ltd filed Critical Construction Decoration Corp of China Construction Seventh Engineering Division Corp Ltd
Priority to CN202121459541.2U priority Critical patent/CN215889310U/en
Application granted granted Critical
Publication of CN215889310U publication Critical patent/CN215889310U/en
Expired - Fee Related legal-status Critical Current
Anticipated expiration legal-status Critical

Links

Images

Landscapes

  • Movable Scaffolding (AREA)

Abstract

本实用新型属于建筑装饰造型技术领域,具体涉及一种用于吊顶装饰板安装施工的连接构件和平台,所述连接构件包括平行设置的长立杆和短立杆,两根立杆中间连接一根短横杆,短立杆下端固定一根长横杆,长横杆一端与长立杆固定,中部与短立杆固定,长立杆下端与长横杆之间连接一根斜撑杆一。所述平台包括两组支架,每组支架均包括所述的连接构件、设置在屋面的前支臂以及后支臂、固定在前支臂以及后支臂上的吊篮大梁,吊篮大梁还与连接构件固定,后支臂上设置配重块,两组连接构件的长横杆上通过悬挂绳连接吊篮。本实用新型平台不仅可以实现建筑立面的施工,吊顶位置也可以施工,结构稳定,应用范围扩大。

Figure 202121459541

The utility model belongs to the technical field of architectural decoration modeling, in particular to a connecting member and a platform for installation and construction of a ceiling decorative panel. Short crossbar, a long crossbar is fixed at the lower end of the short vertical rod, one end of the long crossbar is fixed with the long vertical rod, the middle part is fixed with the short vertical rod, and a diagonal strut is connected between the lower end of the long vertical rod and the long horizontal rod. The platform includes two sets of supports, each set of supports includes the connecting member, the front support arm and the rear support arm arranged on the roof, and the hanging basket girder fixed on the front support arm and the rear support arm, and the hanging basket girder is also It is fixed with the connecting member, a counterweight is arranged on the rear support arm, and the long horizontal bars of the two sets of connecting members are connected to the hanging basket through a suspension rope. The platform of the utility model can realize not only the construction of the building facade, but also the construction of the suspended ceiling position, the structure is stable, and the application range is expanded.

Figure 202121459541

Description

Connecting component and platform for mounting and constructing ceiling decorative plate
Technical Field
The utility model belongs to the technical field of architectural decoration modeling, and particularly relates to a connecting component and a platform for mounting and constructing a ceiling decorative plate.
Background
At present, the architectural design and modeling are diversified, the decoration ceiling engineering is an important component in the architectural decoration field, a common scaffold erecting platform cannot meet the on-site efficient construction rhythm, the conventional hanging basket platform can only be used for constructing the building vertical face, and the ceiling position cannot be constructed.
Chinese utility model patent with publication number CN209568688U discloses a lifting construction platform, which comprises at least two side-by-side hanging baskets which are lifted synchronously, and an operation platform which is used for workers to take and carry out construction is arranged between two adjacent hanging baskets. Wherein, because the operation platform level sets up, the stationarity is better, the workman can remove between operation platform and each hanging flower basket, portable space is big, can be under construction to the different positions of furred ceiling, construction range is wide, be applicable to the venue furred ceiling construction of large-span large space structure, furred ceiling construction work efficiency has been improved, avoided setting up full hall scaffold frame simultaneously and influenced the furred ceiling substructure construction, the time limit for a project has been shortened, and the utility model provides a lift construction platform simple structure, utilize current hanging flower basket to splice the combination, it is convenient to dismantle, low in production cost. However, the lifting construction platform is not beneficial to the construction of the building facade, and has a heavy self-weight and a complex structure.
SUMMERY OF THE UTILITY MODEL
In order to overcome the defects, the utility model aims to provide a connecting component and a platform for mounting and constructing a ceiling decorative plate, and solve the problem that the architectural decoration modeling ceiling cannot be constructed.
In order to achieve the purpose, the utility model adopts the following technical scheme:
the utility model provides a connecting elements for furred ceiling decorative board installation and construction, includes parallel arrangement's long pole setting and short pole setting, a short horizontal pole of two pole settings intermediate connections, a fixed long horizontal pole of short pole setting lower extreme, long horizontal pole one end is fixed with long pole setting, and the middle part is fixed with short pole setting, is connected a diagonal brace one between long pole setting lower extreme and the long horizontal pole.
Preferably, a plurality of second inclined supporting rods are further arranged between the long vertical rod and the short vertical rod.
Preferably, two diagonal braces are arranged, one diagonal brace is connected between the junction of the short cross bar and the short vertical bar and the top end of the long vertical bar, and the other diagonal brace is connected between the junction of the short cross bar and the short vertical bar and between the junction of the long vertical bar and the long cross bar.
The utility model provides a platform for furred ceiling decorative board installation and construction, includes two sets of supports, every group support all includes foretell connecting element, sets up preceding support arm and the back support arm at the roofing, fixes the hanging flower basket girder on preceding support arm and back support arm, and the hanging flower basket girder still is fixed with connecting element, sets up the balancing weight on the back support arm, connects the hanging flower basket through the suspension rope on two sets of connecting element's the long horizontal pole.
Preferably, the front support arm comprises a triangular support, a connecting rod fixed at the top of the triangular support, an inserting rod fixed with the connecting rod and a first extending rod fixed with the inserting rod, and the top of the inserting rod penetrates through the crossbeam.
Preferably, the back support arm includes T type support, sets up a plurality of stands on the horizon bar of T type support and the extension rod two fixed with the vertical pole of T type support, and the stand is symmetrical about the vertical pole of T type support, set up the through-hole that matches with the stand on the balancing weight, the stand runs through the through-hole, the extension rod two of T type support is fixed with the hanging flower basket girder.
Preferably, a plurality of steel wire ropes are arranged at the top of the extension rod and two ends of the basket girder.
Preferably, four steel wire ropes are arranged, and two steel wire ropes are respectively connected with the top of the extension rod at one end of the hanging basket girder close to the connecting member and one end of the hanging basket girder close to the rear support arm.
Preferably, backing plates are further arranged between the front support arm and the roof and between the rear support arm and the roof.
Preferably, the connecting member, the hanging basket girder, the front support arm and the rear support arm are made of square pipes made of hot-dip galvanized steel.
The utility model has the following positive beneficial effects:
1. the connecting component for mounting and constructing the ceiling decorative plate is stable in support, a platform formed by the connecting component, the hanging basket girder, the front support arm and the rear support arm can realize construction of a building vertical surface and construction of a ceiling position, the problem that a mounting modeling ceiling decorative plate (such as a ceiling aluminum plate) is difficult to mount is solved, the working efficiency is improved, manpower and material resources are saved, the structure is simple, the connecting component can be manufactured by adopting common square steel, the manufacturing cost is low, and the application range is expanded.
Drawings
Fig. 1 is a schematic structural view of a connecting member for installation construction of a ceiling decorative panel according to the present invention;
FIG. 2 is a front view of the platform for installation of a ceiling tile according to the present invention;
FIG. 3 is a side view of the platform for ceiling tile installation according to the present invention;
FIG. 4 is a schematic view of a front support arm configuration;
FIG. 5 is a schematic view of a rear arm structure;
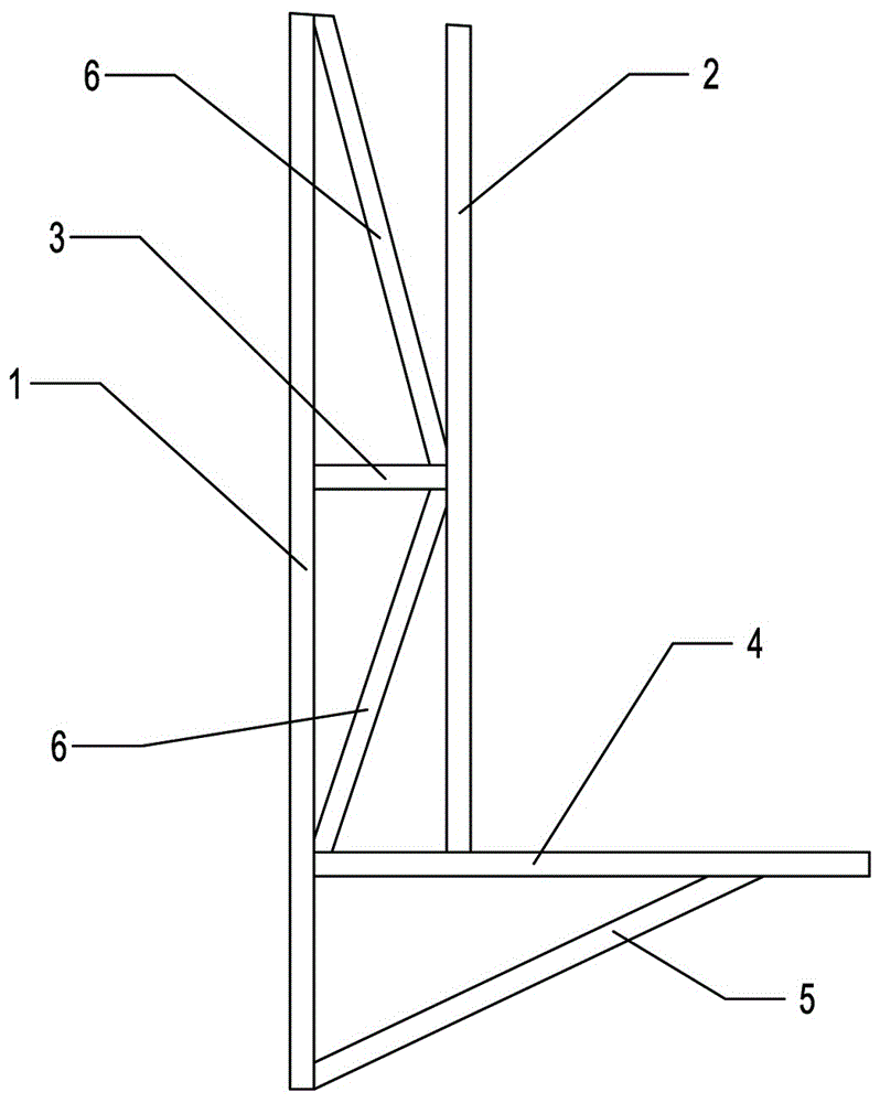
in the figure: 1-long vertical rod, 2-short vertical rod, 3-short transverse rod, 4-long transverse rod, 5-diagonal rod I, 6-diagonal rod II, 7-front support arm, 71-triangular support, 72-connecting rod, 73-inserted rod, 74-extension rod I, 75-sleeve, 76-U-shaped clamping seat, 8-rear support arm, 81-T-shaped support, 82-upright column, 83-extension rod II, 9-hanging basket, 10-hanging rope, 11-hanging basket girder, 12-balancing weight, 13-steel wire rope, 14-backing plate and 15-wall to be constructed.
Detailed Description
The utility model will be further illustrated with reference to some specific examples.
Example 1
Referring to fig. 1, a connecting member for installation and construction of a ceiling decorative panel comprises a long vertical rod 1 and a short vertical rod 2 which are arranged in parallel, wherein a short cross rod 3 is fixedly connected between the two vertical rods, a long cross rod 4 is fixedly arranged at the lower end of the short vertical rod 2, one end of the long cross rod 4 is fixedly connected with the long vertical rod 1, the middle part of the long cross rod is fixedly connected with the short vertical rod 2, and a diagonal brace 5 is connected between the lower end of the long vertical rod 1 and the long cross rod 4.
Furthermore, two diagonal braces II 6 are further arranged between the long vertical rod 1 and the short vertical rod 2, one diagonal brace II 6 is connected between the intersection point of the short transverse rod 3 and the short vertical rod 2 and the top end of the long vertical rod 1, and the other diagonal brace II 6 is connected between the intersection point of the short transverse rod 3 and the short vertical rod 2 and the intersection point of the long vertical rod 1 and the long transverse rod 4.
Referring to fig. 2 and 3, a platform for furred ceiling decorative board installation and construction, including two sets of supports, every group support all includes foretell connecting element, place preceding support arm 7 and the back support arm 8 at the roofing, fix hanging flower basket girder 11 on preceding support arm 7 and back support arm 8, hanging flower basket girder 11 is still fixed with connecting element, set up balancing weight 12 on the back support arm 8, every piece of weight 25Kg of balancing weight 12 sets up a plurality of as required, connect hanging flower basket 9 through suspension rope 10 on two sets of connecting element's the long horizontal pole 4.
Further, a backing plate 14, such as a wood plate, is arranged between the front support arm 7 and the rear support arm 8 and the roof to protect the roof from water and heat.
Further, referring to fig. 4, the front support arm 7 includes a triangular support 71, a connecting rod 72 fixed at the top of the triangular support, an inserting rod 73 fixed with the connecting rod 72, and a first extending rod 74 fixed with the inserting rod 73, a sleeve 75 is disposed at the top of the inserting rod 73, the basket girder 11 is fixed in the sleeve 75 in a penetrating manner, a U-shaped clamp 76 is disposed at the lower end of the first extending rod 74, the U-shaped clamp 76 is fixed outside the sleeve 75 in a clamping manner, wherein the connecting rod 72 and the inserting rod 73, the sleeve 75 and the basket girder 11, and the U-shaped clamp 76 and the sleeve 75 are fixed by bolts.
Further, referring to fig. 5, the rear arm 8 includes a T-shaped support 81, a plurality of vertical posts 82 disposed on a horizontal rod of the T-shaped support 81, and a second extension rod 83 fixed to a vertical rod of the T-shaped support 81, the vertical posts 82 are symmetrical with respect to the vertical rod of the T-shaped support 81, a through hole matched with the vertical posts 82 is formed in the counterweight block 12, the vertical posts 82 penetrate through the through hole, and the second extension rod 83 of the T-shaped support 81 is fixed to the basket girder 11.
Further, the height on 1 top of long pole setting is higher than the height on 2 tops of short pole setting, and connecting elements height is higher than the height of inserted bar 73, and inserted bar 73 height is higher than 8 heights of back corbel pieces, makes things convenient for the fixed one end of hanging flower basket girder and connecting elements of platform high like this, and is low with the fixed one end of back corbel piece, and cooperation balancing weight 12 makes the hanging flower basket hang steadily.
Furthermore, four steel wire ropes 13 are arranged at the top of the extension rod I74 and two ends of the basket girder 11, one end of the basket girder 11 close to the connecting member and one end of the basket girder 11 close to the rear support arm 8 are respectively connected with two steel wire ropes at the top of the inserted rod 7.
Furthermore, the connecting member, the hanging basket girder 11, the front support arm 7 and the rear support arm 8 are made of hot-galvanized steel square pipes, the connecting member is formed by welding and fixing the hot-galvanized steel square pipes, the front support arm triangular support 71 is formed by welding and fixing, the triangular support 71 and the inserted link 72 are fixedly inserted and connected through bolts, the horizontal rod and the vertical rod of the rear support arm T-shaped support 81 are fixedly welded, and the extension link II 83 and the vertical rod of the T-shaped support 81 are fixedly inserted and connected through bolts; the hanging basket girder, the front support arm, the rear support arm and the connecting component are fixed through sleeves and bolts.
The utility model discloses a mounting method of a platform for mounting and constructing a ceiling decorative plate, which comprises the following steps: according to the height of the parapet, a front support arm 7 and a rear support arm 8 with proper height are manufactured, then the front support arm 7 and the rear support arm 8 are fixed with a hanging basket girder 11, a plurality of balancing weights 12 are symmetrically added on a stand 82 of the rear support arm 8, a connecting member is fixedly connected to one end of the hanging basket girder 11 back to the rear support arm 8, one group of support installation is completed, the other group of support installation is completed by the same method, then a hanging basket 9 is connected to a long cross rod 4 of the connecting member of the two groups of supports through a suspension rope, and platform installation is completed.
The utility model discloses a use method of a platform for mounting and constructing a ceiling decorative plate, which comprises the following steps: one person or at most two persons enter the hanging basket, an operator must wear a safety belt and a safety helmet, the safety belt is buckled on a life rope hung above a building through a lock catch, a hanging basket lifting button is pressed down, the hanging basket slowly rises, when the hanging basket operates up and down, a platform and a wall surface are kept at a distance of 10-20cm, the face of the operator faces the wall surface, the hanging basket is lifted to a hanging basket operation position through a connecting component, construction operation is carried out on a wall body 15 to be constructed, the hanging basket falls to the ground after the operation is finished, the hanging basket is stopped to be used, and a power switch in a control box is turned off.
Finally, the above embodiments are only used for illustrating the technical solutions of the present invention and not for limiting, and other modifications or equivalent substitutions made by the technical solutions of the present invention by those of ordinary skill in the art should be covered within the scope of the claims of the present invention as long as they do not depart from the spirit and scope of the technical solutions of the present invention.

Claims (10)

1.一种用于吊顶装饰板安装施工的连接构件,其特征在于,包括平行设置的长立杆和短立杆,两根立杆中间连接一根短横杆,短立杆下端固定一根长横杆,长横杆一端与长立杆固定,中部与短立杆固定,长立杆下端与长横杆之间连接一根斜撑杆一。1. a connecting member for the installation and construction of ceiling decorative panels, it is characterized in that, comprise the long vertical pole and the short vertical pole that are arranged in parallel, connect a short horizontal bar in the middle of two vertical poles, and the lower end of the short vertical pole is fixed with a long vertical pole. Crossbar, one end of the long crossbar is fixed with the long vertical rod, the middle part is fixed with the short vertical rod, and a diagonal strut is connected between the lower end of the long vertical rod and the long horizontal rod. 2.根据权利要求1所述的用于吊顶装饰板安装施工的连接构件,其特征在于,所述长立杆和短立杆之间还设置若干斜撑杆二。2 . The connecting member for installation and construction of a ceiling decorative panel according to claim 1 , wherein a plurality of diagonal struts are further arranged between the long vertical pole and the short vertical pole. 3 . 3.根据权利要求2所述的用于吊顶装饰板安装施工的连接构件,其特征在于,所述斜撑杆二设置两根,所述短横杆与短立杆交接点、与长立杆顶端之间连接一根斜撑杆二,所述短横杆与短立杆交接点、长立杆与长横杆交接点之间连接另一根斜撑杆二。3 . The connecting member for the installation and construction of the ceiling decorative panel according to claim 2 , wherein two diagonal struts are provided, and the short cross bar and the short vertical bar are connected at the intersection point and the long vertical bar. 4 . A second diagonal strut is connected between the top ends, and another two diagonal struts are connected between the junction point of the short horizontal rod and the short vertical rod, and the junction point of the long vertical rod and the long horizontal rod. 4.一种用于吊顶装饰板安装施工的平台,其特征在于,包括两组支架,每组支架均包括权利要求1-3任一项所述的连接构件、设置在屋面的前支臂以及后支臂、固定在前支臂以及后支臂上的吊篮大梁,吊篮大梁还与连接构件固定,后支臂上设置配重块,两组连接构件的长横杆上通过悬挂绳连接吊篮。4. A platform for installation and construction of ceiling decorative panels, characterized in that it comprises two groups of brackets, and each group of brackets includes the connecting member described in any one of claims 1-3, a front support arm arranged on the roof, and The rear support arm, the hanging basket girder fixed on the front support arm and the rear support arm, the hanging basket girder is also fixed with the connecting member, the rear support arm is provided with a counterweight, and the long crossbars of the two sets of connecting members are connected by suspension ropes gondola. 5.根据权利要求4所述的用于吊顶装饰板安装施工的平台,其特征在于,所述前支臂包括三角形支座、固定在三角形支座顶部的连接杆、与连接杆固定的插杆和与插杆固定的延伸杆一,所述插杆顶部贯穿大梁。5 . The platform for installation and construction of ceiling decorative panels according to claim 4 , wherein the front support arm comprises a triangular support, a connecting rod fixed on the top of the triangle support, and an insertion rod fixed with the connecting rod. 6 . And the extension rod fixed with the plunger, the top of the plunger penetrates the girder. 6.根据权利要求5所述的用于吊顶装饰板安装施工的平台,其特征在于,所述后支臂包括T型支座、设置在T型支座的水平杆上的若干立柱和与T型支座的竖向杆固定的延伸杆二,立柱关于T型支座的竖向杆对称,所述配重块上开设与立柱匹配的通孔,立柱贯穿通孔,所述T型支座的延伸杆二与吊篮大梁固定。6 . The platform for installation and construction of ceiling decorative panels according to claim 5 , wherein the rear support arm comprises a T-shaped support, several uprights arranged on the horizontal rod of the T-shaped support, and a T-shaped support. 7 . The second extension rod fixed by the vertical rod of the type support, the column is symmetrical with respect to the vertical rod of the T-type support, the counterweight is provided with a through hole matching the column, the column passes through the through hole, the T-type support The second extension rod is fixed with the girder of the hanging basket. 7.根据权利要求6所述的用于吊顶装饰板安装施工的平台,其特征在于,所述插杆顶部与吊篮大梁两端设置若干钢丝绳。7 . The platform for installation and construction of ceiling decorative panels according to claim 6 , wherein a plurality of steel wire ropes are arranged on the top of the insertion rod and both ends of the hanging basket girder. 8 . 8.根据权利要求7所述的用于吊顶装饰板安装施工的平台,其特征在于,所述钢丝绳设置四条,吊篮大梁靠近连接构件一端、吊篮大梁靠近后支臂一端分别与插杆顶部连接两条钢丝绳。8. The platform for the installation and construction of ceiling decorative panels according to claim 7, characterized in that, four wire ropes are provided, one end of the girder of the gondola is close to the connecting member, and one end of the girder of the gondola close to the rear arm is respectively connected to the top of the insertion rod. Connect the two wire ropes. 9.根据权利要求4所述的用于吊顶装饰板安装施工的平台,其特征在于,所述前支臂、后支臂与屋面之间还设置垫板。9 . The platform for installation and construction of ceiling decorative panels according to claim 4 , wherein a backing plate is further arranged between the front support arm, the rear support arm and the roof. 10 . 10.根据权利要求4所述的用于吊顶装饰板安装施工的平台,其特征在于,所述连接构件、吊篮大梁、前支臂、后支臂采用热镀锌钢方管制作而成。10 . The platform for installation and construction of ceiling decorative panels according to claim 4 , wherein the connecting member, the hanging basket girder, the front support arm and the rear support arm are made of hot-dip galvanized steel square pipes. 11 .
CN202121459541.2U 2021-06-29 2021-06-29 Connecting component and platform for mounting and constructing ceiling decorative plate Expired - Fee Related CN215889310U (en)

Priority Applications (1)

Application Number Priority Date Filing Date Title
CN202121459541.2U CN215889310U (en) 2021-06-29 2021-06-29 Connecting component and platform for mounting and constructing ceiling decorative plate

Applications Claiming Priority (1)

Application Number Priority Date Filing Date Title
CN202121459541.2U CN215889310U (en) 2021-06-29 2021-06-29 Connecting component and platform for mounting and constructing ceiling decorative plate

Publications (1)

Publication Number Publication Date
CN215889310U true CN215889310U (en) 2022-02-22

Family

ID=80500850

Family Applications (1)

Application Number Title Priority Date Filing Date
CN202121459541.2U Expired - Fee Related CN215889310U (en) 2021-06-29 2021-06-29 Connecting component and platform for mounting and constructing ceiling decorative plate

Country Status (1)

Country Link
CN (1) CN215889310U (en)

Similar Documents

Publication Publication Date Title
CN215803108U (en) Attached beam type hanging basket
CN212926981U (en) I-steel support of encorbelmenting bears hanging flower basket device
CN213329955U (en) Flower basket diagonal rod type overhanging scaffold
CN206844431U (en) A kind of curtain wall construction support
CN113550550A (en) Overhanging unit type scaffold convenient to assemble and disassemble
CN215889310U (en) Connecting component and platform for mounting and constructing ceiling decorative plate
CN111335615A (en) Large-span net rack eaves mouth suspension type automatic movement construction platform
CN111350359B (en) A method and diamond device for overall lifting of large-span structures
CN213477332U (en) Curtain wall framework mounting structure
CN209874526U (en) Integral lifting type hoistway steel platform protection device
CN215564746U (en) Assembled steel structure ladder cage
CN218988724U (en) Integrated mounting platform for purlines of roof of large-scale steel structure factory building
CN114412192B (en) Interlayer complex special-shaped aluminum veneer curtain wall and construction method thereof
CN213509662U (en) A diamond-shaped device that can be used for the overall lifting of large-span structures
CN214942232U (en) Novel portable operation platform that encorbelments
CN216276814U (en) Building machine walkway plate connecting assembly
CN117027352A (en) Large-span high altitude vestibule curtain wall construction operation platform
CN212583196U (en) Floor drilling steel pipe fixed bolster bears hanging flower basket device
CN111997345B (en) Lifting scaffold hangs hoist system upside down
CN204081433U (en) Steel structural roof liner profiled sheet construction Special-purpose hanger basket support
CN108729644B (en) Suspension beam bracket and installation and use method thereof
CN114876176A (en) Adjustable long cantilever combined hanging basket and application thereof
CN107035037A (en) High building top layer curtain wall frame and its installation method
CN206844417U (en) A kind of high building top layer curtain wall frame
CN111910905A (en) A vertical main frame of a lifting operation safety protection platform for high-rise building construction

Legal Events

Date Code Title Description
GR01 Patent grant
GR01 Patent grant
CF01 Termination of patent right due to non-payment of annual fee
CF01 Termination of patent right due to non-payment of annual fee

Granted publication date: 20220222