CN215737989U - A multifunctional auxiliary bed - Google Patents

A multifunctional auxiliary bed Download PDF

Info

Publication number
CN215737989U
CN215737989U CN202121419082.5U CN202121419082U CN215737989U CN 215737989 U CN215737989 U CN 215737989U CN 202121419082 U CN202121419082 U CN 202121419082U CN 215737989 U CN215737989 U CN 215737989U
Authority
CN
China
Prior art keywords
bed
mounting plate
user
bed body
rotating
Prior art date
Legal status (The legal status is an assumption and is not a legal conclusion. Google has not performed a legal analysis and makes no representation as to the accuracy of the status listed.)
Expired - Fee Related
Application number
CN202121419082.5U
Other languages
Chinese (zh)
Inventor
路晓东
罗国笠
王一帆
谈一飞
桑小鹏
Current Assignee (The listed assignees may be inaccurate. Google has not performed a legal analysis and makes no representation or warranty as to the accuracy of the list.)
Xiamen University
Original Assignee
Xiamen University
Priority date (The priority date is an assumption and is not a legal conclusion. Google has not performed a legal analysis and makes no representation as to the accuracy of the date listed.)
Filing date
Publication date
Application filed by Xiamen University filed Critical Xiamen University
Priority to CN202121419082.5U priority Critical patent/CN215737989U/en
Application granted granted Critical
Publication of CN215737989U publication Critical patent/CN215737989U/en
Expired - Fee Related legal-status Critical Current
Anticipated expiration legal-status Critical

Links

Images

Landscapes

  • Invalid Beds And Related Equipment (AREA)

Abstract

本实用新型适用于家具设计制造技术领域,提供了一种多功能辅助床,包括支架、设置在支架上的安装板、设置在安装板中部的旋转机构以及设置在旋转机构上的床体,床体两端分别设有第一调节平台和第二调节平台,安装板一侧与支架铰接,支架上且位于安装板另一侧的下方设有与安装板底部连接的抬升机构。本实用新型通过第一调节平台调节使用者的坐卧状态,提高使用者的舒适性;使用者需要下床时,通过第一调节平台的抬升,使得使用者从卧姿改为坐姿,再通过旋转机构使得床体旋转90°后,使第二调节平台下降,并通过抬升机构使得床体倾斜,使用者下床;上床与下床动作相反,该辅助床方便了使用者上床、下床以及起卧的需求,减轻使用者和他人的负担。

Figure 202121419082

The utility model is suitable for the technical field of furniture design and manufacture, and provides a multifunctional auxiliary bed, which comprises a bracket, a mounting plate arranged on the bracket, a rotating mechanism arranged in the middle of the mounting plate, and a bed body arranged on the rotating mechanism. The two ends of the body are respectively provided with a first adjustment platform and a second adjustment platform, one side of the mounting plate is hinged with the bracket, and a lifting mechanism connected to the bottom of the mounting plate is arranged on the bracket and below the other side of the mounting plate. The utility model adjusts the sitting and lying state of the user through the first adjustment platform to improve the comfort of the user; when the user needs to get out of bed, the first adjustment platform is lifted to make the user change from a lying position to a sitting position, and then pass After the rotation mechanism rotates the bed body by 90°, the second adjustment platform is lowered, and the bed body is inclined by the lifting mechanism, and the user gets out of bed; The need to get up and down reduces the burden on users and others.

Figure 202121419082

Description

Multifunctional auxiliary bed
Technical Field
The utility model belongs to the technical field of furniture design and manufacture, and particularly relates to a multifunctional auxiliary bed.
Background
With the increasing aging in China and the progress of scientific and technological development and living standard, the old and the wounded are more and more widely concerned by society, the domestic demand on the multifunctional auxiliary bed is increasing, and the auxiliary bed designed and researched according to the body conditions of the old and the wounded is developed in a blowout mode. If the multifunctional auxiliary bed is used, the daily life of the old and the wounded can be greatly changed.
At present, many old people and wounded people are in a solitary state, and the old people and the wounded people have difficulty in getting on and off the bed independently due to the fact that the old people and the wounded people are in a big and uncomfortable state. In addition, some patients have difficulty in moving during the rehabilitation stage after treatment. Most of beds sold in the existing market and used by users basically play the role of beds for sleeping, have few other purposes and single function, and cannot meet the requirements of the old and the patients; for example, the conventional rotating hospital bed or lifting hospital bed only has the rotating or lifting function, and requires a large amount of manpower to help the patient to get on or off the bed and get up or down the bed.
SUMMERY OF THE UTILITY MODEL
The utility model provides a multifunctional auxiliary bed which can effectively solve the problems.
The utility model is realized by the following steps:
the utility model provides a multi-functional supplementary bed, is in including support, setting mounting panel, setting on the support are in the rotary mechanism and the setting at mounting panel middle part are in rotary mechanism is last the bed body, bed body both ends are equipped with first regulation platform and second respectively and adjust the platform, mounting panel one side with the support is articulated, just be located on the support the below of mounting panel opposite side be equipped with the lifting mechanism that the mounting panel bottom is connected.
As a further improvement, the rotating mechanism comprises a rotating motor fixedly arranged on the mounting plate, a first rotating shaft connected with the rotating motor, a first gear arranged on the first rotating shaft, a rotating base fixedly arranged on the mounting plate and positioned on one side of the rotating motor, a second rotating shaft rotatably connected with the rotating base, and a second gear arranged on the second rotating shaft and meshed with the first gear.
As a further improvement, the number of teeth of the second gear is 2 to 8 times the number of teeth of the first gear.
As a further improvement, the first adjusting platform comprises a first bed board hinged to one end of the bed body, a first mounting seat vertically arranged at one end of the bed body, a first driving motor arranged on the first mounting seat, and a first screw rod, one end of which is connected with the first driving motor, and the other end of which is connected with the first bed board.
As a further improvement, the second adjusting platform comprises a second bed board hinged to the other end of the bed body, a second mounting seat vertically arranged at the other end of the bed body, a second driving motor arranged on the second mounting seat, and a second lead screw, one end of the second lead screw is connected with the second driving motor, and the other end of the second lead screw is connected with the second bed board.
As a further improvement, the support comprises a frame, a plurality of groups of supporting legs are arranged at the bottom of the frame, and one side of the mounting plate is hinged with the top of the frame.
As a further improvement, a connecting rod is arranged between the two adjacent supporting legs and on the other side of the mounting plate, and the lifting mechanism is arranged on the connecting rod.
As a further improvement, the multifunctional auxiliary bed further comprises a control mechanism arranged on the support, and the rotating mechanism, the first adjusting platform, the second adjusting platform and the lifting mechanism are all electrically connected with the control mechanism.
The utility model has the beneficial effects that: the first adjusting platform arranged at one end of the bed body is used for adjusting the sitting and lying states of a user, so that the comfort of the user is improved; in addition, when a user needs to get off the bed, the user changes the prone position into the sitting position by lifting the first adjusting platform, then the bed body rotates by 90 degrees by the rotating mechanism arranged on the mounting plate, the second adjusting platform descends, and one side of the mounting plate is supported by the lifting mechanism, so that the bed body is inclined, and the user gets off the bed; the action of the user getting on the bed is just opposite to that of getting off the bed, and the auxiliary bed is convenient for the user to get on the bed, get off the bed and get up and down, and reduces the burden of the user and other people.
Drawings
In order to more clearly illustrate the technical solutions of the embodiments of the present invention, the drawings that are required to be used in the embodiments will be briefly described below, it should be understood that the following drawings only illustrate some embodiments of the present invention and therefore should not be considered as limiting the scope, and for those skilled in the art, other related drawings can be obtained according to the drawings without inventive efforts.
FIG. 1 is a schematic structural diagram of a multifunctional auxiliary bed provided by an embodiment of the utility model;
FIG. 2 is a schematic view of another visual structure of the multifunctional auxiliary bed provided by the embodiment of the utility model;
FIG. 3 is a front view of the multifunctional auxiliary bed provided by the embodiment of the present invention;
fig. 4 is a left side view of the multifunctional auxiliary bed provided by the embodiment of the utility model.
Reference numerals:
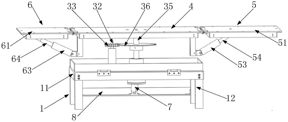
1-a scaffold; 2-mounting a plate; 3-a rotating mechanism; 4-bed body; 5-a first conditioning stage; 6-a second conditioning stage; 7-a lifting mechanism; 31-a rotating electrical machine; 32-a first shaft; 33-a first gear; 34-a rotating base; 35-a second rotating shaft; 36-a second gear; 51-a first bed deck; 52-first mount; 53-a first drive motor; 54-a first lead screw; 61-a second bed board; 62-a second mount; 63-a second drive motor; 64-a second lead screw; 11-a frame; 12-supporting feet; 8-connecting rod.
Detailed Description
In order to make the objects, technical solutions and advantages of the embodiments of the present invention more apparent, the technical solutions of the embodiments of the present invention will be described clearly and completely with reference to the accompanying drawings of the embodiments of the present invention, and it is obvious that the described embodiments are some, but not all embodiments of the present invention. All other embodiments, which can be obtained by a person skilled in the art without any inventive step based on the embodiments of the present invention, are within the scope of the present invention. Thus, the following detailed description of the embodiments of the present invention, presented in the figures, is not intended to limit the scope of the utility model, as claimed, but is merely representative of selected embodiments of the utility model. All other embodiments, which can be obtained by a person skilled in the art without any inventive step based on the embodiments of the present invention, are within the scope of the present invention.
In the description of the present invention, the terms "first" and "second" are used for descriptive purposes only and are not to be construed as indicating or implying relative importance or implying any number of technical features indicated. Thus, a feature defined as "first" or "second" may explicitly or implicitly include one or more of that feature. In the description of the present invention, "a plurality" means two or more unless specifically defined otherwise.
Referring to fig. 1-3, a multifunctional auxiliary bed, includes support 1, sets up mounting panel 2 on the support 1, set up and be in rotary mechanism 3 at mounting panel 2 middle part and setting are in rotary mechanism 3 is last bed body 4, 4 both ends of bed body are equipped with first regulation platform 5 and second regulation platform 6 respectively, mounting panel 2 one side with support 1 is articulated, just be located on support 1 the below of mounting panel 2 opposite side be equipped with the lifting mechanism 7 that mounting panel 2 bottom is connected.
When the specific implementation is carried out, when the sedentary or long-lying condition of a user needs to be changed, the lifting of the first adjusting platform 5 arranged at one end of the mounting plate 2 is adjusted; when the position of the leg of the user needs to be adjusted, the second adjusting platform 6 arranged at the other end of the mounting plate 2 is adjusted to lift; the structure is simple, and the operation is convenient. When a user who lies down needs to get off the bed, the user changes the lying posture into the sitting posture through the lifting of the first adjusting platform 5, then the bed body 4 rotates for 90 degrees through the rotating mechanism 3 arranged on the mounting plate 2, then the leg of the user descends through the descending of the second adjusting platform 6, and finally the lifting mechanism 7 supports one side of the mounting plate 2, so that the bed body 4 is inclined, and the user gets off the bed; when a user goes to bed and needs to go to bed, the multifunctional auxiliary bed is just opposite to the action of going to bed, the operation is simple, and the burden of the user, medical care personnel and family members is greatly reduced.
The sitting and lying states of a user are adjusted through the first adjusting platform 5 arranged at one end of the bed body 4, so that the comfort of the user is improved; in addition, when a user needs to get off the bed, the user changes the prone position into the sitting position by lifting the first adjusting platform 5, then the bed body 4 rotates by 90 degrees by the rotating mechanism 3 arranged on the mounting plate 2, the second adjusting platform 6 descends, and the lifting mechanism 7 supports one side of the mounting plate 2, so that the bed body 4 inclines, and the user gets off the bed; when a user gets on the bed, the action of the auxiliary bed is just opposite to that of getting off the bed, the auxiliary bed is convenient for the user to get on the bed, get off the bed and get up and down, and the burden of the user and other people is reduced.
Further, the rotating mechanism 3 includes a rotating motor 31 fixedly disposed on the mounting plate 2, a first rotating shaft 32 connected to the rotating motor 31, a first gear 33 disposed on the first rotating shaft 32, a rotating base 34 fixedly disposed on the mounting plate 2 and located on one side of the rotating motor 31, a second rotating shaft 35 rotatably connected to the rotating base 34, and a second gear 36 disposed on the second rotating shaft 35 and engaged with the first gear 33.
Further, the number of teeth of the second gear 36 is 2 to 8 times the number of teeth of the first gear 33.
During specific implementation, the rotating motor 31 arranged on the mounting plate 2 is started to drive the first rotating shaft 32 to rotate, so as to drive the first gear 33 on the first rotating shaft 32 to rotate, and further drive the second gear 36 to rotate, so that the second rotating shaft 35 on the rotating base 34 rotates to drive the bed body 4 to rotate, and the position of the bed body 4 is changed. The number of teeth of the first gear 33 is different from the number of teeth of the second gear 36, and the movement and power of the first gear 33 are transmitted to the second gear 36 through the meshing action of the first gear 33 and the second gear 36, so that the required rotating speed is obtained.
Further, the first adjusting platform 5 comprises a first bed board 51 hinged to one end of the bed body 4, a first mounting seat 52 vertically arranged at one end of the bed body 4, a first driving motor 53 arranged on the first mounting seat 52, and a first screw rod 54, one end of which is connected with the first driving motor 53, and the other end of which is connected with the first bed board 51. In the present embodiment, the first adjusting platform 5 is used for adjusting the sitting and lying state of the user. The first driving motor 53 installed on the first installation seat 52 works to enable one end of the first driving motor 53 to be connected with the first bed board 51, and the first screw rod 54 connected with the other end of the first driving motor is lifted upwards, so that the first bed board 51 is inclined upwards, and the sitting and lying state of a user is changed.
Further, the second adjusting platform 6 comprises a second bed board 61 hinged to the other end of the bed body 4, a second mounting seat 62 vertically arranged at the other end of the bed body 4, a second driving motor 63 arranged on the second mounting seat 62, and a second lead screw 64, one end of which is connected with the second driving motor 63, and the other end of which is connected with the second bed board 61. In this embodiment, the second adjustment platform 6 is used to adjust the lifting state of the user's leg. The second driving motor 63 installed on the second installation base 62 operates to enable one end of the second driving motor 63 to be connected with the second driving motor 63, and the second screw rod 64 connected with the second bed plate 61 at the other end of the second driving motor to move downwards, so that the second bed plate 61 forms a downward inclined state, and the state of the legs of the user is changed.
Further, the support 1 comprises a frame 11, a plurality of groups of supporting legs 12 are arranged at the bottom of the frame 11, and one side of the mounting plate 2 is hinged to the top of the frame 11.
Furthermore, a connecting rod 8 is arranged between the two adjacent supporting legs 12 and below the other side of the mounting plate 2, and the lifting mechanism 7 is arranged on the connecting rod 8.
In specific implementation, the frame 11 is a quadrilateral frame, supporting legs 12 are arranged at the bottoms of four end points of the frame 11, and one side of the mounting plate 2 is hinged with the top of the frame 11 through a hinge; a connecting rod 8 is arranged between two adjacent supporting legs 12, and the connecting rod 8 is positioned at the opposite side of the hinge; the lifting mechanism 7 comprises a lifting motor arranged on the connecting rod 8 and a lifting rod connected with the lifting motor, and the movable end of the lifting rod is connected with the mounting plate 2. When the bed body 4 is lifted, the lifting motor works to lift the lifting rod upwards, so that one side (opposite side of the hinge) of the mounting plate 2 is opened upwards, and the bed body 4 is inclined.
Further, the multifunctional auxiliary bed further comprises a control mechanism (not shown in the figure) arranged on the support 1, and the rotating mechanism 3, the first adjusting platform 5, the second adjusting platform 6 and the lifting mechanism 7 are all electrically connected with the control mechanism. In the embodiment, a button or a remote controller is adopted to control the control mechanism; the control mechanism controls the start, stop and forward and reverse rotation of the first driving motor 53, the rotating motor 31, the second driving motor 63 and the lifting motor of the lifting mechanism 7, so that the auxiliary function of the multifunctional auxiliary bed is realized.
The working principle is as follows: when a user wants to get off the bed, the first motor is started to drive the first screw rod 54 to rotate, so that the first bed plate 51 is driven to move upwards, and the user changes the prone position into the sitting position; the rotating motor 31 is started, and the first gear 33 drives the second gear 36 to rotate, so as to drive the bed body 4 to rotate for 90 degrees; when the second motor is started, the second screw rod 64 rotates to drive the second bed board 61 to move downwards, and the two legs of a user droop; and starting the lifting motor to control the lifting rod to move upwards so as to drive the bed body 4 to move upwards, wherein the bed body 4 is inclined, and a user gets off the bed. When a user wants to get on the bed, the bed body 4 is firstly inclined, and the user leans on the bed; starting the lifting motor to rotate reversely, and controlling the lifting rod to move downwards to enable the bed body 4 to be flat; the second motor is started to rotate reversely, the second screw rod 64 rotates to further drive the bed board to be lifted to be horizontal, and the two legs of a user lean against and sit on the bed horizontally; the rotating motor 31 is started to rotate reversely, the first gear 33 drives the second gear 36 to rotate, the bed body 4 is further driven to rotate in the opposite direction by 90 degrees, and the bed body 4 is rotated back to the initial state; the first motor is started to drive the first screw rod 54 to rotate, so as to drive the first bed board 51 to move downwards, the bed board is put down to be horizontal, and a user changes a sitting posture into a lying posture.
The above description is only a preferred embodiment of the present invention and is not intended to limit the present invention, and various modifications and changes may be made by those skilled in the art. Any modification, equivalent replacement, or improvement made within the spirit and principle of the present invention should be included in the protection scope of the present invention.

Claims (8)

1. The utility model provides a multi-functional supplementary bed, its characterized in that is in including support (1), setting mounting panel (2), the setting on support (1) are in rotary mechanism (3) and the setting at mounting panel (2) middle part are in bed body (4) on rotary mechanism (3), bed body (4) both ends are equipped with first regulation platform (5) and second regulation platform (6) respectively, mounting panel (2) one side with support (1) is articulated, on support (1) and be located the below of mounting panel (2) opposite side be equipped with lifting mechanism (7) that mounting panel (2) bottom is connected.
2. The multifunctional auxiliary bed according to claim 1, wherein the rotating mechanism (3) comprises a rotating motor (31) fixedly arranged on the mounting plate (2), a first rotating shaft (32) connected with the rotating motor (31), a first gear (33) arranged on the first rotating shaft (32), a rotating base (34) fixedly arranged on the mounting plate (2) and positioned at one side of the rotating motor (31), a second rotating shaft (35) rotatably connected with the rotating base (34), and a second gear (36) arranged on the second rotating shaft (35) and engaged with the first gear (33).
3. The multi-functional auxiliary bed according to claim 2, characterized in that the number of teeth of the second gear (36) is 2-8 times the number of teeth of the first gear (33).
4. The multifunctional auxiliary bed according to claim 1, wherein the first adjusting platform (5) comprises a first bed plate (51) hinged with one end of the bed body (4), a first mounting seat (52) vertically arranged at one end of the bed body (4), a first driving motor (53) arranged on the first mounting seat (52), and a first screw rod (54) with one end connected with the first driving motor (53) and the other end connected with the first bed plate (51).
5. The multifunctional auxiliary bed according to claim 1, wherein the second adjusting platform (6) comprises a second bed plate (61) hinged with the other end of the bed body (4), a second mounting seat (62) vertically arranged at the other end of the bed body (4), a second driving motor (63) arranged on the second mounting seat (62), and a second screw rod (64) with one end connected with the second driving motor (63) and the other end connected with the second bed plate (61).
6. The multifunctional auxiliary bed according to claim 1, wherein the support (1) comprises a frame (11), a plurality of sets of support feet (12) are arranged at the bottom of the frame (11), and one side of the mounting plate (2) is hinged with the top of the frame (11).
7. The multifunctional auxiliary bed according to claim 6, wherein a connecting rod (8) is arranged between two adjacent supporting feet (12) and below the other side of the mounting plate (2), and the lifting mechanism (7) is arranged on the connecting rod (8).
8. The multifunctional auxiliary bed according to claim 1, characterized in that it further comprises a control mechanism arranged on said support (1), said rotation mechanism (3), first adjustment platform (5), second adjustment platform (6) and lifting mechanism (7) being electrically connected to said control mechanism.
CN202121419082.5U 2021-06-24 2021-06-24 A multifunctional auxiliary bed Expired - Fee Related CN215737989U (en)

Priority Applications (1)

Application Number Priority Date Filing Date Title
CN202121419082.5U CN215737989U (en) 2021-06-24 2021-06-24 A multifunctional auxiliary bed

Applications Claiming Priority (1)

Application Number Priority Date Filing Date Title
CN202121419082.5U CN215737989U (en) 2021-06-24 2021-06-24 A multifunctional auxiliary bed

Publications (1)

Publication Number Publication Date
CN215737989U true CN215737989U (en) 2022-02-08

Family

ID=80102084

Family Applications (1)

Application Number Title Priority Date Filing Date
CN202121419082.5U Expired - Fee Related CN215737989U (en) 2021-06-24 2021-06-24 A multifunctional auxiliary bed

Country Status (1)

Country Link
CN (1) CN215737989U (en)

Cited By (1)

* Cited by examiner, † Cited by third party
Publication number Priority date Publication date Assignee Title
CN116687161A (en) * 2023-05-31 2023-09-05 美勒森家居科技有限公司 Rotary structure of home bed for aged

Cited By (2)

* Cited by examiner, † Cited by third party
Publication number Priority date Publication date Assignee Title
CN116687161A (en) * 2023-05-31 2023-09-05 美勒森家居科技有限公司 Rotary structure of home bed for aged
CN116687161B (en) * 2023-05-31 2024-01-30 美勒森家居科技有限公司 Rotary structure of home bed for aged

Similar Documents

Publication Publication Date Title
CN111887893B (en) Special bracket for gastrointestinal ultrasonic radiography
TWI244386B (en) Coordinative lifting control method of bottom sections for lying furniture such as a bed
CN215737989U (en) A multifunctional auxiliary bed
CN111265375A (en) Household multifunctional bed with adjustable posture for old people
CN219022007U (en) Nursing bed with play back of body safeguard function
CN115281480A (en) Non-sleeping posture servo sleeping system
CN112674965A (en) Wheelchair nursing bed combination device and using method thereof
CN100512720C (en) Health-caring bed
CN216358646U (en) Multi-posture multifunctional nursing bed
CN213909330U (en) a seat
TW200304800A (en) Coordinative lifting control method of bottom sections for lying furniture such as a bed
CN212489175U (en) Adjustable deck chair
JP2006109930A (en) Bed
CN108968491B (en) A smart sofa
CN108158751A (en) A kind of medical sickbed independently to sit up convenient for paralysed patient
CN102125490A (en) Nursing bed assisting people in natural sitting posture
CN222130423U (en) A dynamically adjustable smart bed for the elderly
RU31194U1 (en) Dentist chair
CN217243439U (en) Height-adjustable electric reclining single sofa with extendable leg structure
CN112972153A (en) Bed with auxiliary function
CN223667613U (en) Electric massage sofa seat tilt adjustment structure
CN220256090U (en) Prevent multi-functional wisdom bed chair of tumbleing
CN219556782U (en) Electric integrated bed with stable structure
CN206334036U (en) A kind of medical bed for nursing care
CN214595101U (en) Modular automatically regulated type deck chair

Legal Events

Date Code Title Description
GR01 Patent grant
GR01 Patent grant
CF01 Termination of patent right due to non-payment of annual fee

Granted publication date: 20220208

CF01 Termination of patent right due to non-payment of annual fee