CN215613441U - Cleaning device for flexible freight bag - Google Patents

Cleaning device for flexible freight bag Download PDF

Info

Publication number
CN215613441U
CN215613441U CN202121892551.5U CN202121892551U CN215613441U CN 215613441 U CN215613441 U CN 215613441U CN 202121892551 U CN202121892551 U CN 202121892551U CN 215613441 U CN215613441 U CN 215613441U
Authority
CN
China
Prior art keywords
cleaning
fixedly connected
flexible freight
rotating rod
freight bag
Prior art date
Legal status (The legal status is an assumption and is not a legal conclusion. Google has not performed a legal analysis and makes no representation as to the accuracy of the status listed.)
Expired - Fee Related
Application number
CN202121892551.5U
Other languages
Chinese (zh)
Inventor
马占亮
马会亮
Current Assignee (The listed assignees may be inaccurate. Google has not performed a legal analysis and makes no representation or warranty as to the accuracy of the list.)
Hebei Wanhefeng Packaging Co ltd
Original Assignee
Hebei Wanhefeng Packaging Co ltd
Priority date (The priority date is an assumption and is not a legal conclusion. Google has not performed a legal analysis and makes no representation as to the accuracy of the date listed.)
Filing date
Publication date
Application filed by Hebei Wanhefeng Packaging Co ltd filed Critical Hebei Wanhefeng Packaging Co ltd
Priority to CN202121892551.5U priority Critical patent/CN215613441U/en
Application granted granted Critical
Publication of CN215613441U publication Critical patent/CN215613441U/en
Expired - Fee Related legal-status Critical Current
Anticipated expiration legal-status Critical

Links

Images

Landscapes

  • Cleaning In General (AREA)

Abstract

The utility model relates to the technical field of flexible freight bag production and discloses a cleaning device for a flexible freight bag, which comprises a fixed bottom plate, wherein the top end of the fixed bottom plate is fixedly connected with a cleaning box, and a cleaning mechanism is arranged in the cleaning box; the cleaning mechanism comprises two limiting rods and two cleaning brush plates, the two limiting rods are symmetrically and fixedly connected to two sides of the inner cavity of the cleaning box, and the two cleaning brush plates are symmetrically and fixedly connected to the cleaning box and located between the two limiting rods; two groups of supporting plates are symmetrically and fixedly connected to the top end of the fixed bottom plate, and an extrusion mechanism is arranged between the tops of the other group of supporting plates. This cleaning device of flexible freight bag through the design of wiper mechanism, when carrying out cleaning work to the flexible freight bag, two gag lever posts are to the injecing of flexible freight bag position among the usable wiper mechanism of operator, when realizing flexible freight bag cleaning work, have also effectively avoided the flexible freight bag to wash the appearance of the circumstances such as fold appearing, have guaranteed the subsequent processing work of flexible freight bag.

Description

Cleaning device for flexible freight bag
Technical Field
The utility model relates to the technical field of production of flexible freight bags, in particular to a cleaning device for flexible freight bags.
Background
The outer surface of the container bag needs to be cleaned during the production process, particularly before the container bag is dyed, so that the dyed effect of the container bag is improved.
The cleaning device of the prior flexible freight bag is usually stirred and cleaned by a machine, and although the cleaning work of the flexible freight bag can be completed, the flexible freight bag is easy to wrinkle after being cleaned, and the subsequent production and processing of the flexible freight bag are influenced.
SUMMERY OF THE UTILITY MODEL
Technical problem to be solved
In view of the deficiencies of the prior art, the present invention provides a cleaning device for bulk bags to solve the problems set forth in the background art.
(II) technical scheme
In order to achieve the purpose, the utility model provides the following technical scheme: a cleaning device for a flexible freight bag comprises a fixed bottom plate, wherein a cleaning box is fixedly connected to the top end of the fixed bottom plate, and a cleaning mechanism is arranged inside the cleaning box;
the cleaning mechanism comprises two limiting rods and two cleaning brush plates, the two limiting rods are symmetrically and fixedly connected to two sides of the inner cavity of the cleaning box, and the two cleaning brush plates are symmetrically and fixedly connected to the cleaning box and located between the two limiting rods;
the top end of the fixed bottom plate is symmetrically and fixedly connected with two groups of supporting plates, the top of one group of supporting plates is provided with an unwinding roller, and the top of the other group of supporting plates is provided with an extrusion mechanism.
Preferably, the guide rollers are fixedly mounted on two sides of the top of the inner cavity of the cleaning box, and the drain pipe is fixedly connected to the bottom of one side of the cleaning box.
Preferably, extrusion mechanism includes initiative bull stick, driven bull stick and two squeeze rolls, the top at one of them a set of backup pad is connected to initiative bull stick slip interlude, driven bull stick sets up in one of them a set of below that is located the initiative bull stick, two squeeze rolls fix the cover respectively and connect in the outside of initiative bull stick and driven bull stick.
Preferably, the top of one side of the supporting plate is fixedly connected with a bearing plate, the top end of the bearing plate is fixedly provided with a driving motor, and the output end of the driving motor is fixedly connected with one end of the driving rotating rod.
Preferably, one end of the driven rotating rod is rotatably connected with one side of one of the support plates, and the other end of the driven rotating rod penetrates through the other support plate and is fixedly sleeved with a driven gear.
Preferably, the other end of the driving rotating rod penetrates through the supporting plate and is fixedly sleeved with a driving gear, and the outer side of the driving gear is meshed with the outer side of the driven gear.
(III) advantageous effects
Compared with the prior art, the utility model provides a cleaning device for a flexible freight bag, which has the following beneficial effects:
1. according to the cleaning device for the flexible freight bag, through the design of the cleaning mechanism, when the flexible freight bag is cleaned, an operator can limit the position of the flexible freight bag by using the two limiting rods in the cleaning mechanism, so that the cleaning work of the flexible freight bag is realized, the situations of folds and the like after the flexible freight bag is cleaned are effectively avoided, and the subsequent processing work of the flexible freight bag is ensured;
2. this cleaning device of flexible container, through the design of extrusion mechanism, after flexible container cleaning work accomplished, the dewatering work of realization wasing back flexible container under the rotation extrusion of two squeeze rolls among the usable extrusion mechanism of operator, this mode has improved the practicality of this device.
Drawings
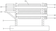
FIG. 1 is a schematic structural view of the present invention;
FIG. 2 is a schematic diagram of a side view cross-section mechanism of the extrusion mechanism of the present invention.
In the figure: 1. fixing the bottom plate; 2. a support plate; 3. a cleaning tank; 4. a drain pipe; 5. a guide roller; 6. a limiting rod; 7. cleaning the brush plate; 8. unwinding rollers; 9. an active rotating rod; 10. a driven rotating rod; 11. a squeeze roll; 12. a drive motor; 13. a driving gear; 14. a driven gear; 15. a carrier plate.
Detailed Description
The technical solutions in the embodiments of the present invention will be clearly and completely described below with reference to the drawings in the embodiments of the present invention, and it is obvious that the described embodiments are only a part of the embodiments of the present invention, and not all of the embodiments. All other embodiments, which can be derived by a person skilled in the art from the embodiments given herein without making any creative effort, shall fall within the protection scope of the present invention.
Referring to fig. 1-2, the utility model provides a technical scheme, a cleaning device for a flexible freight bag, comprising a fixed bottom plate 1, wherein the fixed bottom plate 1 is of a square structure, the top end of the fixed bottom plate 1 is fixedly connected with a cleaning box 3, clear water is stored in the cleaning box 3, and a cleaning mechanism is arranged in the cleaning box 3; the cleaning mechanism comprises two limiting rods 6 and two cleaning brush plates 7, the two limiting rods 6 are symmetrically and fixedly connected with two sides of an inner cavity of the cleaning box 3, the two cleaning brush plates 7 are symmetrically and fixedly connected between the cleaning box 3 and the two limiting rods 6, a container bag to be cleaned passes through the lower parts of the two limiting rods 6 and is positioned between the two cleaning brush plates 7, through the arrangement of the limiting rods 6, the two cleaning brush plates 7 can be in a stretched state when cleaning the container bag, so that the cleaning effect of the container bag is improved, guide rollers 5 are fixedly arranged on two sides of the top of the inner cavity of the cleaning box 3, the guide rollers 5 can rotate relative to the cleaning box 3, through the arrangement of the guide rollers 5, the phenomenon that the container bag is directly contacted with the cleaning box 3 during cleaning to cause abrasion and even breakage is avoided, a drain pipe 4 is fixedly connected with the bottom of one side of the cleaning box 3, the top end of one side of the water discharge pipe 4 is fixedly provided with a valve.
Two groups of supporting plates 2 are symmetrically and fixedly connected with the top end of the fixed bottom plate 1, the number of each group of supporting plates 2 is two, the top of one group of the supporting plates 2 is provided with a unreeling roller 8, an extruding mechanism is arranged between the tops of the other group of the supporting plates 2 and comprises a driving rotating rod 9, a driven rotating rod 10 and two extruding rollers 11, the driving rotating rod 9 is connected to the tops of the other group of the supporting plates 2 in a sliding and penetrating manner, the driven rotating rod 10 is arranged below the driving rotating rod 9 in one group, the driving rotating rod 9 and the driven rotating rod 10 can rotate relative to the supporting plates 2, the two extruding rollers 11 are fixedly sleeved outside the driving rotating rod 9 and the driven rotating rod 10 respectively, the flexible freight bag passes through the space between the two extruding rollers 11 after being cleaned, through the opposite direction rotation between two squeeze rolls 11, realize then squeezing out the inside moisture content of collecting bag after wasing, and be connected between the collecting bag after squeezing out water and the outside winding mechanism.
Top fixedly connected with loading board 15 of 2 one sides of one of them backup pad, the top fixed mounting of loading board 15 has driving motor 12, driving motor 12 is through external power supply line and external power source electric connection, driving motor 12's output and the one end fixed connection of initiative bull stick 9, the one end of driven bull stick 10 is rotated with one side of one of them backup pad 2 and is connected, the other end of driven bull stick 10 runs through another backup pad 2 and fixed cover has connect driven gear 14, the other end of initiative bull stick 9 runs through backup pad 2 and fixed cover has connect driving gear 13, the outside of driving gear 13 and driven gear 14's outside meshing, through meshing between driving gear 13 and the driven gear 14, in order to realize that the opposite direction rotates between initiative bull stick 9 and the driven bull stick 10, then realize that the opposite direction rotates between two squeeze rolls 11.
The working principle of the device is as follows: referring to the attached drawings 1 and 2, after a certain amount of clean water is filled in the cleaning box 3, an operator pulls out one end of a flexible freight bag needing cleaning on the unwinding roller 8, then passes one end of the flexible freight bag through one of the guide rollers 5 and then passes below the two limiting rods 6, meanwhile, the flexible freight bag passes between the two cleaning brush plates 7, then passes one end of the flexible freight bag through the other guide roller 5 and then passes between the two squeezing rollers 11, and finally, one end of the flexible freight bag is connected with an external winding mechanism.
Open outside winding mechanism and driving motor 12, make the flexible container of winding on unreeling roller 8 under the pulling of outside winding mechanism continuously to be pulled out, driving motor 12 moves and drives initiative bull stick 9 clockwise rotation, initiative bull stick 9 rotates and drives driving gear 13 and rotate, driving gear 13 rotates and drives driven gear 14 anticlockwise rotation, driven gear 14 rotates and drives driven bull stick 10 and rotates, then drive two squeeze rolls 11 synchronous rotations under initiative bull stick 9 and driven bull stick 10 synchronous rotation, and then realize flexible container's washing back dewatering work under the pulling of outside winding mechanism and the operation of two squeeze rolls 11.
It is noted that, herein, relational terms such as first and second, and the like may be used solely to distinguish one entity or action from another entity or action without necessarily requiring or implying any actual such relationship or order between such entities or actions. Also, the terms "comprises," "comprising," or any other variation thereof, are intended to cover a non-exclusive inclusion, such that a process, method, article, or apparatus that comprises a list of elements does not include only those elements but may include other elements not expressly listed or inherent to such process, method, article, or apparatus.
Although embodiments of the present invention have been shown and described, it will be appreciated by those skilled in the art that changes, modifications, substitutions and alterations can be made in these embodiments without departing from the principles and spirit of the utility model, the scope of which is defined in the appended claims and their equivalents.

Claims (6)

1.一种集装袋的清洁装置,包括固定底板(1),其特征在于:所述固定底板(1)顶端固定连接有清洗箱(3),所述清洗箱(3)的内部设置有清洗机构;1. A cleaning device for a container bag, comprising a fixed bottom plate (1), characterized in that: a cleaning box (3) is fixedly connected to the top of the fixed bottom plate (1), and the interior of the cleaning box (3) is provided with cleaning mechanism; 所述清洗机构包括两个限位杆(6)和两个清洁刷板(7),两个所述限位杆(6)对称固定连接在清洗箱(3)内腔的两侧,两个所述清洁刷板(7)对称固定连接在清洗箱(3)位于两个限位杆(6)之间;The cleaning mechanism includes two limit rods (6) and two cleaning brush plates (7), the two limit rods (6) are symmetrically and fixedly connected on both sides of the inner cavity of the cleaning box (3), The cleaning brush plate (7) is symmetrically and fixedly connected to the cleaning box (3) between the two limit rods (6); 所述固定底板(1)的顶端对称固定连接有两组支撑板(2),其中一组所支撑板(2)的顶部安装有放卷辊(8),其中另一组所述支撑板(2)的顶部之间设置有挤压机构。The top of the fixed bottom plate (1) is symmetrically and fixedly connected with two sets of support plates (2), wherein the top of one set of supported plates (2) is provided with an unwinding roller (8), and the other set of the support plates ( 2) A pressing mechanism is arranged between the tops. 2.根据权利要求1所述的一种集装袋的清洁装置,其特征在于:所述清洗箱(3)内腔顶部的两侧均固定安装有导向辊(5),所述清洗箱(3)一侧的底部固定连接有排水管(4)。2. The cleaning device for a container bag according to claim 1, characterized in that: both sides of the top of the inner cavity of the cleaning box (3) are fixedly installed with guide rollers (5), and the cleaning box (3). 3) A drain pipe (4) is fixedly connected to the bottom of one side. 3.根据权利要求1所述的一种集装袋的清洁装置,其特征在于:所述挤压机构包括主动转杆(9)、从动转杆(10)和两个挤压辊(11),所述主动转杆(9)滑动穿插连接在其中一组支撑板(2)的顶部,所述从动转杆(10)设置在其中一组位于主动转杆(9)的下方,两个所述挤压辊(11)分别固定套接在主动转杆(9)和从动转杆(10)的外部。3. The cleaning device for a container bag according to claim 1, characterized in that: the pressing mechanism comprises an active rotating rod (9), a driven rotating rod (10) and two squeezing rollers (11) ), the driving lever (9) is slidably connected to the top of one group of support plates (2), the driven lever (10) is arranged under one group of the active lever (9), and the two Each of the squeezing rollers (11) is respectively fixed and sleeved on the outside of the driving rotating rod (9) and the driven rotating rod (10). 4.根据权利要求3所述的一种集装袋的清洁装置,其特征在于:其中一个所述支撑板(2)一侧的顶部固定连接有承载板(15),所述承载板(15)的顶端固定安装有驱动电机(12),所述驱动电机(12)的输出端与主动转杆(9)的一端固定连接。4. A container bag cleaning device according to claim 3, characterized in that: a carrier plate (15) is fixedly connected to the top of one side of one of the support plates (2), and the carrier plate (15) A drive motor (12) is fixedly installed at the top of the ), and the output end of the drive motor (12) is fixedly connected with one end of the active rotating rod (9). 5.根据权利要求3所述的一种集装袋的清洁装置,其特征在于:所述从动转杆(10)的一端与其中一个支撑板(2)的一侧转动连接,所述从动转杆(10)的另一端贯穿另一个支撑板(2)并固定套接有从动齿轮(14)。5. A container bag cleaning device according to claim 3, characterized in that: one end of the driven rotating rod (10) is rotatably connected to one side of one of the support plates (2), and the driven rotating rod (10) is rotatably connected The other end of the rotating rod (10) penetrates the other support plate (2) and is fixedly sleeved with a driven gear (14). 6.根据权利要求5所述的一种集装袋的清洁装置,其特征在于:所述主动转杆(9)的另一端贯穿支撑板(2)并固定套接有主动齿轮(13),所述主动齿轮(13)的外侧与从动齿轮(14)的外侧啮合。6. A container bag cleaning device according to claim 5, characterized in that: the other end of the driving rod (9) penetrates the support plate (2) and is fixedly sleeved with a driving gear (13), The outer side of the driving gear (13) meshes with the outer side of the driven gear (14).
CN202121892551.5U 2021-08-13 2021-08-13 Cleaning device for flexible freight bag Expired - Fee Related CN215613441U (en)

Priority Applications (1)

Application Number Priority Date Filing Date Title
CN202121892551.5U CN215613441U (en) 2021-08-13 2021-08-13 Cleaning device for flexible freight bag

Applications Claiming Priority (1)

Application Number Priority Date Filing Date Title
CN202121892551.5U CN215613441U (en) 2021-08-13 2021-08-13 Cleaning device for flexible freight bag

Publications (1)

Publication Number Publication Date
CN215613441U true CN215613441U (en) 2022-01-25

Family

ID=79897763

Family Applications (1)

Application Number Title Priority Date Filing Date
CN202121892551.5U Expired - Fee Related CN215613441U (en) 2021-08-13 2021-08-13 Cleaning device for flexible freight bag

Country Status (1)

Country Link
CN (1) CN215613441U (en)

Similar Documents

Publication Publication Date Title
CN112660891A (en) Batting clearing device for textile machinery with direction function
CN215613441U (en) Cleaning device for flexible freight bag
CN210765870U (en) A washing case for textile printing and dyeing
CN111660652A (en) Fabric compounding machine with flattening mechanism
CN215207516U (en) Raw materials unwinding device is used in surface fabric processing with clearance function
CN219447554U (en) Full-automatic wet tissue folding packaging machine
CN212477115U (en) Bleaching device for textile production
CN211872291U (en) A wash drying equipment for weaving
CN210341342U (en) High-efficient grey cloth cleaning device
CN210594466U (en) Photoelectric paper tape deviation correcting device
CN220447173U (en) Tectorial membrane device is used in waterproofing membrane production
CN218309516U (en) Leather surface cleaning device
CN215283364U (en) Asphalt coiled material tectorial membrane closing device
CN212387394U (en) Automatic cloth rolling equipment for textile industry
CN210596620U (en) Cleaning device for swimsuit cloth
CN221678251U (en) Processing device of multifunctional composite fabric
CN222434821U (en) A textile material cleaning device
CN221740650U (en) A dyeing machine for recycling dye liquor
CN209941269U (en) Textile disinfection device
CN218024512U (en) Printing and dyeing washing operation machine
CN223103270U (en) An easy-to-clean textile jigger
CN209271773U (en) One kind being coated with roller apparatus for SILIICONE
CN220486023U (en) Textile fabric processing static electricity removing device
CN207308225U (en) The nozzle cleaning device of glass dispenser
CN221094548U (en) Based on wiper mechanism is used in meshbelt production

Legal Events

Date Code Title Description
GR01 Patent grant
GR01 Patent grant
CF01 Termination of patent right due to non-payment of annual fee

Granted publication date: 20220125

CF01 Termination of patent right due to non-payment of annual fee