CN215209382U - An anaerobic fermentation device for kitchen waste - Google Patents

An anaerobic fermentation device for kitchen waste Download PDF

Info

Publication number
CN215209382U
CN215209382U CN202121406631.5U CN202121406631U CN215209382U CN 215209382 U CN215209382 U CN 215209382U CN 202121406631 U CN202121406631 U CN 202121406631U CN 215209382 U CN215209382 U CN 215209382U
Authority
CN
China
Prior art keywords
treatment tank
kitchen waste
anaerobic fermentation
heat exchange
circulation
Prior art date
Legal status (The legal status is an assumption and is not a legal conclusion. Google has not performed a legal analysis and makes no representation as to the accuracy of the status listed.)
Active
Application number
CN202121406631.5U
Other languages
Chinese (zh)
Inventor
吴帮林
Current Assignee (The listed assignees may be inaccurate. Google has not performed a legal analysis and makes no representation or warranty as to the accuracy of the list.)
Guangdong Chunhe Jingming Environmental Protection Technology Co ltd
Original Assignee
Guangdong Chunhe Jingming Environmental Protection Technology Co ltd
Priority date (The priority date is an assumption and is not a legal conclusion. Google has not performed a legal analysis and makes no representation as to the accuracy of the date listed.)
Filing date
Publication date
Application filed by Guangdong Chunhe Jingming Environmental Protection Technology Co ltd filed Critical Guangdong Chunhe Jingming Environmental Protection Technology Co ltd
Priority to CN202121406631.5U priority Critical patent/CN215209382U/en
Application granted granted Critical
Publication of CN215209382U publication Critical patent/CN215209382U/en
Active legal-status Critical Current
Anticipated expiration legal-status Critical

Links

Images

Landscapes

  • Processing Of Solid Wastes (AREA)

Abstract

本实用新型涉及垃圾处理技术领域,具体涉及一种厨余垃圾厌氧发酵装置,包括处理罐,还包括过滤组件和换热组件,所述处理罐采用密闭钢制结构,所述过滤组件安装于所述处理罐内侧中部,并将所述处理罐分隔为上部和下部,所述换热组件安装于所述处理罐的下部,所述换热组件设为换热管,所述处理罐上部设有厨余渣料入口、厨余渣料出口和排气管,在所述排气管上设有排气开关,所述处理罐下部设置有排液管,在所述排液管上设置有电动阀门,本实用新型结构简单,设计合理,可以在密闭环境下实现厨余垃圾的厌氧循环发酵处理,处理罐下部残留的微生物可以进入到处理罐上部,加快发酵效率,同时换热高效,运行稳定,使用方便。

Figure 202121406631

The utility model relates to the technical field of garbage disposal, in particular to an anaerobic fermentation device for kitchen waste, which comprises a processing tank, a filter assembly and a heat exchange assembly. The processing tank adopts a closed steel structure, and the filter assembly is installed in a The inner middle of the treatment tank is divided into an upper part and a lower part, the heat exchange assembly is installed in the lower part of the treatment tank, the heat exchange assembly is set as a heat exchange tube, and the upper part of the treatment tank is provided with There are a kitchen waste residue inlet, a kitchen waste residue outlet and an exhaust pipe, an exhaust switch is arranged on the exhaust pipe, a drain pipe is arranged at the lower part of the treatment tank, and a drain pipe is arranged on the drain pipe The electric valve has the advantages of simple structure and reasonable design, which can realize the anaerobic cyclic fermentation treatment of kitchen waste in a closed environment, and the microorganisms remaining in the lower part of the treatment tank can enter the upper part of the treatment tank, so as to speed up the fermentation efficiency, and at the same time, the heat exchange is efficient, Stable operation and easy to use.

Figure 202121406631

Description

Anaerobic fermentation device for kitchen garbage
Technical Field
The utility model relates to the technical field of garbage treatment, in particular to a kitchen garbage anaerobic fermentation device.
Background
The problem of disposing urban domestic garbage is related to the sustainable development of China, and people pay more and more attention in recent years. The kitchen waste serving as an important component of the municipal solid waste has high organic content and high recycling value. Along with the expansion of cities and the improvement of the living standard of residents, a series of problems caused by kitchen waste are increasingly prominent. Meanwhile, the resource utilization and the harmless treatment of the kitchen waste have market potential, and are increasingly paid high attention by scholars at home and abroad.
At present, the treatment method of the kitchen waste is mainly divided into landfill, incineration and resource treatment. And the resource treatment is the inevitable choice in the kitchen waste disposal industry in the future. The resourceful treatment of the kitchen waste mainly has three modes: anaerobic fermentation, aerobic composting and feed conversion. Among them, anaerobic fermentation is the mainstream treatment method of kitchen waste, but in the anaerobic treatment process in the prior art, kitchen waste is generally exposed and fermented, so that the fermentation speed is low, local anaerobic is easily caused, and the generated odor is much and easily causes air pollution, thereby bringing inconvenience to the purification of kitchen waste and waste gas.
Disclosure of Invention
In order to solve the problems, the utility model provides a kitchen garbage anaerobic fermentation device, which has simple structure, reasonable design and good anaerobic fermentation treatment effect.
The utility model adopts the technical proposal that:
the utility model provides a kitchen garbage anaerobic fermentation device, includes the treatment tank, still includes filtering component and heat exchange assembly, the treatment tank adopts airtight steel structure, filtering component install in treatment tank inboard middle part, and will the treatment tank is separated for upper portion and lower part, heat exchange assembly install in the lower part of treatment tank, heat exchange assembly establishes to the heat exchange tube, treatment tank upper portion is equipped with kitchen residue material entry, kitchen residue material export and blast pipe be equipped with the air discharge switch on the blast pipe, the treatment tank lower part is provided with the fluid-discharge tube be provided with electric valve on the fluid-discharge tube.
The technical scheme is further improved by further comprising a circulating assembly, wherein the circulating assembly is provided with a circulating pipeline, a circulating pump and a circulating switch, a connecting hole is formed in the upper portion of the treatment tank, two ends of the circulating pipeline are respectively communicated with the connecting hole and the liquid discharge pipe, the circulating switch is installed on the circulating pipeline, and the circulating pump is connected with the circulating pipeline.
The technical scheme is further improved by further comprising a storage tank, wherein the storage tank is communicated with the kitchen residue inlet, and a spiral feeding assembly is arranged at the communication position.
The technical scheme is further improved in that a connecting pipe is arranged at the bottom of the storage tank and communicated with the lower part of the treatment tank.
The further improvement of the technical proposal is that a sieve plate is arranged at the joint of the storage tank and the connecting pipe.
The technical proposal is further improved in that the top of the storage tank is screwed with a sealing cover.
The further improvement to the technical proposal is that the upper part of the treatment tank is provided with a material level, temperature and pressure on-line monitor.
The technical proposal is further improved in that the heat exchange tube is a labyrinth elbow.
The further improvement of the technical proposal is that the liquid discharge pipe is also provided with a manual valve.
The technical proposal is further improved in that the lower part of the treatment tank is in a conical structure.
The utility model has the advantages as follows:
the utility model comprises a treatment tank, a filtering component and a heat exchange component, wherein the treatment tank adopts a closed steel structure, the filtering component is arranged at the middle part of the inner side of the treatment tank, and divides the treatment tank into an upper part and a lower part, the heat exchange assembly is arranged at the lower part of the treatment tank, the heat exchange component is a heat exchange tube, the upper part of the treatment tank is provided with a kitchen waste inlet, a kitchen waste outlet and an exhaust pipe, the exhaust pipe is provided with an exhaust switch, the lower part of the treatment tank is provided with a liquid discharge pipe, and the liquid discharge pipe is provided with an electric valve, the utility model has simple structure and reasonable design, can realize the anaerobic cycle fermentation treatment of rubbish from cooking under airtight environment, the remaining microorganism of treatment tank lower part can enter into treatment tank upper portion for fermentation efficiency, and the heat transfer is high-efficient simultaneously, and the operation is stable, convenient to use.
Drawings
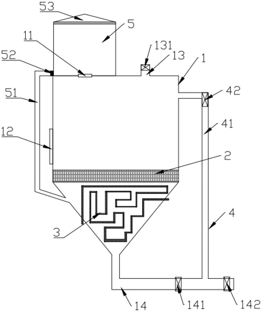
Fig. 1 is a schematic structural view of the present invention;
fig. 2 is a schematic structural view of the spiral feeding assembly of the present invention;
description of reference numerals: 1. the kitchen waste heat recovery device comprises a processing tank, 11 kitchen waste inlet, 12 kitchen waste outlet, 13 exhaust pipe, 131 exhaust switch, 14 drain pipe, 141 electric valve, 142 manual valve, 3 heat exchange assembly, 4 circulation assembly and 41 circulation pipeline. 42. The device comprises a circulation switch, a storage tank 5, a connecting pipe 51, a sieve plate 52, a sealing cover 53 and a spiral feeding assembly 6.
Detailed Description
The present invention will be further described with reference to the accompanying drawings.
As shown in fig. 1-2, the anaerobic fermentation device for kitchen waste in the embodiment includes a treatment tank 1, a filter assembly 2 and a heat exchange assembly 3, wherein the treatment tank 1 is made of a sealed steel structure, the filter assembly 2 is installed in the middle of the inner side of the treatment tank 1 and divides the treatment tank 1 into an upper part and a lower part, the heat exchange assembly 3 is installed in the lower part of the treatment tank 1, the heat exchange assembly 3 is a heat exchange pipe, the upper part of the treatment tank 1 is provided with a kitchen waste inlet 11, a kitchen waste outlet 12 and an exhaust pipe 13, the exhaust pipe 13 is provided with an exhaust switch 131, the lower part of the treatment tank 1 is provided with a liquid discharge pipe 14, the liquid discharge pipe 14 is provided with an electric valve 141, specifically, the heat exchange pipe is a labyrinth elbow, the heat exchange efficiency is high, and is not easy to block, the lower part of the treatment tank 1 is in a conical structure, the utility model has the advantages of convenient discharge of treatment fluid, difficult hydrops, the utility model has simple structure and reasonable design, can realize the anaerobic cycle fermentation treatment of kitchen garbage under the airtight environment, the microorganism remained at the lower part of the treatment tank 1 can enter the upper part of the treatment tank 1, the fermentation efficiency is accelerated, the heat exchange is high-efficient at the same time, the operation is stable, when the utility model is used, the kitchen garbage is added to the upper part of the treatment tank 1 through the kitchen garbage inlet 11, after a certain amount of the kitchen garbage is added, the feeding is stopped, the treatment tank 1 is in the airtight state, the kitchen garbage starts the anaerobic fermentation, the liquid generated in the anaerobic fermentation process and the moisture entering the kitchen garbage can enter the lower part of the treatment tank under the action of the filter component 2, the filter component 2 can be a filter screen, the solid-liquid separation in the anaerobic fermentation process is realized, the liquid fermentation is completed, the liquid fermentation and the solid fermentation generate a large amount of gas, when the air pressure is too large, or the heat exchange efficiency of the heat exchange assembly is not enough, and the temperature is too high, the exhaust switch 131 is turned on to exhaust air, the air pressure in the treatment tank 1 is reduced, and the liquid is discharged from the liquid discharge pipe 14 until the treatment is completed.
On the basis of the above embodiment, the anaerobic fermentation device further comprises a circulation component 4, the circulation component 4 is provided with a circulation pipeline 41, a circulation pump and a circulation switch 42, the upper portion of the treatment tank 1 is provided with a connecting hole, two ends of the circulation pipeline 41 are respectively communicated with the connecting hole and the liquid discharge pipe 14, the circulation switch 42 is installed on the circulation pipeline 41, and the circulation pump is connected with the circulation pipeline 41.
In other embodiments, still including storing jar 5, store jar 5 with kitchen waste residue material entry 11 intercommunication to be equipped with spiral feeding assembly 6 in the intercommunication department, specifically, store jar 5 bottom and be equipped with connecting pipe 51, connecting pipe 51 with handle jar 1 lower part intercommunication, more specifically, store jar 5 with connecting pipe 51 junction is equipped with sieve 52, store 1 top spiro union of jar has sealed lid 53, such setting of this embodiment, be convenient for add kitchen waste residue material in to handling the jar, and storing jar 5 and setting up sealed lid 53, be convenient for sealed the processing, its structure sets up simply, and the practicality is strong.
In some specific examples, processing tank 1 upper portion is equipped with material level, temperature and pressure on-line monitoring appearance, and such setting of this embodiment is convenient for carry out on-line monitoring to material level, temperature and pressure in the processing tank 1, realizes the effective management and control to the processing procedure.
In the present embodiment, in an emergency situation such as an over-high pressure or a delayed reaction of the electric valve 141, the manual valve 142 is used to drain the liquid, so as to avoid the damage to the pipeline.
The above-mentioned embodiments only represent some embodiments of the present invention, and the description thereof is specific and detailed, but not to be construed as limiting the scope of the present invention. It should be noted that, for those skilled in the art, without departing from the spirit of the present invention, several variations and modifications can be made, which are within the scope of the present invention. Therefore, the protection scope of the present invention should be subject to the appended claims.

Claims (10)

1. The utility model provides a kitchen garbage anaerobic fermentation device, includes the treatment tank, its characterized in that still includes filtering component and heat exchange assembly, the treatment tank adopts airtight steel structure, filtering component install in treatment tank inboard middle part, and will the treatment tank is separated for upper portion and lower part, heat exchange assembly install in the lower part of treatment tank, heat exchange assembly establishes to the heat exchange tube, treatment tank upper portion is equipped with kitchen residue material entry, kitchen residue material export and blast pipe be equipped with the air discharge switch on the blast pipe, the treatment tank lower part is provided with the fluid-discharge tube be provided with electric valve on the fluid-discharge tube.
2. The anaerobic fermentation device for kitchen waste according to claim 1, further comprising a circulation component, wherein the circulation component is provided with a circulation pipeline, a circulation pump and a circulation switch, the upper portion of the treatment tank is provided with a connection hole, two ends of the circulation pipeline are respectively communicated with the connection hole and the liquid discharge pipe, the circulation switch is mounted on the circulation pipeline, and the circulation pump is connected with the circulation pipeline.
3. The anaerobic fermentation device for kitchen waste according to claim 1, further comprising a storage tank, wherein the storage tank is communicated with the kitchen waste inlet, and a spiral feeding assembly is arranged at the communication position.
4. The anaerobic fermentation device for kitchen waste according to claim 3, characterized in that a connecting pipe is provided at the bottom of said storage tank, said connecting pipe communicating with the lower part of said treatment tank.
5. The anaerobic fermentation device for kitchen waste as claimed in claim 4, wherein a sieve plate is provided at the connection of said storage tank and said connection pipe.
6. The anaerobic fermentation apparatus for kitchen garbage according to claim 3, wherein a sealing cover is screwed to the top of the storage tank.
7. The anaerobic fermentation apparatus for kitchen waste according to claim 1, wherein the upper part of said treatment tank is provided with on-line level, temperature and pressure monitors.
8. The anaerobic fermentation device for kitchen waste according to claim 1, characterized in that said heat exchange tube is a labyrinth bend.
9. The anaerobic fermentation device for kitchen waste as claimed in claim 1, wherein a manual valve is further provided on said drain pipe.
10. The anaerobic fermentation apparatus for kitchen waste according to claim 1, wherein the lower part of said treatment tank is tapered.
CN202121406631.5U 2021-06-23 2021-06-23 An anaerobic fermentation device for kitchen waste Active CN215209382U (en)

Priority Applications (1)

Application Number Priority Date Filing Date Title
CN202121406631.5U CN215209382U (en) 2021-06-23 2021-06-23 An anaerobic fermentation device for kitchen waste

Applications Claiming Priority (1)

Application Number Priority Date Filing Date Title
CN202121406631.5U CN215209382U (en) 2021-06-23 2021-06-23 An anaerobic fermentation device for kitchen waste

Publications (1)

Publication Number Publication Date
CN215209382U true CN215209382U (en) 2021-12-17

Family

ID=79434782

Family Applications (1)

Application Number Title Priority Date Filing Date
CN202121406631.5U Active CN215209382U (en) 2021-06-23 2021-06-23 An anaerobic fermentation device for kitchen waste

Country Status (1)

Country Link
CN (1) CN215209382U (en)

Cited By (1)

* Cited by examiner, † Cited by third party
Publication number Priority date Publication date Assignee Title
CN115784434A (en) * 2022-11-29 2023-03-14 重庆市机电设计研究院有限公司 Ceramic pellet anaerobic circulating treatment equipment and working method thereof

Cited By (2)

* Cited by examiner, † Cited by third party
Publication number Priority date Publication date Assignee Title
CN115784434A (en) * 2022-11-29 2023-03-14 重庆市机电设计研究院有限公司 Ceramic pellet anaerobic circulating treatment equipment and working method thereof
CN115784434B (en) * 2022-11-29 2025-05-06 重庆市机电设计研究院有限公司 Ceramic ball anaerobic cycle treatment equipment and working method thereof

Similar Documents

Publication Publication Date Title
CN102199048B (en) Method and device for purifying and recycling organic garbage from kitchen
CN102321675B (en) Method and device for producing bio-gas by organic waste
CN201670835U (en) A garage type anaerobic dry fermentation device
CN102212561A (en) Processing method for fermenting straws in dry-process and wet-process combined way
CN103865781B (en) Domestic refuse and farm crop straw organism dry fermentation treatment unit
CN102603127B (en) Modular source processing device for domestic garbage and sewage and processing method thereof
CN102351396B (en) Sludge drying equipment using waste heat of landfill gas power generation
CN206502756U (en) A kind of device of excess sludge mixture rubbish from cooking methane phase organic fertilizer
CN215209382U (en) An anaerobic fermentation device for kitchen waste
CN211946841U (en) A household type kitchen waste treatment device
CN206502754U (en) A kind of solar energy floor heating aerobic fermentation room
CN206156991U (en) Device of methane is produced to municipal waste water treatment plant excess sludge
CN210907370U (en) Organic refuse treatment waste heat recovery device
CN220239618U (en) Small-size kitchen garbage quick fermentation device
CN208004488U (en) A kind of novel hydrolysis acidification device
CN111718845A (en) Household garbage treatment system
CN205362200U (en) Garbage treatment device
CN116753526A (en) A system and method for collaborative disposal of urban pollutants with garbage incinerators
CN211814428U (en) Normal temperature anaerobic treatment system in biochemical synthesis
CN202519134U (en) Modular device for treating sources of domestic garbage and sewage
CN212525390U (en) Ecological remediation system for refuse landfill
CN210115126U (en) Household garbage processor
CN206273814U (en) A kind of organic solid waste processing device
CN201404850Y (en) Wet decomposition reactor for domestic garbage
CN206188486U (en) Waste mash processing system

Legal Events

Date Code Title Description
GR01 Patent grant
GR01 Patent grant