CN214746974U - Drying and dehydration device for anhydrous catalyst - Google Patents

Drying and dehydration device for anhydrous catalyst Download PDF

Info

Publication number
CN214746974U
CN214746974U CN202121214669.2U CN202121214669U CN214746974U CN 214746974 U CN214746974 U CN 214746974U CN 202121214669 U CN202121214669 U CN 202121214669U CN 214746974 U CN214746974 U CN 214746974U
Authority
CN
China
Prior art keywords
barrel body
drying
base
fixed
connecting rod
Prior art date
Legal status (The legal status is an assumption and is not a legal conclusion. Google has not performed a legal analysis and makes no representation as to the accuracy of the status listed.)
Expired - Fee Related
Application number
CN202121214669.2U
Other languages
Chinese (zh)
Inventor
朱留彦
李军
张涛
张义新
Current Assignee (The listed assignees may be inaccurate. Google has not performed a legal analysis and makes no representation or warranty as to the accuracy of the list.)
Shanghai Ding Su Fine Chemical Co ltd
Original Assignee
Shanghai Ding Su Fine Chemical Co ltd
Priority date (The priority date is an assumption and is not a legal conclusion. Google has not performed a legal analysis and makes no representation as to the accuracy of the date listed.)
Filing date
Publication date
Application filed by Shanghai Ding Su Fine Chemical Co ltd filed Critical Shanghai Ding Su Fine Chemical Co ltd
Priority to CN202121214669.2U priority Critical patent/CN214746974U/en
Application granted granted Critical
Publication of CN214746974U publication Critical patent/CN214746974U/en
Expired - Fee Related legal-status Critical Current
Anticipated expiration legal-status Critical

Links

Images

Landscapes

  • Drying Of Solid Materials (AREA)

Abstract

本实用新型公开了无水催化剂的烘干脱水装置,属于精细化工技术领域。无水催化剂的烘干脱水装置,包括风箱和底座,所述风箱内部安装有风机和发热网,所述底座顶部转动连接有桶体,所述桶体底部转动连接有连接杆,所述底座上表面安装有驱动部用于驱动所述连接杆进行转动;所述桶体内部转动连接有搅拌部,所述搅拌部包括安装至桶体一端面的驱动机构,所述驱动机构输出轴端贯穿桶体且固定有与桶体转动配合的搅拌轴,所述搅拌轴外表面等距周向固定有固定柱,所述固定柱远离搅拌轴一端固定有铲斗;本实用新型通过搅拌部、连接杆和驱动部的使用,解决了现有烘干装置原料容易堆积,烘干效率较低并且排料不彻底的问题。

Figure 202121214669

The utility model discloses a drying and dehydrating device for anhydrous catalysts, which belongs to the technical field of fine chemicals. The drying and dehydrating device for anhydrous catalyst includes a bellows and a base, a fan and a heating net are installed inside the bellows, a barrel is rotatably connected to the top of the base, and a connecting rod is rotatably connected to the bottom of the barrel. A driving part is installed on the surface to drive the connecting rod to rotate; a stirring part is connected in rotation inside the barrel, and the stirring part includes a driving mechanism installed on one end face of the barrel, and the output shaft end of the driving mechanism penetrates the barrel The outer surface of the stirring shaft is fixed with a fixed column at an equal distance in the circumferential direction, and a bucket is fixed at one end of the fixed column away from the stirring shaft; the utility model adopts the stirring part and the connecting rod And the use of the driving part solves the problems of easy accumulation of raw materials in the existing drying device, low drying efficiency and incomplete discharge.

Figure 202121214669

Description

Drying and dewatering device for anhydrous catalyst
Technical Field
The utility model relates to a fine chemistry industry technical field especially relates to anhydrous catalyst's stoving dewatering device.
Background
The Friedel-crafts acylation reaction is a very common reaction type in fine chemical engineering, solid catalysts such as aluminum trichloride and zinc chloride are usually added in the Friedel-crafts reaction, and the solid catalysts are particularly easy to absorb moisture, so that the catalysts are changed into sticky solids from powder, the feeding and actual reaction effects of the catalysts are influenced, and the anhydrous catalysts can be dehydrated and dried if necessary.
When the existing drying device dries the catalyst, the catalyst inside the barrel body is easy to stack, the insufficient drying efficiency of local raw material drying is low, and the existing drying device is difficult to thoroughly discharge the catalyst after the catalyst is dried, so that the raw material residue is easy to cause and the cleaning is difficult.
Through the retrieval, chinese patent application No. 201921344630.5 discloses a drying device for catalyst production, including the stoving main part, one side of stoving main part is provided with blast pipe and loading hopper respectively, the one end of blast pipe is provided with bellows, one side of bellows is provided with the aspiration channel, the inside of bellows is provided with the fan, one side of fan is provided with the heating net, the bottom of bellows is provided with the support frame, the opposite side of stoving main part is provided with hydrofuge pipe and driving motor respectively, the inside of hydrofuge pipe is provided with the exhaust fan, driving motor's one end is provided with the motor shaft, the one end of motor shaft is provided with fixing bearing, the outside of motor shaft is provided with the stirring leaf, the bottom of stoving main part is provided with supporting leg and discharging pipe respectively. Through fan, the heating net that sets up, hydrofuge pipe, exhaust fan, driving motor and stirring leaf, reach the drying device's that has improved work efficiency and has improved drying device's stoving effect for catalyst stoving is more even. However, although the device stirs in the raw materials drying process, the catalyst raw materials that stir are piled up rapidly, cause some raw materials to be difficult to dry, and drying efficiency is low to when the device is dried and is passed through the discharging pipe ejection of compact at the raw materials, it is difficult to discharge the raw materials of staving inside all, causes some raw materials to remain easily.
SUMMERY OF THE UTILITY MODEL
The utility model aims at solving the problem that the raw material of the existing drying device is easy to accumulate, the drying efficiency is lower and the discharging is not thorough, and the drying and dehydrating device of the anhydrous catalyst is provided.
In order to achieve the above purpose, the utility model adopts the following technical scheme:
the drying and dehydrating device for the anhydrous catalyst comprises an air box and a base, wherein a fan and a heating net are installed inside the air box, the top of the base is rotatably connected with a barrel body, the bottom of the barrel body is rotatably connected with a connecting rod, and a driving part is installed on the upper surface of the base and used for driving the connecting rod to rotate; the stirring part is rotatably connected inside the barrel body and comprises a driving mechanism arranged on one end face of the barrel body, the output shaft end of the driving mechanism penetrates through the barrel body and is fixedly provided with a stirring shaft which is rotatably matched with the barrel body, fixing columns are circumferentially fixed on the outer surface of the stirring shaft at equal intervals, and a bucket is fixed at one end of each fixing column, which is far away from the stirring shaft; one side surface of the air box is communicated with the barrel body through a telescopic corrugated pipe.
In order to facilitate the charging and discharging operation of the barrel body, preferably, two end faces of the barrel body can be detachably connected with sealing covers, one end face of each sealing cover is fixedly provided with a charging pipe communicated with the barrel body, and the bottom of the barrel body is fixedly provided with a discharging pipe communicated with the barrel body.
In order to facilitate the rotation of the barrel body, preferably, two lug plates are fixed at the bottom of the barrel body, and one end of each lug plate is in running fit with the connecting rod.
In order to strengthen the stability of staving installation, it is further, base upper surface is fixed with the support column with otic placode normal running fit, base upper surface is fixed with the backup pad, the backup pad top is fixed with the arc bracing piece with staving matched with.
In order to facilitate driving the barrel body rotates, preferably, the output end of the driving part is rotatably connected with the connecting rod through a pin shaft, and the driving part is a hydraulic telescopic rod installed to the top of the base.
In order to improve the drying efficiency, furthermore, another a terminal surface of the closing cap is fixed with the wet pipe of row that is linked together with the staving, the exhaust fan is installed to wet pipe top, the bleeder pan bottom surface has evenly seted up the bleeder vent.
Compared with the prior art, the utility model provides a drying and dewatering device of anhydrous catalyst possesses following beneficial effect:
1. the utility model discloses, through the use of stirring portion, when stirring the inside raw materials of staving, shovel the raw materials of bottom surface in with the staving through the scraper bowl, the raw materials of being convenient for and hot-air contact, increase area of contact has improved drying efficiency, has shortened the stoving time, and it is abundant thorough to dry.
2. The utility model discloses, through the use of stirring portion, drive division, connecting rod and base, can lift up the staving slope, deuterogamy stirring portion, convenient with the inside raw materials discharge of staving, reduced the residual rate of the inside raw materials of staving, arrange the convenient thorough, simple structure, convenient operation, the practicality is strong.
Drawings
Fig. 1 is a schematic structural diagram of a drying and dewatering device for anhydrous catalyst provided by the present invention;
FIG. 2 is a schematic structural diagram of the base in FIG. 1;
FIG. 3 is a schematic structural view of the tub of FIG. 1;
fig. 4 is a schematic structural view of the stirring part in fig. 1.
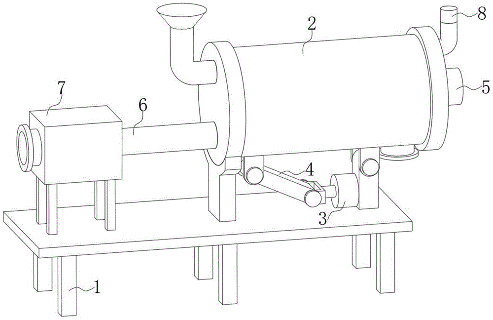
In the figure: 1. a base; 2. a barrel body; 3. a drive section; 4. a connecting rod; 5. a stirring section; 6. a bellows; 7. an air box; 8. an exhaust fan; 101. a support pillar; 102. a support plate; 103. an arc-shaped support rod; 201. sealing the cover; 202. a feed pipe; 203. a discharge pipe; 204. an ear plate; 205. a moisture removal pipe; 501. a drive mechanism; 502. a stirring shaft; 503. fixing a column; 504. a bucket; 505. and (4) air holes.
Detailed Description
The technical solutions in the embodiments of the present invention will be described clearly and completely with reference to the accompanying drawings in the embodiments of the present invention, and it is obvious that the described embodiments are only some embodiments of the present invention, not all embodiments.
In the description of the present invention, it is to be understood that the terms "upper", "lower", "front", "rear", "left", "right", "top", "bottom", "inner", "outer", and the like indicate orientations or positional relationships based on the orientations or positional relationships shown in the drawings, and are only for convenience of description and simplicity of description, and do not indicate or imply that the device or element being referred to must have a particular orientation, be constructed and operated in a particular orientation, and therefore, should not be construed as limiting the present invention.
Example (b):
referring to fig. 1-4, the drying and dehydrating device for the anhydrous catalyst comprises an air box 7 and a base 1, wherein a fan and a heating net are arranged inside the air box 7, the top of the base 1 is rotatably connected with a barrel body 2, the bottom of the barrel body 2 is rotatably connected with a connecting rod 4, and a driving part 3 is arranged on the upper surface of the base 1 and used for driving the connecting rod 4 to rotate.
The stirring part 5 is rotatably connected inside the barrel body 2, the stirring part 5 comprises a driving mechanism 501 mounted on one end face of the barrel body 2, the output shaft end of the driving mechanism 501 penetrates through the barrel body 2 and is fixedly provided with a stirring shaft 502 which is rotatably matched with the barrel body 2, fixing columns 503 are circumferentially fixed on the outer surface of the stirring shaft 502 at equal intervals, and a bucket 504 is fixed at one end of each fixing column 503, which is far away from the stirring shaft 502; air holes 505 are uniformly formed in the inner bottom surface of the bucket 504; one side surface of the air box 7 is communicated with the barrel body 2 through a telescopic corrugated pipe 6.
Two end faces of the barrel body 2 can be detachably connected with sealing covers 201, one end face of one sealing cover 201 is fixedly provided with a feeding pipe 202 communicated with the barrel body 2, and the bottom of the barrel body 2 is fixedly provided with a discharging pipe 203 communicated with the barrel body 2; two ear plates 204 are fixed at the bottom of the barrel body 2, one end of one ear plate 204 is in running fit with the connecting rod 4, a humidity exhaust pipe 205 communicated with the barrel body 2 is fixed on one end face of the other sealing cover 201, and the top end of the humidity exhaust pipe 205 is provided with the exhaust fan 8.
The upper surface of the base 1 is fixedly provided with a support column 101 which is rotationally matched with the ear plate 204, the upper surface of the base 1 is fixedly provided with a support plate 102, and the top of the support plate 102 is fixedly provided with an arc-shaped support rod 103 which is matched with the barrel body 2; the output end of the driving part 3 is rotationally connected with the connecting rod 4 through a pin shaft, and the driving part 3 is a hydraulic telescopic rod arranged at the top of the base 1; the air box 7, the driving mechanism 501, the driving part 3 and the exhaust fan 8 are all electrically connected with a power supply.
In the utility model, when in use, the catalyst raw material is added into the barrel body 2 through the inlet pipe 202, then the power is turned on, the hot air is guided into the barrel body 2 through the telescopic bellows 6 by the fan and the heating net, then the driving mechanism 501 is used for driving the stirring shaft 502 to rotate and further driving the scraper bucket 504 to rotate, the raw material on the inner bottom surface of the barrel body 2 is conveyed to a high position through the scraper bucket 504 to fall down to avoid the raw material accumulation to cause partial insufficient drying, moreover, the contact area of the raw material and the hot air can be increased by the mode to improve the drying efficiency, the wet air is discharged through the moisture exhaust pipe 205 and the exhaust fan 8 in the drying process, after the raw material drying is completed, the driving part 3 is used for driving the connecting rod 4 to lift one end of the barrel body 2, in the lifting process of the barrel body 2, the telescopic bellows 6 is extended, the barrel body 2 is lifted to a certain height and then stopped, then the driving mechanism 501 is used for driving the stirring shaft 502 to rotate and further driving the scraper bucket 504 to shovel the raw material, because staving 2 is the slope form, the raw materials falls to near discharging pipe 203 and discharges through discharging pipe 203 for the inside raw materials of staving 2 are discharged thoroughly relatively, and the raw materials remains the rate low.
The above, only be the concrete implementation of the preferred embodiment of the present invention, but the protection scope of the present invention is not limited thereto, and any person skilled in the art is in the technical scope of the present invention, according to the technical solution of the present invention and the utility model, the concept of which is equivalent to replace or change, should be covered within the protection scope of the present invention.

Claims (6)

1. Anhydrous catalyst's stoving dewatering device, including bellows (7) and base (1), bellows (7) internally mounted has fan and heating network, its characterized in that: the top of the base (1) is rotatably connected with a barrel body (2), the bottom of the barrel body (2) is rotatably connected with a connecting rod (4), and a driving part (3) is arranged on the upper surface of the base (1) and used for driving the connecting rod (4) to rotate; the stirring part (5) is rotatably connected inside the barrel body (2), the stirring part (5) comprises a driving mechanism (501) mounted on one end face of the barrel body (2), the output shaft end of the driving mechanism (501) penetrates through the barrel body (2) and is fixedly provided with a stirring shaft (502) which is rotatably matched with the barrel body (2), fixing columns (503) are circumferentially fixed on the outer surface of the stirring shaft (502) at equal intervals, and a bucket (504) is fixed at one end, far away from the stirring shaft (502), of each fixing column (503); one side surface of the air box (7) is communicated with the barrel body (2) through a telescopic corrugated pipe (6).
2. The drying and dehydrating device of the anhydrous catalyst according to claim 1, characterized in that: both ends of the barrel body (2) can be detachably connected with sealing covers (201), one end face of each sealing cover (201) is fixedly provided with a feeding pipe (202) communicated with the barrel body (2), and the bottom of the barrel body (2) is fixedly provided with a discharging pipe (203) communicated with the barrel body (2).
3. The drying and dehydrating device of the anhydrous catalyst according to claim 1, characterized in that: two ear plates (204) are fixed at the bottom of the barrel body (2), wherein one end of each ear plate (204) is in running fit with the connecting rod (4).
4. The drying and dehydrating device of the anhydrous catalyst according to claim 3, characterized in that: the support column (101) with otic placode (204) normal running fit is fixed with to base (1) upper surface, base (1) upper surface is fixed with backup pad (102), backup pad (102) top is fixed with arc bracing piece (103) with staving (2) matched with.
5. The drying and dehydrating device of the anhydrous catalyst according to claim 1, characterized in that: the output end of the driving part (3) is rotatably connected with the connecting rod (4) through a pin shaft, and the driving part (3) is a hydraulic telescopic rod installed at the top of the base (1).
6. The drying and dehydrating device of the anhydrous catalyst according to claim 2, characterized in that: and the other end face of the sealing cover (201) is fixedly provided with a moisture exhaust pipe (205) communicated with the barrel body (2), the top end of the moisture exhaust pipe (205) is provided with an exhaust fan (8), and the inner bottom surface of the bucket (504) is uniformly provided with air holes (505).
CN202121214669.2U 2021-06-02 2021-06-02 Drying and dehydration device for anhydrous catalyst Expired - Fee Related CN214746974U (en)

Priority Applications (1)

Application Number Priority Date Filing Date Title
CN202121214669.2U CN214746974U (en) 2021-06-02 2021-06-02 Drying and dehydration device for anhydrous catalyst

Applications Claiming Priority (1)

Application Number Priority Date Filing Date Title
CN202121214669.2U CN214746974U (en) 2021-06-02 2021-06-02 Drying and dehydration device for anhydrous catalyst

Publications (1)

Publication Number Publication Date
CN214746974U true CN214746974U (en) 2021-11-16

Family

ID=78627315

Family Applications (1)

Application Number Title Priority Date Filing Date
CN202121214669.2U Expired - Fee Related CN214746974U (en) 2021-06-02 2021-06-02 Drying and dehydration device for anhydrous catalyst

Country Status (1)

Country Link
CN (1) CN214746974U (en)

Similar Documents

Publication Publication Date Title
CN214746974U (en) Drying and dehydration device for anhydrous catalyst
CN208042680U (en) A kind of dryer for chemical industry
CN201041458Y (en) Self-controlled vertical type drying machine
CN211373065U (en) Drum drying machine for various materials
CN201520711U (en) Grinding roller spiral plate scraper biochemical sludge dryer
CN210718556U (en) Drying device is used in preparation of fire-retardant wood-plastic composite
CN213873561U (en) Drying-machine for dry effectual ready-mixed mortar
CN207351078U (en) A kind of multiple field steel mesh transmits dryer
CN212638588U (en) Chemical industry storage kettle
CN215176786U (en) Roller belt type drying machine
CN210832881U (en) Drying device for cement dry-method production
CN219656492U (en) Rotary quick dryer
CN214307991U (en) Building material drying device
CN210602474U (en) Low mercury catalyst horizontal drier
CN211334144U (en) Vertical plastic dewatering and drying integrated machine
CN211424928U (en) Drum-type chemical material high temperature drying device
CN209068906U (en) A kind of feed dryer
CN222824724U (en) An activated carbon drying furnace
CN216115273U (en) Dry dewatering device is used in lithium iron phosphate production and processing
CN217275276U (en) Dryer for processing flucytosine
CN220750623U (en) Labor-saving dehydrator
CN215766209U (en) Novel low-temperature rotary flash evaporation dryer
CN215864452U (en) High-performance single-cone dryer
CN111359492A (en) Mixer for multi-alloy casting and working method thereof
CN219735939U (en) Adjustable scraper device for roller scraper dryer

Legal Events

Date Code Title Description
GR01 Patent grant
GR01 Patent grant
CF01 Termination of patent right due to non-payment of annual fee
CF01 Termination of patent right due to non-payment of annual fee

Granted publication date: 20211116