CN214718086U - Circular screen multi-color-register flocking machine - Google Patents

Circular screen multi-color-register flocking machine Download PDF

Info

Publication number
CN214718086U
CN214718086U CN202022712394.7U CN202022712394U CN214718086U CN 214718086 U CN214718086 U CN 214718086U CN 202022712394 U CN202022712394 U CN 202022712394U CN 214718086 U CN214718086 U CN 214718086U
Authority
CN
China
Prior art keywords
main body
flocking machine
color
flocking
rotary
Prior art date
Legal status (The legal status is an assumption and is not a legal conclusion. Google has not performed a legal analysis and makes no representation as to the accuracy of the status listed.)
Expired - Fee Related
Application number
CN202022712394.7U
Other languages
Chinese (zh)
Inventor
刘建岗
Current Assignee (The listed assignees may be inaccurate. Google has not performed a legal analysis and makes no representation or warranty as to the accuracy of the list.)
Changzhou New Area Longsheng Flocking Material Co ltd
Original Assignee
Changzhou New Area Longsheng Flocking Material Co ltd
Priority date (The priority date is an assumption and is not a legal conclusion. Google has not performed a legal analysis and makes no representation as to the accuracy of the date listed.)
Filing date
Publication date
Application filed by Changzhou New Area Longsheng Flocking Material Co ltd filed Critical Changzhou New Area Longsheng Flocking Material Co ltd
Priority to CN202022712394.7U priority Critical patent/CN214718086U/en
Application granted granted Critical
Publication of CN214718086U publication Critical patent/CN214718086U/en
Expired - Fee Related legal-status Critical Current
Anticipated expiration legal-status Critical

Links

Images

Landscapes

  • Combined Means For Separation Of Solids (AREA)

Abstract

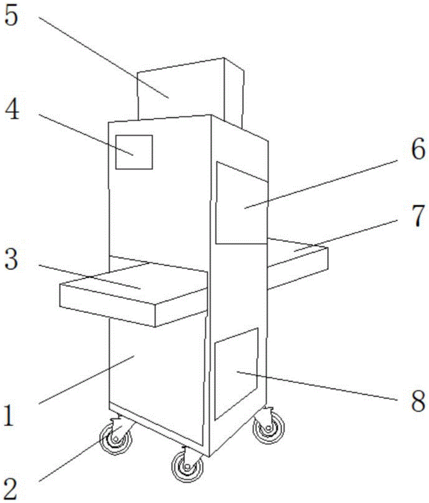
本实用新型公开了一种圆网多套色植绒机,包括主体,所述主体的下端外表面设置有移动结构,所述移动结构包括连接块、防护片、转动轴、滚轮,所述主体的一侧外表面设置有送料斗,所述送料斗的上方设置有控制面板,所述主体的上端外表面设置有运行电机,所述主体的前端外表面设置有上色装置,所述上色装置包括圆网轴、固定块、连接台、安装底座,所述主体的另一侧外表面设置有出料斗,涉及植绒机技术领域。该一种圆网多套色植绒机,可以更加方便移动植绒机,就可以省去在搬运植绒机时的很多不便,还能节约大量的工作时间,可以提高工作效率,并且该新型圆网多套色植绒机还可以圆网多套色植绒带来更好的使用前景。

Figure 202022712394

The utility model discloses a rotary mesh multi-color flocking machine, which comprises a main body, the outer surface of the lower end of the main body is provided with a moving structure, and the moving structure comprises a connecting block, a protective sheet, a rotating shaft and a roller. A feeding hopper is arranged on the outer surface of one side, a control panel is arranged above the feeding hopper, a running motor is arranged on the outer surface of the upper end of the main body, and a coloring device is arranged on the outer surface of the front end of the main body. The utility model comprises a circular screen shaft, a fixing block, a connecting table, and a mounting base, and a discharge hopper is arranged on the outer surface of the other side of the main body, and relates to the technical field of flocking machines. The rotary mesh multi-color flocking machine can move the flocking machine more conveniently, save a lot of inconvenience when handling the flocking machine, save a lot of work time, and improve work efficiency. The mesh multi-color flocking machine can also bring a better prospect of use for the circular mesh multi-color flocking.

Figure 202022712394

Description

Circular screen multi-color-register flocking machine
Technical Field
The utility model relates to a flocking machine technical field specifically is a many chromatic flocking machines of mould.
Background
The flocking machine is also called as a high-voltage electrostatic generator, namely a machine for producing flocking products by utilizing the principle of electrostatic flocking, the principle is that the physical characteristics that like charges repel each other and opposite charges attract each other are utilized, fluff is attracted by plant bodies by different potentials and flies to the surface of an object needing flocking in a vertical accelerating manner for flocking, but the traditional flocking machine has no better moving structure and is very inconvenient to move, a great deal of time is wasted before the flocking machine is carried and used, the working process is delayed, the traditional flocking machine cannot realize multi-color-set flocking of a circular screen, the flocking effect is not ideal, the color tone is single, the running speed is slow, the flocking machine is not popular with the masses, and a large amount of waste flocking remains in the flocking machine after the flocking machine runs, so that subsequent flocking of the flocking machine is influenced, the neatness of the flocking is greatly reduced, and the rotary screen multi-color-set flocking machine is provided.
SUMMERY OF THE UTILITY MODEL
An object of the utility model is to provide a mould multicolor flocking machine to solve the problem that proposes among the above-mentioned background art.
In order to achieve the above object, the utility model provides a following technical scheme: the utility model provides a many chromatography of mould flocking machine, includes the main part, the lower extreme surface of main part is provided with the removal structure, the removal structure includes connecting block, protection piece, axis of rotation, gyro wheel, one side surface of main part is provided with the hopper, the top of hopper is provided with control panel, the upper end surface of main part is provided with the operation motor, the front end surface of main part is provided with the device of coloring, the device of coloring includes mould axle, fixed block, connection platform, installation base, the opposite side surface of main part is provided with out the hopper, the below of coloring the device is provided with except that the fine hair device, except that the fine hair device includes rotatory brush, filtration reagent, blast pipe, collection fine hair box.
Preferably, the connecting block is located on the outer surface of one side of the protection sheet, the protection sheet is located on the outer surface of one side of the rotating shaft, and the rotating shaft is located on the outer surface of one side of the roller.
Preferably, the cylinder shaft is located on the outer surface of one side of the fixed block, the fixed block is located on the outer surface of the upper end of the connecting table, and the outer surface of the lower end of the connecting table is fixedly connected with the outer surface of the upper end of the mounting base.
Preferably, the rotary brush is arranged on the outer surface of one side of the filtering agent, the filtering agent is arranged on the outer surface of one side of the exhaust pipe, and the exhaust pipe is arranged on the outer surface of one side of the flock collecting box.
Preferably, the outer surface of the lower end of the connecting block is detachably connected with the outer surface of one side of the protecting sheet, the outer surface of the other side of the protecting sheet is movably connected with the outer surface of one side of the rotating shaft, and the outer surface of the other side of the rotating shaft is movably connected with the outer surface of one side of the roller.
Preferably, the outer surface of one side of the cylinder mould shaft is movably connected with the outer surface of one side of the fixed block, the outer surface of the lower end of the fixed block is fixedly connected with the outer surface of the upper end of the connecting table, and the outer surface of the lower end of the connecting table is fixedly connected with the outer surface of the upper end of the mounting base.
Preferably, the outer surface of one side of the rotary brush is movably connected with the outer surface of one side of the filtering reagent, the outer surface of the other side of the filtering reagent is fixedly connected with the outer surface of one side of the exhaust pipe, and the outer surface of the other side of the exhaust pipe is fixedly connected with the outer surface of one side of the flock collecting box.
Compared with the prior art, the beneficial effects of the utility model are that: this kind of many chromatography of rotary screen flocking machine, through the removal structure who sets up, the device of coloring, it can more conveniently remove the flocking machine to remove the fine hair device, just can save a lot of inconvenience when carrying the flocking machine, can also practice thrift a large amount of operating time, can improve work efficiency, and this novel many chromatography of rotary screen flocking machine can also many chromatography of rotary screen flocking, more colors have been increased, not only singly transfer let the effect that the flocking came out better than liked by the masses, and operating speed is also faster, this novel many chromatography of rotary screen flocking can also all clean up the waste fine hair of the inside when the flocking finishes, just so can improve the clean degree of the flocking, let the effect reach best.
Drawings
Fig. 1 is a schematic view of the overall structure of the present invention;
fig. 2 is a schematic diagram of the moving structure of the present invention;
FIG. 3 is a schematic view of the coloring device of the present invention;
fig. 4 is a schematic view of the lint removing device of the present invention.
In the figure: 1. the main part, 2, removal structure, 201, connecting block, 202, protection piece, 203, axis of rotation, 204, gyro wheel, 3, hopper, 4, control panel, 5, operation motor, 6, the device of coloring, 601, cylinder mould axle, 602, fixed block, 603, connection platform, 604, installation base, 7, play hopper, 8, remove fine hair device, 801, rotatory brush, 802, filtering agent, 803, blast pipe, 804, collection fine hair box.
Detailed Description
The technical solutions in the embodiments of the present invention will be described clearly and completely with reference to the accompanying drawings in the embodiments of the present invention, and it is obvious that the described embodiments are only some embodiments of the present invention, not all embodiments. Based on the embodiments in the present invention, all other embodiments obtained by a person skilled in the art without creative work belong to the protection scope of the present invention.
Referring to fig. 1-4, the present invention provides a technical solution: the utility model provides a many chromatography flocking machines of mould, including main part 1, the lower extreme surface of main part 1 is provided with removal structure 2, removal structure 2 includes connecting block 201, protection piece 202, axis of rotation 203, gyro wheel 204, one side surface of main part 1 is provided with hopper 3, hopper 3's top is provided with control panel 4, the upper end surface of main part 1 is provided with operation motor 5, the front end surface of main part 1 is provided with the device of coloring 6, the device of coloring 6 includes mould axle 601, fixed block 602, connecting platform 603, installation base 604, the opposite side surface of main part 1 is provided with out hopper 7, the below of the device of coloring 6 is provided with except that fine hair device 8, it includes rotatory brush 801 to remove fine hair device 8, filter reagent 802, blast pipe 803, collection fine hair box 804. The connecting block 201 is located the one side surface of protection piece 202, and the protection piece 202 is located the one side surface of axis of rotation 203, and axis of rotation 203 is located the one side surface of gyro wheel 204, uses simple and convenient more. The cylinder shaft 601 is located on the outer surface of one side of the fixing block 602, the fixing block 602 is located on the outer surface of the upper end of the connecting table 603, the outer surface of the lower end of the connecting table 603 is fixedly connected with the outer surface of the upper end of the mounting base 604, and multiple-color flocking can be achieved. The rotary brush 801 is positioned on the outer surface of one side of the filtering reagent 802, the filtering reagent 802 is positioned on the outer surface of one side of the exhaust pipe 803, and the exhaust pipe 803 is positioned on the outer surface of one side of the flock collecting box 804, so that waste flock can be better treated. The outer surface of the lower end of the connecting block 201 is detachably connected with the outer surface of one side of the protection sheet 202, the outer surface of the other side of the protection sheet 202 is movably connected with the outer surface of one side of the rotating shaft 203, and the outer surface of the other side of the rotating shaft 203 is movably connected with the outer surface of one side of the roller 204, so that the normal operation of the flocking machine can be ensured. The outer surface of one side of the circular screen shaft 601 is movably connected with the outer surface of one side of the fixed block 602, the outer surface of the lower end of the fixed block 602 is fixedly connected with the outer surface of the upper end of the connecting table 603, the outer surface of the lower end of the connecting table 603 is fixedly connected with the outer surface of the upper end of the mounting base 604, and the color is not monotonous. The outer surface of one side of the rotary brush 801 is movably connected with the outer surface of one side of the filtering reagent 802, the outer surface of the other side of the filtering reagent 802 is fixedly connected with the outer surface of one side of the exhaust pipe 803, and the outer surface of the other side of the exhaust pipe 803 is fixedly connected with the outer surface of one side of the flock collecting box 804, so that the using effect is improved.
The working principle is as follows: the application patent comprises a main body 1, a moving structure 2, a connecting block 201, a protective sheet 202, a rotating shaft 203, a roller 204, a feeding hopper 3, a control panel 4, an operating motor 5, a coloring device 6, a cylinder shaft 601, a fixed block 602, a connecting table 603, a mounting base 604, a discharging hopper 7, a down removing device 8, a rotating brush 801, a filtering reagent 802, an exhaust pipe 803, a down collecting box 804 and other components, wherein the connecting block 201 is firstly mounted and fixed with the main body 1 through mounting screws, then the mounting base 604 is mounted and fixed with the main body 1, the down removing device 8 is fixed with the main body 1, the main body 1 is firstly moved to a working place through the moving structure 2, the rotating shaft 203 and the roller 204 are connected by the protective sheet 202, the roller 204 drives the main body 1 to move, the main body 1 is started by operating the control panel 4 before use, the down is fed into the main body 1 from the feeding hopper 3 under the action of the operating motor 5 to be processed by the coloring device 6, fixed block 602 on the connection platform 603 is fixed to rotate colored cylinder mould axle 601, and many chromatography flocking effects are better, send out by play hopper 7 after the processing is good again, and remaining useless fine hair can be collected by removing fine hair device 8, rotates by rotatory brush 801 and absorbs air from blast pipe 803 discharge after filtering reagent 802, and useless fine hair is collected collection fine hair box 804, has guaranteed the normal operating of flocking machine.
Although embodiments of the present invention have been shown and described, it will be appreciated by those skilled in the art that changes, modifications, substitutions and alterations can be made in these embodiments without departing from the principles and spirit of the invention, the scope of which is defined in the appended claims and their equivalents.

Claims (7)

1.一种圆网多套色植绒机,包括主体(1),其特征在于:所述主体(1)的下端外表面设置有移动结构(2),所述移动结构(2)包括连接块(201)、防护片(202)、转动轴(203)、滚轮(204),所述主体(1)的一侧外表面设置有送料斗(3),所述送料斗(3)的上方设置有控制面板(4),所述主体(1)的上端外表面设置有运行电机(5),所述主体(1)的前端外表面设置有上色装置(6),所述上色装置(6)包括圆网轴(601)、固定块(602)、连接台(603)、安装底座(604),所述主体(1)的另一侧外表面设置有出料斗(7),所述上色装置(6)的下方设置有除绒装置(8),所述除绒装置(8)包括旋转毛刷(801)、过滤试剂(802)、排气管(803)、集绒盒(804)。1. A rotary mesh multi-color flocking machine, comprising a main body (1), characterized in that: the outer surface of the lower end of the main body (1) is provided with a moving structure (2), and the moving structure (2) comprises a connecting block (201), a protective sheet (202), a rotating shaft (203), a roller (204), a feeding hopper (3) is provided on one outer surface of the main body (1), and the upper part of the feeding hopper (3) is provided There is a control panel (4), a running motor (5) is provided on the outer surface of the upper end of the main body (1), a coloring device (6) is provided on the outer surface of the front end of the main body (1), and the coloring device ( 6) It includes a circular screen shaft (601), a fixing block (602), a connecting table (603), and a mounting base (604). The other side outer surface of the main body (1) is provided with a discharge hopper (7). A lint removal device (8) is arranged below the coloring device (6), and the lint removal device (8) comprises a rotary brush (801), a filter reagent (802), an exhaust pipe (803), a lint collecting box (801) 804). 2.根据权利要求1所述的一种圆网多套色植绒机,其特征在于:所述连接块(201)位于防护片(202)的一侧外表面,所述防护片(202)位于转动轴(203)的一侧外表面,所述转动轴(203)位于滚轮(204)的一侧外表面。2. A rotary mesh multi-color flocking machine according to claim 1, characterized in that: the connecting block (201) is located on one side outer surface of the protective sheet (202), and the protective sheet (202) is located on the outer surface of one side of the protective sheet (202). One side outer surface of the rotating shaft (203), the rotating shaft (203) is located on one side outer surface of the roller (204). 3.根据权利要求1所述的一种圆网多套色植绒机,其特征在于:所述圆网轴(601)位于固定块(602)的一侧外表面,所述固定块(602)位于连接台(603)的上端外表面,所述连接台(603)的下端外表面与安装底座(604)的上端外表面固定连接。3. A rotary screen multi-color flocking machine according to claim 1, characterized in that: the rotary screen shaft (601) is located on one side outer surface of a fixed block (602), and the fixed block (602) It is located on the outer surface of the upper end of the connection table (603), and the outer surface of the lower end of the connection table (603) is fixedly connected with the outer surface of the upper end of the installation base (604). 4.根据权利要求1所述的一种圆网多套色植绒机,其特征在于:所述旋转毛刷(801)位于过滤试剂(802)的一侧外表面,所述过滤试剂(802)位于排气管(803)的一侧外表面,所述排气管(803)位于集绒盒(804)的一侧外表面。4. A rotary mesh multi-color flocking machine according to claim 1, characterized in that: the rotary brush (801) is located on the outer surface of one side of the filter reagent (802), and the filter reagent (802) It is located on one side outer surface of the exhaust pipe (803), and the exhaust pipe (803) is located on one side outer surface of the flock box (804). 5.根据权利要求2所述的一种圆网多套色植绒机,其特征在于:所述连接块(201)的下端外表面与防护片(202)的一侧外表面可拆卸连接,所述防护片(202)的另一侧外表面与转动轴(203)的一侧外表面活动连接,所述转动轴(203)的另一侧外表面与滚轮(204)的一侧外表面活动连接。5. A rotary mesh multi-color flocking machine according to claim 2, characterized in that: the outer surface of the lower end of the connecting block (201) is detachably connected to the outer surface of one side of the protective sheet (202), so The outer surface of the other side of the protective sheet (202) is movably connected to the outer surface of one side of the rotating shaft (203), and the outer surface of the other side of the rotating shaft (203) is movable to the outer surface of the one side of the roller (204). connect. 6.根据权利要求3所述的一种圆网多套色植绒机,其特征在于:所述圆网轴(601)的一侧外表面与固定块(602)的一侧外表面活动连接,所述固定块(602)的下端外表面与连接台(603)的上端外表面固定连接。6. A rotary screen multi-color flocking machine according to claim 3, characterized in that: one side outer surface of the rotary screen shaft (601) is movably connected with one side outer surface of the fixing block (602), The outer surface of the lower end of the fixing block (602) is fixedly connected with the outer surface of the upper end of the connection table (603). 7.根据权利要求3所述的一种圆网多套色植绒机,其特征在于:所述旋转毛刷(801)的一侧外表面与过滤试剂(802)的一侧外表面活动连接,所述过滤试剂(802)的另一侧外表面与排气管(803)的一侧外表面固定连接,所述排气管(803)的另一侧外表面与集绒盒(804)的一侧外表面固定连接。7. A kind of rotary screen multi-color flocking machine according to claim 3, characterized in that: one side outer surface of the rotating brush (801) is movably connected with one side outer surface of the filter reagent (802), The outer surface of the other side of the filter reagent (802) is fixedly connected with the outer surface of one side of the exhaust pipe (803), and the outer surface of the other side of the exhaust pipe (803) is connected to the outer surface of the flock box (804). The outer surface of one side is fixedly connected.
CN202022712394.7U 2020-11-22 2020-11-22 Circular screen multi-color-register flocking machine Expired - Fee Related CN214718086U (en)

Priority Applications (1)

Application Number Priority Date Filing Date Title
CN202022712394.7U CN214718086U (en) 2020-11-22 2020-11-22 Circular screen multi-color-register flocking machine

Applications Claiming Priority (1)

Application Number Priority Date Filing Date Title
CN202022712394.7U CN214718086U (en) 2020-11-22 2020-11-22 Circular screen multi-color-register flocking machine

Publications (1)

Publication Number Publication Date
CN214718086U true CN214718086U (en) 2021-11-16

Family

ID=78618028

Family Applications (1)

Application Number Title Priority Date Filing Date
CN202022712394.7U Expired - Fee Related CN214718086U (en) 2020-11-22 2020-11-22 Circular screen multi-color-register flocking machine

Country Status (1)

Country Link
CN (1) CN214718086U (en)

Similar Documents

Publication Publication Date Title
CN106422888A (en) Mixing device of silk-screen ink
CN207958765U (en) Shearing machine
CN113085435B (en) Painting brush self-cleaning device for fine arts
CN214718086U (en) Circular screen multi-color-register flocking machine
CN219355583U (en) Cloth bag dust collector of convenient change filter bag
CN211542892U (en) Dust collector for printing machine
CN112317371A (en) Cleaning and maintaining system for computer hardware
CN205851496U (en) A kind of weaving energy-saving dedusting filter screen inhales arm
CN209424139U (en) A kind of hollow hollowed-out board processing rear surface dust cleaning device
CN213701031U (en) Seed belt cleaning device for forestry
CN216824188U (en) Fine hair remover for polygonum bulbiferum
CN117644004A (en) Down jacket anti-radiation fabric coating device
CN214646784U (en) Drying mechanism of gravure printing machine for printing decorative paper
CN210938575U (en) Crystal polishing device capable of collecting scraps
CN211621401U (en) Environmental sanitation sweeper
CN115125719A (en) Electrostatic dust removal device for blended double-layer polyester-viscose elastic fabric
CN210481726U (en) Dyeing device with automatic tiling function
CN111515166A (en) Fly ash processing device for biomass particle processing
CN209649761U (en) A kind of environmental protection stable type cloth printing equipment
CN207953525U (en) Cylinder screen-dividing machine
CN223097301U (en) Energy-saving and environment-friendly powder screening machine for industrial silicon crushing processing
CN220836068U (en) Ceramic powder deironing device
CN207929313U (en) A kind of flour mill of the Production of Ceramics with deironing apparatus
CN222473073U (en) Glass fiber filtering and soaking device for winding pipe manufacturing
CN222019207U (en) Blast furnace cloth bag dust remover

Legal Events

Date Code Title Description
GR01 Patent grant
GR01 Patent grant
CF01 Termination of patent right due to non-payment of annual fee
CF01 Termination of patent right due to non-payment of annual fee

Granted publication date: 20211116