CN214705574U - A cage stranding machine wire reel replacement device - Google Patents

A cage stranding machine wire reel replacement device Download PDF

Info

Publication number
CN214705574U
CN214705574U CN202120957509.0U CN202120957509U CN214705574U CN 214705574 U CN214705574 U CN 214705574U CN 202120957509 U CN202120957509 U CN 202120957509U CN 214705574 U CN214705574 U CN 214705574U
Authority
CN
China
Prior art keywords
drum
limit baffle
support frame
connecting plate
replacement
Prior art date
Legal status (The legal status is an assumption and is not a legal conclusion. Google has not performed a legal analysis and makes no representation as to the accuracy of the status listed.)
Expired - Fee Related
Application number
CN202120957509.0U
Other languages
Chinese (zh)
Inventor
周先青
袁成
顾仁桂
朱仕峰
Current Assignee (The listed assignees may be inaccurate. Google has not performed a legal analysis and makes no representation or warranty as to the accuracy of the list.)
Hefei Zhuoxu Machinery Equipment Co ltd
Original Assignee
Hefei Zhuoxu Machinery Equipment Co ltd
Priority date (The priority date is an assumption and is not a legal conclusion. Google has not performed a legal analysis and makes no representation as to the accuracy of the date listed.)
Filing date
Publication date
Application filed by Hefei Zhuoxu Machinery Equipment Co ltd filed Critical Hefei Zhuoxu Machinery Equipment Co ltd
Priority to CN202120957509.0U priority Critical patent/CN214705574U/en
Application granted granted Critical
Publication of CN214705574U publication Critical patent/CN214705574U/en
Expired - Fee Related legal-status Critical Current
Anticipated expiration legal-status Critical

Links

Images

Landscapes

  • Replacing, Conveying, And Pick-Finding For Filamentary Materials (AREA)

Abstract

本实用新型公开了一种笼绞机线盘更换装置,包括支撑架、线盘提升组件、替换线盘、线盘固定支架、限位挡板、笼绞机,所述支撑架固定在地面上且支撑架的上端设置加厚连接板并在板体底部设置导电条,所述线盘提升组件位与支撑架上部的加厚连接板下方且线盘提升组件的上端与加厚连接板的下表面滑动连接,所述替换线盘位于线盘提升组件的下方并通过线盘固定支架固定,所述线盘固定支架的一侧设置有限位挡板且限位挡板的底部固定在地面上,线盘固定支架的底部伸入限位挡板的下部并滑动连接在限位挡板的下部,所述笼绞机位于支撑架的加厚连接板的下方中部并通过支架支撑固定在地面上方。

Figure 202120957509

The utility model discloses a wire reel replacement device for a cage winch, which comprises a support frame, a wire reel lifting component, a replacement wire reel, a wire reel fixing bracket, a limit baffle, and a cage winch. The support frame is fixed on the ground And the upper end of the support frame is provided with a thickened connection plate and a conductive strip is arranged at the bottom of the plate body, the wire reel lift assembly is located below the thickened connection plate on the upper part of the support frame, and the upper end of the wire reel lift assembly is located below the thickened connection plate. Surface sliding connection, the replacement spool is located below the spool lifting assembly and is fixed by a spool fixing bracket, one side of the spool fixing bracket is provided with a limit baffle and the bottom of the limit baffle is fixed on the ground, The bottom of the wire reel fixing bracket extends into the lower part of the limit baffle and is slidably connected to the lower part of the limit baffle.

Figure 202120957509

Description

Wire coil replacing device of cage winch
Technical Field
The utility model relates to a cable generates equipment technical field, specifically is a device is changed to cage winch drum.
Background
In the production process of the cable, a plurality of wires need to be wound and twisted together to form a thick wire, and a cage stranding machine is needed in the process of stranding.
The wire coil serving as a raw material is required to be installed on a cage winch in the stranding process and can be stranded after being paid off by a paying-off mechanism, the wire coil needs to be replaced again after the raw material wire on the wire coil is used up, the wire coil is generally replaced manually in the conventional wire coil replacing process, but the wire coil with a part of wire coils is large in size and high in wire coil quality in a full-wire state, and the safety accidents such as damage and collision are caused easily due to huge labor intensity when workers encircle the wire coil, so that the wire coil is not suitable for production.
SUMMERY OF THE UTILITY MODEL
An object of the utility model is to provide a device is changed to cage winch drum to solve the problem that proposes among the above-mentioned background art.
In order to achieve the above object, the utility model provides a following technical scheme:
a wire coil replacing device of a cage winch, which comprises a supporting frame, a wire coil lifting assembly, a replacing wire coil, a wire coil fixing bracket, a limiting baffle and a cage winch, the supporting frame is fixed on the ground, the upper end of the supporting frame is provided with a thickening connecting plate, the bottom of the plate body is provided with a conductive bar, the wire coil lifting assembly is arranged below the thickening connecting plate at the upper part of the supporting frame, the upper end of the wire coil lifting assembly is connected with the lower surface of the thickening connecting plate in a sliding way, the replacement wire coil is positioned below the wire coil lifting assembly and is fixed by a wire coil fixing bracket, one side of the wire coil fixing bracket is provided with a limiting baffle, the bottom of the limiting baffle is fixed on the ground, the bottom of the wire coil fixing bracket extends into the lower part of the limiting baffle and is connected with the lower part of the limiting baffle in a sliding way, the cage winch is located in the middle of the lower portion of the thickening connecting plate of the supporting frame and is supported and fixed above the ground through the support.
As a further aspect of the present invention: the upper end of the wire coil lifting assembly is provided with a motor connected with the tail, a roller is arranged at the position of a motor rotating shaft, the roller can roll along the lower part of a thickened connecting plate of the support frame, a contact conductive block is arranged at the upper end of the connecting position of the tail of the motor for supplying power, the lower end of the wire coil lifting assembly is provided with a lifting claw group, and the two ends of the lifting claw group are used for grabbing the replacement wire coil, namely the electric telescopic claw and conducting electricity through the contact conductive block, and the grabbing end of the electric telescopic claw is subjected to insulation treatment.
As a further aspect of the present invention: the body both sides position of replacement drum all is provided with a plurality of lifting holes and the inner circle in every hole carries out wear-resisting parcel through the metal.
As a further aspect of the present invention: one side of the limiting baffle close to the replacing wire coil is set to be the same radian as the radius of the side plate of the replacing wire coil, and the bottom of the limiting baffle is provided with an inclined connecting plate and the position of the limiting baffle is the lowest end of the inclined connecting plate.
As a further aspect of the present invention: the lower parts of the two sides of the wire coil fixing support are connected through a bidirectional electric telescopic rod, and the distance between the two sides can be changed through the telescopic rod.
Compared with the prior art, the beneficial effects of the utility model are that:
the utility model discloses a setting of drum lifting unit can promote and remove the position that needs to change the drum through electric mode with the replacement drum, through the color lake of limit baffle and set up the slope and come the connecting plate, the workman can place the replacement drum in the eminence of slope connecting plate alright make its automatic roll to limit baffle prescription drum lifting unit snatch the change.
Drawings
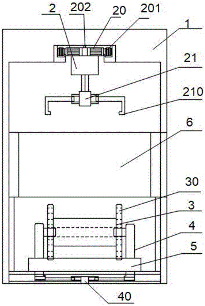
Fig. 1 is a schematic side view of a wire coil replacing device of a cage winch.
Fig. 2 is a schematic front view of a wire coil replacing device of a cage winch.
The figures in the drawings represent: the device comprises a support frame 1, a wire coil lifting assembly 2, a motor 20, a roller 201, a contact conductive block 202, a lifting claw group 21, an electric telescopic claw 210, a replacement wire coil 3, a lifting hole 30, a wire coil fixing support 4, a bidirectional electric telescopic rod 40, a limiting baffle 5, an inclined connecting plate 50 and a cage winch 6.
Detailed Description
The technical solutions in the embodiments of the present invention will be described clearly and completely with reference to the accompanying drawings in the embodiments of the present invention, and it is obvious that the described embodiments are only some embodiments of the present invention, not all embodiments. Based on the embodiments in the present invention, all other embodiments obtained by a person skilled in the art without creative work belong to the protection scope of the present invention.
Referring to fig. 1-2, in the embodiment of the present invention, a cage winch wire coil replacing device comprises a support frame 1, a wire coil lifting assembly 2, a replacing wire coil 3, a wire coil fixing bracket 4, a limiting baffle 5 and a cage winch 6, wherein the support frame 1 is fixed on the ground, the upper end of the support frame 1 is provided with a thickening connecting plate, the bottom of a plate body is provided with a conductive strip, the wire coil lifting assembly 2 is arranged below the thickening connecting plate on the upper portion of the support frame 1, the upper end of the wire coil lifting assembly 2 is slidably connected with the lower surface of the thickening connecting plate, the replacing wire coil 3 is arranged below the wire coil lifting assembly 2 and is fixed by the wire coil fixing bracket 4, one side of the wire coil fixing bracket 4 is provided with the limiting baffle 5, the bottom of the limiting baffle 5 is fixed on the ground, the bottom of the wire coil fixing bracket 4 extends into the lower portion of the limiting baffle 5 and is slidably connected with the lower portion of the limiting baffle 5, cage winch 6 is located the below middle part of the thickening connecting plate of support frame 1 and supports through the support and fixes above ground.
The upper end of wire coil lifting assembly 2 sets up the motor 20 that the afterbody links to each other and sets up gyro wheel 201 and gyro wheel in motor shaft position and can follow the lower part roll of the thickening connecting plate of support frame 1, and motor 20 end connection position upper end sets up contact conducting block 202 and supplies power, and the lower extreme position of wire coil lifting assembly 2 sets up and promotes claw group 21 and both ends and carry out the claw body of snatching to the replacement wire coil and be electronic flexible claw 210 and electrically conduct and carry out insulation processing to the end of snatching of electronic flexible claw 210 through contact conducting block 202.
The body both sides position of replacement drum 3 all is provided with a plurality of lifting holes 30 and the inner circle in every hole carries out wear-resisting parcel through the metal.
One side of the limit baffle 5 close to the replacement wire coil 3 is set to be the same radian as the radius of the side plate of the replacement wire coil, and the bottom of the limit baffle 5 is provided with an inclined connecting plate 50, and the position of the limit baffle 5 is the lowest end of the inclined connecting plate 50.
The lower parts of the two sides of the wire coil fixing support 4 are connected through a bidirectional electric telescopic rod 40, and the distance between the two sides can be changed through the telescopic rod.
The utility model discloses a theory of operation is:
the utility model discloses place replacement drum 3 in the higher department of inclined connection board 50 earlier when using, later replace the drum roll to 5 departments of limit baffle relining drum fixed bolster 4 snatchs the replacement drum to its control drum lifting means 2 after pressing from both sides tightly, snatch and accomplish back loose fast drum fixed bolster 4 and drive the drum through motor 20 again and carry the subassembly and rise and grab replacement drum 3 and remove the cage winch 6 top that needs to change the drum and change can.
In the description of the present invention, it is to be noted that, unless otherwise explicitly specified or limited, the terms "mounted," "connected," and "connected" are to be construed broadly, and may be, for example, fixedly connected, detachably connected, or integrally connected; can be mechanically or electrically connected; they may be connected directly or indirectly through intervening media, or they may be interconnected between two elements. The specific meaning of the above terms in the present invention can be understood by those of ordinary skill in the art through specific situations.
Although the present invention has been described in detail with reference to the foregoing embodiments, it will be apparent to those skilled in the art that modifications may be made to the embodiments or portions thereof without departing from the spirit and scope of the invention.

Claims (5)

1. The utility model provides a device is changed to cage winch drum, includes support frame (1), drum lifting means (2), replacement drum (3), drum fixed bolster (4), limit baffle (5), cage winch (6), its characterized in that, support frame (1) is fixed subaerial and the upper end of support frame (1) sets up the thickening connecting plate and sets up the busbar bottom the plate body, drum lifting means (2) position and the thickening connecting plate below on support frame (1) upper portion and the upper end of drum lifting means (2) and the lower surface sliding connection of thickening connecting plate, replacement drum (3) are located the below of drum lifting means (2) and are fixed through drum fixed bolster (4), the bottom that one side of drum fixed bolster (4) was provided with limit baffle (5) and limit baffle (5) is fixed subaerial, and the bottom of drum fixed bolster (4) is stretched into the lower part and the sliding connection of limit baffle (5) and is at limit baffle (5) The cage winch (6) is positioned in the middle of the lower part of the thickening connecting plate of the support frame (1) and is supported and fixed above the ground through a support.
2. The cage winch drum replacing device according to claim 1, wherein a tail-connected motor (20) is arranged at the upper end of the drum lifting assembly (2), a roller (201) is arranged at the position of a motor rotating shaft and can roll along the lower portion of a thickening connecting plate of the support frame (1), a contact conductive block (202) is arranged at the upper end of the tail-connecting position of the motor (20) for supplying power, a lifting claw group (21) is arranged at the lower end of the drum lifting assembly (2), and claws, which are used for grabbing replacement drums, are electric telescopic claws (210) and conduct electricity through the contact conductive block (202) and conduct insulation treatment on grabbing ends of the electric telescopic claws (210).
3. A cage winch drum changing device according to claim 1, characterized in that a plurality of lifting holes (30) are arranged at both sides of the body of the replacing drum (3) and the inner ring of each hole is wrapped by metal in a wear-resistant manner.
4. A cage winch drum changing device according to claim 1, characterized in that one side of the limit baffle (5) close to the replacement drum (3) is arranged in the same radian as the radius of the side plate of the replacement drum and is provided with an inclined connecting plate (50) at the bottom, and the position of the limit baffle (5) is the lowest end of the inclined connecting plate (50).
5. A cage winch drum exchange device according to claim 1, characterized in that the lower parts of the two sides of the drum fixing bracket (4) are connected by a bidirectional electric telescopic rod (40) and the change of the distance between the two sides can be realized by the telescopic rod.
CN202120957509.0U 2021-05-07 2021-05-07 A cage stranding machine wire reel replacement device Expired - Fee Related CN214705574U (en)

Priority Applications (1)

Application Number Priority Date Filing Date Title
CN202120957509.0U CN214705574U (en) 2021-05-07 2021-05-07 A cage stranding machine wire reel replacement device

Applications Claiming Priority (1)

Application Number Priority Date Filing Date Title
CN202120957509.0U CN214705574U (en) 2021-05-07 2021-05-07 A cage stranding machine wire reel replacement device

Publications (1)

Publication Number Publication Date
CN214705574U true CN214705574U (en) 2021-11-12

Family

ID=78551423

Family Applications (1)

Application Number Title Priority Date Filing Date
CN202120957509.0U Expired - Fee Related CN214705574U (en) 2021-05-07 2021-05-07 A cage stranding machine wire reel replacement device

Country Status (1)

Country Link
CN (1) CN214705574U (en)

Cited By (1)

* Cited by examiner, † Cited by third party
Publication number Priority date Publication date Assignee Title
CN114242342A (en) * 2021-11-27 2022-03-25 杭州普天乐电缆有限公司 Frame winch with automatic hanging wall function

Cited By (2)

* Cited by examiner, † Cited by third party
Publication number Priority date Publication date Assignee Title
CN114242342A (en) * 2021-11-27 2022-03-25 杭州普天乐电缆有限公司 Frame winch with automatic hanging wall function
CN114242342B (en) * 2021-11-27 2023-10-03 杭州普天乐电缆有限公司 Frame strander with automatic disc feeding function

Similar Documents

Publication Publication Date Title
EP1991775B1 (en) Method and system for hoisting heavy parts onto a wind turbine
CN208166204U (en) A kind of cable processing wrapping machine
CN214705574U (en) A cage stranding machine wire reel replacement device
CN210854820U (en) Power transmission line pay-off
JP6068226B2 (en) Gold wheel equipment and overhead ground wire replacement method
CN106516871A (en) Cable winding device
CN204198145U (en) Cable drum device
CN211846621U (en) Multi-strand reel pay-off device
CN208954697U (en) Copper wire stranding machine
CN209143364U (en) A kind of cable automatic rolling device
CN119650201B (en) Aluminum alloy cable stranded equipment and cable thereof
CN216235408U (en) Shore power cable winch capable of automatically arranging cables
CN208299326U (en) Live-line replacing hangs bottle combination tool
CN216512589U (en) Novel rope climbing machine structure
CN114204481B (en) Portable automatic repairing device for broken strands of ground wire of power transmission line and using method of device
CN216889542U (en) Suspension type cable winding and unwinding device
CN212675986U (en) Single-stranded cable former convenient for paying off and storing wires and cables
CN214227626U (en) Movable wire crossing device capable of reducing wire abrasion
CN212608431U (en) Novel coiling device for cable production
CN211569691U (en) Winding machine wire arranging convex wheel device
CN210619879U (en) Cable winding device
CN211508422U (en) Paying-off tackle
KR101322476B1 (en) Classification of used aluminum wire from used overhead conductor
KR100987530B1 (en) The device for revision of electric wire which is used from electric wire tension method and that method
CN217807957U (en) Double-hose winch with tensioning function

Legal Events

Date Code Title Description
GR01 Patent grant
GR01 Patent grant
CF01 Termination of patent right due to non-payment of annual fee

Granted publication date: 20211112

CF01 Termination of patent right due to non-payment of annual fee