CN214599506U - Feed crushing device capable of preventing materials from being stuck - Google Patents
Feed crushing device capable of preventing materials from being stuck Download PDFInfo
- Publication number
- CN214599506U CN214599506U CN202120694125.4U CN202120694125U CN214599506U CN 214599506 U CN214599506 U CN 214599506U CN 202120694125 U CN202120694125 U CN 202120694125U CN 214599506 U CN214599506 U CN 214599506U
- Authority
- CN
- China
- Prior art keywords
- tray
- shaped frame
- rod
- convex ring
- device capable
- Prior art date
- Legal status (The legal status is an assumption and is not a legal conclusion. Google has not performed a legal analysis and makes no representation as to the accuracy of the status listed.)
- Active
Links
- 239000000463 material Substances 0.000 title claims abstract description 16
- 230000007246 mechanism Effects 0.000 claims abstract description 20
- 238000010298 pulverizing process Methods 0.000 claims 3
- 239000002699 waste material Substances 0.000 abstract description 2
- 238000007790 scraping Methods 0.000 description 8
- 235000017166 Bambusa arundinacea Nutrition 0.000 description 4
- 235000017491 Bambusa tulda Nutrition 0.000 description 4
- 241001330002 Bambuseae Species 0.000 description 4
- 235000015334 Phyllostachys viridis Nutrition 0.000 description 4
- 239000011425 bamboo Substances 0.000 description 4
- 241001465754 Metazoa Species 0.000 description 3
- 230000000694 effects Effects 0.000 description 3
- 238000004513 sizing Methods 0.000 description 3
- 230000007306 turnover Effects 0.000 description 3
- 230000009286 beneficial effect Effects 0.000 description 2
- 230000008878 coupling Effects 0.000 description 2
- 238000010168 coupling process Methods 0.000 description 2
- 238000005859 coupling reaction Methods 0.000 description 2
- 235000013305 food Nutrition 0.000 description 2
- 238000000034 method Methods 0.000 description 2
- 235000019733 Fish meal Nutrition 0.000 description 1
- 244000068988 Glycine max Species 0.000 description 1
- 235000010469 Glycine max Nutrition 0.000 description 1
- 235000019735 Meat-and-bone meal Nutrition 0.000 description 1
- 235000019764 Soybean Meal Nutrition 0.000 description 1
- 239000005862 Whey Substances 0.000 description 1
- 102000007544 Whey Proteins Human genes 0.000 description 1
- 108010046377 Whey Proteins Proteins 0.000 description 1
- 240000008042 Zea mays Species 0.000 description 1
- 235000005824 Zea mays ssp. parviglumis Nutrition 0.000 description 1
- 235000002017 Zea mays subsp mays Nutrition 0.000 description 1
- 235000001014 amino acid Nutrition 0.000 description 1
- 150000001413 amino acids Chemical class 0.000 description 1
- 239000003674 animal food additive Substances 0.000 description 1
- 235000005822 corn Nutrition 0.000 description 1
- 235000019621 digestibility Nutrition 0.000 description 1
- 230000029087 digestion Effects 0.000 description 1
- 230000001079 digestive effect Effects 0.000 description 1
- 239000004467 fishmeal Substances 0.000 description 1
- 235000011389 fruit/vegetable juice Nutrition 0.000 description 1
- 239000004519 grease Substances 0.000 description 1
- 235000012054 meals Nutrition 0.000 description 1
- 238000012986 modification Methods 0.000 description 1
- 230000004048 modification Effects 0.000 description 1
- 235000015097 nutrients Nutrition 0.000 description 1
- 235000019629 palatability Nutrition 0.000 description 1
- 239000000843 powder Substances 0.000 description 1
- 230000008569 process Effects 0.000 description 1
- 239000002994 raw material Substances 0.000 description 1
- 239000004455 soybean meal Substances 0.000 description 1
- 239000007858 starting material Substances 0.000 description 1
- 230000003068 static effect Effects 0.000 description 1
- 238000010408 sweeping Methods 0.000 description 1
Images
Landscapes
- Apparatuses For Bulk Treatment Of Fruits And Vegetables And Apparatuses For Preparing Feeds (AREA)
Abstract
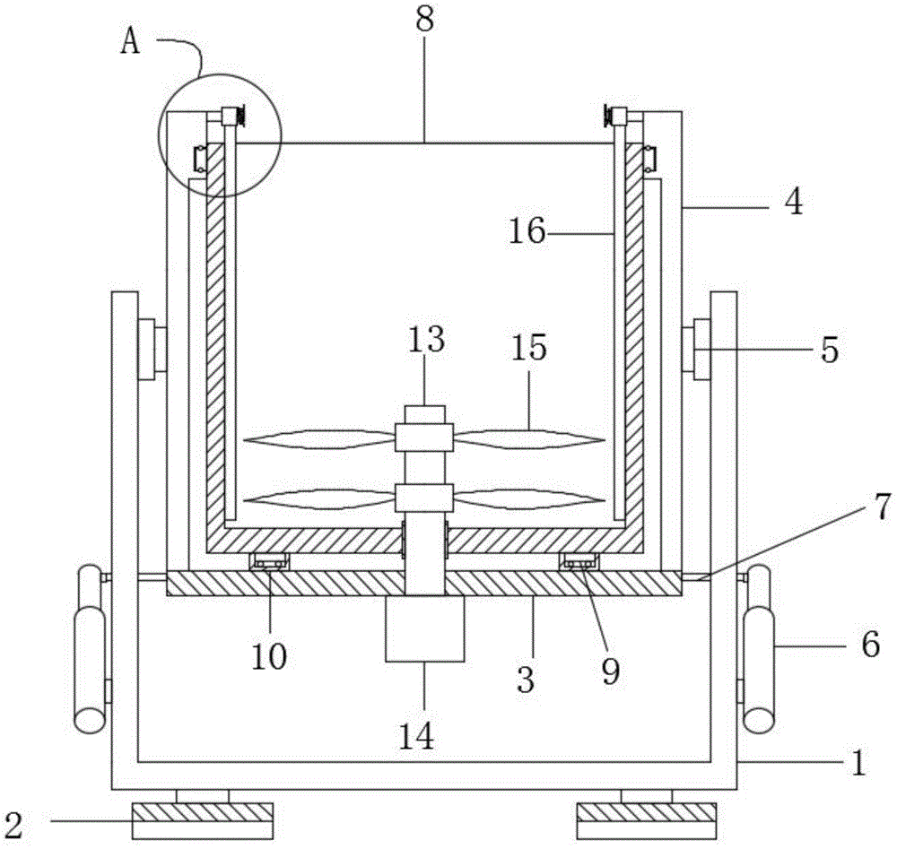
本实用新型涉及饲料粉碎装置技术领域,方案为一种能够防粘料的饲料粉碎装置,包括有U型架,所述U型架内设有托盘,所述托盘顶端左右对称设置有竖条,所述竖条通过转轴与U型架的竖板转动连接,所述托盘与U型架之间设置有翻转机构,所述托盘顶面设有粉碎筒,所述粉碎筒底端设有第一凸环,所述第一凸环底端均匀设有第一滚珠,所述托盘顶面对应第一凸环设置有环型槽,本方案中的饲料破碎结构为非封闭式,因而在加工结束后,便于对内部刀具和筒壁进行清理,加工过程或结束后,可手动转动粉碎筒,从而刮杆可对筒壁上的碎屑进行刮扫,避免饲料残余造成的浪费问题,通过设置的翻转机构,能够自动实现粉碎筒的倾斜卸料。
The utility model relates to the technical field of feed crushing devices, and the solution is a feed crushing device capable of preventing sticking materials, comprising a U-shaped frame, a tray is arranged in the U-shaped frame, and vertical bars are arranged symmetrically at the top of the tray. The vertical bar is rotatably connected to the vertical plate of the U-shaped frame through the rotating shaft, a turning mechanism is arranged between the tray and the U-shaped frame, the top surface of the tray is provided with a crushing cylinder, and the bottom end of the crushing cylinder is provided with a first A convex ring, the bottom end of the first convex ring is evenly provided with first balls, and the top surface of the tray is provided with an annular groove corresponding to the first convex ring. After the end, it is convenient to clean the internal cutter and the cylinder wall. During the processing or after the end, the crushing cylinder can be manually rotated, so that the scraper can scrape the debris on the cylinder wall to avoid the waste problem caused by the feed residue. The turning mechanism can automatically realize the inclined discharge of the crushing cylinder.
Description
Claims (8)
Priority Applications (1)
| Application Number | Priority Date | Filing Date | Title |
|---|---|---|---|
| CN202120694125.4U CN214599506U (en) | 2021-04-06 | 2021-04-06 | Feed crushing device capable of preventing materials from being stuck |
Applications Claiming Priority (1)
| Application Number | Priority Date | Filing Date | Title |
|---|---|---|---|
| CN202120694125.4U CN214599506U (en) | 2021-04-06 | 2021-04-06 | Feed crushing device capable of preventing materials from being stuck |
Publications (1)
| Publication Number | Publication Date |
|---|---|
| CN214599506U true CN214599506U (en) | 2021-11-05 |
Family
ID=78399410
Family Applications (1)
| Application Number | Title | Priority Date | Filing Date |
|---|---|---|---|
| CN202120694125.4U Active CN214599506U (en) | 2021-04-06 | 2021-04-06 | Feed crushing device capable of preventing materials from being stuck |
Country Status (1)
| Country | Link |
|---|---|
| CN (1) | CN214599506U (en) |
Cited By (2)
| Publication number | Priority date | Publication date | Assignee | Title |
|---|---|---|---|---|
| CN114085347A (en) * | 2021-11-19 | 2022-02-25 | 苏州尚达新能源技术有限公司 | Floating body material for waterborne photovoltaic system and preparation method thereof |
| CN117427738A (en) * | 2023-12-21 | 2024-01-23 | 广东顺德米壳工业设计有限公司 | Intelligent fruit and vegetable chopper |
-
2021
- 2021-04-06 CN CN202120694125.4U patent/CN214599506U/en active Active
Cited By (3)
| Publication number | Priority date | Publication date | Assignee | Title |
|---|---|---|---|---|
| CN114085347A (en) * | 2021-11-19 | 2022-02-25 | 苏州尚达新能源技术有限公司 | Floating body material for waterborne photovoltaic system and preparation method thereof |
| CN117427738A (en) * | 2023-12-21 | 2024-01-23 | 广东顺德米壳工业设计有限公司 | Intelligent fruit and vegetable chopper |
| CN117427738B (en) * | 2023-12-21 | 2024-03-19 | 广东顺德米壳工业设计有限公司 | An intelligent fruit and vegetable chopper |
Similar Documents
| Publication | Publication Date | Title |
|---|---|---|
| CN214599506U (en) | Feed crushing device capable of preventing materials from being stuck | |
| WO2013064037A1 (en) | Wheat flour mill cleaning workshop method for peeling off pericarp only, and complete set of equipment | |
| CN111013749B (en) | A pig feed cutting equipment for livestock-raising | |
| CN110115161A (en) | A kind of raising black goat forage cutting and processing unit (plant) | |
| CN212882699U (en) | Grinding device is smashed with mixed feed production | |
| CN205492539U (en) | Broken section of thick bamboo of caking fodder | |
| CN210079317U (en) | Feed processing agitating unit of environmental protection | |
| CN217473380U (en) | A fodder agitating unit for poultry | |
| CN109530030A (en) | A kind of food processing disintegrating apparatus | |
| CN210303817U (en) | Automatic fodder of material loading pulverizes device | |
| CN119456120A (en) | A raw material crushing device for Penaeus vannamei compound feed for saline-alkali land farming | |
| CN215684732U (en) | Food processing system | |
| CN215917650U (en) | Crushing apparatus is broken up to fodder | |
| CN210017811U (en) | A feed granulator with uniform granulation | |
| CN211537948U (en) | Aquaculture is with fodder preprocessing device with screening function | |
| CN213254618U (en) | Concentrated feed processing equipment for livestock and poultry breeding | |
| CN212092492U (en) | Pig feed stirring reducing mechanism | |
| CN115888527A (en) | A smart household pet wet food mixing device with cleaning function | |
| CN221749587U (en) | Dog food raw material processing device | |
| CN221656658U (en) | Pig feed preprocessing equipment | |
| CN222642165U (en) | Crushing apparatus with clearance function | |
| CN207694887U (en) | A kind of Feed Manufacturing grinding device | |
| CN218190085U (en) | Reducing mechanism for feed processing | |
| CN221288110U (en) | Breed fodder crushing processor | |
| CN210520066U (en) | Fishery is bred and uses fodder reducing mechanism |
Legal Events
| Date | Code | Title | Description |
|---|---|---|---|
| GR01 | Patent grant | ||
| GR01 | Patent grant | ||
| EE01 | Entry into force of recordation of patent licensing contract |
Assignee: MARINE RESOURCES DEVELOPMENT INSTITUTE OF JIANGSU (LIANYUNGANG) Assignor: Jiangsu Ocean University Contract record no.: X2023980048267 Denomination of utility model: A feed crushing device capable of preventing sticking materials Granted publication date: 20211105 License type: Common License Record date: 20231128 |
|
| EE01 | Entry into force of recordation of patent licensing contract | ||
| EC01 | Cancellation of recordation of patent licensing contract |
Assignee: MARINE RESOURCES DEVELOPMENT INSTITUTE OF JIANGSU (LIANYUNGANG) Assignor: Jiangsu Ocean University Contract record no.: X2023980048267 Date of cancellation: 20240726 |
|
| EC01 | Cancellation of recordation of patent licensing contract |
