CN214434699U - External fixing device for upper limb fracture patient - Google Patents

External fixing device for upper limb fracture patient Download PDF

Info

Publication number
CN214434699U
CN214434699U CN202022004312.3U CN202022004312U CN214434699U CN 214434699 U CN214434699 U CN 214434699U CN 202022004312 U CN202022004312 U CN 202022004312U CN 214434699 U CN214434699 U CN 214434699U
Authority
CN
China
Prior art keywords
fixing
ring
cylinder
upper limb
arm
Prior art date
Legal status (The legal status is an assumption and is not a legal conclusion. Google has not performed a legal analysis and makes no representation as to the accuracy of the status listed.)
Expired - Fee Related
Application number
CN202022004312.3U
Other languages
Chinese (zh)
Inventor
贺磊
龚松
许岩
段德宇
Current Assignee (The listed assignees may be inaccurate. Google has not performed a legal analysis and makes no representation or warranty as to the accuracy of the list.)
Union Hospital Tongji Medical College Huazhong University of Science and Technology
Original Assignee
Union Hospital Tongji Medical College Huazhong University of Science and Technology
Priority date (The priority date is an assumption and is not a legal conclusion. Google has not performed a legal analysis and makes no representation as to the accuracy of the date listed.)
Filing date
Publication date
Application filed by Union Hospital Tongji Medical College Huazhong University of Science and Technology filed Critical Union Hospital Tongji Medical College Huazhong University of Science and Technology
Priority to CN202022004312.3U priority Critical patent/CN214434699U/en
Application granted granted Critical
Publication of CN214434699U publication Critical patent/CN214434699U/en
Expired - Fee Related legal-status Critical Current
Anticipated expiration legal-status Critical

Links

Images

Landscapes

  • Orthopedics, Nursing, And Contraception (AREA)

Abstract

本实用新型公开了一种上肢骨折患者用外固定装置,包括固定筒和胸环,所述胸环一端前侧设置有纽扣,所述胸环另一端前侧设置有纽扣孔,所述胸环后侧设置有松紧带,所述胸环上方固定连接有肩带,所述肩带上设置有伸缩调节器,所述肩带一侧设置有拉力带,所述拉力带一端固定连接臂环,所述臂环一端设置有魔术贴,所述臂环下端设置有弹力带,所述弹力带下端设置有钩子,所述钩子与母扣可拆分连接,所述母扣下端固定连接固定筒,所述固定筒外表面设置有扣件,所述固定筒内部设置有板仓,所述板仓内部设置有固定板,本实用新型通过固定筒和胸环的简单连接,起到了给骨折患者固定的作用,也能方便患者其他部位的活动。

Figure 202022004312

The utility model discloses an external fixation device for upper limb fracture patients, which comprises a fixing cylinder and a chest ring. An elastic band is arranged on the back side, a shoulder strap is fixedly connected above the chest loop, a telescopic adjuster is arranged on the shoulder strap, a tension band is arranged on one side of the shoulder strap, and one end of the tension band is fixedly connected to the arm ring, so the One end of the arm loop is provided with a Velcro, the lower end of the arm loop is provided with an elastic band, and the lower end of the elastic band is provided with a hook. The outer surface of the fixing cylinder is provided with fasteners, the interior of the fixing cylinder is provided with a plate silo, and the interior of the plate silo is provided with a fixing plate. It can also facilitate the activities of other parts of the patient.

Figure 202022004312

Description

External fixing device for upper limb fracture patient
Technical Field
The utility model relates to the technical field of medical equipment, specifically an external fixation device for upper limb fracture patient.
Background
The medical fixing band is mainly used for supporting the local part of an affected part of a patient before and after treatment and reduction, relieving or alleviating the pain and the aching pain of muscles and preventing the disease from spreading (preventing the broken end from moving), and generally comprises a wrist guard, an elbow guard, an eversion fixing sleeve of the thumb, a forearm fixing sleeve and the like.
The slight removal just can produce huge misery when sick of fracture patient, and lie in bed for a long time and be unfavorable for the health of health organ, and the patient of local fracture is done the local fixed just enough, because the outer fixing device of upper limbs mostly is the cotton that fracture patient postoperative recovery phase used and hangs the fixed mode of neck, reduces patient's comfort level easily, and it can not satisfy fracture patient's the fixed of the fracture position of sick phase far away.
SUMMERY OF THE UTILITY MODEL
An object of the utility model is to provide an upper limbs fracture patient uses external fixation device to solve the problem that proposes in the above-mentioned background art.
In order to achieve the above object, the utility model provides a following technical scheme: an external fixing device for patients with upper limb fracture comprises a fixing barrel and a chest ring, wherein a button is arranged on the front side of one end of the chest ring, a button hole is arranged on the front side of the other end of the chest ring, an elastic band is arranged on the rear side of the chest ring, a shoulder belt is fixedly connected above the chest ring, a telescopic regulator is arranged on the shoulder belt, a tension belt is arranged on one side of the shoulder belt, one end of the tension belt is fixedly connected with an arm ring, a magic tape is arranged on one end of the arm ring, an elastic band is arranged at the lower end of the arm ring, a hook is arranged at the lower end of the elastic band, the hook is detachably connected with a female buckle, the lower end of the female buckle is fixedly connected with the fixing barrel, a belt is arranged on the outer surface of the fixing barrel, a fastener is arranged at one end of the belt, a plate bin is arranged inside the fixing barrel, a fixing plate is arranged inside the plate bin, a connecting band is arranged in the middle of the fixing plate, and a silica gel pad is arranged on one side of the plate bin, the inner side of the silica gel pad is provided with a soft pad.
As a further aspect of the present invention: the fixed cylinder is divided into an upper half cylinder and a lower half cylinder, the upper half cylinder and the lower half cylinder are connected through a connecting sheet, the connecting sheet is arranged on the inner side of the fixed cylinder, and the belt is arranged on the outer side of the fixed cylinder.
As a further aspect of the present invention: two rows of connecting belts are arranged in the middle of the fixing plate and are connected with the fixing plate in a gluing mode.
As a further aspect of the present invention: the fixed cylinder is made of medical gauze surrounding the plate cabin.
As a further aspect of the present invention: the fixed cylinder is detachably connected with the arm ring.
As a further aspect of the present invention: one end of the tension band is fixedly connected with an arm ring, the other end of the tension band is fixedly connected with a shoulder band, and the arm ring, the shoulder band and the tension band are all made of high-strength elastic materials.
Compared with the prior art, the beneficial effects of the utility model are that:
1. one end of the tension band is fixedly connected with the arm ring, the other end of the tension band is fixedly connected with the shoulder band, and the arm ring, the elastic band, the shoulder band and the tension band are made of high-strength elastic materials, so that the utility model is ensured to be suitable for all patients;
2. the utility model is divided into a front arm part and an upper arm part, the two parts can be fixed in a right angle and can be respectively adapted to the fracture of the upper arm, the forearm and the elbow joint, the hook of the upper arm part can be detachably connected with the female buckle of the front arm part, so that the fixed cylinder can be used independently, and the female buckle can enable the fixed cylinder to be hung in any place with the hook, thereby facilitating the daily life of patients and reducing the risk of wound infection;
3. the inside fixed plate that is provided with of solid fixed cylinder, the fixed plate plays the primary role, and one side is provided with the silica gel pad toward interior again, and solid fixed cylinder distal end and near-end inboard increase tangent circle and cushion, has avoided sharp-end oppression, increases the comfort level when the patient wears, and solid fixed cylinder is inside to set up the connection piece and connects first and second section of thick bamboo, and the surface is provided with the belt and can adjusts the size of a dimension at solid fixed cylinder upper and lower both ends.
Drawings
FIG. 1 is a front view of an external fixator for patients with fractured upper limbs;
FIG. 2 is a schematic structural view of a fixing plate of an external fixing device for patients with fractured upper limbs;
FIG. 3 is a schematic view of the internal structure of a fixing cylinder in an external fixing device for patients with fractured upper limbs;
fig. 4 is a schematic structural view of a fixing cylinder in an external fixing device for patients with upper limb fracture.
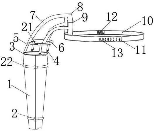
In the figure: 1. a fixed cylinder; 2. a fastener; 3. a female buckle; 4. a hook; 5. an elastic band; 6. an arm ring; 7. A tension band; 8. shoulder straps; 9. a telescopic adjuster; 10. a chest ring; 11. a button; 12. elastic bands; 13. A button hole; 14. a fixing plate; 15. a connecting belt; 16. connecting sheets; 17. a silica gel pad; 18. a belt; 19. a plate bin; 20. a soft cushion; 21. magic tape.
Detailed Description
The technical solutions in the embodiments of the present invention will be described clearly and completely with reference to the accompanying drawings in the embodiments of the present invention, and it is obvious that the described embodiments are only some embodiments of the present invention, not all embodiments. Based on the embodiments in the present invention, all other embodiments obtained by a person skilled in the art without creative work belong to the protection scope of the present invention.
Referring to fig. 1-4, in an embodiment of the present invention, an external fixation device for patients with upper limb fracture comprises a fixation cylinder 1 and a chest ring 10, wherein a button 11 is disposed on the front side of one end of the chest ring 10, a button hole 13 is disposed on the front side of the other end of the chest ring 10, an elastic band 12 is disposed on the rear side of the chest ring 10, a shoulder strap 8 is fixedly connected above the chest ring 10, a telescopic adjuster 9 is disposed on the shoulder strap 8, a tension band 7 is disposed on one side of the shoulder strap 8, one end of the tension band 7 is fixedly connected to an arm ring 6, one end of the arm ring 6 is provided with a magic tape 21, the lower end of the arm ring 6 is provided with an elastic band 5, the lower end of the elastic band 5 is provided with a hook 4, the hook 4 is detachably connected with a female buckle 3, the lower end of the female buckle 3 is fixedly connected to the fixation cylinder 1, a belt 18 is disposed on the outer surface of the fixation cylinder 1, a fastener 2 is disposed on one end of the belt 18, a plate chamber 19 is disposed inside the fixation cylinder 1, a fixation plate chamber 14 is disposed inside a fixation plate chamber 14, the middle part of the fixing plate 14 is provided with a connecting belt 15, one side of the inner side of the plate bin 19 is provided with a silica gel pad 17, and the inner side of the silica gel pad 17 is provided with a soft pad 20.
Preferably, the fixed cylinder 1 is divided into an upper half cylinder and a lower half cylinder, the connecting piece 16 is arranged on the inner side of the fixed cylinder 1, the two parts are connected by the connecting piece 16, the connecting piece 16 is connected with the upper half cylinder and the lower half cylinder, the belt 18 is arranged on the outer side of the fixed cylinder 1, the belt 18 adjusts the size of the fixed cylinder 1, two rows of connecting belts 15 are arranged on the middle part of the fixed plate 14, the connecting belts 15 are connected with the fixed plate 14 in a glue connection mode, so that the fixed plate 14 can be circularly arranged in the plate bin 19, the fixed cylinder 1 is made by winding medical gauze around the plate bin 19, the air permeability in the device can be effectively kept, the fixed cylinder 1 is detachably connected with the arm ring 6, the fixed cylinder 1 can be used independently, one end of the tension belt 7 is fixedly connected with the arm ring 6, the other end of the tension belt 7 is fixedly connected with the shoulder belt 8, the arm ring 6, the shoulder belt 8 and the tension belt 7 are made of high-strength elastic materials, so as to reduce the pulling force applied to the upper arm, the function of keeping the semi-rotation forward position is also convenient for the daily activities of the user.
The utility model discloses a theory of operation is: when in use, the shoulder strap 8 is sleeved on the shoulder, the chest ring 10 is tied on the chest through the button hole 13 and the button 11, the size of the shoulder strap 8 is adjusted through the telescopic adjuster 9, the back side of the chest ring 10 is provided with the elastic band 12 with strong elasticity, so that a user can not feel the constraint feeling, the button 11 is buckled on the proper button hole 13 to play a role of fixing the chest ring 10, the upper arm ring 6 is sleeved to adjust the size and stick the magic tape 21, the arm at the fracture part with changed medicine is put into the fixed cylinder 1, the inner sides of the far end and the near end of the fixed cylinder 1 are provided with the tangential chamfer and the cushion 20 to avoid the sharp compression, the fixed cylinder 1 is covered, the belts 18 at the two ends of the fixed cylinder 1 are adjusted to control the sizes of the upper end and the lower end of the fixed cylinder 1, the cushion 20 at the inner sides of the far end and the near end of the fixed cylinder 1 is avoided the sharp compression, the belts 18 are fastened by the fastener 2 after the adjustment, the hook 4 is hooked on the female buckle at the top of the fixed cylinder 1, the pulling force on the upper arm is reduced, the semi-pronation position is kept, and the device is worn completely.
Although the present invention has been described in detail with reference to the foregoing embodiments, it will be apparent to those skilled in the art that modifications may be made to the embodiments or portions thereof without departing from the spirit and scope of the invention.

Claims (6)

1.一种上肢骨折患者用外固定装置,包括固定筒(1)和胸环(10),其特征在于:所述胸环(10)一端前侧设置有纽扣(11),所述胸环(10)另一端前侧设置有纽扣孔(13),所述胸环(10)后侧设置有松紧带(12),所述胸环(10)上方固定连接有肩带(8),所述肩带(8)上设置有伸缩调节器(9),所述肩带(8)一侧设置有拉力带(7),所述拉力带(7)一端固定连接臂环(6),所述臂环(6)一端设置有魔术贴(21),所述臂环(6)下端设置有弹力带(5),所述弹力带(5)下端设置有钩子(4),所述钩子(4)与母扣(3)可拆分连接,所述母扣(3)下端固定连接固定筒(1),所述固定筒(1)外表面设置有皮带(18),所述皮带(18)一端设置有扣件(2),所述固定筒(1)内部设置有板仓(19),所述板仓(19)内部设置有固定板(14),所述固定板(14)中部设置有连接带(15),所述板仓(19)靠里一侧设置有硅胶垫(17),所述硅胶垫(17)内侧设置有软垫(20)。1. An external fixation device for upper limb fracture patients, comprising a fixing cylinder (1) and a chest ring (10), characterized in that: a button (11) is provided on the front side of one end of the chest ring (10), and the chest ring (10) is provided with a button (11). (10) A button hole (13) is provided on the front side of the other end, an elastic band (12) is provided on the back side of the chest ring (10), and a shoulder strap (8) is fixedly connected to the top of the chest ring (10). A telescopic adjuster (9) is arranged on the shoulder strap (8), a tension band (7) is arranged on one side of the shoulder strap (8), and one end of the tension band (7) is fixedly connected to the arm ring (6). One end of the arm loop (6) is provided with a Velcro (21), the lower end of the arm loop (6) is provided with an elastic band (5), the lower end of the elastic band (5) is provided with a hook (4), and the hook (4) ) is detachably connected to the female buckle (3), the lower end of the female buckle (3) is fixedly connected to the fixing cylinder (1), the outer surface of the fixing cylinder (1) is provided with a belt (18), and the belt (18) A fastener (2) is provided at one end, a board silo (19) is arranged inside the fixing cylinder (1), a fixing plate (14) is arranged inside the board silo (19), and a middle part of the fixing board (14) is arranged A connecting belt (15) is provided, a silicone pad (17) is arranged on the inner side of the board compartment (19), and a soft pad (20) is arranged on the inner side of the silicone pad (17). 2.根据权利要求1所述的一种上肢骨折患者用外固定装置,其特征在于:所述固定筒(1)分上半筒和下半筒,两部分由连接片(16)连接,所述连接片(16)设置于固定筒(1)内侧,所述皮带(18)设置于固定筒(1)外侧。2. An external fixation device for upper limb fracture patients according to claim 1, characterized in that: the fixing cylinder (1) is divided into an upper half cylinder and a lower half cylinder, and the two parts are connected by a connecting piece (16), so that the The connecting piece (16) is arranged on the inner side of the fixing cylinder (1), and the belt (18) is arranged on the outer side of the fixing cylinder (1). 3.根据权利要求1所述的一种上肢骨折患者用外固定装置,其特征在于:所述固定板(14)中部设置有两排连接带(15),所述连接带(15)与固定板(14)采用胶连的方式连接。3. An external fixation device for upper limb fracture patients according to claim 1, characterized in that: the middle of the fixing plate (14) is provided with two rows of connecting straps (15), the connecting straps (15) and the fixing The plates (14) are connected by glue connection. 4.根据权利要求1所述的一种上肢骨折患者用外固定装置,其特征在于:所述固定筒(1)采用医用纱布环绕板仓(19)制成。4 . The external fixation device for upper limb fracture patients according to claim 1 , wherein the fixation cylinder ( 1 ) is made of medical gauze surrounding the plate bin ( 19 ). 5 . 5.根据权利要求1所述的一种上肢骨折患者用外固定装置,其特征在于:所述固定筒(1)与臂环(6)可拆分连接。5 . The external fixation device for upper limb fracture patients according to claim 1 , wherein the fixing cylinder ( 1 ) and the arm ring ( 6 ) are detachably connected. 6 . 6.根据权利要求1所述的一种上肢骨折患者用外固定装置,其特征在于:所述拉力带(7)一端固定连接有臂环(6),另一端固定连接有肩带(8),所述臂环(6)、肩带(8)和拉力带(7)均为高强弹力材料制成。6. An external fixation device for upper limb fracture patients according to claim 1, wherein one end of the tension band (7) is fixedly connected with an arm ring (6), and the other end is fixedly connected with a shoulder strap (8) , the arm loop (6), the shoulder strap (8) and the tension strap (7) are all made of high-strength elastic materials.
CN202022004312.3U 2020-09-14 2020-09-14 External fixing device for upper limb fracture patient Expired - Fee Related CN214434699U (en)

Priority Applications (1)

Application Number Priority Date Filing Date Title
CN202022004312.3U CN214434699U (en) 2020-09-14 2020-09-14 External fixing device for upper limb fracture patient

Applications Claiming Priority (1)

Application Number Priority Date Filing Date Title
CN202022004312.3U CN214434699U (en) 2020-09-14 2020-09-14 External fixing device for upper limb fracture patient

Publications (1)

Publication Number Publication Date
CN214434699U true CN214434699U (en) 2021-10-22

Family

ID=78108134

Family Applications (1)

Application Number Title Priority Date Filing Date
CN202022004312.3U Expired - Fee Related CN214434699U (en) 2020-09-14 2020-09-14 External fixing device for upper limb fracture patient

Country Status (1)

Country Link
CN (1) CN214434699U (en)

Cited By (1)

* Cited by examiner, † Cited by third party
Publication number Priority date Publication date Assignee Title
CN114305834A (en) * 2021-12-31 2022-04-12 郑州大学 Orthopedic patient arm abduction brace

Cited By (2)

* Cited by examiner, † Cited by third party
Publication number Priority date Publication date Assignee Title
CN114305834A (en) * 2021-12-31 2022-04-12 郑州大学 Orthopedic patient arm abduction brace
CN114305834B (en) * 2021-12-31 2023-09-08 郑州大学 An arm abduction brace for orthopedic patients

Similar Documents

Publication Publication Date Title
US5095894A (en) Upper extremity stabilizer
US6110133A (en) Convertible acromioclavicular stabilizer
CN214434699U (en) External fixing device for upper limb fracture patient
CN209059562U (en) Axillary burn wound simple immobilizer
CN210408715U (en) An orthopedic limb trauma emergency fixation device
CN209574910U (en) A kind of improved belt for constraining epipodite
CN112426304A (en) Adjustable head and neck position fixer
CN209827356U (en) Arm fixing device for abdominal pedicle flap postoperative patient
CN209032785U (en) A kind of adjustable orthopedic fixing device for knee joint
CN206443768U (en) Patient body position's limiter in a kind of lumbar puncture therapeutic process
CN217286231U (en) Radius distal end fracture fixation splint with longitudinal traction function
CN213941092U (en) Adjustable neck anteflexion position fixing device
CN214549774U (en) An adjustable angle abduction fixed pillow
CN211863066U (en) Fracture fixing device
CN212547300U (en) An inflatable shoulder joint fixation support
CN116115414A (en) Upper limb immobilization device after bromhidrosis
CN209734248U (en) A post-operative recovery device for tracheal tumors that can precisely adjust head position
CN219184393U (en) Clavicle fracture rehabilitation device
CN217245198U (en) A device for postoperative mammary gland oppression
CN219184543U (en) Parotid gland postoperative pressurization binder convenient to doctor is wrapped patient fast
CN221431328U (en) Auxiliary fixing device is wrapped to scrotum postoperative
CN216294437U (en) Wearable shorts formula that can pressurize after finishing operation is wrapped device
CN222828737U (en) A thoracic surgical wound protection device
CN221243149U (en) Neck, shoulder and wrist towing belt
CN221950083U (en) A chest strap vest for reducing underarm friction

Legal Events

Date Code Title Description
GR01 Patent grant
GR01 Patent grant
CF01 Termination of patent right due to non-payment of annual fee
CF01 Termination of patent right due to non-payment of annual fee

Granted publication date: 20211022