CN214171831U - 一种无纸化会议系统管理设备 - Google Patents

一种无纸化会议系统管理设备 Download PDF

Info

Publication number
CN214171831U
CN214171831U CN202023070985.5U CN202023070985U CN214171831U CN 214171831 U CN214171831 U CN 214171831U CN 202023070985 U CN202023070985 U CN 202023070985U CN 214171831 U CN214171831 U CN 214171831U
Authority
CN
China
Prior art keywords
groove
bevel gear
system management
management device
wall
Prior art date
Legal status (The legal status is an assumption and is not a legal conclusion. Google has not performed a legal analysis and makes no representation as to the accuracy of the status listed.)
Expired - Fee Related
Application number
CN202023070985.5U
Other languages
English (en)
Inventor
邓红菊
Current Assignee (The listed assignees may be inaccurate. Google has not performed a legal analysis and makes no representation or warranty as to the accuracy of the list.)
Guangzhou Bingsheng Network Technology Co ltd
Original Assignee
Guangzhou Bingsheng Network Technology Co ltd
Priority date (The priority date is an assumption and is not a legal conclusion. Google has not performed a legal analysis and makes no representation as to the accuracy of the date listed.)
Filing date
Publication date
Application filed by Guangzhou Bingsheng Network Technology Co ltd filed Critical Guangzhou Bingsheng Network Technology Co ltd
Priority to CN202023070985.5U priority Critical patent/CN214171831U/zh
Application granted granted Critical
Publication of CN214171831U publication Critical patent/CN214171831U/zh
Expired - Fee Related legal-status Critical Current
Anticipated expiration legal-status Critical

Links

Images

Landscapes

  • Displays For Variable Information Using Movable Means (AREA)

Abstract

本实用新型公开了一种无纸化会议系统管理设备,包括底座,所述底座的上端面设置有凹槽,所述凹槽内壁上端面的后方固定安装有电机,所述电机的输出端固定连接有短轴,所述短轴的外表面套设有锥齿轮B,所述底座的内部通过转轴铰接有旋转板,所述转轴外表面的后方套设有锥齿轮A,且所述锥齿轮A与所述锥齿轮B啮合,所述底座内壁的两侧均开设有活动槽,所述旋转板外表面的两侧固定安装有支撑板,所述支撑板的上端面和下端面均设置有滑槽,所述滑槽的内侧滑动连接有可伸缩套杆,所述可伸缩套杆的另一端与所述活动槽的内壁固定连接。本实用新型可以调节高度,提高了适用性,且便于对显示屏的角度自由调节,提高了用户体验感。

Description

一种无纸化会议系统管理设备
技术领域
本实用新型涉及无纸化会议技术领域,具体为一种无纸化会议系统管理设备。
背景技术
随着社会经济的快速发展,工作会议越来越便捷,无纸化会议是由从传统会议的研发、施工基础上提出来的交互系统新概念,是基于移动互联网的无纸化会议交互系统,概念的提出和实施使得会议从传统的纸质为信息记录载体转化成以平板电脑、智能手机为载体的数字化、移动化的多媒体,利用智能手机的便携性,把会议从固定的会议室延伸场外的移动终端。
但是,现有的无纸化会议系统在进行会议时不方便对会议设备的高度进行调节,且大多数显示屏角度不能自由调节,用户体验较差;因此,不满足现有的需求,对此我们提出了一种无纸化会议系统管理设备。
实用新型内容
本实用新型的目的在于提供一种无纸化会议系统管理设备,以解决上述背景技术中提出的现有的无纸化会议系统在进行会议时不方便对会议设备的高度进行调节,且大多数显示屏角度不能自由调节,用户体验较差等问题。
为实现上述目的,本实用新型提供如下技术方案:一种无纸化会议系统管理设备,包括底座,所述底座的上端面设置有凹槽,所述凹槽内壁上端面的后方固定安装有电机,所述电机的输出端固定连接有短轴,所述短轴的外表面套设有锥齿轮B,所述底座的内部通过转轴铰接有旋转板,所述转轴外表面的后方套设有锥齿轮A,且所述锥齿轮A与所述锥齿轮B啮合,所述底座内壁的两侧均开设有活动槽,所述旋转板外表面的两侧固定安装有支撑板,所述支撑板的上端面和下端面均设置有滑槽,所述滑槽的内侧滑动连接有可伸缩套杆,所述可伸缩套杆的另一端与所述活动槽的内壁固定连接,所述旋转板的上端面固定安装有显示屏,所述显示屏上端面的后方固定安装有摄像头,所述底座下端面的前方和后方均固定安装有竖杆,所述竖杆外表面的上方均匀设置有四个档位孔,所述竖杆底端的外表面安装有滚轮架,所述滚轮架的外表面安装有滚轮,所述竖杆的下端面套设有外套管,所述外套管外表面的上方设置有销孔,所述销孔的内侧设置有销柱,所述销柱贯穿所述销孔和其中一个所述档位孔,所述外套管的下方固定连接有支撑柱,所述支撑柱的外侧设置有底板,所述底板上端面的前后贯穿设有两个通槽,所述支撑柱的下端面设置有方形槽,所述方形槽内壁的顶面固定安装有电动推杆,所述电动推杆的下端面固定安装有万向轮。
优选的,所述底板的下端面通过卡槽固定连接有橡胶防滑垫,所述支撑柱的外表面与所述通槽的内壁固定连接。
优选的,所述底板的内部设置有蓄电池,且所述蓄电池与所述电动推杆电性连接。
优选的,所述可伸缩套杆包括粗套管和细套杆,且所述细套杆卡入所述粗套管的内侧。
优选的,所述滚轮架的外表面设置有条形槽,所述滚轮与条形槽通过连接轴连接。
优选的,所述转轴的两端与所述凹槽的内壁通过轴承转动连接。
优选的,所述短轴的外表面与所述锥齿轮B的内圈通过焊接固定连接,所述转轴的外表面与所述锥齿轮A的内圈通过焊接固定连接。
与现有技术相比,本实用新型的有益效果是:
1、本实用新型通过设置有底板、支撑柱、方形槽、电动推杆、万向轮,当需要移动该装置时,打开电动推杆的开关,电动推杆伸长带动万向轮向下移动,直至万向轮接触到地面,底板的下端面离开地面,关闭电动推杆的开关,移动到合适的位置后,再打开电动推杆的开关,电动推杆收缩,带动万向轮向上移动,直至万向轮缩回进方形槽的内侧,底板的下端面与地面接触,放置稳定,通过设置有外套管、竖杆、滚轮架、滚轮、销孔、档位孔和销柱,当需要改变显示屏的高度时,拔出销柱,将竖杆调整到合适的高度,再插上销柱,使销柱贯穿销孔和其中一个合适的档位孔,该实用新型可以调节高度,提高了适用性;
2、本实用新型通过设置有旋转板、锥齿轮A、转轴、锥齿轮B、短轴、电机,当需要调整显示屏的角度时,打开电机的开关,电机工作带动短轴转档,短轴转动带动锥齿轮B转动,锥齿轮A转动,带动转轴转动,带动旋转板旋转,进而对显示屏的角度进行调整,调整到合适的角度后,关闭电机的开关,通过设置有可伸缩套杆、滑槽、支撑板,提高了旋转板旋转的稳定性,该实用新型便于对显示屏的角度自由调节,提高了用户体验感。
附图说明
图1为本实用新型整体的结构示意图;
图2为本实用新型整体的侧剖视图;
图3为本实用新型底座的局部结构示意图;
图4为本实用新型支撑柱的局部结构示意图。
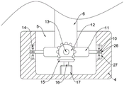
图中:1、底板;2、外套管;3、竖杆;4、底座;5、凹槽;6、显示屏;7、摄像头;8、档位孔;9、销柱;10、滑槽;11、旋转板;12、锥齿轮A;13、转轴;14、可伸缩套杆;15、锥齿轮B;16、短轴;17、电机;18、支撑柱;19、方形槽;20、滚轮架;21、滚轮;22、销孔;23、通槽;24、电动推杆;25、万向轮;26、支撑板;27、活动槽。
具体实施方式
下面将结合本实用新型实施例中的附图,对本实用新型实施例中的技术方案进行清楚、完整地描述,显然,所描述的实施例仅仅是本实用新型一部分实施例,而不是全部的实施例。
请参阅图1至图4,本实用新型提供的一种实施例:一种无纸化会议系统管理设备,包括底座4,底座4的上端面设置有凹槽5,凹槽5内壁上端面的后方固定安装有电机17,电机17的输出端固定连接有短轴16,短轴16的外表面套设有锥齿轮B15,底座4的内部通过转轴13铰接有旋转板11,转轴13外表面的后方套设有锥齿轮A12,且锥齿轮A12与锥齿轮B15啮合,底座4内壁的两侧均开设有活动槽27,旋转板11外表面的两侧固定安装有支撑板26,支撑板26的上端面和下端面均设置有滑槽10,滑槽10的内侧滑动连接有可伸缩套杆14,可伸缩套杆14的另一端与活动槽27的内壁固定连接,旋转板11的上端面固定安装有显示屏6,显示屏6上端面的后方固定安装有摄像头7,底座4下端面的前方和后方均固定安装有竖杆3,竖杆3外表面的上方均匀设置有四个档位孔8,竖杆3底端的外表面安装有滚轮架20,滚轮架20的外表面安装有滚轮21,竖杆3的下端面套设有外套管2,外套管2外表面的上方设置有销孔22,销孔22的内侧设置有销柱9,销柱9贯穿销孔22和其中一个档位孔8,外套管2的下方固定连接有支撑柱18,支撑柱18的外侧设置有底板1,底板1上端面的前后贯穿设有两个通槽23,支撑柱18的下端面设置有方形槽19,方形槽19内壁的顶面固定安装有电动推杆24,电动推杆24的下端面固定安装有万向轮25。其中,本实用新型所提到的电机17(型号可为YS7134)、电动推杆24(型号可为LBP40)均可从市场采购或私人定制获得。
进一步,底板1的下端面通过卡槽固定连接有橡胶防滑垫,支撑柱18的外表面与通槽23的内壁固定连接。
通过采用上述技术方案,提高底板1的稳定性,提高连接的稳定性。
进一步,底板1的内部设置有蓄电池,且蓄电池与电动推杆24电性连接。
通过采用上述技术方案,在不接通电源的情况下,电动推杆24也可以工作。
进一步,可伸缩套杆14包括粗套管和细套杆,且细套杆卡入粗套管的内侧。
通过采用上述技术方案,提高连接的稳定性。
进一步,滚轮架20的外表面设置有条形槽,滚轮21与条形槽通过连接轴连接。
通过采用上述技术方案,提高连接的稳定性。
进一步,转轴13的两端与凹槽5的内壁通过轴承转动连接。
通过采用上述技术方案,提高转轴13转动的稳定性。
进一步,短轴16的外表面与锥齿轮B15的内圈通过焊接固定连接,转轴13的外表面与锥齿轮A12的内圈通过焊接固定连接。
通过采用上述技术方案,提高锥齿轮B15和锥齿轮A12的稳定性。
工作原理:使用时,当需要移动该装置时,打开电动推杆24的开关,电动推杆24伸长带动万向轮25向下移动,直至万向轮25接触到地面,底板1的下端面离开地面,关闭电动推杆24的开关,移动到合适的位置后,再打开电动推杆24的开关,电动推杆24收缩,带动万向轮25向上移动,直至万向轮25缩回进方形槽19的内侧,底板1的下端面与地面接触,放置稳定,接通电源,当需要改变显示屏6的高度时,拔出销柱9,将竖杆3调整到合适的高度,再插上销柱9,使销柱9贯穿销孔22和其中一个合适的档位孔8,当需要调整显示屏6的角度时,打开电机17的开关,电机17工作带动短轴16转档,短轴16转动带动锥齿轮B15转动,锥齿轮A12转动,带动转轴13转动,带动旋转板11旋转,进而对显示屏6的角度进行调整,调整到合适的角度后,关闭电机17的开关,通过设置有可伸缩套杆14、滑槽10、支撑板26,提高了旋转板11旋转的稳定性,该实用新型可以调节高度,提高了适用性,且便于对显示屏6的角度自由调节,提高了用户体验感。
对于本领域技术人员而言,显然本实用新型不限于上述示范性实施例的细节,而且在不背离本实用新型的精神或基本特征的情况下,能够以其他的具体形式实现本实用新型。因此,无论从哪一点来看,均应将实施例看作是示范性的,而且是非限制性的,本实用新型的范围由所附权利要求而不是上述说明限定,因此旨在将落在权利要求的等同要件的含义和范围内的所有变化囊括在本实用新型内。不应将权利要求中的任何附图标记视为限制所涉及的权利要求。

Claims (7)

1.一种无纸化会议系统管理设备,包括底座(4),其特征在于:所述底座(4)的上端面设置有凹槽(5),所述凹槽(5)内壁上端面的后方固定安装有电机(17),所述电机(17)的输出端固定连接有短轴(16),所述短轴(16)的外表面套设有锥齿轮B(15),所述底座(4)的内部通过转轴(13)铰接有旋转板(11),所述转轴(13)外表面的后方套设有锥齿轮A(12),且所述锥齿轮A(12)与所述锥齿轮B(15)啮合,所述底座(4)内壁的两侧均开设有活动槽(27),所述旋转板(11)外表面的两侧固定安装有支撑板(26),所述支撑板(26)的上端面和下端面均设置有滑槽(10),所述滑槽(10)的内侧滑动连接有可伸缩套杆(14),所述可伸缩套杆(14)的另一端与所述活动槽(27)的内壁固定连接,所述旋转板(11)的上端面固定安装有显示屏(6),所述显示屏(6)上端面的后方固定安装有摄像头(7),所述底座(4)下端面的前方和后方均固定安装有竖杆(3),所述竖杆(3)外表面的上方均匀设置有四个档位孔(8),所述竖杆(3)底端的外表面安装有滚轮架(20),所述滚轮架(20)的外表面安装有滚轮(21),所述竖杆(3)的下端面套设有外套管(2),所述外套管(2)外表面的上方设置有销孔(22),所述销孔(22)的内侧设置有销柱(9),所述销柱(9)贯穿所述销孔(22)和其中一个所述档位孔(8),所述外套管(2)的下方固定连接有支撑柱(18),所述支撑柱(18)的外侧设置有底板(1),所述底板(1)上端面的前后贯穿设有两个通槽(23),所述支撑柱(18)的下端面设置有方形槽(19),所述方形槽(19)内壁的顶面固定安装有电动推杆(24),所述电动推杆(24)的下端面固定安装有万向轮(25)。
2.根据权利要求1所述的一种无纸化会议系统管理设备,其特征在于:所述底板(1)的下端面通过卡槽固定连接有橡胶防滑垫,所述支撑柱(18)的外表面与所述通槽(23)的内壁固定连接。
3.根据权利要求1所述的一种无纸化会议系统管理设备,其特征在于:所述底板(1)的内部设置有蓄电池,且所述蓄电池与所述电动推杆(24)电性连接。
4.根据权利要求1所述的一种无纸化会议系统管理设备,其特征在于:所述可伸缩套杆(14)包括粗套管和细套杆,且所述细套杆卡入所述粗套管的内侧。
5.根据权利要求1所述的一种无纸化会议系统管理设备,其特征在于:所述滚轮架(20)的外表面设置有条形槽,所述滚轮(21)与条形槽通过连接轴连接。
6.根据权利要求1所述的一种无纸化会议系统管理设备,其特征在于:所述转轴(13)的两端与所述凹槽(5)的内壁通过轴承转动连接。
7.根据权利要求1所述的一种无纸化会议系统管理设备,其特征在于:所述短轴(16)的外表面与所述锥齿轮B(15)的内圈通过焊接固定连接,所述转轴(13)的外表面与所述锥齿轮A(12)的内圈通过焊接固定连接。
CN202023070985.5U 2020-12-18 2020-12-18 一种无纸化会议系统管理设备 Expired - Fee Related CN214171831U (zh)

Priority Applications (1)

Application Number Priority Date Filing Date Title
CN202023070985.5U CN214171831U (zh) 2020-12-18 2020-12-18 一种无纸化会议系统管理设备

Applications Claiming Priority (1)

Application Number Priority Date Filing Date Title
CN202023070985.5U CN214171831U (zh) 2020-12-18 2020-12-18 一种无纸化会议系统管理设备

Publications (1)

Publication Number Publication Date
CN214171831U true CN214171831U (zh) 2021-09-10

Family

ID=77606920

Family Applications (1)

Application Number Title Priority Date Filing Date
CN202023070985.5U Expired - Fee Related CN214171831U (zh) 2020-12-18 2020-12-18 一种无纸化会议系统管理设备

Country Status (1)

Country Link
CN (1) CN214171831U (zh)

Similar Documents

Publication Publication Date Title
CN214171831U (zh) 一种无纸化会议系统管理设备
CN209782099U (zh) 一种一体背光智能多媒体广告机
CN209895608U (zh) 一种经济管理学教学用组合式教具
CN209593528U (zh) 一种可充电式手机支架
CN216356823U (zh) 一种智能手机支架的自动滑屏阅读装置
CN207767972U (zh) 一种智能防盗多功能展示箱
CN214618865U (zh) 一种大数据互动展示平台
CN217335150U (zh) 一种组合式多功能型手机充电器
CN212276594U (zh) 一种广告专用多媒体教学装置
CN214744274U (zh) 一种图形设计与视频编辑艺术设计终端装置
CN210493536U (zh) 一种市场营销综合服务展示装置
CN210378331U (zh) 一种新型广告牌用可调广告架
CN209072555U (zh) 一种可调节手机支架
CN212178437U (zh) 一种学生校外活动的综合管理装置
CN210077204U (zh) 一种电力营销用多功能展示装置
CN212546396U (zh) 一种用于手机模型展示的装置
CN214855729U (zh) 一种软件开发用系统展览装置
CN216723640U (zh) 一种多功能办公桌
CN216078952U (zh) 一种学生信息管理装置
CN214896013U (zh) 一种大尺寸大视场虚像显示结构
CN220343992U (zh) 一种信息技术咨询用便携式演示设备
CN222230147U (zh) 一种便携式学校教育教学用记录装置
CN219678518U (zh) 一种车载旋转手机支架
CN215646385U (zh) 一种可反向折叠的无线充支架
CN214587418U (zh) 一种计算机应用实训考核装置

Legal Events

Date Code Title Description
GR01 Patent grant
GR01 Patent grant
CF01 Termination of patent right due to non-payment of annual fee
CF01 Termination of patent right due to non-payment of annual fee

Granted publication date: 20210910