CN213913796U - A reation kettle for polyurethane production - Google Patents

A reation kettle for polyurethane production Download PDF

Info

Publication number
CN213913796U
CN213913796U CN202022840215.8U CN202022840215U CN213913796U CN 213913796 U CN213913796 U CN 213913796U CN 202022840215 U CN202022840215 U CN 202022840215U CN 213913796 U CN213913796 U CN 213913796U
Authority
CN
China
Prior art keywords
pipe
filter
kettle body
flushing
sealing plate
Prior art date
Legal status (The legal status is an assumption and is not a legal conclusion. Google has not performed a legal analysis and makes no representation as to the accuracy of the status listed.)
Expired - Fee Related
Application number
CN202022840215.8U
Other languages
Chinese (zh)
Inventor
胡新华
Current Assignee (The listed assignees may be inaccurate. Google has not performed a legal analysis and makes no representation or warranty as to the accuracy of the list.)
Chengdu Pengzhou Mingzhong Chemical Co ltd
Original Assignee
Chengdu Pengzhou Mingzhong Chemical Co ltd
Priority date (The priority date is an assumption and is not a legal conclusion. Google has not performed a legal analysis and makes no representation as to the accuracy of the date listed.)
Filing date
Publication date
Application filed by Chengdu Pengzhou Mingzhong Chemical Co ltd filed Critical Chengdu Pengzhou Mingzhong Chemical Co ltd
Priority to CN202022840215.8U priority Critical patent/CN213913796U/en
Application granted granted Critical
Publication of CN213913796U publication Critical patent/CN213913796U/en
Expired - Fee Related legal-status Critical Current
Anticipated expiration legal-status Critical

Links

Images

Landscapes

  • Mixers Of The Rotary Stirring Type (AREA)

Abstract

本实用新型公开了一种用于聚氨酯生产的反应釜,包括:侧部设有加料管的釜体,所述釜体顶部连接有排气管,其底部设有下料管,所述加料管与过滤器可拆卸连接,所述过滤器顶部开口处铰接有表面设有通口的盖板,其内部活动安装有过滤组件,所述过滤组件包括均流板、呈倒置V形的滤网一及滤网二,所述均流板底部通过连杆依次与滤网一及滤网二固定;所述釜体内部竖直设置有由电机驱动旋转的混合轴,所述混合轴顶部环设有多个旋转挡片,所述混合轴底部设置有与所述釜体底部匹配的搅拌框与若干搅拌叶片;还包括冲洗管,所述冲洗管底部通过若干通管连接有冲洗喷头。本实用新型提供一种用于聚氨酯生产的反应釜,可对聚氨酯原料进行过滤且便于清洗。

Figure 202022840215

The utility model discloses a reaction kettle for polyurethane production, comprising: a kettle body provided with a feeding pipe at the side, an exhaust pipe is connected to the top of the kettle body, a feeding pipe is arranged at the bottom of the kettle body, and the feeding pipe is Removably connected to the filter, the top opening of the filter is hinged with a cover plate with a through opening on the surface, and a filter assembly is movably installed inside the filter assembly. and the second filter screen, the bottom of the equalizing plate is fixed with the first filter screen and the second filter screen in turn by connecting rods; the inside of the kettle body is vertically arranged with a mixing shaft driven and rotated by a motor, and the top ring of the mixing shaft is provided with A plurality of rotating baffles, the bottom of the mixing shaft is provided with a stirring frame and a number of stirring blades matching the bottom of the kettle body; it also includes a flushing pipe, and the bottom of the flushing pipe is connected with a flushing nozzle through several through pipes. The utility model provides a reaction kettle for polyurethane production, which can filter polyurethane raw materials and is convenient for cleaning.

Figure 202022840215

Description

A reation kettle for polyurethane production
Technical Field
The utility model relates to a polyurethane production technical field especially relates to a reation kettle for polyurethane production.
Background
The polyurethane is named polyurethane, a high molecular compound, and the polyurethane has two major types of polyester type and polyether type, and is widely applied to the fields of home furnishing, buildings, daily necessities, traffic, household appliances and the like.
In the prior art, when the existing polyurethane reaction kettle is used, proportioned raw materials of all components need to be put into the reaction kettle for mixing production, a lot of raw materials are adhered to the inner wall of the reaction kettle after production is finished, and the interior of the reaction kettle needs to be cleaned manually, so that the manual cleaning mode is inconvenient to clean, low in cleaning efficiency, high in labor intensity and capable of increasing production cost, and residual slurry in the reaction kettle influences the quality of slurry mixing of the next batch; reaction kettle's feed inlet is equipped with filter equipment usually in order to filter the edulcoration to the raw materials and guarantee polyurethane finished product quality, but the inconvenient washing of current filtration also is difficult for overhauing to appear blockking up in the filter process easily and influence feed efficiency, reduction in production efficiency.
SUMMERY OF THE UTILITY MODEL
An object of the present invention is to solve at least the above problems and/or disadvantages and to provide at least the advantages which will be described later.
In order to solve the deficiencies of the prior art, the utility model provides a reation kettle for polyurethane production, include:
the device comprises a kettle body, a feeding pipe, a discharge pipe, a filter assembly and a filtering assembly, wherein the side part of the kettle body is provided with the feeding pipe, the top of the kettle body is connected with the discharge pipe, the bottom of the kettle body is provided with the discharge pipe, the feeding pipe is detachably connected with the filter, an opening at the top of the filter is hinged with a cover plate with an opening on the surface, the filtering assembly is movably arranged in the kettle body, the filtering assembly comprises a flow equalizing plate with a plurality of flow equalizing openings on the surface, a first filtering screen and a second filtering screen which are in an inverted V shape, the bottom of the flow equalizing plate is sequentially fixed with the first filtering screen and the second filtering screen through a connecting rod, and the bottom of the second filtering screen is positioned on a boss on the inner side wall of the filter;
a mixing shaft driven to rotate by a motor is vertically arranged in the kettle body, a plurality of rotating separation blades are annularly arranged at the top of the mixing shaft, and a stirring frame and a plurality of stirring blades matched with the bottom of the kettle body are arranged at the bottom of the mixing shaft;
still including installing the flushing pipe at the internal top of cauldron, the flushing pipe bottom is connected with washing terminals through a plurality of siphunculus, washing terminals is located rotatory separation blade top, the flushing pipe leads to pipe to be connected with external water source, be provided with the booster pump on the water pipe line.
Preferably, the bottom of the filter is provided with a connecting pipe, and the connecting pipe is in threaded connection with the feeding pipe.
Preferably, a sealing plate is arranged at the top of the kettle body, an exhaust port is formed in the sealing plate, and the mixing shaft is movably arranged on the sealing plate in a penetrating manner; the washing pipe is located above the sealing plate, the through pipe is movably arranged on the sealing plate in a penetrating mode, the washing nozzle is located below the sealing plate, a rotary joint penetrates through the joint of the through pipe and the washing pipe, a driving motor is fixed to the upper surface of the sealing plate, an output shaft of the driving motor is connected with the adjacent through pipe through belt transmission, and the adjacent two through pipes are connected through auxiliary belt transmission.
Preferably, the top of the flow equalizing plate is vertically provided with a lifting rod, and the sum of the length of the lifting rod and the length of the connecting rod is smaller than the distance from the lug boss to the opening at the bottom of the filter.
Preferably, the flow equalizing plate is arranged in an arch shape.
Preferably, the stirring blades are of an inverted V-shaped structure, and the stirring blades are uniformly arranged along the height direction of the mixing shaft.
The utility model discloses at least, include following beneficial effect:
1. the stirring frame at the bottom of the mixing shaft is matched with the bottom of the kettle body, so that the material stopping dead angle and the stirring dead angle in the kettle body are avoided, and the stirring frame and the stirring blade group are used for fully stirring the raw materials for polyurethane production, so that the raw materials are uniformly mixed, and the production efficiency is improved;
2. the washing nozzle flushes water downwards, the rotary retaining piece blocks scattered water flow in the rotating process, so that the water flow splashes and impacts the inner wall of the kettle body, the inner wall of the kettle body is washed, residual raw materials adhered to the inner wall of the kettle body can be washed away, the washing is convenient, and the washing efficiency is improved;
3. the feeding pipe and the filter are detachably connected, so that the filter can be conveniently detached to carry out operations such as cleaning, overhauling and the like, and the filtering effect of the filter is ensured; the flow equalizing plate is beneficial to blocking the raw materials, so that the flow velocity of the raw materials is slowed down, the impact force is reduced, the raw materials are dispersed, the raw materials uniformly fall on the first filter screen, and the situation that the raw materials flow to the middle area of the first filter screen in a concentrated mode and the filter screen of the assembly is partially sunken is avoided; filter the raw materials with filter screen two cooperation jointly, guarantee the filter effect, and filter screen one all is the setting of invering V-arrangement with filter screen two, increase filter area, the large granule solid impurity after filtering simultaneously glides to the side bottom of filter screen one and filter screen two along the slope section for difficult emergence when filter screen one filters with filter screen two is blockked up, and the solid impurity of whereabouts to filter screen one and filter screen two bottoms is convenient for follow-up concentrated clearance, improves cleaning process efficiency.
Drawings
FIG. 1 is a schematic structural view of a reaction kettle for polyurethane production according to the present invention.
Fig. 2 is a schematic diagram of the filter structure of the present invention.
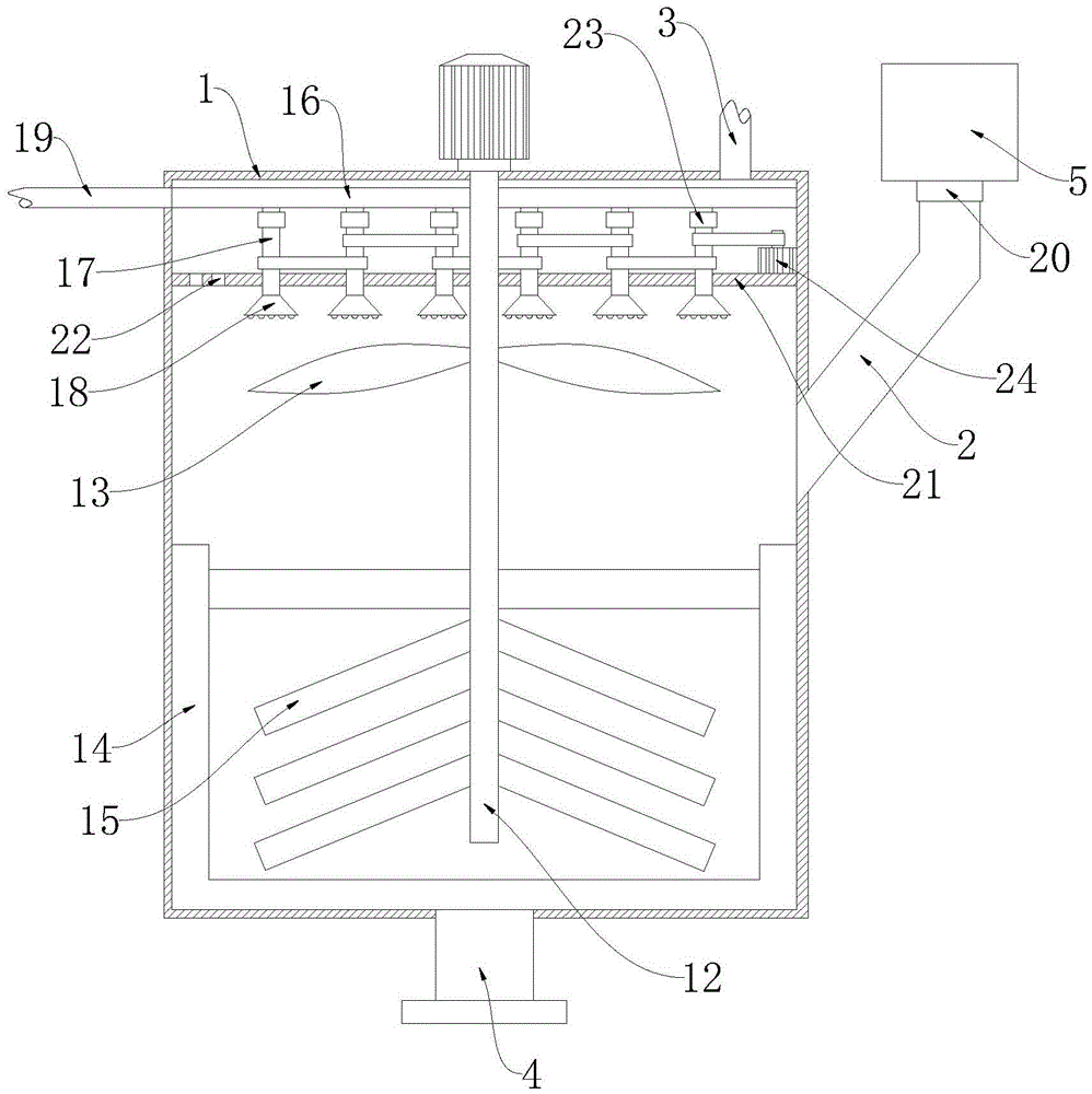
Reference numerals: 1-kettle body, 2-feeding pipe, 3-exhaust pipe, 4-discharging pipe, 5-filter, 6-cover plate, 7-through port, 8-flow equalizing plate, 81-flow equalizing port, 82-connecting rod, 9-filter screen I, 10-filter screen II, 11-boss, 12-mixing shaft, 13-rotary baffle, 14-stirring frame, 15-stirring blade, 16-flushing pipe, 17-through pipe, 18-flushing nozzle, 19-water pipe, 20-connecting pipe, 21-sealing plate, 22-exhaust port, 23-rotary joint, 24-driving motor and 25-lifting rod.
Detailed Description
The present invention is further described in detail below with reference to the drawings so that those skilled in the art can implement the invention with reference to the description.
It will be understood that terms such as "having," "including," and "comprising," as used herein, do not preclude the presence or addition of one or more other elements or groups thereof.
Fig. 1-2 show the utility model discloses a reation kettle for polyurethane production, include:
the device comprises a kettle body 1 with a feeding pipe 2 arranged on the side part, wherein the top of the kettle body 1 is connected with an exhaust pipe 3, the bottom of the kettle body is provided with a discharging pipe 4, the feeding pipe 2 is detachably connected with a filter 5, an opening part at the top of the filter 5 is hinged with a cover plate 6 with an opening 7 on the surface, a filtering component is movably arranged in the kettle body, the filtering component comprises a flow equalizing plate 8 with a plurality of flow equalizing openings 81 on the surface, a first filter screen 9 and a second filter screen 10 in an inverted V shape, the bottom of the flow equalizing plate 8 is sequentially fixed with the first filter screen 9 and the second filter screen 10 through a connecting rod 82, and the bottom of the second filter screen 10 is positioned on a boss 11 on the inner side wall of the filter 5;
a mixing shaft 12 driven by a motor to rotate is vertically arranged in the kettle body 1, a plurality of rotating blocking pieces 13 are annularly arranged at the top of the mixing shaft 12, and a stirring frame 14 and a plurality of stirring blades 15 matched with the bottom of the kettle body 1 are arranged at the bottom of the mixing shaft 12;
still including installing the flushing pipe 16 at top in the cauldron body 1, 16 bottoms of flushing pipe are connected with washing terminals 18 through a plurality of siphunculus 17, washing terminals 18 are located rotatory separation blade 13 top, flushing pipe 16 leads to pipe 19 to be connected with external water source, be provided with the booster pump on the 19 pipelines of water pipe.
In the technical scheme, the stirring frame 14 at the bottom of the mixing shaft 12 is matched with the bottom of the kettle body 1, so that a material stopping dead angle and a stirring dead angle in the kettle body 1 are avoided, and the stirring frame 14 and the stirring blades 15 group fully stir raw materials for polyurethane production, so that the raw materials are uniformly mixed, and the production efficiency is improved; the washing nozzle 18 flushes water downwards, the rotary baffle 13 blocks scattered water flow in the rotating process, so that water flow splashes and impacts the inner wall of the kettle body 1 to wash the inner wall of the kettle body 1, residual raw materials adhered to the inner wall of the kettle body 1 are favorably washed, the washing is convenient, and the washing efficiency is improved; the feeding pipe 2 and the filter 5 are detachably connected, so that the filter 5 can be conveniently detached to carry out operations such as cleaning and maintenance, and the filtering effect of the filter is ensured; the flow equalizing plate 8 is favorable for blocking raw materials so as to slow down the flow velocity of the raw materials and reduce the impact force, and is favorable for dispersing the raw materials so that the raw materials uniformly fall on the first filter screen 9, thereby preventing the concentrated raw materials from flowing to the middle area of the first filter screen 9 and locally sinking the first filter screen 9; filter the raw materials with two 10 common cooperations of filter screen one 9, guarantee the filter effect, and filter screen one 9 all is the setting of invering V-arrangement with two 10 filter screens, increase filter area, large granule solid impurity after the while filtration glides to the side bottom of filter screen one 9 and two 10 filter screens along the slope section, be difficult for taking place the jam when making filter screen one 9 filter with two 10 filter screens, and fall the solid impurity of filter screen one 9 and filter screen 10 bottom and be convenient for follow-up concentrated clearance, improve cleaning treatment efficiency.
The working principle is as follows: the port 7 of the top cover plate 6 of the filter 5 is connected with a raw material conveying pipeline, and the exhaust pipe 3 is connected with a condensing device; the raw materials come out from raw materials pipeline and enter into filter 5 and filter, and the raw materials after filtering enters into cauldron body 1 through filling tube 2 in, starter motor, motor drive mixing shaft 12 is rotatory, and stirring frame 14 promotes the reaction with the raw materials with stirring blade 15 group intensive mixing polyurethane production, and the gas that produces in the production process is discharged through blast pipe 3 and is collected, and production is accomplished the back, and polyurethane discharges through unloading pipe 4. Under the action of the booster pump, cleaning water enters the flushing pipe 16 through the water pipe 19 and is finally sprayed out through the flushing nozzle 18, meanwhile, the mixing shaft 12 drives the rotary retaining sheet 13, the stirring blades 15 and the stirring frame 14 to rotate, so that the kettle body 1 is cleaned, and the next batch of production is carried out after the cleaning is finished.
In another example, the filter 5 is provided with a connecting pipe 20 at the bottom, and the connecting pipe 20 is connected with the feeding pipe 2 by screw threads. By adopting the scheme, the filter 5 and the charging pipe 2 are firmly fixed and are convenient to detach.
In another example, a sealing plate 21 is installed on the top of the kettle body 1, an exhaust port 22 is opened on the sealing plate 21, and the mixing shaft 12 is movably arranged on the sealing plate 21; the flushing pipe 16 is located above the sealing plate 21, the through pipe 17 is movably arranged on the sealing plate 21 in a penetrating mode, the flushing nozzle 18 is located below the sealing plate 21, a rotary joint 23 penetrates through the joint of the through pipe 17 and the flushing pipe 16, a driving motor 24 is fixed on the upper surface of the sealing plate 21, an output shaft of the driving motor 24 is connected with the adjacent through pipe 17 through belt transmission, and the adjacent two through pipes 17 are connected through auxiliary belt transmission.
In the technical scheme, the through pipe 17 is rotated under the combined action of the driving motor 24, the belt and the auxiliary belt, and the through pipe 17 drives the washing nozzle 18 at the bottom to rotate, so that the washing nozzle 18 uniformly and comprehensively washes the inside of the kettle body 1.
In another example, the top of the flow equalizing plate 8 is vertically provided with a lifting rod 25, and the sum of the length of the lifting rod 25 and the length of the connecting rod 82 is less than the distance length from the boss 11 to the bottom opening of the filter 5. With this arrangement, it is convenient for the operator to remove the filter assembly from the filter 5 by extracting the lifting bar 25.
In another example, the flow equalization plate 8 is arched. By adopting the scheme, the arched flow equalizing plate 8 can disperse and buffer the impact force caused by the raw materials by utilizing the arc-shaped surface, thereby being beneficial to prolonging the service life of the flow equalizing plate 8.
In another example, the stirring blades 15 are in an inverted V-shaped structure, and the stirring blades 15 are uniformly arranged along the height direction of the mixing shaft 12. By adopting the scheme, the stirring blade 15 with the inverted V-shaped structure is beneficial to enlarging the stirring range and improving the stirring and mixing efficiency.
While the embodiments of the invention have been described above, it is not limited to the applications listed in the description and the embodiments, which are fully applicable in all kinds of fields of application of the invention, and further modifications can be easily made by those skilled in the art without departing from the general concept defined by the claims and their equivalents, and it is therefore not limited to the specific details and illustrations shown and described herein, and it is obvious that various changes and modifications can be made by those skilled in the art without departing from the spirit and scope of the invention.

Claims (6)

1.一种用于聚氨酯生产的反应釜,其特征在于,包括:1. a reaction kettle for polyurethane production, is characterized in that, comprising: 侧部设有加料管(2)的釜体(1),所述釜体(1)顶部连接有排气管(3),其底部设有下料管(4),所述加料管(2)与过滤器(5)可拆卸连接,所述过滤器(5)顶部开口处铰接有表面设有通口(7)的盖板(6),其内部活动安装有过滤组件,所述过滤组件包括表面开有若干均流口(81)的均流板(8)、呈倒置V形的滤网一(9)及滤网二(10),所述均流板(8)底部通过连杆(82)依次与滤网一(9)及滤网二(10)固定,所述滤网二(10)底部位于过滤器(5)内侧壁上的凸台(11)上;A kettle body (1) with a feeding pipe (2) on the side, an exhaust pipe (3) is connected to the top of the kettle body (1), and a feeding pipe (4) is provided at the bottom of the kettle body (1). ) is detachably connected to the filter (5), the top opening of the filter (5) is hinged with a cover plate (6) provided with a through opening (7) on the surface, and a filter assembly is movably installed inside the filter assembly. It includes an equalizing plate (8) with a number of equalizing openings (81) on the surface, a screen one (9) and a second screen (10) in an inverted V shape, the bottom of the equalizing plate (8) passing through the connecting rod (82) are sequentially fixed with the first filter screen (9) and the second filter screen (10), and the bottom of the second filter screen (10) is located on the boss (11) on the inner side wall of the filter (5); 所述釜体(1)内部竖直设置有由电机驱动旋转的混合轴(12),所述混合轴(12)顶部环设有多个旋转挡片(13),所述混合轴(12)底部设置有与所述釜体(1)底部匹配的搅拌框(14)与若干搅拌叶片(15);A mixing shaft (12) driven and rotated by a motor is vertically arranged inside the kettle body (1), a plurality of rotating baffles (13) are arranged on the top of the mixing shaft (12), and the mixing shaft (12) The bottom is provided with a stirring frame (14) and several stirring blades (15) matching the bottom of the kettle body (1); 还包括安装在所述釜体(1)内顶部的冲洗管(16),所述冲洗管(16)底部通过若干通管(17)连接有冲洗喷头(18),所述冲洗喷头(18)位于旋转挡片(13)上方,所述冲洗管(16)通过水管(19)与外界水源连接,所述水管(19)管路上设置有增压泵。It also includes a flushing pipe (16) installed at the top of the kettle body (1), the bottom of the flushing pipe (16) is connected with a flushing nozzle (18) through a plurality of through pipes (17), and the flushing nozzle (18) Located above the rotating baffle plate (13), the flushing pipe (16) is connected to an external water source through a water pipe (19), and a booster pump is arranged on the pipeline of the water pipe (19). 2.根据权利要求1所述的一种用于聚氨酯生产的反应釜,其特征在于,所述过滤器(5)底部设有连接管(20),所述连接管(20)与所述加料管(2)采用螺纹连接。2. A kind of reaction kettle for polyurethane production according to claim 1, characterized in that, a connecting pipe (20) is provided at the bottom of the filter (5), and the connecting pipe (20) is connected with the feeding The pipe (2) is threaded. 3.根据权利要求1所述的一种用于聚氨酯生产的反应釜,其特征在于,在所述釜体(1)顶部安装有密封板(21),所述密封板(21)上开有排气口(22),所述混合轴(12)活动穿设在所述密封板(21)上;所述冲洗管(16)位于所述密封板(21)上方,所述通管(17)活动穿设在所述密封板(21)上,所述冲洗喷头(18)位于所述密封板(21)下方,所述通管(17)与冲洗管(16)连接处贯穿设置有旋转接头(23),所述密封板(21)上表面固定有驱动电机(24),所述驱动电机(24)的输出轴与其相邻的通管(17) 通过皮带传动连接,相邻的两个通管(17)间通过辅助皮带传动连接。3. A kind of reaction kettle for polyurethane production according to claim 1, characterized in that, a sealing plate (21) is installed on the top of the kettle body (1), and a sealing plate (21) is provided with an exhaust port (22), the mixing shaft (12) is movably penetrated on the sealing plate (21); the flushing pipe (16) is located above the sealing plate (21), and the through pipe (17) ) is movably penetrated on the sealing plate (21), the flushing nozzle (18) is located under the sealing plate (21), and the connection between the through pipe (17) and the flushing pipe (16) is provided with a rotating A joint (23), a drive motor (24) is fixed on the upper surface of the sealing plate (21), and the output shaft of the drive motor (24) is connected with its adjacent through pipe (17) through a belt drive. The two through pipes (17) are connected by an auxiliary belt drive. 4.根据权利要求1所述的一种用于聚氨酯生产的反应釜,其特征在于,所述均流板(8)顶部竖直设有提杆(25),所述提杆(25)的长度与连杆(82)的长度之和小于所述凸台(11)至过滤器(5)底部开口的距离长度。4. A kind of reaction kettle for polyurethane production according to claim 1, characterized in that, a lifting rod (25) is vertically provided on the top of the equalizing plate (8), and the lifting rod (25) is The sum of the length and the length of the connecting rod (82) is less than the length of the distance from the boss (11) to the bottom opening of the filter (5). 5.根据权利要求1所述的一种用于聚氨酯生产的反应釜,其特征在于,所述均流板(8)呈拱形设置。5 . The reaction kettle for polyurethane production according to claim 1 , wherein the flow equalizing plate ( 8 ) is arranged in an arch shape. 6 . 6.根据权利要求1所述的一种用于聚氨酯生产的反应釜,其特征在于,所述搅拌叶片(15)呈倒置V形结构,所述搅拌叶片(15)沿所述混合轴(12)高度方向均匀排列。6. The reaction kettle for polyurethane production according to claim 1, wherein the stirring blade (15) is in an inverted V-shaped structure, and the stirring blade (15) is along the mixing shaft (12). ) are evenly arranged in the height direction.
CN202022840215.8U 2020-11-30 2020-11-30 A reation kettle for polyurethane production Expired - Fee Related CN213913796U (en)

Priority Applications (1)

Application Number Priority Date Filing Date Title
CN202022840215.8U CN213913796U (en) 2020-11-30 2020-11-30 A reation kettle for polyurethane production

Applications Claiming Priority (1)

Application Number Priority Date Filing Date Title
CN202022840215.8U CN213913796U (en) 2020-11-30 2020-11-30 A reation kettle for polyurethane production

Publications (1)

Publication Number Publication Date
CN213913796U true CN213913796U (en) 2021-08-10

Family

ID=77146404

Family Applications (1)

Application Number Title Priority Date Filing Date
CN202022840215.8U Expired - Fee Related CN213913796U (en) 2020-11-30 2020-11-30 A reation kettle for polyurethane production

Country Status (1)

Country Link
CN (1) CN213913796U (en)

Cited By (2)

* Cited by examiner, † Cited by third party
Publication number Priority date Publication date Assignee Title
CN113856602A (en) * 2021-11-05 2021-12-31 华大化学(安徽)有限公司 Automatic synthetic reaction unit of environmental protection type polyurethane resin
CN114210108A (en) * 2021-12-23 2022-03-22 江苏云天新材料制造有限公司 Prevent blockking up effluent treatment filter equipment

Cited By (2)

* Cited by examiner, † Cited by third party
Publication number Priority date Publication date Assignee Title
CN113856602A (en) * 2021-11-05 2021-12-31 华大化学(安徽)有限公司 Automatic synthetic reaction unit of environmental protection type polyurethane resin
CN114210108A (en) * 2021-12-23 2022-03-22 江苏云天新材料制造有限公司 Prevent blockking up effluent treatment filter equipment

Similar Documents

Publication Publication Date Title
CN108144353A (en) A kind of stone sewage filtration treatment method
CN213913796U (en) A reation kettle for polyurethane production
CN219440972U (en) Recovery and treatment device for rare earth production waste liquid
CN219079123U (en) Wastewater treatment device
CN210333014U (en) Chemical raw material impurity rapid filtering device
CN215877916U (en) Two-way circulation mixing reaction kettle
CN213132167U (en) Simple sand-water separator
CN106745157B (en) A kind of cleaning system for bunt gypsum cleaning
CN221933916U (en) A pickling reactor for efficient separation and purification of high-purity quartz sand
CN118179130B (en) Environment-friendly filtering device for building water supply and drainage
CN216910502U (en) Broken stone crushing device for mining
CN219466535U (en) Concrete mixing plant
CN213895534U (en) Automatic filtering device for sludge inoculation
CN215592696U (en) Stirring tank washs uses effluent treatment plant
CN212602565U (en) Concrete mixer is used in bridge engineering construction
CN212016924U (en) Particle filtering device for sewage treatment
CN108840474A (en) A kind of chemical products production waste water waste material separation and recovery filter device
CN213760789U (en) Water-reducing agent mother liquor filters purification apparatus for producing
CN211133171U (en) Spiral filtering washing machine
CN223234557U (en) Cleaning device convenient for discharging and used for quartz sand processing
CN115193538A (en) Ore washer with sewage treatment function
CN207986901U (en) A kind of environmental protecting device of removal suspended matter in silicon carbide sand washing wastewater
CN223475750U (en) Desliming device with filtering structure for quartz sand production
CN218435337U (en) Integrated sewage treatment equipment
CN223329099U (en) Mineral washing wastewater treatment system

Legal Events

Date Code Title Description
GR01 Patent grant
GR01 Patent grant
CF01 Termination of patent right due to non-payment of annual fee

Granted publication date: 20210810