CN213664206U - Rotatable industrial design platform - Google Patents

Rotatable industrial design platform Download PDF

Info

Publication number
CN213664206U
CN213664206U CN202021881179.3U CN202021881179U CN213664206U CN 213664206 U CN213664206 U CN 213664206U CN 202021881179 U CN202021881179 U CN 202021881179U CN 213664206 U CN213664206 U CN 213664206U
Authority
CN
China
Prior art keywords
fixedly connected
fixed
industrial design
design table
telescopic leg
Prior art date
Legal status (The legal status is an assumption and is not a legal conclusion. Google has not performed a legal analysis and makes no representation as to the accuracy of the status listed.)
Expired - Fee Related
Application number
CN202021881179.3U
Other languages
Chinese (zh)
Inventor
张亚军
李克忠
Current Assignee (The listed assignees may be inaccurate. Google has not performed a legal analysis and makes no representation or warranty as to the accuracy of the list.)
Central South University of Forestry and Technology
Original Assignee
Central South University of Forestry and Technology
Priority date (The priority date is an assumption and is not a legal conclusion. Google has not performed a legal analysis and makes no representation as to the accuracy of the date listed.)
Filing date
Publication date
Application filed by Central South University of Forestry and Technology filed Critical Central South University of Forestry and Technology
Priority to CN202021881179.3U priority Critical patent/CN213664206U/en
Application granted granted Critical
Publication of CN213664206U publication Critical patent/CN213664206U/en
Expired - Fee Related legal-status Critical Current
Anticipated expiration legal-status Critical

Links

Images

Landscapes

  • Legs For Furniture In General (AREA)

Abstract

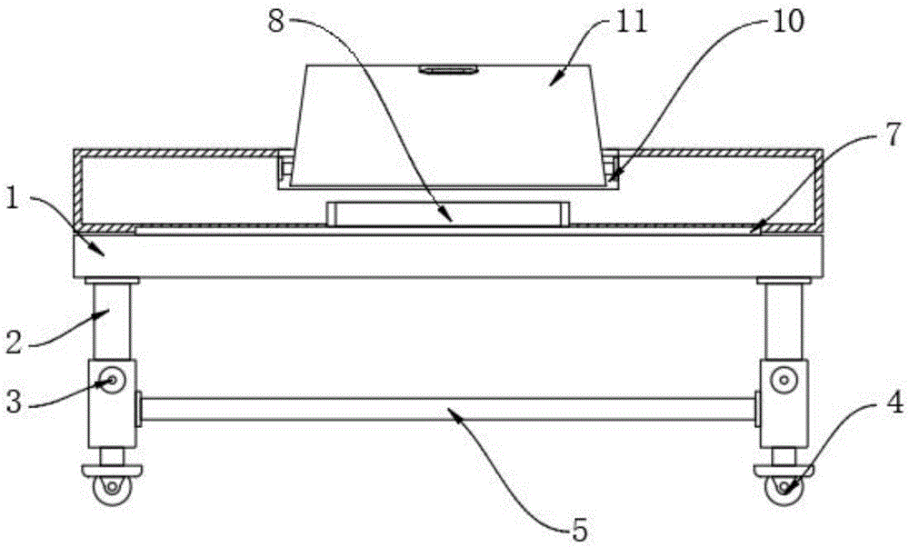
本实用新型公开了一种可旋转的工业设计台,包括固定台板,所述固定台板的下表面固定连接有伸缩腿,所述伸缩腿的表面设置有调节旋钮,所述伸缩腿的底端固定连接有制动滚轮,所述伸缩腿的表面固定连接有稳定横杆,所述固定台板的正面固定连接有搭扣,所述固定台板的上表面固定连接有固定座,所述固定座的上表面转动连接有转动盘,所述转动盘的上表面固定连接有工作台板。该可旋转的工业设计台,通过设置伸缩腿和调节旋钮,能够调节整体设计台的高度并固定,通过设置作图板,能够放置图纸并固定,通过设置支撑杆,能够支撑起作图板,调节作图板的角度,便于设计人员进行绘制图纸,从而达到方便使用的效果。

Figure 202021881179

The utility model discloses a rotatable industrial design table, comprising a fixed table board, a telescopic leg is fixedly connected to the lower surface of the fixed table board, an adjustment knob is arranged on the surface of the telescopic leg, and the bottom of the telescopic leg is provided with an adjustment knob. A braking roller is fixedly connected to the end, a stable cross bar is fixedly connected to the surface of the telescopic leg, a buckle is fixedly connected to the front of the fixed platen, and a fixed seat is fixedly connected to the upper surface of the fixed platen. The upper surface of the fixed seat is rotatably connected with a rotating disk, and the upper surface of the rotating disk is fixedly connected with a worktable. The rotatable industrial design table can adjust the height of the overall design table and fix it by setting telescopic legs and adjusting knobs, can place drawings and fix it by setting a drawing board, and can support the drawing board by setting a support rod. Adjusting the angle of the drawing board is convenient for designers to draw drawings, so as to achieve the effect of convenient use.

Figure 202021881179

Description

Rotatable industrial design platform
Technical Field
The utility model relates to an industrial design platform technical field specifically is a rotatable industrial design platform.
Background
Industrial design refers to the creative activity of planning and designing products produced by industrial means to best match the users.
In industrial design, drawings are often designed and drawn on an industrial design table, the height and the angle of a table top cannot be adjusted by a traditional industrial design table, and the traditional industrial design table is very inconvenient to use when drawings are drawn.
Accordingly, we provide a rotatable industrial design table.
SUMMERY OF THE UTILITY MODEL
An object of the utility model is to provide a rotatable industrial design platform to solve the problem that proposes among the above-mentioned background art.
In order to achieve the above object, the utility model provides a following technical scheme: the utility model provides a rotatable industrial design platform, includes fixed platen, the lower fixed surface of fixed platen is connected with flexible leg, the surface of flexible leg is provided with adjust knob, the bottom fixedly connected with brake roller of flexible leg, the fixed surface of flexible leg is connected with the stable horizontal pole, the positive fixedly connected with hasp of fixed platen, the fixed surface fixedly connected with fixing base of fixed platen, the upper surface of fixing base rotates and is connected with the rolling disc, the last fixed surface of rolling disc is connected with the work platen, the upper surface of work platen is seted up flutedly, the inner wall of recess is provided with the drawing board, the lower surface swing joint of drawing board has the bracing piece.
Preferably, the number of the telescopic legs is four, and the four telescopic legs are fixedly connected to four corners of the lower surface of the fixed bedplate respectively.
Preferably, the number of the braking rollers is four, and the four braking rollers are respectively and fixedly connected to the bottom ends of the four telescopic legs through rotating shafts.
Preferably, the number of the hasps is eight, the eight hasps are divided into four groups, the four groups of hasps are respectively and fixedly connected to the front, back, left and right surfaces of the fixed bedplate, and accessories matched with the hasps are arranged on the front, back, left and right surfaces of the working bedplate.
Preferably, the inner wall swing joint of recess has the pivot, the left and right sides of drawing board is run through to the pivot, the upper surface of drawing board is provided with the paper clip.
Preferably, the inner wall of the groove is provided with a sliding groove for the movement of the supporting rod, and the surface of the supporting rod is provided with a rotating shaft.
Advantageous effects
The utility model provides a rotatable industrial design platform possesses following beneficial effect:
1. this rotatable industrial design platform through setting up flexible leg and adjust knob, can adjust the height and the fixed of global design platform, through setting up the drawing board, can place the drawing and fix, through setting up the bracing piece, can support the drawing board, adjusts the angle of drawing board, and the designer of being convenient for draws the drawing to reach the effect that facilitates the use.
2. This rotatable industrial design platform, through setting up fixing base and rolling disc, the work platen of being convenient for rotates on the fixing base through the rolling disc, through setting up the hasp, is convenient for fix between work platen and the fixed platen, through setting up brake roller, the holistic removal of design platform of being convenient for, through setting up the work platen, the designer of being convenient for carries out design work on the work platen.
Drawings
FIG. 1 is a schematic view of a front cross-sectional structure of the present invention;
FIG. 2 is a schematic side view of the present invention;
fig. 3 is a schematic view of the front view structure of the present invention.
In the figure: the device comprises a fixed bedplate 1, telescopic legs 2, an adjusting knob 3, a brake roller 4, a stable cross rod 5, a hasp 6, a fixed seat 7, a rotating disc 8, a working bedplate 9, a groove 10, a drawing board 11 and a supporting rod 12.
Detailed Description
The technical solutions in the embodiments of the present invention will be described clearly and completely with reference to the accompanying drawings in the embodiments of the present invention, and it is obvious that the described embodiments are only some embodiments of the present invention, not all embodiments. Based on the embodiments in the present invention, all other embodiments obtained by a person skilled in the art without creative work belong to the protection scope of the present invention.
Referring to fig. 1-3, the present invention provides a technical solution: the utility model provides a rotatable industrial design platform, including fixed platen 1, the flexible leg 2 of lower fixed surface fixedly connected with of fixed platen 1, the quantity of flexible leg 2 is four, four flexible legs 2 are the four corners of fixed platen 1 lower surface respectively fixed connection, the surface of flexible leg 2 is provided with adjust knob 3, through setting up flexible leg 2 and adjust knob 3, can adjust the height and the fixing of global design platform, the bottom fixedly connected with brake roller 4 of flexible leg 2, brake roller 4's quantity is four, four brake roller 4 are fixed connection respectively in four flexible leg 2's bottom through the pivot, through setting up brake roller 4, be convenient for the holistic removal of design platform.
The surface of the telescopic leg 2 is fixedly connected with a stabilizing cross rod 5, the front surface of the fixed bedplate 1 is fixedly connected with hasps 6, the number of the hasps 6 is eight, the eight hasps 6 are divided into four groups, the four groups of hasps 6 are respectively and fixedly connected with the front, the rear, the left and the right of the fixed bedplate 1, the upper surface of the fixed bedplate 1 is fixedly connected with a fixed seat 7, the upper surface of the fixed seat 7 is rotatably connected with a rotating disc 8, the upper surface of the rotating disc 8 is fixedly connected with a working bedplate 9, the front, the rear, the left and the right of the working bedplate 9 are, by arranging the fixed seat 7 and the rotating disc 8, the working table plate 9 can conveniently rotate on the fixed seat 7 through the rotating disc 8, through setting up hasp 6, be convenient for fix between workstation board 9 and the fixed platen 1, through setting up workstation board 9, the designer of being convenient for carries out design work on workstation board 9.
The upper surface of work platen 9 is seted up flutedly 10, the inner wall of recess 10 is provided with drawing board 11, the inner wall swing joint of recess 10 has the pivot, the pivot runs through the left and right sides of drawing board 11, the upper surface of drawing board 11 is provided with the paper holder, through setting up drawing board 11, can place the drawing and fix, the lower surface swing joint of drawing board 11 has bracing piece 12, the spout that bracing piece 12 activity was used is seted up to the inner wall of recess 10, bracing piece 12 surface is provided with the axis of rotation, through setting up bracing piece 12, can support drawing board 11, adjust the angle of drawing board 11, the designer of being convenient for draws the drawing, thereby reach the effect of facilitating the use.
The working principle is as follows: when the rotatable industrial design table is used, the design table is moved to a proper position through the brake roller 4 and fixed, the design table is lifted to a proper height through the telescopic legs 2 and fixed through the adjusting knobs 3, drawing paper is placed on the drawing board 11 and fixed with paper clips to draw a drawing paper, the drawing board 11 is adjusted to a drawing angle suitable for designers to draw through the support rods 12, when the design table needs to be rotated, the hasp 6 is opened, the working table plate 9 can be rotated through the rotating disc 8, and then the working table plate 9 is fixed through the hasp 6, so that the effect that the industrial design table is convenient to use is achieved.
Although embodiments of the present invention have been shown and described, it will be appreciated by those skilled in the art that changes, modifications, substitutions and alterations can be made in these embodiments without departing from the principles and spirit of the invention, the scope of which is defined in the appended claims and their equivalents.

Claims (6)

1.一种可旋转的工业设计台,包括固定台板(1),其特征在于:所述固定台板(1)的下表面固定连接有伸缩腿(2),所述伸缩腿(2)的表面设置有调节旋钮(3),所述伸缩腿(2)的底端固定连接有制动滚轮(4),所述伸缩腿(2)的表面固定连接有稳定横杆(5),所述固定台板(1)的正面固定连接有搭扣(6),所述固定台板(1)的上表面固定连接有固定座(7),所述固定座(7)的上表面转动连接有转动盘(8),所述转动盘(8)的上表面固定连接有工作台板(9),所述工作台板(9)的上表面开设有凹槽(10),所述凹槽(10)的内壁设置有作图板(11),所述作图板(11)的下表面活动连接有支撑杆(12)。1. A rotatable industrial design table, comprising a fixed platen (1), characterized in that: a telescopic leg (2) is fixedly connected to the lower surface of the fixed platen (1), and the telescopic leg (2) The surface of the telescopic leg (2) is provided with an adjustment knob (3), the bottom end of the telescopic leg (2) is fixedly connected with a braking roller (4), and the surface of the telescopic leg (2) is fixedly connected with a stabilizer bar (5), so A buckle (6) is fixedly connected to the front of the fixed platen (1), a fixed seat (7) is fixedly connected to the upper surface of the fixed platen (1), and the upper surface of the fixed seat (7) is rotatably connected There is a rotating plate (8), the upper surface of the rotating plate (8) is fixedly connected with a worktable (9), the upper surface of the worktable (9) is provided with a groove (10), the groove The inner wall of (10) is provided with a drawing plate (11), and a support rod (12) is movably connected to the lower surface of the drawing plate (11). 2.根据权利要求1所述的一种可旋转的工业设计台,其特征在于:所述伸缩腿(2)的数量为四根,四根所述伸缩腿(2)分别固定连接在固定台板(1)下表面的四角。2. A rotatable industrial design table according to claim 1, characterized in that: the number of the telescopic legs (2) is four, and the four telescopic legs (2) are respectively fixedly connected to the fixed table The four corners of the lower surface of the plate (1). 3.根据权利要求1所述的一种可旋转的工业设计台,其特征在于:所述制动滚轮(4)的数量为四个,四个所述制动滚轮(4)通过转轴分别固定连接在四根伸缩腿(2)的底端。3. A rotatable industrial design table according to claim 1, characterized in that: the number of the braking rollers (4) is four, and the four braking rollers (4) are respectively fixed by the rotating shaft Attached to the bottom ends of the four telescopic legs (2). 4.根据权利要求1所述的一种可旋转的工业设计台,其特征在于:所述搭扣(6)的数量为八个,八个所述搭扣(6)均分为四组,四组所述搭扣(6)分别固定连接在固定台板(1)的前后左右四个面,所述工作台板(9)的前后左右四面均设置有与搭扣(6)相适配的配件。4. A rotatable industrial design table according to claim 1, characterized in that: the number of said buckles (6) is eight, and the eight said buckles (6) are equally divided into four groups, The four sets of said buckles (6) are respectively fixedly connected to the front, rear, left, right, and right sides of the fixed platen (1). accessories. 5.根据权利要求1所述的一种可旋转的工业设计台,其特征在于:所述凹槽(10)的内壁活动连接有转轴,所述转轴贯穿作图板(11)的左右两侧,所述作图板(11)的上表面设置有纸夹。5. A rotatable industrial design table according to claim 1, characterized in that: the inner wall of the groove (10) is movably connected with a rotating shaft, and the rotating shaft runs through the left and right sides of the drawing board (11). , a paper clip is arranged on the upper surface of the drawing board (11). 6.根据权利要求1所述的一种可旋转的工业设计台,其特征在于:所述凹槽(10)的内壁开设有支撑杆(12)活动用的滑槽,所述支撑杆(12)表面设置有转动轴。6. A rotatable industrial design table according to claim 1, characterized in that: the inner wall of the groove (10) is provided with a chute for the support rod (12) to move, and the support rod (12) ) surface is provided with a rotating shaft.
CN202021881179.3U 2020-09-02 2020-09-02 Rotatable industrial design platform Expired - Fee Related CN213664206U (en)

Priority Applications (1)

Application Number Priority Date Filing Date Title
CN202021881179.3U CN213664206U (en) 2020-09-02 2020-09-02 Rotatable industrial design platform

Applications Claiming Priority (1)

Application Number Priority Date Filing Date Title
CN202021881179.3U CN213664206U (en) 2020-09-02 2020-09-02 Rotatable industrial design platform

Publications (1)

Publication Number Publication Date
CN213664206U true CN213664206U (en) 2021-07-13

Family

ID=76745984

Family Applications (1)

Application Number Title Priority Date Filing Date
CN202021881179.3U Expired - Fee Related CN213664206U (en) 2020-09-02 2020-09-02 Rotatable industrial design platform

Country Status (1)

Country Link
CN (1) CN213664206U (en)

Similar Documents

Publication Publication Date Title
CN208850827U (en) Multifunctional drawing desk and chair
CN204580380U (en) An adjustable drawing board table
CN213664206U (en) Rotatable industrial design platform
CN204734188U (en) Chair of table subassembly with at least, can rotate 270
CN208259347U (en) A kind of novel adjustable table
CN212233629U (en) A design table for clothing design
CN208524078U (en) A kind of ideological and political education dais
CN212630306U (en) Combined table and chair
CN204169314U (en) A kind of Multifunctional small writing desk
CN211794997U (en) Drawing desk with adjustable angle
CN202311991U (en) Novel computer desk
CN211673520U (en) Work of fine arts display device
CN210539696U (en) A multi-angle adjustable computer desk
CN215913688U (en) A multifunctional drawing table
CN222917168U (en) Training table for education and training
CN207253093U (en) A kind of supporting rack for cartoon design
CN116725337A (en) Bed for working
CN221655790U (en) Sport equipment puts frame
CN212546364U (en) A multifunctional interactive children's table
CN221730026U (en) Clothing design workstation convenient to clearance
CN221887878U (en) A new type of computer desk
CN206025587U (en) Folding convenient desk
CN206964400U (en) A kind of novel desk
CN219813496U (en) A new type of design drawing display stand
CN220713230U (en) Portable liftable computer desk

Legal Events

Date Code Title Description
GR01 Patent grant
GR01 Patent grant
CF01 Termination of patent right due to non-payment of annual fee
CF01 Termination of patent right due to non-payment of annual fee

Granted publication date: 20210713