CN213514833U - Vacuum rake dryer of dual even constant temperature heating - Google Patents
Vacuum rake dryer of dual even constant temperature heating Download PDFInfo
- Publication number
- CN213514833U CN213514833U CN202022376517.4U CN202022376517U CN213514833U CN 213514833 U CN213514833 U CN 213514833U CN 202022376517 U CN202022376517 U CN 202022376517U CN 213514833 U CN213514833 U CN 213514833U
- Authority
- CN
- China
- Prior art keywords
- rotating shaft
- barrel
- central rotating
- constant temperature
- stirring blades
- Prior art date
- Legal status (The legal status is an assumption and is not a legal conclusion. Google has not performed a legal analysis and makes no representation as to the accuracy of the status listed.)
- Active
Links
- 238000010438 heat treatment Methods 0.000 title claims abstract description 16
- 230000009977 dual effect Effects 0.000 title claims description 11
- 238000003756 stirring Methods 0.000 claims abstract description 28
- 239000003638 chemical reducing agent Substances 0.000 claims abstract description 8
- 239000000428 dust Substances 0.000 claims description 11
- XLYOFNOQVPJJNP-UHFFFAOYSA-N water Substances O XLYOFNOQVPJJNP-UHFFFAOYSA-N 0.000 claims description 9
- 239000007787 solid Substances 0.000 claims description 7
- 239000007788 liquid Substances 0.000 claims description 4
- 238000005406 washing Methods 0.000 claims description 2
- 239000000463 material Substances 0.000 abstract description 19
- 238000004519 manufacturing process Methods 0.000 abstract description 4
- 238000000034 method Methods 0.000 abstract description 2
- 238000001035 drying Methods 0.000 description 3
- 238000007789 sealing Methods 0.000 description 3
- 238000004140 cleaning Methods 0.000 description 2
- 238000010586 diagram Methods 0.000 description 2
- 230000009286 beneficial effect Effects 0.000 description 1
- 238000001816 cooling Methods 0.000 description 1
- 239000012452 mother liquor Substances 0.000 description 1
- 239000003960 organic solvent Substances 0.000 description 1
- 235000011837 pasties Nutrition 0.000 description 1
- 238000011084 recovery Methods 0.000 description 1
- 231100000241 scar Toxicity 0.000 description 1
- 230000037390 scarring Effects 0.000 description 1
- 230000009466 transformation Effects 0.000 description 1
Images
Landscapes
- Drying Of Solid Materials (AREA)
Abstract
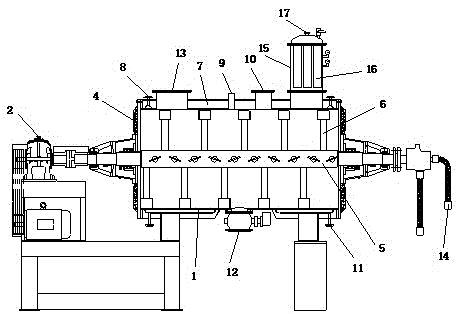
本实用新型涉及的一种双重均匀恒温加热的真空耙式干燥机,它包括筒体、减速机和中心转轴,筒体内贯穿有中心转轴,中心转轴通过连接轴连接多个搅拌桨叶,连接轴轴向垂直于中心转轴,搅拌桨叶与连接轴倾斜连接;所述中心转轴和连接轴均为空心轴,且搅拌桨叶也为空心桨叶,中心转轴与搅拌桨叶连通,所述中心转轴的一端连接热介质入口;所述筒体的外壁设有夹套。本实用新型筒体外采用夹套加热方式,同时内部以浆叶代替耙齿,并将主动轴及浆叶设计成中空内加热形式,由内至外双重均匀恒温加热,不仅增大传热面积,提高空间及能源利用率,也改善了物料在筒体内的运动状态,提高了生产效率。
The utility model relates to a vacuum rake dryer with double uniform constant temperature heating, which comprises a cylinder body, a reducer and a central rotating shaft. A central rotating shaft runs through the cylinder body. The axial direction is perpendicular to the central rotating shaft, and the stirring paddle is connected obliquely with the connecting shaft; the central rotating shaft and the connecting shaft are both hollow shafts, and the stirring paddle is also a hollow paddle, the central rotating shaft is communicated with the stirring paddle, and the central rotating shaft One end of the cylinder is connected to the heat medium inlet; the outer wall of the cylinder is provided with a jacket. The utility model adopts the jacket heating method on the outside of the cylinder, and at the same time replaces the rake teeth with paddles inside, and the driving shaft and the paddles are designed in the form of hollow internal heating, and the double uniform constant temperature heating from the inside to the outside not only increases the heat transfer area, Improve space and energy utilization, also improve the movement of materials in the cylinder, improve production efficiency.
Description
Claims (4)
Priority Applications (1)
| Application Number | Priority Date | Filing Date | Title |
|---|---|---|---|
| CN202022376517.4U CN213514833U (en) | 2020-10-23 | 2020-10-23 | Vacuum rake dryer of dual even constant temperature heating |
Applications Claiming Priority (1)
| Application Number | Priority Date | Filing Date | Title |
|---|---|---|---|
| CN202022376517.4U CN213514833U (en) | 2020-10-23 | 2020-10-23 | Vacuum rake dryer of dual even constant temperature heating |
Publications (1)
| Publication Number | Publication Date |
|---|---|
| CN213514833U true CN213514833U (en) | 2021-06-22 |
Family
ID=76401633
Family Applications (1)
| Application Number | Title | Priority Date | Filing Date |
|---|---|---|---|
| CN202022376517.4U Active CN213514833U (en) | 2020-10-23 | 2020-10-23 | Vacuum rake dryer of dual even constant temperature heating |
Country Status (1)
| Country | Link |
|---|---|
| CN (1) | CN213514833U (en) |
Cited By (1)
| Publication number | Priority date | Publication date | Assignee | Title |
|---|---|---|---|---|
| CN116060357A (en) * | 2021-10-31 | 2023-05-05 | 中国石油化工股份有限公司 | Filtering, washing and drying equipment and method |
-
2020
- 2020-10-23 CN CN202022376517.4U patent/CN213514833U/en active Active
Cited By (1)
| Publication number | Priority date | Publication date | Assignee | Title |
|---|---|---|---|---|
| CN116060357A (en) * | 2021-10-31 | 2023-05-05 | 中国石油化工股份有限公司 | Filtering, washing and drying equipment and method |
Similar Documents
| Publication | Publication Date | Title |
|---|---|---|
| CN210512340U (en) | Anti-blocking double-cone vacuum dryer | |
| CN213514833U (en) | Vacuum rake dryer of dual even constant temperature heating | |
| CN201159578Y (en) | Sludge dryer | |
| CN105737548A (en) | Heat tube type drum dryer | |
| CN205505619U (en) | Hollow blade type dryer | |
| CN214065451U (en) | Vacuum rake dryer | |
| CN101571344A (en) | Multifunctional vacuum conical mixing-drying unit | |
| CN109140953A (en) | A kind of energy-efficient double conic rotary vacuum dryer | |
| CN201476475U (en) | Vacuum conical mixing drying machine set | |
| CN221403826U (en) | Hollow blade dryer | |
| CN219995757U (en) | Slurry drying device for lithium iron phosphate production and processing | |
| CN219264790U (en) | Bipyramid gyration vacuum drying machine | |
| CN114111234B (en) | A kind of iron phosphate dehydration crystallization equipment and operation method thereof | |
| CN213687628U (en) | Chemical material drying device | |
| CN201964732U (en) | Rake type vacuum drying machine set | |
| CN221223288U (en) | Molybdenum powder heating device | |
| CN116989568B (en) | High-efficiency heating hollow shaft of rake dryer and its drainage method | |
| CN222034752U (en) | A stirring mechanism for 8-hydroxyquinoline reaction tank | |
| CN221611739U (en) | Environment-friendly dewatering device for plasticizer preparation | |
| CN222143367U (en) | A heating device for producing epoxy floor paint | |
| CN110586006A (en) | Reaction kettle with novel stirring device | |
| CN222761241U (en) | Rotary flash evaporation dryer for raw materials | |
| CN217383546U (en) | Internal heating stirring vacuum drying machine | |
| CN222231148U (en) | A double cone rotary vacuum dryer | |
| CN220269992U (en) | Drying device on calcium sulfate production line |
Legal Events
| Date | Code | Title | Description |
|---|---|---|---|
| GR01 | Patent grant | ||
| GR01 | Patent grant | ||
| TR01 | Transfer of patent right |
Effective date of registration: 20250114 Address after: Room 101-101, Building 25, Jinshan Intelligent Manufacturing Technology Park, 128 Jinshan Road, Jiangyin High tech Zone, Wuxi City, Jiangsu Province, China 214434 Patentee after: Jiangsu Fengli Biochemical Equipment Co.,Ltd. Country or region after: China Address before: No.72, Hebei Dai, Binjiang Development Zone, Jiangyin high tech Zone, Wuxi City, Jiangsu Province, 214434 Patentee before: Jiangyin Fengli Biochemical Engineering Equipment Co.,Ltd. Country or region before: China |
|
| TR01 | Transfer of patent right |
