CN213389920U - 一种吸尘车振动卸料装置 - Google Patents
一种吸尘车振动卸料装置 Download PDFInfo
- Publication number
- CN213389920U CN213389920U CN202021632934.4U CN202021632934U CN213389920U CN 213389920 U CN213389920 U CN 213389920U CN 202021632934 U CN202021632934 U CN 202021632934U CN 213389920 U CN213389920 U CN 213389920U
- Authority
- CN
- China
- Prior art keywords
- wall
- air
- carriage
- bolt
- feed cylinder
- Prior art date
- Legal status (The legal status is an assumption and is not a legal conclusion. Google has not performed a legal analysis and makes no representation as to the accuracy of the status listed.)
- Active
Links
- 239000000428 dust Substances 0.000 title claims abstract description 33
- 238000007599 discharging Methods 0.000 title claims description 34
- 230000005540 biological transmission Effects 0.000 claims abstract description 5
- 241001417527 Pempheridae Species 0.000 claims description 14
- 238000002347 injection Methods 0.000 claims description 12
- 239000007924 injection Substances 0.000 claims description 12
- 238000009434 installation Methods 0.000 claims 2
- 238000004026 adhesive bonding Methods 0.000 abstract description 6
- 230000000694 effects Effects 0.000 abstract description 6
- 239000000463 material Substances 0.000 abstract description 3
- 230000008878 coupling Effects 0.000 abstract description 2
- 238000010168 coupling process Methods 0.000 abstract description 2
- 238000005859 coupling reaction Methods 0.000 abstract description 2
- 238000003466 welding Methods 0.000 abstract description 2
- 239000002245 particle Substances 0.000 description 3
- 238000004140 cleaning Methods 0.000 description 2
- 230000035939 shock Effects 0.000 description 2
- 239000000243 solution Substances 0.000 description 2
- 238000010521 absorption reaction Methods 0.000 description 1
- 230000008859 change Effects 0.000 description 1
- 238000013016 damping Methods 0.000 description 1
- 238000005516 engineering process Methods 0.000 description 1
- 230000036541 health Effects 0.000 description 1
- 238000000034 method Methods 0.000 description 1
- 230000008569 process Effects 0.000 description 1
- 230000000241 respiratory effect Effects 0.000 description 1
- 238000005096 rolling process Methods 0.000 description 1
- 238000005507 spraying Methods 0.000 description 1
- 238000010408 sweeping Methods 0.000 description 1
Images
Landscapes
- Cleaning In General (AREA)
Abstract
本实用新型公开了一种吸尘车振动卸料装置,包括底盘,底盘顶部外壁上通过螺栓安装有车厢,且车厢底部外壁上通过螺栓安装有安装架,安装架底部内壁上通过螺钉安装有若干个三个伸缩杆,且伸缩杆顶部外壁上通过螺钉安装有安装板,安装板顶部外壁上通过螺栓安装有下料筒和电机,且下料筒一侧内壁上通过轴承转动连接有转轴,转轴一侧外壁上焊接有送料桨,电机输出端通过联轴器与转轴传动连接,下料筒一侧外壁上通过螺栓安装有电磁振动器。本实用新型通过设置的电磁振动器、弹簧和伸缩杆,电磁振动器能够在使用时带动下料筒震动,从而能够防止灰尘粘在下料筒内壁上而造成下料筒堵塞的情况发生,而弹簧和伸缩杆能够对下料筒起到减震的效果。
Description
技术领域
本实用新型涉及除尘技术领域,尤其涉及一种吸尘车振动卸料装置。
背景技术
吸尘车是采用新型专利技术研制的新型环保环卫设备。它改变了以往扫路车用盘刷滚动刷扫的传统方式,而全部采用负压直吸得工作原理来完成作业,并能够过滤微米级颗粒物,有效减少粉尘污染,并同步过滤可吸入颗粒物,提升空气质量,降低空气中可吸入颗粒物的含量,改善人民群众的呼吸健康。
但是现有的吸尘车在卸料时,容易出现因灰尘潮湿而导致灰尘节块依附在车厢内壁上的情况发生,这就导致了车厢受到灰尘的腐蚀和灰尘清理不彻底的情况发生。因此,亟需设计一种吸尘车振动卸料装置来解决上述问题。
发明内容
本实用新型的目的是为了解决现有技术中存在的灰尘容易依附在车厢内壁上的缺点,而提出的一种吸尘车振动卸料装置。
为了实现上述目的,本实用新型采用了如下技术方案:一种吸尘车振动卸料装置,包括底盘,所述底盘顶部外壁上通过螺栓安装有车厢,且车厢底部外壁上通过螺栓安装有安装架,所述安装架底部内壁上通过螺钉安装有六个伸缩杆,且伸缩杆顶部外壁上通过螺钉安装有安装板,所述安装板顶部外壁上通过螺栓安装有下料筒和电机,且下料筒一侧内壁上通过轴承转动连接有转轴,所述转轴一侧外壁上焊接有送料桨,所述电机输出端通过联轴器与转轴传动连接,所述下料筒一侧外壁上通过螺栓安装有电磁振动器。
上述技术方案的关键构思在于:通过设置的电磁振动器、弹簧和伸缩杆,电磁振动器能够在使用时带动下料筒震动,从而能够防止灰尘粘在下料筒内壁上而造成下料筒堵塞的情况发生,而弹簧和伸缩杆能够对下料筒起到减震的效果。
进一步的,所述伸缩杆外部套接有弹簧,且弹簧位于安装板底部外壁与安装架底部内壁之间。
进一步的,所述底盘顶部外壁上通过螺栓安装有空气炮和空气压缩机,且空气压缩机输出端螺纹连接有连接管,所述连接管远离空气压缩机的一端螺纹连接在空气炮进气端上。
进一步的,所述车厢顶部外壁上通过螺栓安装有输气管,且输气管远离车厢的一端螺纹连接在空气炮输出端上。
进一步的,所述输气管一侧外壁上螺纹连接有若干个喷气管,且喷气管贯穿至车厢内部。
进一步的,所述车厢底部内壁上通过螺栓安装有底板,且底板两侧外壁上个通过螺栓安装有侧板,所述侧板顶部外壁上开有下料口。
进一步的,所述下料口内部通过螺栓安装有下料管,且下料管底端插接在下料筒内部,所述下料筒一端外壁上螺纹连接有端盖。
本实用新型的有益效果为:
1.通过设置的电磁振动器、弹簧和伸缩杆,电磁振动器能够在使用时带动下料筒震动,从而能够防止灰尘粘在下料筒内壁上而造成下料筒堵塞的情况发生,而弹簧和伸缩杆能够对下料筒起到减震的效果。
2.通过设置的底板和侧板,底板和侧板都具有弧度,从而能够使底部的灰尘能够沿着弧度下滑,能够对灰尘起到聚集的作用,使灰尘更容易进入下料口。
3.通过设置的空气炮、空气压缩机和喷气管,通过喷气管将高速的空气喷出,从而能够对车厢内壁进行清洗,且清洗效果好,防止灰尘粘在车厢内部。
附图说明
图1为本实用新型提出的一种吸尘车振动卸料装置的结构平面图;
图2为本实用新型提出的一种吸尘车振动卸料装置车厢的结构剖视图;
图3为本实用新型提出的一种吸尘车振动卸料装置电机和下料筒的结构平面图;
图4为本实用新型提出的一种吸尘车振动卸料装置底板和侧板的结构示意图;
图5为本实用新型提出的一种吸尘车振动卸料装置下料筒的结构剖视图。
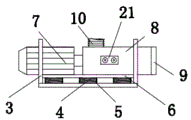
图中:1底盘、2车厢、3安装架、4伸缩杆、5弹簧、6安装板、7电机、8下料筒、9端盖、10下料管、11转轴、12送料桨、13底板、14侧板、15下料口、16空气炮、17空气压缩机、18连接管、19输气管、20喷气管、21电磁震动器。
具体实施方式
下面将结合本实用新型实施例中的附图,对本实用新型实施例中的技术方案进行清楚、完整地描述,显然,所描述的实施例仅仅是本实用新型一部分实施例,而不是全部的实施例。基于本实用新型中的实施例,本领域普通技术人员在没有做出创造性劳动前提下所获得的所有其他实施例,都属于本实用新型保护的范围。
请同时参见图1至图5,一种吸尘车振动卸料装置,包括底盘1,底盘1顶部外壁上通过螺栓安装有车厢2,且车厢2底部外壁上通过螺栓安装有安装架3,安装架3用于固定电机7和下料筒8,安装架3底部内壁上通过螺钉安装有六个伸缩杆4,且伸缩杆4顶部外壁上通过螺钉安装有安装板6,安装板6顶部外壁上通过螺栓安装有下料筒8和电机7,且下料筒8一侧内壁上通过轴承转动连接有转轴11,转轴11一侧外壁上焊接有送料桨12,送料桨12用于卸料,电机7输出端通过联轴器与转轴11传动连接,电机7型号优选为YB560-800,下料筒8一侧外壁上通过螺栓安装有电磁振动器21,电磁振动器21型号优选为CZ-250。
从上述描述可知,本实用新型具有以下有益效果:通过设置的电磁振动器21、弹簧5和伸缩杆4,电磁振动器21能够在使用时带动下料筒8震动,从而能够防止灰尘粘在下料筒8内壁上而造成下料筒8堵塞的情况发生,而弹簧5和伸缩杆4能够对下料筒8起到减震的效果。
进一步的,伸缩杆4外部套接有弹簧5,且弹簧5位于安装板6底部外壁与安装架3底部内壁之间,弹簧5用于减震。
进一步的,底盘1顶部外壁上通过螺栓安装有空气炮16和空气压缩机17,空气炮16型号优选为KQP7575,且空气压缩机17输出端螺纹连接有连接管18,空气压缩机17型号优选为ZW-0.5/7,连接管18远离空气压缩机17的一端螺纹连接在空气炮16进气端上。
进一步的,车厢2顶部外壁上通过螺栓安装有输气管19,且输气管19远离车厢2的一端螺纹连接在空气炮16输出端上,输气管19用于输送空气炮16所释放的空气。
进一步的,输气管19一侧外壁上螺纹连接有若干个喷气管20,且喷气管20贯穿至车厢2内部,喷气管20用于将空气喷出。
进一步的,车厢2底部内壁上通过螺栓安装有底板13,且底板13两侧外壁上个通过螺栓安装有侧板14,侧板14顶部外壁上开有下料口15,底板13和侧板14均为表面倾斜的光滑板材。
进一步的,下料口15内部通过螺栓安装有下料管10,且下料管10底端插接在下料筒8内部,下料筒8一端外壁上螺纹连接有端盖9。
采用上述设置的底板13和侧板14,底板13和侧板14都具有弧度,从而能够使底部的灰尘能够沿着弧度下滑,能够对灰尘起到聚集的作用,使灰尘更容易进入下料口15;设置的空气炮16、空气压缩机17和喷气管20,通过喷气管20将高速的空气喷出,从而能够对车厢2内壁进行清洗,且清洗效果好,防止灰尘粘在车厢2内部。
以下再列举出几个优选实施例或应用实施例,以帮助本领域技术人员更好的理解本实用新型的技术内容以及本实用新型相对于现有技术所做出的技术贡献:
实施例1
一种吸尘车振动卸料装置,包括底盘1,底盘1顶部外壁上通过螺栓安装有车厢2,且车厢2底部外壁上通过螺栓安装有安装架3,安装架3用于固定电机7和下料筒8,安装架3底部内壁上通过螺钉安装有六个伸缩杆4,且伸缩杆4顶部外壁上通过螺钉安装有安装板6,安装板6顶部外壁上通过螺栓安装有下料筒8和电机7,且下料筒8一侧内壁上通过轴承转动连接有转轴11,转轴11一侧外壁上焊接有送料桨12,送料桨12用于卸料,电机7输出端通过联轴器与转轴11传动连接,电机7型号优选为YB560-800,下料筒8一侧外壁上通过螺栓安装有电磁振动器21,电磁振动器21型号优选为CZ-250。
其中,伸缩杆4外部套接有弹簧5,且弹簧5位于安装板6底部外壁与安装架3底部内壁之间,弹簧5用于减震;底盘1顶部外壁上通过螺栓安装有空气炮16和空气压缩机17,空气炮16型号优选为KQP7575,且空气压缩机17输出端螺纹连接有连接管18,空气压缩机17型号优选为ZW-0.5/7,连接管18远离空气压缩机17的一端螺纹连接在空气炮16进气端上;车厢2顶部外壁上通过螺栓安装有输气管19,且输气管19远离车厢2的一端螺纹连接在空气炮16输出端上,输气管19用于输送空气炮16所释放的空气;输气管19一侧外壁上螺纹连接有若干个喷气管20,且喷气管20贯穿至车厢2内部,喷气管20用于将空气喷出;车厢2底部内壁上通过螺栓安装有底板13,且底板13两侧外壁上个通过螺栓安装有侧板14,侧板14顶部外壁上开有下料口15,底板13和侧板14均为表面倾斜的光滑板材;下料口15内部通过螺栓安装有下料管10,且下料管10底端插接在下料筒8内部,下料筒8一端外壁上螺纹连接有端盖9。
工作原理:使用时,当车厢2内部的灰尘需要排出时,通过电机7输出端带动联轴器转动,再通过联轴器带动转轴11转动,通过转轴11转动带动送料桨12转动,哦通过送料桨12转动从而对车厢2内部的灰尘排出;在车厢2内部有灰尘时,通过空气压缩机17压缩空气,压缩后的空气通过连接管18进入到空气炮16的内部,然后空气炮16内部的空气通过输气管19抵达喷气管20内部,然后告诉的空气通过喷气管20喷到车厢2内壁上,从而对车厢2内壁进行清理;在排出灰尘过程中,电磁振动器21产生震动并带动下料筒8震动,从而能够对依附在下料筒8内壁上的灰尘进行振动,从而能够将依附在下料筒8内壁上的灰尘脱落;在电磁振动器21震动时,通过伸缩杆和弹簧5对安装板6顶部的电机和下料筒8进行减震处理,由于下料管10为具有弹性的管材,从而能够防止下料筒8震动而导致的脱落。
以上所述,仅为本实用新型较佳的具体实施方式,但本实用新型的保护范围并不局限于此,任何熟悉本技术领域的技术人员在本实用新型揭露的技术范围内,根据本实用新型的技术方案及其实用新型构思加以等同替换或改变,都应涵盖在本实用新型的保护范围之内。
Claims (7)
1.一种吸尘车振动卸料装置,包括底盘(1),其特征在于,所述底盘(1)顶部外壁上通过螺栓安装有车厢(2),且车厢(2)底部外壁上通过螺栓安装有安装架(3),所述安装架(3)底部内壁上通过螺钉安装有六个伸缩杆(4),且伸缩杆(4)顶部外壁上通过螺钉安装有安装板(6),所述安装板(6)顶部外壁上通过螺栓安装有下料筒(8)和电机(7),且下料筒(8)一侧内壁上通过轴承转动连接有转轴(11),所述转轴(11)一侧外壁上焊接有送料桨(12),所述电机(7)输出端通过联轴器与转轴(11)传动连接,所述下料筒(8)一侧外壁上通过螺栓安装有电磁振动器(21)。
2.根据权利要求1所述的一种吸尘车振动卸料装置,其特征在于,所述伸缩杆(4)外部套接有弹簧(5),且弹簧(5)位于安装板(6)底部外壁与安装架(3)底部内壁之间。
3.根据权利要求1所述的一种吸尘车振动卸料装置,其特征在于,所述底盘(1)顶部外壁上通过螺栓安装有空气炮(16)和空气压缩机(17),且空气压缩机(17)输出端螺纹连接有连接管(18),所述连接管(18)远离空气压缩机(17)的一端螺纹连接在空气炮(16)进气端上。
4.根据权利要求3所述的一种吸尘车振动卸料装置,其特征在于,所述车厢(2)顶部外壁上通过螺栓安装有输气管(19),且输气管(19)远离车厢(2)的一端螺纹连接在空气炮(16)输出端上。
5.根据权利要求4所述的一种吸尘车振动卸料装置,其特征在于,所述输气管(19)一侧外壁上螺纹连接有若干个喷气管(20),且喷气管(20)贯穿至车厢(2)内部。
6.根据权利要求1所述的一种吸尘车振动卸料装置,其特征在于,所述车厢(2)底部内壁上通过螺栓安装有底板(13),且底板(13)两侧外壁上个通过螺栓安装有侧板(14),所述侧板(14)顶部外壁上开有下料口(15)。
7.根据权利要求6所述的一种吸尘车振动卸料装置,其特征在于,所述下料口(15)内部通过螺栓安装有下料管(10),且下料管(10)底端插接在下料筒(8)内部,所述下料筒(8)一端外壁上螺纹连接有端盖(9)。
Priority Applications (1)
| Application Number | Priority Date | Filing Date | Title |
|---|---|---|---|
| CN202021632934.4U CN213389920U (zh) | 2020-08-08 | 2020-08-08 | 一种吸尘车振动卸料装置 |
Applications Claiming Priority (1)
| Application Number | Priority Date | Filing Date | Title |
|---|---|---|---|
| CN202021632934.4U CN213389920U (zh) | 2020-08-08 | 2020-08-08 | 一种吸尘车振动卸料装置 |
Publications (1)
| Publication Number | Publication Date |
|---|---|
| CN213389920U true CN213389920U (zh) | 2021-06-08 |
Family
ID=76203954
Family Applications (1)
| Application Number | Title | Priority Date | Filing Date |
|---|---|---|---|
| CN202021632934.4U Active CN213389920U (zh) | 2020-08-08 | 2020-08-08 | 一种吸尘车振动卸料装置 |
Country Status (1)
| Country | Link |
|---|---|
| CN (1) | CN213389920U (zh) |
-
2020
- 2020-08-08 CN CN202021632934.4U patent/CN213389920U/zh active Active
Similar Documents
| Publication | Publication Date | Title |
|---|---|---|
| CN110948695B (zh) | 可自动拆料的水泥搅拌机 | |
| CN111674887A (zh) | 一种带有自清功能的建筑材料用卸料装置 | |
| CN107700394A (zh) | 一种道路垃圾清理装置 | |
| CN213389920U (zh) | 一种吸尘车振动卸料装置 | |
| CN118545101B (zh) | 一种高铁用加砂装置 | |
| CN212420940U (zh) | 一种防扬尘喷砂机 | |
| CN220115678U (zh) | 一种防堵塞真空上料机 | |
| CN219483311U (zh) | 一种砂石分离装置 | |
| CN216892067U (zh) | 一种有效清洁灰尘的道路桥梁裂缝修补装置 | |
| CN112403883A (zh) | 一种煤矸石加工用滚筒筛 | |
| CN219483012U (zh) | 一种高效离心装置 | |
| CN118386437A (zh) | 一种废旧轮胎加工用的橡胶颗粒筛分装置 | |
| CN213260994U (zh) | 一种改性塑料挤出机用振动筛 | |
| CN216098383U (zh) | 一种除锈用的抛丸机 | |
| CN220611272U (zh) | 一种矿山石料离心除尘设备 | |
| CN210023196U (zh) | 一种筛土机防尘装置 | |
| CN220008332U (zh) | 一种干混砂浆出料装置的除尘结构 | |
| CN114274396A (zh) | 一种用于玻璃钢材料制备的原料混合装置及其混合方法 | |
| CN220678516U (zh) | 一种砂浆生产用砂石分离装置 | |
| CN219481940U (zh) | 一种小麦面粉加工用除尘设备 | |
| CN220177604U (zh) | 一种便于刮尘的吸尘装置 | |
| CN117339954B (zh) | 一种玻璃清洗设备 | |
| CN119657298B (zh) | 一种多级煤矸石筛分装置 | |
| CN219879368U (zh) | 一种除尘器振打清灰装置 | |
| CN223698399U (zh) | 一种高效率矿粉振动筛 |
Legal Events
| Date | Code | Title | Description |
|---|---|---|---|
| GR01 | Patent grant | ||
| GR01 | Patent grant |