CN212526467U - A material conveying mechanism for spot welding of spot welding machine - Google Patents

A material conveying mechanism for spot welding of spot welding machine Download PDF

Info

Publication number
CN212526467U
CN212526467U CN202020478817.0U CN202020478817U CN212526467U CN 212526467 U CN212526467 U CN 212526467U CN 202020478817 U CN202020478817 U CN 202020478817U CN 212526467 U CN212526467 U CN 212526467U
Authority
CN
China
Prior art keywords
fixedly connected
spot welding
block
drum
upper side
Prior art date
Legal status (The legal status is an assumption and is not a legal conclusion. Google has not performed a legal analysis and makes no representation as to the accuracy of the status listed.)
Expired - Fee Related
Application number
CN202020478817.0U
Other languages
Chinese (zh)
Inventor
梅新艺
梅一多
Current Assignee (The listed assignees may be inaccurate. Google has not performed a legal analysis and makes no representation or warranty as to the accuracy of the list.)
Changzhou Qianyi Intelligent Manufacturing Technology Co ltd
Original Assignee
Changzhou Qianyi Intelligent Manufacturing Technology Co ltd
Priority date (The priority date is an assumption and is not a legal conclusion. Google has not performed a legal analysis and makes no representation as to the accuracy of the date listed.)
Filing date
Publication date
Application filed by Changzhou Qianyi Intelligent Manufacturing Technology Co ltd filed Critical Changzhou Qianyi Intelligent Manufacturing Technology Co ltd
Priority to CN202020478817.0U priority Critical patent/CN212526467U/en
Application granted granted Critical
Publication of CN212526467U publication Critical patent/CN212526467U/en
Expired - Fee Related legal-status Critical Current
Anticipated expiration legal-status Critical

Links

Images

Landscapes

  • Resistance Welding (AREA)

Abstract

本实用新型公开了一种点焊机点焊用物料输送机构,包括底座,底座的上侧固定连接有支撑板,支撑板的上侧固定连接有顶板,顶板的下侧固定连接有电动伸缩杆,电动伸缩杆的下端固定连接有第一连接块,第一连接块的下侧固定安装有电焊头,电焊头的下方设有传送架,传送架的一端转动连接有第一转筒,传送架的一侧固定安装有第一电机,且第一电机的输出端与第一转筒固定连接,传送架远离第一转筒的另一端转动连接有第二转筒,第二转筒与第一转筒之间套设有传送带,传送带上设有若干放置槽,传送架下端两侧内壁均固定连接有长杆,一种点焊机点焊用物料输送机构,便于物料输送,操作简单,便于夹持工件,使点焊机稳定工作。

Figure 202020478817

The utility model discloses a material conveying mechanism for spot welding of a spot welding machine, which comprises a base, a support plate is fixedly connected to the upper side of the base, a top plate is fixedly connected to the upper side of the support plate, and an electric telescopic rod is fixedly connected to the lower side of the top plate , the lower end of the electric telescopic rod is fixedly connected with a first connecting block, the lower side of the first connecting block is fixedly installed with an electric welding head, a transmission frame is arranged under the electric welding head, and one end of the transmission frame is rotatably connected with a first rotating drum, the transmission frame A first motor is fixedly installed on one side of the transmission frame, and the output end of the first motor is fixedly connected with the first drum, and the other end of the transmission frame away from the first drum is rotatably connected with a second drum, and the second drum is connected with the first drum. A conveyor belt is set between the drums, and there are several placement slots on the conveyor belt. Long rods are fixedly connected to the inner walls of both sides of the lower end of the conveyor frame. Clamp the workpiece to make the spot welding machine work stably.

Figure 202020478817

Description

Material conveying mechanism for spot welding of spot welding machine
Technical Field
The utility model relates to a material conveying mechanism, in particular to spot welder is material conveying mechanism for spot welding belongs to spot welder technical field.
Background
The spot welding machine is divided into a universal type and a special type according to the purpose; according to the number of welding points welded simultaneously, the welding device is divided into a single-point type, a double-point type and a multi-point type; according to the conductive mode, the conductive film is divided into a single-sided one and a double-sided one; the device is divided into pedal type, motor-cam type, pneumatic type, hydraulic type and composite type according to the transmission mode of a pressurizing mechanism, and is divided into non-automation and automation according to the operating characteristics; according to the installation method, the device is divided into a fixed type, a movable type or a portable type; according to the moving direction of the movable electrode of the welding machine, the movable electrode has a vertical stroke and an arc stroke; according to the supply mode of electric energy, there are power frequency welding machine, pulse welding machine and frequency conversion welding machine.
Traditional material conveying mechanism for welding machine spot welding does not set up clamping device, leads to the spot welder when spot welding, and the work piece takes place the skew, influences work piece spot welding, exists not enoughly.
SUMMERY OF THE UTILITY MODEL
The to-be-solved technical problem of the utility model is to overcome prior art's defect, provide a material conveying mechanism for spot welder spot welding.
In order to solve the technical problem, the utility model provides a following technical scheme:
the utility model relates to a material conveying mechanism for spot welding of a spot welding machine, which comprises a base, wherein the upper side of the base is fixedly connected with a supporting plate, the upper side of the supporting plate is fixedly connected with a top plate, the lower side of the top plate is fixedly connected with an electric telescopic rod, the lower end of the electric telescopic rod is fixedly connected with a first connecting block, the lower side of the first connecting block is fixedly provided with an electric welding head, the lower part of the electric welding head is provided with a conveying frame, one end of the conveying frame is rotatably connected with a first rotary drum, one side of the conveying frame is fixedly provided with a first motor, the output end of the first motor is fixedly connected with the first rotary drum, the other end of the conveying frame, which is far away from the first rotary drum, is rotatably connected with a second rotary drum, a conveying belt is sleeved between the second rotary drum and the first rotary drum, and the adjacent ends of the two long rods are fixedly connected with the two sides of the supporting block, the upper side of the supporting block is fixedly connected with a first fixing block, a sliding groove is arranged at the upper side of the first fixed block, a second motor is fixedly arranged at one side of the first fixed block, and the output end of the second motor passes through the first fixed block and is fixedly connected with a threaded rod, two ends of the threaded rod are rotationally connected with the inner wall of the chute, the two ends of the threaded rod are respectively sleeved with a sliding block, the upper sides of the sliding blocks are respectively fixedly connected with a connecting rod, a second fixing block is arranged above the connecting rods, the second fixed blocks are fixedly connected to the upper sides of the first fixed blocks, the second fixed blocks are provided with elongated slots, the connecting rods penetrate through the elongated grooves and are fixedly connected with second connecting blocks, and the adjacent sides of the two second connecting blocks are fixedly connected with extrusion blocks.
As an optimal technical scheme of the utility model, threaded rod both ends external screw thread sets up on the contrary.
As an optimal technical scheme of the utility model, the internal thread has all been seted up to the slider, slider and threaded rod threaded connection.
As an optimal technical scheme of the utility model, slider and spout sliding connection, connecting rod and elongated slot sliding connection.
As an optimized technical solution of the utility model, the standing groove equidistance is arranged.
As an optimal technical scheme of the utility model, the extrusion piece is symmetrical about the conveyer belt, the extrusion piece is equipped with the friction surface.
The utility model discloses the beneficial effect who reaches is:
the utility model provides a spot welder is material conveying mechanism for spot welding, puts the work piece in the standing groove, starts first motor, and first motor drives first rotary drum and rotates, and first rotary drum and second rotary drum drive the conveyer belt and rotate to carry the work piece, the material of being convenient for is carried, easy operation, and the suitability is high.
The second motor is started, the electric threaded rod of the second motor rotates, the threaded rod drives the sliding block to be close to, the sliding block slides in the sliding groove to be limited, the sliding block drives the connecting rod to move, therefore, the two extrusion blocks clamp the workpiece, the electric telescopic rod is utilized to enable the electric welding head to descend to perform spot welding operation on the workpiece, the workpiece is convenient to clamp, and the spot welding machine can work stably.
Drawings
The accompanying drawings are included to provide a further understanding of the invention, and are incorporated in and constitute a part of this specification, illustrate embodiments of the invention, and together with the description serve to explain the invention and not to limit the invention. In the drawings:
fig. 1 is a schematic front structural view of the present invention;
fig. 2 is a sectional view of the first fixing block of the present invention;
fig. 3 is a schematic structural view of a second fixing block of the present invention;
fig. 4 is a cross-sectional view taken along a line a-a of fig. 1;
fig. 5 is an enlarged view of the structure at B in fig. 4 of the present invention.
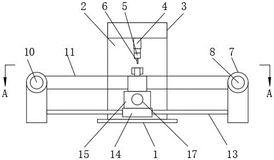
In the figure: 1. a base; 2. a support plate; 3. a top plate; 4. an electric telescopic rod; 5. a first connection block; 6. an electric welding head; 7. a transfer frame; 8. a first rotating drum; 9. a first motor; 10. a second rotating drum; 11. a conveyor belt; 12. a placement groove; 13. a long rod; 14. a support block; 15. a first fixed block; 16. a chute; 17. a second motor; 18. a threaded rod; 19. a slider; 20. a connecting rod; 21. a second fixed block; 22. a long groove; 23. A second connecting block; 24. and extruding the block.
Detailed Description
The preferred embodiments of the present invention will be described in conjunction with the accompanying drawings, and it will be understood that they are presented herein only to illustrate and explain the present invention, and not to limit the present invention.
Example 1
As shown in figures 1-5, a material conveying mechanism for spot welding of a spot welding machine comprises a base 1, a supporting plate 2 is fixedly connected to the upper side of the base 1, a top plate 3 is fixedly connected to the upper side of the supporting plate 2, an electric telescopic rod 4 is fixedly connected to the lower side of the top plate 3, a first connecting block 5 is fixedly connected to the lower end of the electric telescopic rod 4, an electric welding head 6 is fixedly installed on the lower side of the first connecting block 5, a conveying frame 7 is arranged below the electric welding head 6, one end of the conveying frame 7 is rotatably connected with a first rotary drum 8, a first motor 9 is fixedly installed on one side of the conveying frame 7, the output end of the first motor 9 is fixedly connected with the first rotary drum 8, the other end of the conveying frame 7, which is far away from the first rotary drum 8, is rotatably connected with a second rotary drum 10, a conveying belt 11 is sleeved between the second rotary drum 10 and the first rotary drum, and the adjacent ends of the two long rods 13 are fixedly connected with the two sides of the supporting block 14, the upper side of the supporting block 14 is fixedly connected with a first fixing block 15, the upper side of the first fixing block 15 is provided with a sliding chute 16, one side of the first fixing block 15 is fixedly provided with a second motor 17, and the output end of the second motor 17 passes through the first fixed block 15 and is fixedly connected with a threaded rod 18, the two ends of the threaded rod 18 are rotatably connected with the inner wall of the chute 16, the two ends of the threaded rod 18 are both sleeved with a sliding block 19, the upper sides of the sliding blocks 19 are both fixedly connected with a connecting rod 20, a second fixed block 21 is arranged above the connecting rod 20, and the second fixed blocks 21 are all fixedly connected to the upper side of the first fixed block 15, the second fixed blocks 21 are all provided with elongated slots 22, the connecting rods 20 all penetrate through the elongated slots 22 and are fixedly connected with second connecting blocks 23, and one sides of the two adjacent second connecting blocks 23 are all fixedly connected with extrusion blocks 24.
The internal thread has all been seted up to slider 19, slider 19 and threaded rod 18 threaded connection, the slider 19 of being convenient for removes, the standing groove 12 equidistance is arranged, the transported substance material of being convenient for, the screw thread opposite settings in 18 both ends of threaded rod is convenient for drive two sliders 19 relative movement, slider 19 and spout 16 sliding connection, connecting rod 20 and elongated slot 22 sliding connection, the spacing of being convenient for, extrusion piece 24 is symmetrical about conveyer belt 11, extrusion piece 24 is equipped with the friction surface, the centre gripping material of being convenient for.
Specifically, the utility model discloses during the use, put the work piece in standing groove 12, start first motor 9, first motor 9 drives first rotary drum 8 and rotates, first rotary drum 8 and second rotary drum 10 drive conveyer belt 11 and rotate, thereby carry the work piece, start second motor 17, second motor 17 electric threaded rod 18 rotates, threaded rod 18 drives slider 19 and is close to, slider 19 slides spacingly in spout 16, slider 19 drives connecting rod 20 and removes, thereby make two 24 tight work pieces of clamp of extrusion piece, utilize electric telescopic handle 4 to make electric welding head 6 descend and carry out spot welding operation to the work piece.
Finally, it should be noted that: although the present invention has been described in detail with reference to the foregoing embodiments, it will be apparent to those skilled in the art that modifications may be made to the embodiments described in the foregoing embodiments, or equivalents may be substituted for elements thereof. Any modification, equivalent replacement, or improvement made within the spirit and principle of the present invention should be included in the protection scope of the present invention.

Claims (6)

1.一种点焊机点焊用物料输送机构,包括底座(1),其特征在于,所述底座(1)的上侧固定连接有支撑板(2),所述支撑板(2)的上侧固定连接有顶板(3),所述顶板(3)的下侧固定连接有电动伸缩杆(4),所述电动伸缩杆(4)的下端固定连接有第一连接块(5),所述第一连接块(5)的下侧固定安装有电焊头(6),所述电焊头(6)的下方设有传送架(7),所述传送架(7)的一端转动连接有第一转筒(8),所述传送架(7)的一侧固定安装有第一电机(9),且所述第一电机(9)的输出端与第一转筒(8)固定连接,所述传送架(7)远离第一转筒(8)的另一端转动连接有第二转筒(10),所述第二转筒(10)与第一转筒(8)之间套设有传送带(11),所述传送带(11)上设有若干放置槽(12),所述传送架(7)下端两侧内壁均固定连接有长杆(13),且两个所述长杆(13)相邻的一端均固定连接在支撑块(14)的两侧,所述支撑块(14)的上侧固定连接有第一固定块(15),所述第一固定块(15)的上侧开设有滑槽(16),所述第一固定块(15)的一侧固定安装有第二电机(17),且所述第二电机(17)的输出端穿过第一固定块(15)固定连接有螺纹杆(18),所述螺纹杆(18)的两端与滑槽(16)内壁转动连接,所述螺纹杆(18)的两端均套设有滑块(19),所述滑块(19)的上侧均固定连接有连接杆(20),所述连接杆(20)的上方均设有第二固定块(21),且所述第二固定块(21)均固定连接在第一固定块(15)的上侧,所述第二固定块(21)均开设有长槽(22),所述连接杆(20)均穿过长槽(22)固定连接有第二连接块(23),且两个所述第二连接块(23)相邻的一侧均固定连接有挤压块(24)。1. A material conveying mechanism for spot welding of a spot welding machine, comprising a base (1), characterized in that a support plate (2) is fixedly connected to the upper side of the base (1), and a support plate (2) is fixedly connected to the upper side of the base (1). A top plate (3) is fixedly connected to the upper side, an electric telescopic rod (4) is fixedly connected to the lower side of the top plate (3), and a first connecting block (5) is fixedly connected to the lower end of the electric telescopic rod (4), An electric welding head (6) is fixedly installed on the lower side of the first connecting block (5), a transmission frame (7) is arranged below the electric welding head (6), and one end of the transmission frame (7) is rotatably connected with a A first rotating drum (8), a first motor (9) is fixedly installed on one side of the conveying frame (7), and the output end of the first motor (9) is fixedly connected to the first rotating drum (8) , the other end of the conveying rack (7) away from the first drum (8) is rotatably connected with a second drum (10), and the second drum (10) is sleeved with the first drum (8). A conveyor belt (11) is provided, a plurality of placement slots (12) are arranged on the conveyor belt (11), and long rods (13) are fixedly connected to the inner walls on both sides of the lower end of the conveyor frame (7), and two of the long rods (13) Adjacent ends of the rod (13) are fixedly connected to both sides of the support block (14), the upper side of the support block (14) is fixedly connected with a first fixing block (15), and the first fixing block (15) ) is provided with a chute (16) on the upper side, a second motor (17) is fixedly installed on one side of the first fixing block (15), and the output end of the second motor (17) passes through the first The fixing block (15) is fixedly connected with a threaded rod (18), two ends of the threaded rod (18) are rotatably connected with the inner wall of the chute (16), and both ends of the threaded rod (18) are sleeved with sliders (19), a connecting rod (20) is fixedly connected to the upper side of the sliding block (19), a second fixing block (21) is arranged above the connecting rod (20), and the second fixing block (21) is The blocks (21) are fixedly connected to the upper side of the first fixing block (15), the second fixing blocks (21) are all provided with long grooves (22), and the connecting rods (20) all pass through the long grooves (22). 22) A second connection block (23) is fixedly connected, and an extrusion block (24) is fixedly connected to the adjacent sides of the two second connection blocks (23). 2.根据权利要求1所述的一种点焊机点焊用物料输送机构,其特征在于:所述螺纹杆(18)两端外螺纹相反设置。2 . The material conveying mechanism for spot welding of a spot welding machine according to claim 1 , wherein the outer threads at both ends of the threaded rod ( 18 ) are oppositely arranged. 3 . 3.根据权利要求1所述的一种点焊机点焊用物料输送机构,其特征在于:所述滑块(19)均开设有内螺纹,所述滑块(19)与螺纹杆(18)螺纹连接。3. A material conveying mechanism for spot welding of a spot welding machine according to claim 1, characterized in that: the sliders (19) are provided with internal threads, and the sliders (19) and the threaded rods (18) ) threaded connection. 4.根据权利要求1所述的一种点焊机点焊用物料输送机构,其特征在于:所述滑块(19)与滑槽(16)滑动连接,所述连接杆(20)与长槽(22)滑动连接。4. A material conveying mechanism for spot welding of a spot welding machine according to claim 1, characterized in that: the slider (19) is slidably connected to the chute (16), and the connecting rod (20) is connected to the long The groove (22) is slidably connected. 5.根据权利要求1所述的一种点焊机点焊用物料输送机构,其特征在于:所述放置槽(12)等距排列。5 . The material conveying mechanism for spot welding of a spot welding machine according to claim 1 , wherein the placement grooves ( 12 ) are equidistantly arranged. 6 . 6.根据权利要求1所述的一种点焊机点焊用物料输送机构,其特征在于:所述挤压块(24)关于传送带(11)对称,所述挤压块(24)设有摩擦面。6 . The material conveying mechanism for spot welding of a spot welding machine according to claim 1 , wherein the extrusion block ( 24 ) is symmetrical with respect to the conveyor belt ( 11 ), and the extrusion block ( 24 ) is provided with 6 . friction surface.
CN202020478817.0U 2020-04-03 2020-04-03 A material conveying mechanism for spot welding of spot welding machine Expired - Fee Related CN212526467U (en)

Priority Applications (1)

Application Number Priority Date Filing Date Title
CN202020478817.0U CN212526467U (en) 2020-04-03 2020-04-03 A material conveying mechanism for spot welding of spot welding machine

Applications Claiming Priority (1)

Application Number Priority Date Filing Date Title
CN202020478817.0U CN212526467U (en) 2020-04-03 2020-04-03 A material conveying mechanism for spot welding of spot welding machine

Publications (1)

Publication Number Publication Date
CN212526467U true CN212526467U (en) 2021-02-12

Family

ID=74523004

Family Applications (1)

Application Number Title Priority Date Filing Date
CN202020478817.0U Expired - Fee Related CN212526467U (en) 2020-04-03 2020-04-03 A material conveying mechanism for spot welding of spot welding machine

Country Status (1)

Country Link
CN (1) CN212526467U (en)

Cited By (1)

* Cited by examiner, † Cited by third party
Publication number Priority date Publication date Assignee Title
CN115870673A (en) * 2022-12-26 2023-03-31 河北盛轩农业技术开发有限公司 Roost frame welding set of raising chickens

Cited By (2)

* Cited by examiner, † Cited by third party
Publication number Priority date Publication date Assignee Title
CN115870673A (en) * 2022-12-26 2023-03-31 河北盛轩农业技术开发有限公司 Roost frame welding set of raising chickens
CN115870673B (en) * 2022-12-26 2024-04-26 河北盛轩农业技术开发有限公司 Perch frame welding set of raising chickens

Similar Documents

Publication Publication Date Title
CN108213238A (en) A kind of automatic device of metal tube necking and solder up one
CN211053016U (en) An alternate automatic welding equipment
CN212526467U (en) A material conveying mechanism for spot welding of spot welding machine
CN117324815A (en) Button cell welding and fixing device and application method thereof
CN207840416U (en) A kind of laser welding system of power battery both-end surface cover
CN118123189A (en) Welding device and method for argon arc welding butt joint of surfacing pipe
CN109048042B (en) Welding head replacing device for robot friction stir welding
CN209424933U (en) Automatic assembly machine for lipstick tube
CN114552901A (en) New forms of energy motor coil welding machine
CN210615662U (en) A seam joint device and straight seam welding equipment
CN202781823U (en) Double-station rotary type balancing ring hot plate welding machine
CN114603256B (en) A laser welding device for DC motor rotor
CN217596027U (en) Novel aluminium alloy cutting device
CN214054140U (en) High-efficient metal tubular product welding equipment
CN211588902U (en) A vertical continuous friction welding machine
CN218426172U (en) Feeding device for spot welding machine
CN221735077U (en) Friction welding device
CN221363155U (en) Novel four-head movable spot welding equipment
CN215967009U (en) Cooling plate lug welding device
CN222713879U (en) Heat-sensitive sealing machine of simple operation
CN221754981U (en) Automatic single-head rotary disc type spot welder equipment
CN220880901U (en) Spot welder with multidirectional feed mechanism
CN221312835U (en) Submerged arc welding bracket
CN222037330U (en) Welding equipment for plates
CN222754630U (en) Laser hybrid welding equipment for single-sided welding and double-sided forming of carbon steel without beveling

Legal Events

Date Code Title Description
GR01 Patent grant
GR01 Patent grant
CF01 Termination of patent right due to non-payment of annual fee
CF01 Termination of patent right due to non-payment of annual fee

Granted publication date: 20210212