CN212050642U - A membrane filtration device for water treatment - Google Patents
A membrane filtration device for water treatment Download PDFInfo
- Publication number
- CN212050642U CN212050642U CN201922023553.XU CN201922023553U CN212050642U CN 212050642 U CN212050642 U CN 212050642U CN 201922023553 U CN201922023553 U CN 201922023553U CN 212050642 U CN212050642 U CN 212050642U
- Authority
- CN
- China
- Prior art keywords
- filter
- membrane
- box
- filter box
- filtration
- Prior art date
- Legal status (The legal status is an assumption and is not a legal conclusion. Google has not performed a legal analysis and makes no representation as to the accuracy of the status listed.)
- Expired - Fee Related
Links
- XLYOFNOQVPJJNP-UHFFFAOYSA-N water Substances O XLYOFNOQVPJJNP-UHFFFAOYSA-N 0.000 title claims abstract description 44
- 238000005374 membrane filtration Methods 0.000 title claims abstract description 12
- 239000012528 membrane Substances 0.000 claims abstract description 64
- 238000004140 cleaning Methods 0.000 claims abstract description 19
- 239000010865 sewage Substances 0.000 claims abstract description 10
- 238000013016 damping Methods 0.000 claims abstract description 7
- 239000012535 impurity Substances 0.000 abstract description 25
- 238000001914 filtration Methods 0.000 abstract description 22
- 238000009825 accumulation Methods 0.000 abstract description 5
- 239000011148 porous material Substances 0.000 abstract description 5
- 238000000034 method Methods 0.000 description 6
- 239000007788 liquid Substances 0.000 description 2
- 238000012986 modification Methods 0.000 description 2
- 230000004048 modification Effects 0.000 description 2
- 238000010521 absorption reaction Methods 0.000 description 1
- 230000009286 beneficial effect Effects 0.000 description 1
- 230000000903 blocking effect Effects 0.000 description 1
- 230000003139 buffering effect Effects 0.000 description 1
- 230000007547 defect Effects 0.000 description 1
- 238000010586 diagram Methods 0.000 description 1
- 239000012466 permeate Substances 0.000 description 1
- 238000012216 screening Methods 0.000 description 1
- 230000035939 shock Effects 0.000 description 1
- 150000003384 small molecules Chemical class 0.000 description 1
- 230000003068 static effect Effects 0.000 description 1
- 239000000126 substance Substances 0.000 description 1
Images
Landscapes
- Separation Using Semi-Permeable Membranes (AREA)
Abstract
本实用新型涉及水处理过滤装置技术领域,且公开了一种水处理的膜过滤装置,解决了现有过滤膜在过滤过程中,杂质容易堵塞微孔,而导致过滤速度变缓,同时过滤膜没有清理结构,杂质累积过多后容易压坏过滤膜,从而影响过滤的正常进行的问题,其包括过滤箱,所述过滤箱的两端分别设有进水管和出水管,进水管和出水管均通过减振机构与过滤箱相连接,过滤箱的表面固定安装有振动器,过滤箱的底部开设有排污口,排污口的底部活动安装有收集盒;本膜过滤装置带有振动功能,能够有效的将附着在过滤膜上的杂质进行清理,能够避免杂质堵塞过滤膜微孔,同时本膜过滤装置带有清理功能,能够定时的对过滤膜进行清理,从而避免杂质累积过多而压坏过滤膜。
The utility model relates to the technical field of water treatment filtration devices, and discloses a membrane filtration device for water treatment, which solves the problem that in the filtration process of the existing filtration membrane, impurities are easy to block the micropores, which causes the filtration speed to slow down, and at the same time the filtration membrane There is no cleaning structure, and it is easy to crush the filter membrane after the accumulation of impurities, thereby affecting the normal progress of filtration. It includes a filter box, and the two ends of the filter box are respectively provided with a water inlet pipe and a water outlet pipe, and a water inlet pipe and a water outlet pipe. They are all connected with the filter box through the vibration damping mechanism. The surface of the filter box is fixedly installed with a vibrator, the bottom of the filter box is provided with a sewage outlet, and the bottom of the sewage outlet is movably installed with a collection box; the membrane filter device has a vibration function, which can Effectively clean the impurities attached to the filter membrane, which can prevent impurities from clogging the pores of the filter membrane. At the same time, the membrane filter device has a cleaning function, which can regularly clean the filter membrane, so as to avoid excessive accumulation of impurities and crushing. filter membrane.
Description
技术领域technical field
本实用新型属于水处理过滤装置技术领域,具体为一种水处理的膜过滤装置。The utility model belongs to the technical field of water treatment filtration devices, in particular to a membrane filtration device for water treatment.
背景技术Background technique
膜过滤是一种与膜孔径大小相关的筛分过程,以膜两侧的压力差为驱动力,以膜为过滤介质,在驱动力作用下下,当原液流过膜表面时,膜表面密布的许多细小的微孔只允许水及小分子通过而成为透过液,而原液中体积大于膜表面的物质停留在过滤膜的进液侧,实现过滤的功能。Membrane filtration is a screening process related to the pore size of the membrane. The pressure difference on both sides of the membrane is used as the driving force, and the membrane is used as the filter medium. Under the action of the driving force, when the raw liquid flows through the membrane surface, the membrane surface is densely covered. Many tiny pores in the filtration membrane only allow water and small molecules to pass through and become permeate, while the substances in the original solution whose volume is larger than the membrane surface stay on the liquid inlet side of the filtration membrane to realize the function of filtration.
但膜在过滤过程中,由于杂质在过滤膜上处于静止状态,从而容易堵塞微孔,导致过滤速度变缓,影响过滤工作进度,同时过滤膜没有清理结构,杂质累积过多后容易压坏过滤膜,从而影响过滤的正常进行;因此,针对目前的状况。However, during the filtration process of the membrane, because the impurities are in a static state on the filter membrane, it is easy to block the micropores, resulting in a slow filtration speed and affecting the progress of the filtration work. At the same time, the filter membrane has no cleaning structure, and the filtration is easily crushed after the accumulation of too much impurities. membrane, thereby affecting the normal conduct of filtration; therefore, for the current situation.
发明内容SUMMARY OF THE INVENTION
针对上述情况,为克服现有技术的缺陷,本实用新型提供一种水处理的膜过滤装置,有效的解决了现有过滤膜在过滤过程中,杂质容易堵塞微孔,而导致过滤速度变缓,同时过滤膜没有清理结构,杂质累积过多后容易压坏过滤膜,从而影响过滤的正常进行的问题。In view of the above situation, in order to overcome the defects of the prior art, the utility model provides a membrane filtration device for water treatment, which effectively solves the problem that impurities tend to block the pores of the existing filtration membrane during the filtration process, resulting in slow filtration speed. , At the same time, the filter membrane has no cleaning structure, and it is easy to crush the filter membrane after the accumulation of impurities, thus affecting the normal progress of filtration.
为实现上述目的,本实用新型提供如下技术方案:一种水处理的膜过滤装置,包括过滤箱,所述过滤箱的两端分别设有进水管和出水管,进水管和出水管均通过减振机构与过滤箱相连接,过滤箱的表面固定安装有振动器,过滤箱的底部开设有排污口,排污口的底部活动安装有收集盒,过滤箱顶部的一侧等距离安装有收纳盒,收纳盒的下部固定安装有电机,收纳盒的内部设有移动机构,电机的输出端延伸至收集盒的内部并与移动机构相连接,移动机构的底部且位于过滤箱的内部安装有清理刷,过滤箱的内部安装有过滤膜组。In order to achieve the above purpose, the utility model provides the following technical solutions: a membrane filtration device for water treatment, comprising a filter box, two ends of the filter box are respectively provided with a water inlet pipe and a water outlet pipe, and both the water inlet pipe and the water outlet pipe pass through the reducing The vibration mechanism is connected with the filter box, the surface of the filter box is fixedly installed with a vibrator, the bottom of the filter box is provided with a sewage outlet, the bottom of the sewage outlet is movably installed with a collection box, and one side of the top of the filter box is equidistantly installed with a storage box. The lower part of the storage box is fixedly installed with a motor, the interior of the storage box is provided with a moving mechanism, the output end of the motor extends to the inside of the collecting box and is connected with the moving mechanism, and a cleaning brush is installed at the bottom of the moving mechanism and located inside the filter box, A filter membrane group is installed inside the filter box.
优选的,所述过滤膜组包括顶板、底板和过滤膜本体,顶板和底板分别固定安装在过滤箱内腔的顶部和底部,过滤膜本体等距离安装在顶板和底板之间。Preferably, the filter membrane group includes a top plate, a bottom plate and a filter membrane body, the top plate and the bottom plate are fixedly installed on the top and bottom of the inner cavity of the filter box, respectively, and the filter membrane body is equidistantly installed between the top plate and the bottom plate.
优选的,所述减振机构包括连接框和波纹橡胶管端,连接框固定连接在波纹橡胶管端的一端,波纹橡胶管端的一端与过滤箱固定相连接,连接框的一侧与进水管或出水管均通过螺栓活动相连接。Preferably, the vibration damping mechanism includes a connection frame and a corrugated rubber pipe end, the connection frame is fixedly connected to one end of the corrugated rubber pipe end, one end of the corrugated rubber pipe end is fixedly connected to the filter box, and one side of the connection frame is connected to the water inlet pipe or the outlet pipe. The water pipes are connected by bolts.
优选的,所述收集盒内侧的底部固定安装有第一刷毛。Preferably, the bottom of the inner side of the collection box is fixedly installed with first bristles.
优选的,所述移动机构包括移动框、齿条、半齿轮、连接轴和滚珠,滚珠等距离活动卡接在移动框的两侧,移动框活动安装在收纳盒的内部,齿条固定安装在移动框内部的两侧,半齿轮啮合在两个半齿轮之间,连接轴固定连接在半齿轮的一侧,且连接轴的一端与电机的输出端固定相连接。Preferably, the moving mechanism includes a moving frame, a rack, a half-gear, a connecting shaft and balls, the balls are equidistantly clamped on both sides of the moving frame, the moving frame is movably installed inside the storage box, and the rack is fixedly installed in On both sides of the inside of the moving frame, the half gears are meshed between the two half gears, the connecting shaft is fixedly connected to one side of the half gears, and one end of the connecting shaft is fixedly connected to the output end of the motor.
优选的,所述清理刷包括横板和第二刷毛,第二刷毛固定连接在横板的两侧,且横板位于两个过滤膜本体之间,且第二刷毛的一端与过滤膜本体相接触。Preferably, the cleaning brush includes a horizontal plate and second bristles, the second bristles are fixedly connected on both sides of the horizontal plate, the horizontal plate is located between the two filter membrane bodies, and one end of the second bristles is in contact with the filter membrane body touch.
与现有技术相比,本实用新型的有益效果是:Compared with the prior art, the beneficial effects of the present utility model are:
(1)、在工作中,通过设置有振动器、排污口、收集盒、第一刷毛和过滤膜组,使本膜过滤装置带有振动功能,能够有效的将附着在过滤膜上的杂质进行清理,能够避免杂质堵塞过滤膜微孔;当本水处理过滤装置在运行时,过滤膜组会对水进行过滤,过滤过程中通过开启振动器,使其带动过滤箱进行振动,过滤箱的振动会带动过滤膜组进行振动,从而使附着在过滤膜组表面的杂质掉落到收集盒的内部,并通过第一刷毛对杂质进行固定;(1) During operation, by being provided with a vibrator, a sewage outlet, a collection box, a first bristles and a filter membrane group, the membrane filter device has a vibration function, which can effectively remove the impurities attached to the filter membrane. Cleaning can prevent impurities from blocking the pores of the filter membrane; when the water treatment and filter device is running, the filter membrane group will filter the water, and during the filtration process, the vibrator is turned on to drive the filter box to vibrate, and the vibration of the filter box It will drive the filter membrane group to vibrate, so that the impurities attached to the surface of the filter membrane group fall into the inside of the collection box, and the impurities are fixed by the first bristles;
(2)、通过设置有收纳盒、电机、移动机构、移动框、齿条、半齿轮、连接轴、滚珠、清理刷、横板和第二刷毛,使本膜过滤装置带有清理功能,能够定时的对过滤膜进行清理,从而避免杂质累积过多而压坏过滤膜;当过滤膜组表面附着的杂质无法通过振动进行清理时,通过开启电机,使连接轴带动半齿轮进行正反转动,半齿轮的正反转动会带动移动框在收纳盒的内部上下进行移动,移动框的上下移动会带动清理刷上下进行移动,清理刷的上下移动会对两个过滤膜本体的表面进行清理,使杂质掉落到收集盒的内部。(2) By being provided with a storage box, a motor, a moving mechanism, a moving frame, a rack, a half-gear, a connecting shaft, a ball, a cleaning brush, a horizontal plate and a second bristles, the membrane filter device has a cleaning function, which can The filter membrane is cleaned regularly, so as to avoid excessive accumulation of impurities and crushing of the filter membrane; when the impurities attached to the surface of the filter membrane group cannot be cleaned by vibration, by turning on the motor, the connecting shaft drives the half-gear to rotate forward and reverse. The forward and reverse rotation of the half gear will drive the moving frame to move up and down inside the storage box, and the up and down movement of the moving frame will drive the cleaning brush to move up and down, and the up and down movement of the cleaning brush will clean the surfaces of the two filter membrane bodies, so that the Impurities fall into the inside of the collection box.
附图说明Description of drawings
附图用来提供对本实用新型的进一步理解,并且构成说明书的一部分,与本实用新型的实施例一起用于解释本实用新型,并不构成对本实用新型的限制。The accompanying drawings are used to provide a further understanding of the present invention, and constitute a part of the specification, and are used to explain the present invention together with the embodiments of the present invention, and do not constitute a limitation to the present invention.
在附图中:In the attached image:
图1为本实用新型结构示意图;Fig. 1 is the structural representation of the utility model;
图2为本实用新型图1的局部剖视结构示意图;Fig. 2 is the partial sectional structure schematic diagram of Fig. 1 of the utility model;
图3为本实用新型移动机构和清理刷的结构示意图;Fig. 3 is the structural representation of the moving mechanism and the cleaning brush of the utility model;
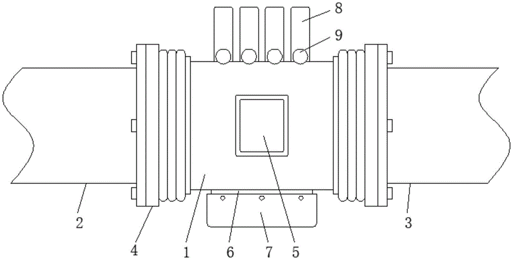
图中:1、过滤箱;2、进水管;3、出水管;4、减振机构;5、振动器; 6、排污口;7、收集盒;701、第一刷毛;8、收纳盒;9、电机;10、移动机构;1001、移动框;1002、齿条;1003、半齿轮;1004、连接轴;1005、滚珠;11、清理刷;1101、横板;1102、第二刷毛;12、过滤膜组。In the figure: 1. Filter box; 2. Water inlet pipe; 3. Water outlet pipe; 4. Vibration damping mechanism; 5. Vibrator; 6. Sewage outlet; 7. Collection box; 701, First brush; 8. Storage box; 9, motor; 10, moving mechanism; 1001, moving frame; 1002, rack; 1003, half gear; 1004, connecting shaft; 1005, ball; 11, cleaning brush; 1101, horizontal plate; 1102, second bristles; 12 , filter membrane group.
具体实施方式Detailed ways
下面将结合本实用新型实施例中的附图,对本实用新型实施例中的技术方案进行清楚、完整地描述,显然,所描述的实施例仅仅是本实用新型一部分实施例,而不是全部的实施例;基于本实用新型中的实施例,本领域普通技术人员在没有做出创造性劳动前提下所获得的所有其他实施例,都属于本实用新型保护的范围。The technical solutions in the embodiments of the present utility model will be clearly and completely described below with reference to the accompanying drawings in the embodiments of the present utility model. Obviously, the described embodiments are only a part of the embodiments of the present utility model, rather than all the implementations. For example; based on the embodiments of the present invention, all other embodiments obtained by persons of ordinary skill in the art without creative work shall fall within the protection scope of the present invention.
实施例一,由图1和图2给出,本实用新型包括过滤箱1,过滤箱1的两端分别设有进水管2和出水管3,进水管2和出水管3均通过减振机构4与过滤箱1相连接,过滤箱1的表面固定安装有振动器5,通过振动器5的设置,能够有效的将附着在过滤膜组12的杂质进行振动脱落,过滤箱1的底部开设有排污口6,排污口6的底部活动安装有收集盒7,通过收集盒7的设置,能够有效的将掉落和清理的杂质进行收集,过滤箱1顶部的一侧等距离安装有收纳盒8,收纳盒8的下部固定安装有电机9,收纳盒8的内部设有移动机构 10,电机9的输出端延伸至收集盒7的内部并与移动机构10相连接,移动机构10的底部且位于过滤箱1的内部安装有清理刷11,通过清理刷11的设置,能够有效的将附着在过滤膜组12表面的杂质进行清理,过滤箱1的内部安装有过滤膜组12。
实施例二,在实施例一的基础上,由图2给出,过滤膜组12包括顶板、底板和过滤膜本体,顶板和底板分别固定安装在过滤箱1内腔的顶部和底部,过滤膜本体等距离安装在顶板和底板之间,通过顶板、底板和过滤膜本体的设置,能够多层级对水进行过滤。
实施例三,在实施例一的基础上,由图1和图2给出,减振机构4包括连接框和波纹橡胶管端,连接框固定连接在波纹橡胶管端的一端,波纹橡胶管端的一端与过滤箱1固定相连接,连接框的一侧与进水管2或出水管3均通过螺栓活动相连接,通过连接框和波纹橡胶管端的设置,能够有效的进行安装和连接,同时能够有效的起到减震和缓冲的作用。
实施例四,在实施例一的基础上,由图2给出,收集盒7内侧的底部固定安装有第一刷毛701,通过第一刷毛701的设置,能够有效的对掉落的杂质进行固定,避免杂质受到水的作用而漂浮起来。
实施例五,在实施例一的基础上,由图3给出,移动机构10包括移动框 1001、齿条1002、半齿轮1003、连接轴1004和滚珠1005,滚珠1005等距离活动卡接在移动框1001的两侧,移动框1001活动安装在收纳盒8的内部,齿条1002固定安装在移动框1001内部的两侧,半齿轮1003啮合在两个半齿轮1003之间,连接轴1004固定连接在半齿轮1003的一侧,且连接轴1004 的一端与电机9的输出端固定相连接,通过移动框1001、齿条1002、半齿轮 1003、连接轴1004和滚珠1005的设置,使移动机构10能够在收纳盒8的内部上下进行移动。Embodiment 5, on the basis of
实施例六,在实施例一的基础上,由图3给出,清理刷11包括横板1101 和第二刷毛1102,第二刷毛1102固定连接在横板1101的两侧,且横板1101 位于两个过滤膜本体之间,且第二刷毛1102的一端与过滤膜本体相接触,通过横板1101和第二刷毛1102的设置,能够有效的对过滤膜组12进行清理。
本实施例中:电机9采用70KTYZ型号的正反转电机。In this embodiment, the motor 9 adopts a 70KTYZ forward and reverse rotation motor.
工作原理:当本水处理过滤装置在运行时,过滤膜组12会对水进行过滤,过滤过程中通过开启振动器5,使其带动过滤箱1进行振动,过滤箱1的振动会带动过滤膜组12进行振动,从而使附着在过滤膜组12表面的杂质掉落到收集盒7的内部;当过滤膜组12表面附着的杂质无法通过振动进行清理时,通过开启电机9,使连接轴1004带动半齿轮1003进行正反转动,半齿轮1003 的正反转动会带动移动框1001在收纳盒8的内部上下进行移动,移动框1001 的上下移动会带动清理刷11上下进行移动,清理刷11的上下移动会对两个过滤膜本体的表面进行清理,使杂质掉落到收集盒7的内部,掉落的杂质会通过第一刷毛701进行固定,避免再次飘散起来。Working principle: When the water treatment filtration device is running, the
需要说明的是,在本文中,诸如第一和第二等之类的关系术语仅仅用来将一个实体或者操作与另一个实体或操作区分开来,而不一定要求或者暗示这些实体或操作之间存在任何这种实际的关系或者顺序。而且,术语“包括”、“包含”或者其任何其他变体意在涵盖非排他性的包含,从而使得包括一系列要素的过程、方法、物品或者设备不仅包括那些要素,而且还包括没有明确列出的其他要素,或者是还包括为这种过程、方法、物品或者设备所固有的要素。It should be noted that, in this document, relational terms such as first and second are only used to distinguish one entity or operation from another entity or operation, and do not necessarily require or imply any relationship between these entities or operations. any such actual relationship or sequence exists. Moreover, the terms "comprising", "comprising" or any other variation thereof are intended to encompass a non-exclusive inclusion such that a process, method, article or device that includes a list of elements includes not only those elements, but also includes not explicitly listed or other elements inherent to such a process, method, article or apparatus.
尽管已经示出和描述了本实用新型的实施例,对于本领域的普通技术人员而言,可以理解在不脱离本实用新型的原理和精神的情况下可以对这些实施例进行多种变化、修改、替换和变型,本实用新型的范围由所附权利要求及其等同物限定。Although the embodiments of the present invention have been shown and described, it will be understood by those skilled in the art that various changes and modifications can be made to these embodiments without departing from the principles and spirit of the present invention , alternatives and modifications, the scope of the present invention is defined by the appended claims and their equivalents.
Claims (6)
Priority Applications (1)
| Application Number | Priority Date | Filing Date | Title |
|---|---|---|---|
| CN201922023553.XU CN212050642U (en) | 2019-11-21 | 2019-11-21 | A membrane filtration device for water treatment |
Applications Claiming Priority (1)
| Application Number | Priority Date | Filing Date | Title |
|---|---|---|---|
| CN201922023553.XU CN212050642U (en) | 2019-11-21 | 2019-11-21 | A membrane filtration device for water treatment |
Publications (1)
| Publication Number | Publication Date |
|---|---|
| CN212050642U true CN212050642U (en) | 2020-12-01 |
Family
ID=73508775
Family Applications (1)
| Application Number | Title | Priority Date | Filing Date |
|---|---|---|---|
| CN201922023553.XU Expired - Fee Related CN212050642U (en) | 2019-11-21 | 2019-11-21 | A membrane filtration device for water treatment |
Country Status (1)
| Country | Link |
|---|---|
| CN (1) | CN212050642U (en) |
Cited By (3)
| Publication number | Priority date | Publication date | Assignee | Title |
|---|---|---|---|---|
| CN113149198A (en) * | 2021-05-27 | 2021-07-23 | 广东纯楠环境技术有限公司 | MBR (membrane bioreactor) membrane filtering device for landfill leachate |
| CN114146480A (en) * | 2021-11-15 | 2022-03-08 | 李强 | Membrane filtration equipment |
| CN114361546A (en) * | 2022-03-18 | 2022-04-15 | 河南师范大学 | Ultrasonic type micropore structure fuel cell proton exchange membrane processing equipment |
-
2019
- 2019-11-21 CN CN201922023553.XU patent/CN212050642U/en not_active Expired - Fee Related
Cited By (3)
| Publication number | Priority date | Publication date | Assignee | Title |
|---|---|---|---|---|
| CN113149198A (en) * | 2021-05-27 | 2021-07-23 | 广东纯楠环境技术有限公司 | MBR (membrane bioreactor) membrane filtering device for landfill leachate |
| CN114146480A (en) * | 2021-11-15 | 2022-03-08 | 李强 | Membrane filtration equipment |
| CN114361546A (en) * | 2022-03-18 | 2022-04-15 | 河南师范大学 | Ultrasonic type micropore structure fuel cell proton exchange membrane processing equipment |
Similar Documents
| Publication | Publication Date | Title |
|---|---|---|
| CN212050642U (en) | A membrane filtration device for water treatment | |
| CN213112771U (en) | Domestic sewage treatment device | |
| CN209362069U (en) | An anti-clogging type industrial waste gas dust removal equipment | |
| CN210993324U (en) | A kind of industrial sewage solid-liquid separation device | |
| CN117443069A (en) | A high-efficiency filter processing device and method | |
| CN206184081U (en) | Improved sewage filter | |
| CN116920491A (en) | A water quality purification device for rivers entering a reservoir | |
| CN102921210B (en) | Unpowered automatic back-flushing screening device for culture water treatment | |
| CN221535797U (en) | A waste material filter equipment for chemical engineering | |
| CN210528498U (en) | Sewage treatment plant is used in antifreeze solution production | |
| CN114684951A (en) | Dissolved air flotation sewage purification and separation device | |
| CN218191402U (en) | Ultrasonic cleaner | |
| CN211462376U (en) | Water treatment filtering mechanism | |
| CN203154918U (en) | Microstrainer | |
| CN221732910U (en) | Ultrafiltration membrane cleaning mechanism | |
| CN211273799U (en) | a sewage treatment tank | |
| CN211078831U (en) | A decentralized rural sewage treatment equipment | |
| CN220736539U (en) | Circulating sand removing device for sewage treatment | |
| CN223342462U (en) | Air floatation device | |
| CN222534200U (en) | A sewage purification device | |
| CN221846341U (en) | Novel grease high-flow filter | |
| CN107670425A (en) | Dust shaker of difficult jam | |
| CN211111114U (en) | Flax is floater cleaning device for textile processing | |
| CN221906034U (en) | Impurity removing device for sewage treatment | |
| CN221052788U (en) | Anti-clogging water supply and drainage pipeline |
Legal Events
| Date | Code | Title | Description |
|---|---|---|---|
| GR01 | Patent grant | ||
| GR01 | Patent grant | ||
| TR01 | Transfer of patent right | ||
| TR01 | Transfer of patent right |
Effective date of registration: 20230906 Address after: No. 36, Group 4, Xinzhuang Village, Gaozhuang Town, Jinghe New City, Xixian New District, Xianyang City, Shaanxi Province, 713700 Patentee after: Shaanxi Leiguang Jiuzhou Industrial Co.,Ltd. Address before: Room 10802-8507, 8th floor, Ruiji building, No.15, Gaoxin 2nd Road, high tech Zone, Xi'an City, Shaanxi Province, 710075 Patentee before: XI'AN MEIZHILV INFORMATION TECHNOLOGY Co.,Ltd. |
|
| CF01 | Termination of patent right due to non-payment of annual fee | ||
| CF01 | Termination of patent right due to non-payment of annual fee |
Granted publication date: 20201201 |
