CN211921939U - Bidirectional dyeing equipment for clothing production - Google Patents
Bidirectional dyeing equipment for clothing production Download PDFInfo
- Publication number
- CN211921939U CN211921939U CN201921848652.5U CN201921848652U CN211921939U CN 211921939 U CN211921939 U CN 211921939U CN 201921848652 U CN201921848652 U CN 201921848652U CN 211921939 U CN211921939 U CN 211921939U
- Authority
- CN
- China
- Prior art keywords
- dyeing
- guide roller
- baffle
- dye liquor
- component
- Prior art date
- Legal status (The legal status is an assumption and is not a legal conclusion. Google has not performed a legal analysis and makes no representation as to the accuracy of the status listed.)
- Expired - Fee Related
Links
Images
Landscapes
- Treatment Of Fiber Materials (AREA)
Abstract
本实用新型公开了一种服装生产用双向染色设备,包括染色仓、进料口、印染组件、第一导布辊、固色组件、第二导布辊、拉幅组件、烘干组件、电动卷绕轴、卷绕轴支撑架和染液回收组件,所述进料口设于染色仓上端且与染色仓中空腔体连通,所述印染组件设于染色仓上,所述染液回收组件设于染色仓上,所述固色组件设于染液回收组件和拉幅组件之间,所述烘干组件设于拉幅组件两侧,所述电动卷绕轴可旋转设于卷绕轴支架上且设于烘干组件的下方。本实用新型属于纺织设备技术领域,具体提供了一种结合超声波固色、磁铁固定吸附等方式适用于服装生产的实用性高,操作简单,生产效率高,集双向印染、固色、拉幅定型的一体式双向染色设备。
The utility model discloses a bidirectional dyeing equipment for garment production, comprising a dyeing bin, a feeding port, a printing and dyeing component, a first cloth guide roller, a color fixing component, a second cloth guide roller, a tenter component, a drying component, an electric A winding shaft, a winding shaft support frame and a dye liquor recovery assembly, the feeding port is arranged on the upper end of the dyeing chamber and communicates with the hollow cavity of the dyeing chamber, the printing and dyeing assembly is arranged on the dyeing chamber, and the dye liquor recovery assembly Set on the dyeing bin, the fixing component is set between the dye liquor recovery component and the tenter component, the drying component is set on both sides of the tenter component, and the electric winding shaft is rotatably arranged on the winding shaft The bracket is arranged below the drying component. The utility model belongs to the technical field of textile equipment, and specifically provides a method which is suitable for garment production by combining ultrasonic color fixing, magnet fixing and adsorption, etc. The integrated two-way dyeing equipment.
Description
技术领域technical field
本实用新型涉及纺织设备领域,具体是指一种服装生产用双向染色设备。The utility model relates to the field of textile equipment, in particular to a bidirectional dyeing equipment for garment production.
背景技术Background technique
染色设备在纺织行业中使用比较广泛,主要用于服装面料等原材料的染色,现有服装面料大都采用单面印染,印染完成需要较长的时间的晾晒后方能收集存放,在印染时布料容易发生褶皱,不仅影响染色质量,还降低工作效率。Dyeing equipment is widely used in the textile industry. It is mainly used for the dyeing of raw materials such as clothing fabrics. Most of the existing clothing fabrics are printed and dyed on one side. After printing and dyeing, they can be collected and stored after drying for a long time. Wrinkles not only affect the dyeing quality, but also reduce work efficiency.
实用新型内容Utility model content
为解决上述现有难题,本实用新型提供了一种实用性高、操作简单、生产效率高、可双向印染以及环保节约的适用于服装生产用双向染色设备。In order to solve the above-mentioned existing problems, the utility model provides a two-way dyeing device suitable for garment production, which is high in practicability, simple in operation, high in production efficiency, capable of two-way printing and dyeing, and environmentally friendly.
本实用新型采取的技术方案如下:本实用新型一种服装生产用双向染色设备,包括染色仓、进料口、印染组件、第一导布辊、固色组件、第二导布辊、拉幅组件、烘干组件、电动卷绕轴、卷绕轴支撑架和染液回收组件,所述染色仓为中空腔体结构设置,所述进料口设于染色仓上端并与染色仓中空腔体连通,所述印染组件设于染色仓上并靠近进料口,所述染液回收组件一端设于染色仓上,所述染液回收组件另一端设于印染组件上,所述第一导布辊设于染色仓相对两侧壁上且设于染液回收组件的下方,所述第二导布辊设于染色仓相对两侧壁上且设于第一导布辊的下方,所述固色组件设于染色仓中且设于第一导布辊和第二导布辊之间,所述卷绕轴支撑架设于染色仓中,所述电动卷绕轴可旋转设于卷绕轴支架上,所述拉幅组件设于染色仓中且设于电动卷绕轴和第二导布辊之间,所述烘干组件设于染色仓中且设于电动卷绕轴和第二导布辊之间,所述烘干组件设于拉幅组件两侧。The technical scheme adopted by the utility model is as follows: The utility model is a two-way dyeing equipment for garment production, including a dyeing bin, a feeding port, a printing and dyeing component, a first cloth guide roller, a color fixing component, a second cloth guide roller, a tenter assembly, drying assembly, electric winding shaft, winding shaft support frame and dye liquor recovery assembly, the dyeing bin is a hollow cavity structure, and the feeding port is set at the upper end of the dyeing bin and is connected with the hollow cavity of the dyeing bin connected, the printing and dyeing assembly is arranged on the dyeing bin and is close to the feeding port, one end of the dye liquor recovery assembly is set on the dyeing bin, the other end of the dye liquor recovery assembly is set on the printing and dyeing assembly, and the first cloth guide The rollers are arranged on the opposite two side walls of the dyeing chamber and below the dye liquor recovery assembly. The second cloth guide rollers are arranged on the opposite two side walls of the dyeing chamber and below the first cloth guide rollers. The color component is arranged in the dyeing chamber and between the first cloth guide roller and the second cloth guide roller, the winding shaft is supported and erected in the dyeing chamber, and the electric winding shaft is rotatably arranged on the winding shaft support On the top, the tenter assembly is set in the dyeing bin and between the electric winding shaft and the second cloth guide roller, and the drying assembly is set in the dyeing bin and is set between the electric winding shaft and the second cloth guide Between the rollers, the drying assembly is arranged on both sides of the tenter assembly.
进一步地,所述印染组件包括染料罐、喷头、输送管道、排放龙头、固定架、印染压辊、螺杆、紧固螺母和连接支架,所述染料罐设于染色仓外壁上且靠近进料口,所述喷头贯穿染色仓侧壁设于染料罐底部且与染料罐连通,所述输送管道一端设于染料罐的底部,所述输送管道另一端设于设于染色仓侧壁上,所述排放龙头贯穿染色仓侧壁与输送管道连通,所述固定架设于染色仓内壁上,所述连接支架可滑动设于固定架中,所述螺杆依次贯穿染色仓侧壁上固定架设于连接支架上,所述印染压辊可旋转设于连接支架上,所述紧固螺母设于螺杆上且位于染色仓外侧,所述印染组件以染色仓轴线对称设置,通过调节螺杆的伸缩可调节连接支架的位置从未调节两对称印染压辊之间的间距。Further, the printing and dyeing assembly includes a dye tank, a spray head, a conveying pipe, a discharge faucet, a fixing frame, a printing and dyeing roller, a screw, a fastening nut and a connecting bracket, and the dye tank is arranged on the outer wall of the dyeing warehouse and is close to the feeding port. The nozzle penetrates the side wall of the dyeing warehouse and is located at the bottom of the dye tank and communicates with the dye tank. The discharge faucet penetrates the side wall of the dyeing warehouse and is communicated with the conveying pipeline, the fixed frame is installed on the inner wall of the dyeing warehouse, the connecting bracket can be slidably installed in the fixing frame, and the screw rod is successively passed through the side wall of the dyeing warehouse and is fixed and erected on the connecting bracket. , the printing and dyeing roller is rotatably arranged on the connecting bracket, the tightening nut is arranged on the screw and is located outside the dyeing chamber, the printing and dyeing components are arranged symmetrically with the axis of the dyeing chamber, and the connection bracket can be adjusted by adjusting the expansion and contraction of the screw. The position never adjusts the spacing between the two symmetrical printing rollers.
进一步地,所述染液回收组件包括蓄液箱、染液收集件和收集管道,所述蓄液箱设于染色仓的外侧壁上,所述收集管道贯穿染色仓侧壁设于蓄液箱上且与蓄液箱连通,所述染液收集件一端设于收集管道上,所述染液收集件另一端设于连接支架上,所述收集管道为可伸缩弹性管道结构设置,所述染液回收组件以染色仓轴线对称设置,所述对称设置的染液回收组件上的印染压辊之间的间距大于对称设置的染液回收组件上的染液收集件之间的间距。Further, the dye liquor recovery assembly includes a liquid storage tank, a dye liquid collection piece and a collection pipeline, the liquid storage tank is arranged on the outer side wall of the dyeing silo, and the collection pipeline penetrates the side wall of the dyeing silo and is arranged on the liquid storage tank. one end of the dye liquor collecting piece is set on the collecting pipe, the other end of the dye liquor collecting piece is set on the connecting bracket, the collecting pipe is a retractable elastic pipe structure, and the dyeing liquor collecting piece The liquid recovery components are arranged symmetrically with respect to the axis of the dyeing bin, and the spacing between the printing and dyeing pressing rollers on the symmetrically arranged dye liquid recovery components is greater than the spacing between the dye liquid collection pieces on the symmetrically arranged dye liquid recovery components.
进一步地,所述染液收集件呈一端开口的U字形结构设置,所述染液收集件的开口方向正对印染压辊,所述染液收集件呈倾斜设置,所述染液收集件靠近印染压辊的一端高度高于靠近蓄液箱的一端的高度。Further, the dye liquor collecting member is arranged in a U-shaped structure with one end open, the opening direction of the dye liquor collecting member is facing the printing and dyeing pressure roller, the dye liquor collecting member is arranged obliquely, and the dye liquor collecting member is close to the printing and dyeing roller. The height of one end of the printing and dyeing roller is higher than that of the end close to the liquid storage tank.
进一步地,所述第一导布辊设于染液收集件的下方且靠近两对称印染压辊其中一印染压辊,所述第一导布辊辊面与另一印染压辊辊面之间的水平间距等于两对称印染压辊的辊面之间的水平间距。Further, the first cloth guide roller is arranged below the dye liquor collecting member and close to one of the two symmetrical printing and dyeing pressure rollers, between the surface of the first cloth guide roller and the roller surface of the other printing and dyeing pressure roller. The horizontal spacing is equal to the horizontal spacing between the roller surfaces of the two symmetrical printing and dyeing rollers.
进一步地,所述固色组件包括固色导布辊一、固色导布辊二、固色导布辊三、固色导布辊四、超声波换能发生器挡板一、超声波换能发生器挡板二和超声波换能发生器,所述超声波换能发生器挡板一一侧设于染色仓内侧壁上且设于第一导布辊的下方,所述超声波换能发生器挡板二一侧设于染色仓内侧壁上且设于超声波换能发生器挡板一的下方,所述超声波换能发生器挡板一、超声波换能发生器挡板二与染色仓的侧壁构成一侧开口的腔体,所述超声波换能发生器均匀间隔设于染色仓内壁上且设于超声波换能发生器挡板一和超声波换能发生器挡板二相向内侧面,所述超声波换能发生器与超声波换能发生器挡板一和超声波换能发生器挡板二之间的间距大于布料的厚度,所述超声波换能发生器均匀设有若干组,所述固色导布辊一和固色导布辊二设于染色仓内壁上且分别设于超声波换能发生器挡板一的两端,所述固色导布辊二设于超声波换能发生器挡板一的下方,所述固色导布辊二与超声波换能发生器挡板一及染色仓壁之间的间距均大于布料的厚度,所述固色导布辊四和固色导布辊三设于染色仓内壁上且分别设于超声波换能发生器挡板一的两端,所述固色导布辊三设于超声波换能发生器挡板二的上方,所述固色导布辊三与超声波换能发生器挡板二及染色仓壁之间的间距均大于布料的厚度,所述固色导布辊三设于固色导布辊二的下方,所述固色导布辊一与第一导布辊之间的水平间距大于超声波换能发生器挡板一的活动端与第一导布辊之间的水平间距,所述固色导布辊四设于固色导布辊一的下方,所述固色导布辊一和固色导布辊四之间的垂直距离大于超声波换能发生器挡板一与超声波换能发生器挡板二之间的垂直距离。Further, the color-fixing component includes a color-fixing cloth guide roller 1, a color-fixing
进一步地,所述拉幅组件包括主动转动轴、从动转动轴、传动带一和传动带二,所述主动转动轴和从动转动轴可旋转设与染色仓的内壁上,所述主动转动轴设于烘干组件的上方,所述从动转动轴设于烘干组件的下方,所述传动带一绕接设于主动转动轴和从动转动轴一端,所述传动带二绕接设于主动转动轴和从动转动轴另一端,所述传动带一和传动带二之间的间距小于布料的宽度,所述拉幅组件设有两组,两组分别为拉幅组件一和拉幅组件二,所述拉幅组件一和拉幅组件二以染色仓轴线为轴对称设置。Further, the tenter assembly includes a driving rotation shaft, a driven rotation shaft, a first transmission belt and a second transmission belt, the driving rotation shaft and the driven rotation shaft are rotatably arranged on the inner wall of the dyeing chamber, and the driving rotation shaft is arranged Above the drying assembly, the driven rotating shaft is arranged below the drying assembly, the first transmission belt is connected to one end of the driving rotating shaft and the driven rotating shaft, and the second transmission belt is connected to the active rotating shaft. and the other end of the driven rotating shaft, the distance between the first and second transmission belts is smaller than the width of the cloth, the tenter assembly is provided with two groups, the two groups are the first tenter assembly and the second tenter assembly. The first tenter assembly and the second tenter assembly are arranged symmetrically with the axis of the dyeing chamber as the axis.
进一步地,所述拉幅组件一中传动带一和传动带二上均匀间隔设有磁铁块,所述拉幅组件二中传动带一和传动带二上均匀间隔设有铁块,所述磁铁块与铁块数量相等且一一对应设置,布料边经过两对称设置的传动带之间时,对称设置的磁铁块通过磁吸力与铁块吸附将布料的布边夹持固定住实现拉幅定型。Further, magnet blocks are evenly spaced on the transmission belt 1 and the
进一步地,所述烘干组件包括烘干挡板固定支架、烘干机、输风管、挡板和分流管道,所述烘干挡板固定支架设于染色仓的侧壁上,所述挡板设于烘干挡板固定支架上,所述烘干机设于挡板上且靠近染色仓侧壁,所述输风管设于挡板上且与烘干机的输出端连接,所述分流管道设于挡板上,所述分流管道设于输风管远离染色仓侧壁的一端且与输风管连通,所述烘干组件以染色仓轴线为轴对称设置。Further, the drying assembly includes a drying baffle fixing bracket, a dryer, an air supply pipe, a baffle and a shunt pipe, the drying baffle fixing bracket is arranged on the side wall of the dyeing warehouse, and the baffle The plate is arranged on the fixing bracket of the drying baffle, the dryer is arranged on the baffle and is close to the side wall of the dyeing warehouse, the air supply pipe is arranged on the baffle and is connected with the output end of the dryer, the The shunt duct is arranged on the baffle plate, the shunt duct is arranged at one end of the air supply pipe away from the side wall of the dyeing silo and communicated with the air supply duct, and the drying assembly is arranged symmetrically with the axis of the dyeing silo as the axis.
采用上述结构本实用新型取得的有益效果如下:本方案一种服装生产用双向染色设备通过对称设置且可根据实际需要调整间距的印染压辊实现对布料的双面印染,增加印染效率;利用染液收集件对多余染料进行收集并通过收集管道的弹性连接使染液收集件实现与印染压辊同步移动的技术效果;通过采用超声波固色技术提高固色效率,避免了传统化学固色法固色后需要进行多次漂洗的繁琐的固色方式,节约水资源的同时也可减少环境污染。The beneficial effects of the utility model obtained by adopting the above structure are as follows: In this scheme, a two-way dyeing equipment for garment production realizes double-sided printing and dyeing of fabrics through printing and dyeing rollers that are symmetrically arranged and can be adjusted according to actual needs, thereby increasing the printing and dyeing efficiency; The liquid collecting part collects the excess dye and makes the dye liquid collecting part move synchronously with the printing and dyeing roller through the elastic connection of the collecting pipe; the color fixing efficiency is improved by using the ultrasonic color fixing technology, which avoids the traditional chemical color fixing method. The tedious color fixing method that requires multiple rinsing after coloring saves water resources and reduces environmental pollution.
附图说明Description of drawings
图1为本实用新型一种服装生产用双向染色设备整体结构示意图;Fig. 1 is the overall structure schematic diagram of a kind of bidirectional dyeing equipment for garment production of the present utility model;
图2为本实用新型一种服装生产用双向染色设备整体图1中A部分局部放大图;Fig. 2 is a partial enlarged view of part A in the overall Fig. 1 of a two-way dyeing equipment for garment production of the present utility model;
图3为本实用新型一种服装生产用双向染色设备固色组件的结构示意图;3 is a schematic structural diagram of a color fixing component of a bidirectional dyeing device for garment production according to the present invention;
图4为本实用新型一种服装生产用双向染色设备拉幅组件一的结构示意图。4 is a schematic structural diagram of a tenter assembly 1 of a bidirectional dyeing equipment for garment production according to the present invention.
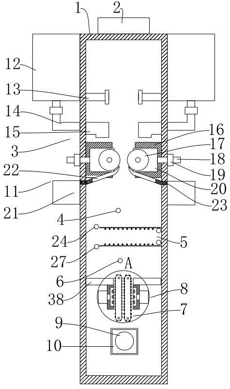
其中,1、染色仓,2、进料口,3、印染组件,4、第一导布辊,5、固色组件,6、第二导布辊,7、拉幅组件,8、烘干组件,9、电动卷绕轴,10、卷绕轴支撑架,11、染液回收组件,12、染料罐,13、喷头,14、输送管道,15、排放龙头,16、固定架,17、印染压辊,18、螺杆,19、紧固螺母,20、连接支架,21、蓄液箱,22、染液收集件,23、收集管道,24、固色导布辊一,25、固色导布辊二,26、固色导布辊三,27、固色导布辊四,28、超声波换能发生器挡板一,29、超声波换能发生器挡板二,30、超声波换能发生器,31、主动转动轴,32、从动转动轴,33、传动带一,34、传动带二,35、拉幅组件一,35、拉幅组件二,37、铁块,38、烘干挡板固定支架,39、烘干机,40、输风管,41、挡板,42、分流管道, 43、磁铁块。Among them, 1. Dyeing bin, 2. Feeding port, 3. Printing and dyeing assembly, 4. First cloth guide roller, 5. Color fixing assembly, 6. Second cloth guide roller, 7. Tenter assembly, 8. Drying Component, 9. Electric winding shaft, 10, Winding shaft support frame, 11, Dye liquor recovery assembly, 12, Dye tank, 13, Nozzle, 14, Delivery pipe, 15, Discharge tap, 16, Fixing frame, 17, Printing and Dyeing Press Roller, 18, Screw, 19, Fastening Nut, 20, Connecting Bracket, 21, Liquid Storage Tank, 22, Dyeing Liquid Collector, 23, Collection Pipe, 24, Color
具体实施方式Detailed ways
结合附图,对本实用新型做进一步详细说明。In conjunction with the accompanying drawings, the present utility model will be further described in detail.
如图1-4所示,本实用新型一种服装生产用双向染色设备,包括染色仓1、进料口2、印染组件3、第一导布辊4、固色组件5、第二导布辊6、拉幅组件7、烘干组件8、电动卷绕轴9、卷绕轴支撑架10和染液回收组件11,所述染色仓1为中空腔体结构设置,所述进料口2设于染色仓1上端并与染色仓1中空腔体连通,所述印染组件3设于染色仓1上并靠近进料口2,所述染液回收组件11一端设于染色仓1上,所述染液回收组件11另一端设于印染组件3上,所述第一导布辊4设于染色仓1相对两侧壁上且设于染液回收组件11的下方,所述第二导布辊6设于染色仓1相对两侧壁上且设于第一导布辊4的下方,所述固色组件5设于染色仓1中且设于第一导布辊4和第二导布辊6之间,所述卷绕轴支撑架10设于染色仓1 中,所述电动卷绕轴9可旋转设于卷绕轴支架上,所述拉幅组件7设于染色仓1中且设于电动卷绕轴9和第二导布辊6之间,所述烘干组件8设于染色仓1中且设于电动卷绕轴9和第二导布辊6之间,所述烘干组件8设于拉幅组件7两侧。As shown in Figures 1-4, the utility model is a bidirectional dyeing equipment for garment production, comprising a dyeing bin 1, a
所述印染组件3包括染料罐12、喷头13、输送管道14、排放龙头15、固定架16、印染压辊17、螺杆18、紧固螺母19和连接支架20,所述染料罐12设于染色仓1外壁上且靠近进料口2,所述喷头13设于染料罐12的底部且贯穿设于染色仓1侧壁上,所述喷头13贯穿染色仓1侧壁设于染料罐12底部且与染料罐12连通,所述输送管道14一端设于染料罐12的底部,所述输送管道14另一端设于设于染色仓1 侧壁上,所述排放龙头15贯穿染色仓1侧壁与输送管道14连通,所述固定架16设于染色仓1内壁上,所述连接支架20可滑动设于固定架16中,所述螺杆18依次贯穿染色仓1侧壁上固定架16设于连接支架 20上,所述螺杆18表面设有螺纹,所述印染压辊17可旋转设于连接支架20上,所述紧固螺母19设于螺杆18上且位于染色仓1外侧,所述紧固螺母19内设有螺纹,所述紧固螺母19与螺杆18通过螺纹啮合连接,所述印染组件3以染色仓1轴线对称设置。The printing and
所述染液回收组件11包括蓄液箱21、染液收集件22和收集管道23,所述蓄液箱21设于染色仓1 的外侧壁上,所述收集管道23贯穿染色仓1侧壁设于蓄液箱21上且与蓄液箱21连通,所述染液收集件 22一端设于收集管道23上,所述染液收集件22另一端设于连接支架20上,所述收集管道23为可伸缩弹性管道结构设置,所述染液回收组件11以染色仓1轴线对称设置,所述对称设置的染液回收组件11上的印染压辊17之间的间距大于对称设置的染液回收组件11上的染液收集件22之间的间距。The dye
所述染液收集件22呈一端开口的U字形结构设置,所述染液收集件22的开口方向正对印染压辊17,所述染液收集件22呈倾斜设置,所述染液收集件22靠近印染压辊17的一端高度高于靠近蓄液箱21的一端的高度。The dye
所述第一导布辊4设于染液收集件22的下方且靠近两对称印染压辊17其中一印染压辊17,所述第一导布辊4辊面与另一印染压辊17辊面之间的水平间距等于两对称印染压辊17的辊面之间的水平间距。The first
所述固色组件5包括固色导布辊一24、固色导布辊二25、固色导布辊三26、固色导布辊四27、超声波换能发生器挡板一28、超声波换能发生器挡板二29和超声波换能发生器30,所述超声波换能发生器挡板一28一侧设于染色仓1内侧壁上且设于第一导布辊4的下方,所述超声波换能发生器挡板二29一侧设于染色仓1内侧壁上且设于超声波换能发生器挡板一28的下方,所述超声波换能发生器挡板一28、超声波换能发生器挡板二29与染色仓1的侧壁构成一侧开口的腔体,所述超声波换能发生器30均匀间隔设于染色仓1内壁上且设于超声波换能发生器挡板一28和超声波换能发生器挡板二29相向内侧面,所述超声波换能发生器30与超声波换能发生器挡板一28和超声波换能发生器挡板二29之间的间距大于布料的厚度,所述超声波换能发生器30均匀设有若干组,所述固色导布辊一24和固色导布辊二25设于染色仓1 内壁上且分别设于超声波换能发生器挡板一28的两端,所述固色导布辊二25设于超声波换能发生器挡板一28的下方,所述固色导布辊二25与超声波换能发生器挡板一28及染色仓1壁之间的间距均大于布料的厚度,所述固色导布辊四27和固色导布辊三26设于染色仓1内壁上且分别设于超声波换能发生器挡板一28的两端,所述固色导布辊三26设于超声波换能发生器挡板二29的上方,所述固色导布辊三26与超声波换能发生器挡板二29及染色仓1壁之间的间距均大于布料的厚度,所述固色导布辊三26设于固色导布辊二25的下方,所述固色导布辊一24与第一导布辊4之间的水平间距大于超声波换能发生器挡板一28 的活动端与第一导布辊4之间的水平间距,所述固色导布辊四27设于固色导布辊一24的下方,所述固色导布辊一24和固色导布辊四27之间的垂直距离大于超声波换能发生器挡板一28活与超声波换能发生器挡板二29之间的垂直距离。The color-fixing
所述拉幅组件7包括主动转动轴31、从动转动轴32、传动带一33和传动带二34,所述主动转动轴 31和从动转动轴32可旋转设与染色仓1的内壁上,所述主动转动轴31设于烘干组件8的上方,所述从动转动轴32设于烘干组件8的下方,所述传动带一33绕接设于主动转动轴31和从动转动轴32一端,所述传动带二34绕接设于主动转动轴31和从动转动轴32另一端,所述传动带一33和传动带二34之间的间距小于布料的宽度,所述拉幅组件7设有两组,两组分别为拉幅组件一35和拉幅组件二36,所述拉幅组件一35和拉幅组件二36以染色仓1轴线为轴对称设置。The
所述拉幅组件一35中传动带一33和传动带二34上均匀间隔设有磁铁块43,所述拉幅组件二36中传动带一33和传动带二34上均匀间隔设有铁块37,所述磁铁块43与铁块37数量相等且一一对应设置。In the
所述烘干组件8包括烘干挡板固定支架38、烘干机39、输风管40、挡板41和分流管道42,所述烘干挡板固定支架38设于染色仓1的侧壁上,所述挡板41设于烘干挡板固定支架38上,所述烘干机39设于挡板41上且靠近染色仓1侧壁,所述输风管40设于挡板41上且与烘干机39的输出端连接,所述分流管道42设于挡板41上,所述分流管道42设于输风管40远离染色仓1侧壁的一端且与输风管40连通,所述烘干组件8以染色仓1轴线为轴对称设置。The drying
具体使用时,取下紧固螺母19,通过移动螺杆18带动连接支架20在固定架16中前后滑动调整印染压辊17之间的距离,待连接支架20带动对称设置的印染压辊17移动至合适间距后停止移动螺杆18,将紧固螺母19螺紧固定螺杆18的位置,布料经进料口2进入染色仓1中,染料罐12中的染料经喷头13先对面料进行第一次染料喷洒处理,同时染料罐12中的染料经过输送管道14进入排放龙头15,从排放龙头 15中流出的染料落至印染压辊17上,两对称印染压辊17对布料进行双向挤压印染,同时在挤压过程中使染料在布面分布均匀,印染滚上多余的染料滴落至下方的染液收集件22上,染料在染液收集件22上汇集经收集管道23进入蓄液箱21,印染处理之后的布料依次经第一导布辊4和固色导布辊一24进入超声波换能发生器挡板一28、超声波换能发生器挡板二29与染色仓1的侧壁构成的一侧开口的腔体中,布料先经过超声波换能发生器30与超声波换能发生器挡板一28之间的缝隙,然后经固色导布辊二25、固色导布辊三26、超声波换能发生器30与超声波换能发生器挡板二29之间的缝隙、固色导布辊四27和第二导布辊 6进入对称设置的拉幅组件一35和拉幅组件二36之间,拉幅组件一35中传动带一33和传动带二34上磁铁块37对拉幅组件二36中传动带一33和传动带二34上的铁块38通过磁吸力相互吸附将布料两边夹持固定在磁铁块37和铁块38之间,将布料拉幅固定,然后拉幅组件一35和拉幅组件二36上的传动带一33 和传动带二34与布料的移动方向做同向转动从两侧夹持住布料进入烘干组件8中,烘干机39产生的热风气流通过输风管40和分流管道42均匀喷洒至布面上,热风气流将布料上的水分带走使布料快速烘干,烘干后的布料随电动卷绕辊9旋转将布料卷绕至电动卷绕辊9上。In specific use, remove the tightening
以上对本实用新型及其实施方式进行了描述,这种描述没有限制性,附图中所示的也只是本实用新型的实施方式之一,实际的结构并不局限于此。总而言之如果本领域的普通技术人员受其启示,在不脱离本实用新型创造宗旨的情况下,不经创造性的设计出与该技术方案相似的结构方式及实施例,均应属于本实用新型的保护范围。The present invention and the embodiments thereof have been described above, and the description is not restrictive, and what is shown in the accompanying drawings is only one of the embodiments of the present invention, and the actual structure is not limited thereto. All in all, if those of ordinary skill in the art are inspired by it, without departing from the purpose of the present invention, and without creatively designing the structural modes and embodiments similar to the technical scheme, all should belong to the protection of the present invention. scope.
Claims (9)
Priority Applications (1)
| Application Number | Priority Date | Filing Date | Title |
|---|---|---|---|
| CN201921848652.5U CN211921939U (en) | 2019-10-30 | 2019-10-30 | Bidirectional dyeing equipment for clothing production |
Applications Claiming Priority (1)
| Application Number | Priority Date | Filing Date | Title |
|---|---|---|---|
| CN201921848652.5U CN211921939U (en) | 2019-10-30 | 2019-10-30 | Bidirectional dyeing equipment for clothing production |
Publications (1)
| Publication Number | Publication Date |
|---|---|
| CN211921939U true CN211921939U (en) | 2020-11-13 |
Family
ID=73318815
Family Applications (1)
| Application Number | Title | Priority Date | Filing Date |
|---|---|---|---|
| CN201921848652.5U Expired - Fee Related CN211921939U (en) | 2019-10-30 | 2019-10-30 | Bidirectional dyeing equipment for clothing production |
Country Status (1)
| Country | Link |
|---|---|
| CN (1) | CN211921939U (en) |
Cited By (1)
| Publication number | Priority date | Publication date | Assignee | Title |
|---|---|---|---|---|
| CN116971110A (en) * | 2023-06-20 | 2023-10-31 | 诸暨天义恒染整有限公司 | Grey cloth dyeing process and dyeing machine thereof |
-
2019
- 2019-10-30 CN CN201921848652.5U patent/CN211921939U/en not_active Expired - Fee Related
Cited By (1)
| Publication number | Priority date | Publication date | Assignee | Title |
|---|---|---|---|---|
| CN116971110A (en) * | 2023-06-20 | 2023-10-31 | 诸暨天义恒染整有限公司 | Grey cloth dyeing process and dyeing machine thereof |
Similar Documents
| Publication | Publication Date | Title |
|---|---|---|
| CN107974786B (en) | Printing and dyeing equipment | |
| CN108149413B (en) | High-efficient formula textile fabric belt cleaning device | |
| CN209276799U (en) | A kind of purified cotton high grade mercerising reeled yarn short route pretreating device | |
| CN208751219U (en) | An easy-to-adjust automatic dryer for textiles | |
| CN114250568B (en) | A fast ironing device for fabrics used in clothing production | |
| CN211921939U (en) | Bidirectional dyeing equipment for clothing production | |
| CN214529666U (en) | High-fastness dyeing equipment for elastic cloth | |
| CN111411465B (en) | A kind of waterproof cloth production equipment | |
| CN106868756B (en) | A padding stoving coil stock all-in-one for cloth | |
| CN205975038U (en) | Cloth gripper tent stabilisation groove of straight roller cloth gripper knitting mercerizing range of intelligence resolving dampness cloth hot alkaline | |
| CN214950414U (en) | Textile drying machine | |
| CN215438952U (en) | Cloth discharging and winding device of air cushion type hank dyeing machine | |
| CN214529665U (en) | Textile fabric dyeing device with spreading function | |
| CN211772054U (en) | Efficient printing and dyeing drying device | |
| CN112501820A (en) | Dyeing device for textile fabric | |
| CN209085243U (en) | A kind of dryer that printing and dyeing are high with drying efficiency | |
| CN219976993U (en) | Dyeing fabric drying device | |
| CN211339980U (en) | Dyeing device for spinning with uniform dyeing | |
| CN117188072A (en) | Water wave crepe drying device | |
| CN108893905A (en) | A kind of printing and dyeing fabrics efficient water-removing device | |
| CN223636559U (en) | A high-efficiency waterless dyeing and drying machine | |
| CN208472356U (en) | A kind of fabric dyeing machine that dyeing effect is good | |
| CN220746345U (en) | Fabric ironing mechanism | |
| CN219429320U (en) | A fabric leveling mechanism | |
| CN222635075U (en) | Quick drying device for textile fabric |
Legal Events
| Date | Code | Title | Description |
|---|---|---|---|
| GR01 | Patent grant | ||
| GR01 | Patent grant | ||
| CF01 | Termination of patent right due to non-payment of annual fee |
Granted publication date: 20201113 |
|
| CF01 | Termination of patent right due to non-payment of annual fee |
