CN211797953U - Children enema device - Google Patents
Children enema device Download PDFInfo
- Publication number
- CN211797953U CN211797953U CN201821327941.6U CN201821327941U CN211797953U CN 211797953 U CN211797953 U CN 211797953U CN 201821327941 U CN201821327941 U CN 201821327941U CN 211797953 U CN211797953 U CN 211797953U
- Authority
- CN
- China
- Prior art keywords
- connector
- head
- connection
- hose
- pressing table
- Prior art date
- Legal status (The legal status is an assumption and is not a legal conclusion. Google has not performed a legal analysis and makes no representation as to the accuracy of the status listed.)
- Expired - Fee Related
Links
- 241000792859 Enema Species 0.000 title claims abstract description 27
- 239000007920 enema Substances 0.000 title claims abstract description 27
- 229940095399 enema Drugs 0.000 title claims abstract description 27
- 239000003814 drug Substances 0.000 claims abstract description 65
- 238000003825 pressing Methods 0.000 claims abstract description 46
- 230000007246 mechanism Effects 0.000 claims abstract description 31
- 238000012377 drug delivery Methods 0.000 claims abstract description 23
- 238000003860 storage Methods 0.000 claims abstract description 16
- 229940079593 drug Drugs 0.000 claims description 21
- 238000002347 injection Methods 0.000 claims description 14
- 239000007924 injection Substances 0.000 claims description 14
- 238000007789 sealing Methods 0.000 claims description 5
- 230000000903 blocking effect Effects 0.000 claims 1
- 238000003466 welding Methods 0.000 claims 1
- 238000007906 compression Methods 0.000 abstract description 10
- 230000006835 compression Effects 0.000 abstract description 9
- 238000000034 method Methods 0.000 description 8
- 210000001035 gastrointestinal tract Anatomy 0.000 description 7
- 210000000436 anus Anatomy 0.000 description 5
- 238000010586 diagram Methods 0.000 description 5
- 210000000936 intestine Anatomy 0.000 description 3
- 230000008569 process Effects 0.000 description 3
- 241000894006 Bacteria Species 0.000 description 2
- 230000009471 action Effects 0.000 description 2
- 239000003344 environmental pollutant Substances 0.000 description 2
- 231100000719 pollutant Toxicity 0.000 description 2
- 238000010521 absorption reaction Methods 0.000 description 1
- 230000009286 beneficial effect Effects 0.000 description 1
- 210000001072 colon Anatomy 0.000 description 1
- 238000001816 cooling Methods 0.000 description 1
- 230000013872 defecation Effects 0.000 description 1
- 238000010790 dilution Methods 0.000 description 1
- 239000012895 dilution Substances 0.000 description 1
- 210000003608 fece Anatomy 0.000 description 1
- 239000012530 fluid Substances 0.000 description 1
- 230000006698 induction Effects 0.000 description 1
- 238000009434 installation Methods 0.000 description 1
- 230000000968 intestinal effect Effects 0.000 description 1
- 238000004519 manufacturing process Methods 0.000 description 1
- 238000012986 modification Methods 0.000 description 1
- 230000004048 modification Effects 0.000 description 1
- 238000013312 nursing technique Methods 0.000 description 1
- 230000008855 peristalsis Effects 0.000 description 1
- 210000000664 rectum Anatomy 0.000 description 1
- 230000009467 reduction Effects 0.000 description 1
- 239000000243 solution Substances 0.000 description 1
- 239000003053 toxin Substances 0.000 description 1
- 231100000765 toxin Toxicity 0.000 description 1
- 108700012359 toxins Proteins 0.000 description 1
- 238000009423 ventilation Methods 0.000 description 1
Images
Landscapes
- Infusion, Injection, And Reservoir Apparatuses (AREA)
Abstract
本实用新型涉及医用灌肠技术领域,尤其是一种儿童灌肠装置,包括给药机构和连接机构,所述连接机构在给药机构下方,所述注射器外壳的下端中央位置竖直焊接安装有第一连接头,所述第一连接头的下端面中央位置焊接安装有吸药针头,所述注射器外壳内部空腔为储药腔,所述上锥形压紧台的一端一体式焊接安装有第三连接头,所述上锥形压紧台的内部贯穿开有出管口;所述第二连接头通过螺纹连接第一连接头,所述第三连接头通过螺纹连接第二连接头。由于软管使用上锥形压紧台和下锥形压紧台配合压紧的,所以能够使用不同直径的软管,提高了装置的使用范围,提高了患者的舒适度,降低了痛苦。
The utility model relates to the technical field of medical enema, in particular to a children's enema device, which comprises a drug delivery mechanism and a connection mechanism. A connecting head, a medicine suction needle is welded and installed at the center of the lower end face of the first connecting head, the inner cavity of the syringe shell is a medicine storage cavity, and one end of the upper conical pressing table is integrally welded and installed with a third A connecting head is provided with an outlet opening through the inside of the upper conical pressing table; the second connecting head is connected with the first connecting head by threads, and the third connecting head is connected with the second connecting head by threads. Since the upper conical compression table and the lower conical compression table are used for co-compression of the hose, hoses of different diameters can be used, the use range of the device is improved, the comfort of the patient is improved, and the pain is reduced.
Description
技术领域technical field
本实用新型涉及医用灌肠技术领域,尤其是一种儿童灌肠装置。The utility model relates to the technical field of medical enema, in particular to an enema device for children.
背景技术Background technique
灌肠法是用导管自肛门经直肠插入结肠灌注液体,以达到通气排便的治疗方法。此方法能刺激肠蠕动,软化、清除粪便,并有物理降温、催产、稀释肠内毒素,减少吸收的作用,此外,亦可达到供给药物、营养、水分等治疗等目的。灌肠是-种临床常用护理技术和给药途径。Enema is a treatment method in which a catheter is inserted into the colon from the anus through the rectum to perfuse fluid to achieve ventilation and defecation. This method can stimulate peristalsis, soften and remove feces, and has the functions of physical cooling, induction of labor, dilution of intestinal toxins, and reduction of absorption. Enema is a commonly used clinical nursing technique and route of administration.
现有的部分儿童灌肠装置采用倾倒式注入,即采用漏斗型进药口,将软管连接在出口上,将药剂倾倒进漏斗容器中,此种方式一方面不卫生,药剂会较长时间接触空气,携带更多的细菌等等污染物,另一方面由于肠道内部和外界空气的压力关系,依靠自然压力差有时候会不能够完全的将药剂注射进肠道中;现有的大多数儿童灌肠装置的软管与给药装置之间的连接采用的是直接插接,当儿童抗拒而扭动时,容易造成药剂泄露,并增加了医疗难度和繁琐程度;很多的儿童灌肠装置的送药软管型号单一,由于不同年龄段儿童的肛门和肠道直径不同,所以单一型号的送药软管不具有针对性,型号不较为吻合会造成灌入肠道的药剂从肛门流出,或者过粗造成儿童不适,抗拒增加,提高了医疗难度。Some existing children's enema devices use pouring injection, that is, a funnel-shaped drug inlet is used, a hose is connected to the outlet, and the drug is poured into the funnel container. On the one hand, this method is unsanitary, and the drug will be in contact for a long time. The air carries more bacteria and other pollutants. On the other hand, due to the pressure relationship between the internal and external air in the intestinal tract, it is sometimes impossible to completely inject the medicine into the intestinal tract by relying on the natural pressure difference; most of the existing children The connection between the hose of the enema device and the drug delivery device is directly plugged. When the child resists and twists, it is easy to cause drug leakage, which increases the difficulty and complexity of medical treatment; many children's enema devices deliver drugs. There is a single type of hose. Due to the different diameters of the anus and intestines of children of different ages, a single type of drug delivery hose is not targeted. If the model is not matched, the medicine injected into the intestine will flow out from the anus or be too thick. It causes discomfort in children, increases resistance, and increases the difficulty of medical treatment.
实用新型内容Utility model content
本实用新型要解决的技术问题是:为了解决部分儿童灌肠装置采用倾倒式注入,即采用漏斗型进药口,将软管连接在出口上,将药剂倾倒进漏斗容器中,此种方式一方面不卫生,药剂会较长时间接触空气,携带更多的细菌等等污染物,另一方面由于肠道内部和外界空气的压力关系,依靠自然压力差有时候会不能够完全的将药剂注射进肠道中的问题,本实用新型提供了一种儿童灌肠装置,给药装置采用注射器设计,原理简单,能够手动推动推柄,将储药腔中的药剂注入肠道中,能够手动增加注药压力,并且药剂直接存储在储药腔中,不会大量接触空气,提高了用药安全性和卫生性。The technical problem to be solved by this utility model is: in order to solve the problem that some children's enema devices adopt pouring injection, that is, a funnel-type drug inlet is used, the hose is connected to the outlet, and the drug is poured into the funnel container. Unsanitary, the medicine will be in contact with the air for a long time, carrying more bacteria and other pollutants. To solve the problem in the intestinal tract, the present utility model provides a children's enema device. The drug delivery device is designed with a syringe, and the principle is simple. In addition, the medicine is directly stored in the medicine storage cavity, and will not be exposed to a large amount of air, which improves the safety and hygiene of the medicine.
为了解决现有的大多数儿童灌肠装置的软管与给药装置之间的连接采用的是直接插接,当儿童抗拒而扭动时,容易造成药剂泄露,并增加了医疗难度和繁琐程度的问题,本实用新型提供了一种儿童灌肠装置,连接处采用下锥形压紧台和上锥形压紧台想配合,当拧动上锥形压紧台时,由于锥形配合关系,软管被紧密压紧在下锥形压紧台上,不容易脱落,防止了注射过程中造成的药剂泄露。In order to solve the problem that the connection between the hose and the drug delivery device of most of the existing children's enema devices is directly plugged, when the child resists and twists, it is easy to cause drug leakage, and it increases the medical difficulty and cumbersome degree. Problem, the present utility model provides a children's enema device. The lower conical pressing platform and the upper conical pressing platform are used to cooperate with each other at the joint. The tube is tightly pressed on the lower conical pressing table, and it is not easy to fall off, which prevents the leakage of the medicine caused by the injection process.
为了解决很多的儿童灌肠装置的送药软管型号单一,由于不同年龄段儿童的肛门和肠道直径不同,所以单一型号的送药软管不具有针对性,型号不较为吻合会造成灌入肠道的药剂从肛门流出,或者过粗造成儿童不适,抗拒增加,提高了医疗难度的问题,本实用新型提供了一种儿童灌肠装置,由于软管使用上锥形压紧台和下锥形压紧台配合压紧的,所以能够使用不同直径的软管,提高了装置的使用范围,提高了患者的舒适度,降低了痛苦。In order to solve the problem that many children's enema devices have a single type of drug delivery hose, due to the different diameters of the anus and intestines of children of different ages, a single type of drug delivery hose is not targeted. The medicament flows out of the anus, or it is too thick to cause discomfort for children, increase resistance, and increase the difficulty of medical treatment. The utility model provides a children's enema device. Since the hose uses an upper conical pressing table and a lower conical pressing The tight table is matched with the pressed one, so hoses of different diameters can be used, the use range of the device is improved, the comfort of the patient is improved, and the pain is reduced.
本实用新型解决其技术问题所采用的技术方案是:一种儿童灌肠装置,包括给药机构和连接机构,所述连接机构在给药机构下方,所述连接机构和给药机构通过第一连接头和第二连接头螺纹连接,The technical solution adopted by the utility model to solve the technical problem is as follows: a children's enema device, comprising a drug delivery mechanism and a connection mechanism, the connection mechanism is below the drug delivery mechanism, and the connection mechanism and the drug delivery mechanism are connected by a first connection The head and the second connecting head are threadedly connected,
所述给药机构包括推柄、推杆、挡缘、储药腔、第一连接头、注射器外壳、吸药针头和推头,所述注射器外壳的上端口两侧水平对称焊接安装有挡缘,所述注射器外壳的下端中央位置竖直焊接安装有第一连接头,所述第一连接头的下端面中央位置焊接安装有吸药针头,所述注射器外壳内部空腔为储药腔,所述储药腔中滑动安装有推头,所述推头的上表面中央位置竖直焊接安装有推杆,所述推杆的上端水平焊接安装有推柄;The drug delivery mechanism includes a push handle, a push rod, a baffle, a medicine storage cavity, a first connector, a syringe shell, a drug suction needle and a push head, and baffles are welded horizontally symmetrically on both sides of the upper port of the syringe shell. The central position of the lower end of the syringe shell is vertically welded and installed with a first connecting head, the central position of the lower end surface of the first connecting head is welded and installed with a drug suction needle, and the inner cavity of the syringe shell is a drug storage cavity, so A push head is slidably installed in the medicine storage chamber, a push rod is installed vertically at the center of the upper surface of the push head, and a push handle is installed horizontally at the upper end of the push rod;
所述连接机构包括转接装置、第二连接头、注药通道、下锥形压紧台、压紧装置、第三连接头、上锥形压紧台、出管口和软管,所述转接装置一端为第二连接头,所述第二连接头的另一端焊接安装有一体的下锥形压紧台,所述下锥形压紧台尖端插接有软管,所述下锥形压紧台的中央位置贯穿开有注药通道,所述上锥形压紧台的一端一体式焊接安装有第三连接头,所述上锥形压紧台的内部贯穿开有出管口;The connecting mechanism includes a transfer device, a second connecting head, a drug injection channel, a lower conical pressing table, a pressing device, a third connecting head, an upper conical pressing table, a pipe outlet and a hose, and the One end of the transfer device is a second connector, and the other end of the second connector is welded and installed with an integral lower conical pressing table, the tip of the lower conical pressing table is inserted with a hose, and the lower cone is A medicine injection channel runs through the central position of the upper conical pressing table, one end of the upper conical pressing table is integrally welded and installed with a third connector, and the inside of the upper conical pressing table is provided with a pipe outlet. ;
所述第二连接头通过螺纹连接第一连接头,所述第三连接头通过螺纹连接第二连接头。The second connection head is connected to the first connection head by a thread, and the third connection head is connected to the second connection head by a thread.
具体地,所述第一连接头的外轴径和第二连接头内轴径相匹配,且第一连接头的在表面和第二连接头内壁开有相吻合的螺纹。Specifically, the outer shaft diameter of the first connection head matches the inner shaft diameter of the second connection head, and the surface of the first connection head and the inner wall of the second connection head are provided with matching threads.
进一步地,所述第二连接头外轴径和第三连接头内轴径相匹配,且第二连接头在表面和第三连接头内壁开有相吻合的螺纹。Further, the outer shaft diameter of the second connection head matches the inner shaft diameter of the third connection head, and the surface of the second connection head and the inner wall of the third connection head are provided with matching threads.
进一步地,所述软管的末端呈半球形,且半球形表面贯穿开有直径1毫米的孔。Further, the end of the hose is hemispherical, and a hole with a diameter of 1 mm is formed through the hemispherical surface.
具体地,所述注射器外壳的在表面刻有刻度条,且单位有毫升,且所述推头的周圈胶接有橡胶密封圈。Specifically, a scale bar is engraved on the surface of the syringe casing, and the unit is milliliters, and a rubber sealing ring is glued on the periphery of the pusher.
具体地,所述软管的进药口端最小直径大于下锥形压紧台小头端直径,最大直径小于下锥形压紧台大头端直径。Specifically, the minimum diameter of the drug inlet end of the hose is larger than the diameter of the small end of the lower conical pressing platform, and the maximum diameter is smaller than the diameter of the large end of the lower conical pressing platform.
本实用新型的有益效果是:给药装置采用注射器设计,原理简单,能够手动推动推柄,将储药腔中的药剂注入肠道中,能够手动增加注药压力,并且药剂直接存储在储药腔中,不会大量接触空气,提高了用药安全性和卫生性;连接处采用下锥形压紧台和上锥形压紧台相配合,当拧动上锥形压紧台时,由于锥形配合关系,软管被紧密压紧在下锥形压紧台上,不容易脱落,防止了注射过程中造成的药剂泄露;由于软管使用上锥形压紧台和下锥形压紧台配合压紧的,所以能够使用不同直径的软管,提高了装置的使用范围,提高了患者的舒适度,降低了痛苦;装置结构简单,制造成本低,适用于一次性医疗用品使用。The beneficial effects of the utility model are as follows: the drug delivery device is designed with a syringe, the principle is simple, the push handle can be pushed manually, the medicine in the medicine storage cavity can be injected into the intestinal tract, the medicine injection pressure can be manually increased, and the medicine can be directly stored in the medicine storage cavity In the middle, there will not be a lot of contact with air, which improves the safety and hygiene of medication; the lower conical compression table and the upper conical compression table are used to cooperate with each other at the connection. With the matching relationship, the hose is tightly pressed on the lower conical compression table, and it is not easy to fall off, which prevents the leakage of the medicine during the injection process; because the hose uses the upper conical compression table and the lower conical compression table to cooperate to press It is tight, so hoses of different diameters can be used, the use range of the device is increased, the comfort of the patient is improved, and the pain is reduced; the device has a simple structure and low manufacturing cost, and is suitable for disposable medical supplies.
附图说明Description of drawings
下面结合附图和实施例对本实用新型进一步说明。The present utility model will be further described below in conjunction with the accompanying drawings and embodiments.
图1是本实用新型的一种儿童灌肠装置的结构示意图。1 is a schematic structural diagram of a children's enema device of the present invention.
图2是本实用新型的一种儿童灌肠装置的给药机构结构示意图。Figure 2 is a schematic structural diagram of the drug delivery mechanism of a children's enema device of the present invention.
图3是本实用新型的一种儿童灌肠装置的连接机构结构示意图。3 is a schematic structural diagram of a connection mechanism of a children's enema device of the present invention.
图4是连接机构内部结构示意图。Figure 4 is a schematic diagram of the internal structure of the connection mechanism.
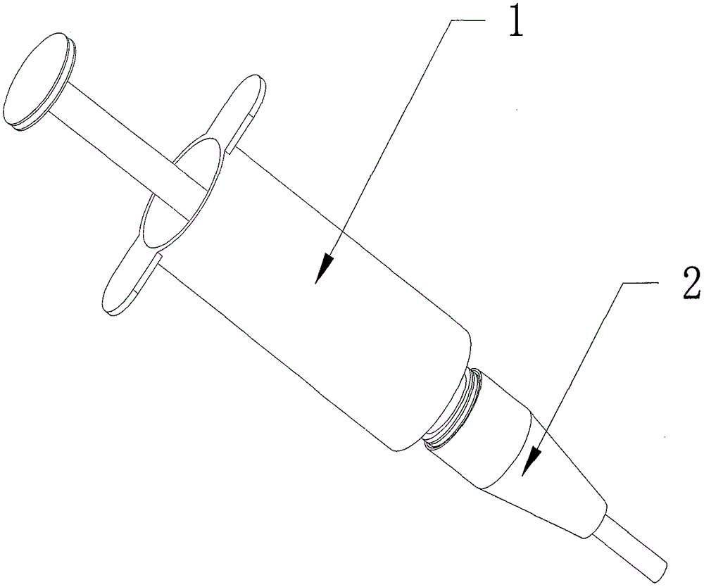
图中:1.给药机构;2.连接机构;11.推柄;12.推杆;13.挡缘;14.储药腔;15.第一连接头;16.注射器外壳;17.吸药针头;18.推头;21.转接装置;211.第二连接头;212.注药通道; 213.下锥形压紧台;221.第三连接头;222.上锥形压紧台;223.出管口。In the figure: 1. Drug delivery mechanism; 2. Connection mechanism; 11. Push handle; 12. Push rod; Medicine needle; 18. Push head; 21. Adapter device; 211. Second connector; 212. Medicine injection channel; 213. Lower conical pressing table; 221. Third connector; 222. Upper conical pressing Taiwan; 223. Outlet.
具体实施方式Detailed ways
现在结合附图对本实用新型作进一步详细的说明。这些附图均为简化的示意图,仅以示意方式说明本实用新型的基本结构,因此其仅显示与本实用新型有关的构成。The present utility model will now be described in further detail in conjunction with the accompanying drawings. These drawings are all simplified schematic diagrams, and only illustrate the basic structure of the present invention in a schematic manner, so they only show the structures related to the present invention.
如图1-图4所示,一种儿童灌肠装置,包括给药机构1和连接机构2,所述连接机构2在给药机构1下方,所述连接机构2和给药机构1通过第一连接头15和第二连接头211螺纹连接,As shown in Figures 1-4, a child enema device includes a
所述给药机构1包括推柄11、推杆12、挡缘13、储药腔14、第一连接头15、注射器外壳16、吸药针头17和推头18,所述注射器外壳16的上端口两侧水平对称焊接安装有挡缘13,所述注射器外壳16的下端中央位置竖直焊接安装有第一连接头15,所述第一连接头15的下端面中央位置焊接安装有吸药针头17,给药装置采用注射器设计,原理简单,能够手动推动推柄11,将储药腔14中的药剂注入肠道中,能够手动增加注药压力,并且药剂直接存储在储药腔14中,不会大量接触空气,提高了用药安全性和卫生性,所述注射器外壳16内部空腔为储药腔14,所述储药腔14中滑动安装有推头18,所述推头18的上表面中央位置竖直焊接安装有推杆12,所述推杆12的上端水平焊接安装有推柄11;The
所述连接机构2包括转接装置21、第二连接头211、注药通道212、下锥形压紧台213、压紧装置22、第三连接头221、上锥形压紧台222、出管口223和软管23,所述转接装置21一端为第二连接头211,所述第二连接头211的另一端焊接安装有一体的下锥形压紧台213,所述下锥形压紧台213尖端插接有软管23,所述下锥形压紧台213的中央位置贯穿开有注药通道212,连接处采用下锥形压紧台213和上锥形压紧台222相配合,当拧动上锥形压紧台222时,由于锥形配合关系,软管23被紧密压紧在下锥形压紧台213上,不容易脱落,防止了注射过程中造成的药剂泄露,由于软管23使用上锥形压紧台222和下锥形压紧台213配合压紧的,所以能够使用不同直径的软管23,提高了装置的使用范围,提高了患者的舒适度,降低了痛苦,所述上锥形压紧台222的一端一体式焊接安装有第三连接头221,所述上锥形压紧台222的内部贯穿开有出管口223;The connecting
所述第二连接头211通过螺纹连接第一连接头15,所述第三连接头221通过螺纹连接第二连接头211,螺纹连接更加方便使用,并且不易于脱落。The
作为优选,所述第一连接头15的外轴径和第二连接头211内轴径相匹配,且第一连接头 15的在表面和第二连接头211内壁开有相吻合的螺纹,螺纹连接更加方便使用,并且不易于脱落。Preferably, the outer shaft diameter of the first connecting
其中所述第二连接头211外轴径和第三连接头221内轴径相匹配,且第二连接头211在表面和第三连接头221内壁开有相吻合的螺纹,螺纹连接更加方便使用,并且不易于脱落。The outer diameter of the
作为优选,所述软管23的末端呈半球形,且半球形表面贯穿开有直径1毫米的孔,半球形易于将软管22送进肠道中。Preferably, the end of the
作为优选,所述注射器外壳16的在表面刻有刻度条,且单位有毫升,且所述推头18的周圈胶接有橡胶密封圈,精确控制给用药量,密封垫圈会防止药剂泄露。Preferably, a scale bar is engraved on the surface of the
其中所述软管23的进药口端最小直径大于下锥形压紧台213小头端直径,最大直径小于下锥形压紧台213大头端直径,在这个直径区间值中的软管23都能够使用,使得装置适用范围提高。Wherein, the minimum diameter of the medicine inlet end of the
使用时,将使用注射器吸取药剂,具体方式是手指夹住推柄11,向外拉动,在推杆12 的作用下,带动推头18向外运动,由于推头18和注射器外壳16的内壁直接有橡胶密封圈,所以推头18的上下两个表面的压力表不一样,此时,将吸药针头17插进药剂中,在压力表的作用下,药剂被挤压进储药腔14,吸取足够的药剂备用。When in use, the syringe will be used to absorb the medicine. The specific method is to clamp the push handle 11 with fingers and pull it outward. Under the action of the
然后将软管22穿进出管口223,进药口的一端插接在下锥形压紧台213的尖端,然后将上锥形压紧台222大头端的第三连接头221拧紧在第二连接头211上,将软管紧紧压贴在下锥形压紧台213上,然后将第二连接头211通过螺纹拧紧在注射器外壳16末端的第一连接头 15上。Then pass the
完成以后,手动按压推柄11,推杆12向内推动推头18,将药剂顺着软管22注射进肠道中,完成医疗操作。After completion, manually press the push handle 11, the
在需要进行更换不同型号的软管22时,按照与安装时相反的步骤拆下上一根软管22,然后再按照上一步同样的步骤将新的软管22装好。When a different type of
以上述依据本实用新型的理想实施例为启示,通过上述的说明内容,相关工作人员完全可以在不偏离本项实用新型技术思想的范围内,进行多样的变更以及修改。本项实用新型的技术性范围并不局限于说明书上的内容,必须要根据权利要求范围来确定其技术性范围。Taking the above ideal embodiment according to the present invention as inspiration, through the above description, relevant staff can make various changes and modifications without departing from the technical idea of the present invention. The technical scope of the present utility model is not limited to the content in the description, and its technical scope must be determined according to the scope of the claims.
Claims (6)
Priority Applications (1)
| Application Number | Priority Date | Filing Date | Title |
|---|---|---|---|
| CN201821327941.6U CN211797953U (en) | 2018-08-17 | 2018-08-17 | Children enema device |
Applications Claiming Priority (1)
| Application Number | Priority Date | Filing Date | Title |
|---|---|---|---|
| CN201821327941.6U CN211797953U (en) | 2018-08-17 | 2018-08-17 | Children enema device |
Publications (1)
| Publication Number | Publication Date |
|---|---|
| CN211797953U true CN211797953U (en) | 2020-10-30 |
Family
ID=72994857
Family Applications (1)
| Application Number | Title | Priority Date | Filing Date |
|---|---|---|---|
| CN201821327941.6U Expired - Fee Related CN211797953U (en) | 2018-08-17 | 2018-08-17 | Children enema device |
Country Status (1)
| Country | Link |
|---|---|
| CN (1) | CN211797953U (en) |
-
2018
- 2018-08-17 CN CN201821327941.6U patent/CN211797953U/en not_active Expired - Fee Related
Similar Documents
| Publication | Publication Date | Title |
|---|---|---|
| CN205598420U (en) | Intestinal ware of dosing for gastroenterology | |
| CN205586294U (en) | an enema | |
| KR101022706B1 (en) | Enema infusion container with corrugated pipe | |
| CN209933787U (en) | Glycerine enema with lubricating function | |
| CN208943235U (en) | A kind of Gastroenterology dept.'s enteral administration device | |
| CN211797953U (en) | Children enema device | |
| CN210812966U (en) | Multifunctional cavity lavage device | |
| CN203898817U (en) | Enema device for intestinal drug delivery | |
| CN203291373U (en) | Glycerine enema defecation instrument | |
| CN201684231U (en) | new enema device | |
| CN208031645U (en) | A kind of ear-nose-throat department chemical spraying device | |
| CN207654530U (en) | A kind of anal intestine delivery device of digestive system | |
| CN218793325U (en) | Disposable enema anal tube | |
| CN204033891U (en) | A kind of disposable chloral hydrate retention enema device | |
| CN208598822U (en) | A kind of special joint of enteral nutrition pump line and stomach tube | |
| CN209900426U (en) | Bladder perfusion apparatus | |
| CN201529315U (en) | Enema drug administering device | |
| CN201324435Y (en) | Urethra anesthetic injecting device | |
| CN220276032U (en) | Novel enema instrument | |
| CN218871052U (en) | Rectum drug administration device | |
| CN223127085U (en) | A multifunctional connecting pipe | |
| CN218129439U (en) | Medical enemator | |
| CN205339700U (en) | Revolve pushing -type enemator | |
| CN207400966U (en) | Portable enemator | |
| CN207203100U (en) | Multi-functional syringe for nasal feeding |
Legal Events
| Date | Code | Title | Description |
|---|---|---|---|
| GR01 | Patent grant | ||
| GR01 | Patent grant | ||
| CF01 | Termination of patent right due to non-payment of annual fee | ||
| CF01 | Termination of patent right due to non-payment of annual fee |
Granted publication date: 20201030 Termination date: 20210817 |
