CN211744699U - Wireless earphone and power supply device - Google Patents
Wireless earphone and power supply device Download PDFInfo
- Publication number
- CN211744699U CN211744699U CN202020676383.5U CN202020676383U CN211744699U CN 211744699 U CN211744699 U CN 211744699U CN 202020676383 U CN202020676383 U CN 202020676383U CN 211744699 U CN211744699 U CN 211744699U
- Authority
- CN
- China
- Prior art keywords
- power supply
- metal
- battery
- charging circuit
- outer shell
- Prior art date
- Legal status (The legal status is an assumption and is not a legal conclusion. Google has not performed a legal analysis and makes no representation as to the accuracy of the status listed.)
- Active
Links
- 239000002184 metal Substances 0.000 claims abstract description 54
- 239000007769 metal material Substances 0.000 claims description 8
- 229910052755 nonmetal Inorganic materials 0.000 claims description 3
- 239000000523 sample Substances 0.000 claims description 3
- 230000000994 depressogenic effect Effects 0.000 claims description 2
- ZLGYJAIAVPVCNF-UHFFFAOYSA-N 1,2,4-trichloro-5-(3,5-dichlorophenyl)benzene Chemical compound ClC1=CC(Cl)=CC(C=2C(=CC(Cl)=C(Cl)C=2)Cl)=C1 ZLGYJAIAVPVCNF-UHFFFAOYSA-N 0.000 description 9
- 238000010586 diagram Methods 0.000 description 3
- 239000000463 material Substances 0.000 description 2
- 239000002390 adhesive tape Substances 0.000 description 1
- 230000009286 beneficial effect Effects 0.000 description 1
- 238000007599 discharging Methods 0.000 description 1
- 238000012986 modification Methods 0.000 description 1
- 230000004048 modification Effects 0.000 description 1
- 230000000149 penetrating effect Effects 0.000 description 1
- 238000006467 substitution reaction Methods 0.000 description 1
Images
Landscapes
- Charge And Discharge Circuits For Batteries Or The Like (AREA)
Abstract
The utility model relates to a wireless earphone and power supply unit, this wireless earphone includes: the outer shell is surrounded into a cavity and is at least partially made of metal, and a sound outlet hole is formed in the outer shell; the PCB is positioned in the cavity and provided with a charging circuit, and the charging circuit is connected with the metal part of the outer shell; the battery is positioned in the cavity, and the charging end of the battery is electrically connected with the output end of the charging circuit; the metal tuning net is electrically connected with the charging circuit, is arranged close to the sound outlet hole and is used for covering the sound outlet hole; when the power supply device charges the battery through the charging circuit, the metal tuning net is connected with the first power supply end of the power supply device, and the metal part of the outer shell is connected with the second power supply end of the power supply device. The utility model is used for solve among the prior art wireless earphone exist expose the charging contact and influence the aesthetic property and wear the problem of experience.
Description
Technical Field
The utility model belongs to the technical field of the earphone, concretely relates to wireless earphone and power supply unit.
Background
At present, the wireless earphone is widely used, a user can conveniently make and receive calls or listen to audio, an exposed charging contact is arranged on most of the existing wireless earphones, and when the wireless earphone is charged, the exposed charging contact is connected with a charging terminal in a power supply device in a charging box through a charging circuit, so that the charging of a battery in the wireless earphone is realized.
However, the exposed charging contact of the wireless earphone affects the overall attractiveness of the wireless earphone, the wireless earphone is generally small in size, the place for arranging the charging contact is limited, if the wireless earphone is unreasonable in arrangement position, the exposed charging contact can contact the inner wall of the ear of a user when the user wears the wireless earphone, and the wearing experience of the user is affected.
Disclosure of Invention
The utility model provides a wireless earphone and power supply unit for wireless earphone exists to expose the charging contact and influences the aesthetic property and wears the problem of experience among the solution prior art.
In order to solve the technical problem, the utility model provides a following technical scheme solves:
a wireless headset, comprising: the outer shell is surrounded into a cavity and is at least partially made of metal materials, and a sound outlet hole is formed in the outer shell; the PCB is positioned in the cavity and provided with a charging circuit, and the charging circuit is connected with the metal part of the outer shell; the battery is positioned in the cavity, and the charging end of the battery is electrically connected with the output end of the charging circuit; the metal tuning net is electrically connected with the charging circuit, is arranged close to the sound outlet hole and is used for covering the sound outlet hole; when the power supply device charges the battery through the charging circuit, the metal tuning net is connected with a first power supply end of the power supply device, and the metal part of the outer shell is connected with a second power supply end of the power supply device.
The wireless headset as described above, further comprising: the earplug sleeve is made of deformable soft rubber and arranged on the outer shell, and the earplug sleeve is provided with an opening part for avoiding the metal tuning net.
The wireless headset as described above further comprising: and one end of the electric connecting wire is welded to the metal tuning net, and the other end of the electric connecting wire is welded to the PCB.
In the wireless earphone, the electrical connection line is a conductive line or a flexible circuit board.
As described above, the metal tuning net is adhered to the inner wall surface of the outer case by the double-sided tape.
According to the wireless earphone, the outer shell comprises the first shell made of the nonmetal material and the second shell made of the metal material, and the sound outlet hole is formed in the first shell.
The wireless headset as described above, the first housing comprising: a first through portion that is joined to the second housing and communicates with a rear chamber surrounded by the second housing; and the second through part is jointed with the first through part and is communicated with the first through part, the opening of the end part of the second through part, which is far away from the first through part, forms the sound outlet hole, an inward flange is arranged at the edge of the sound outlet controller, and the metal tuning net is positioned in the second through part and is arranged on the inward flange.
In the above wireless earphone, the cross-sectional area of the second through-hole is smaller than the cross-sectional area of the first through-hole, and the earplug sleeve is disposed on the first through-hole.
The utility model discloses still relate to a power supply unit for to as above wireless earphone supply power, a serial communication port, include: a housing having a receiving cavity; a recess formed recessed toward the receiving cavity, the recess for receiving the wireless headset; the main control board is arranged in the accommodating cavity; the discharge circuit is arranged on the main control board and is provided with a first output end and a second output end; the first electric connecting device is electrically connected with the first output end, is arranged on the inner wall surface of the concave part and is used for being connected with a metal tuning net of the wireless earphone; at least one second electrical connection device, which is electrically connected with the second output end respectively, is arranged on the inner wall surface of the depressed part respectively, and is used for being connected with the metal part of the outer shell of the wireless earphone; and the power supply battery is positioned in the accommodating cavity and is electrically connected with the charging and discharging circuit.
In the above power supply device, the first electrical connection device is a probe connector, and the second electrical connection device is a conductive contact or a metal spring.
Compared with the prior art, the utility model discloses an advantage and beneficial effect are: utilize the conductivity of metal tuning net and partial metal material's shell body, when charging wireless earphone, first supply terminal through power supply unit is connected with metal tuning net, the second supply terminal is connected with the metal part of shell body, form the charging circuit of power supply unit to the battery like this, namely power supply unit's first supply terminal, metal tuning net, charging circuit's positive pole end, the positive pole of battery, the negative pole of battery, charging circuit's negative pole end, the second casing, power supply unit's second supply terminal, form the charging circuit to the battery, realize power supply unit to the charging of battery, this scheme does not additionally set up charging contact, do not cause the influence to wireless earphone outward appearance, also can not influence user and wear the travelling comfort, and simple structure, with low costs.
Drawings
In order to more clearly illustrate the embodiments of the present invention or the technical solutions in the prior art, the drawings needed to be used in the embodiments of the present invention or the description of the prior art will be briefly described below, and it is obvious that the drawings described below are some embodiments of the present invention, and for those skilled in the art, other drawings can be obtained according to these drawings without creative efforts.
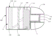
Fig. 1 is a cross-sectional view of an embodiment of the wireless headset of the present invention;
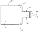
fig. 2 is a layout diagram of an outer casing and a metal tuning net in the embodiment of the wireless headset of the present invention;
fig. 3 is a schematic diagram of an embodiment of the power supply apparatus of the present invention;
fig. 4 is a schematic diagram of the embodiment of the wireless headset of the present invention using the power supply device for charging.
Detailed Description
In order to make the objects, technical solutions and advantages of the embodiments of the present invention clearer, the embodiments of the present invention will be clearly and completely described below with reference to the accompanying drawings in the embodiments of the present invention, and it is obvious that the described embodiments are some, but not all, embodiments of the present invention. Based on the embodiments in the present invention, all other embodiments obtained by a person skilled in the art without creative efforts belong to the protection scope of the present invention.
In order to avoid setting up the contact that charges on wireless earphone, influence earphone aesthetic property and user and wear experience, the utility model relates to a wireless earphone utilizes the electric conductivity of earphone structure itself as the contact that charges, realizes on the basis that does not additionally increase the contact that charges, can charge to wireless earphone.
Example one
As shown in fig. 1, in the present embodiment, a wireless headset 100 is provided, which includes an outer case 110, a PCB board 120, a battery 130, and a metal tuning net 140.
As shown in fig. 1 and fig. 2, the outer casing 110 encloses a chamber a, at least a portion of the outer casing 110 is made of metal, and sound holes are formed on the outer casing 110.
The outer case 110 of the present embodiment includes a first case 111 and a second case 112 engaged with the first case 111, the first case 111 encloses a front chamber a1, the second case 112 encloses a rear chamber a2, and the front chamber a1 and the rear chamber a2 communicate. The first casing 111 is made of a non-metal material, the second casing 112 is made of a metal material, and a sound outlet 113 is formed on the first casing 111.
As shown in fig. 2, the first casing 111 of the present embodiment includes a first through-hole 1111 and a second through-hole 1112 connected and penetrating in this order, the first through-hole 1111 is joined to the second casing 112 and penetrates the rear cavity a2, the first through-hole 1111 has a uniform cross-sectional size and penetrates forward and backward, the second through-hole 1112 has a uniform cross-sectional size and penetrates forward and backward, the cross-sectional area of the first through-hole 1111 is larger than that of the second through-hole 1112, and an opening at an end of the second through-hole 1112 distant from the first through-hole 1111 forms the sound outlet hole 113.
In the present embodiment, the cross-sectional area of the second housing 112 is uniform and substantially equal to the cross-sectional area of the first through portion 1111.
With continued reference to fig. 1, the PCB 120 is located in the cavity a, particularly in the rear cavity a2, on which a charging circuit (not shown) is disposed, and the PCB 120 is electrically connected with the second housing 112 through a connection line L1, so that the second housing 112 is electrically connected with the charging circuit.
The battery 130 is located in the chamber a, specifically in the rear cavity a2, the battery 130 is electrically connected to a charging circuit, and an external power supply device can charge the battery 130 through the charging circuit.
The metal tuning net 140 is located in the cavity a, specifically in the front cavity a1, and is disposed on an inner wall surface of the first casing 111, for example, adhered to the inner wall surface of the first casing 111 by a double-sided adhesive tape, so as to cover the sound outlet 113.
Specifically, as shown in fig. 2, an inner flange 152 is formed at an edge of an opening (i.e., the sound emission hole 113) of an end of the second through portion 1112 far from the first through portion 1111, and the metal tuning net 140 is adhered to an inner surface of the inner flange 152 by, for example, a double-sided tape.
The wireless headset 100 of the present embodiment may be an in-ear headset that further includes an earbud sleeve 150.
With continued reference to fig. 1 and 2, the earbud sleeve 150 is made of a deformable soft rubber material and is disposed on the first shell 111. Specifically, the earplug cover 150 is sleeved on the second through portion 1112, and the earplug cover 150 has an opening portion 151 corresponding to the metal tuning net 140 in the middle thereof, so that the sound tuned by the metal tuning net 140 comes out from the sound outlet hole 113 and the opening portion 151 and enters the human ear.
Referring back to fig. 1, the metal tuning net 140 is electrically connected to the charging circuit on the PCB 120 through the electrical connection line L, i.e., one end of the electrical connection line L is soldered to the metal tuning net 140 and the other end is soldered to the PCB 120, and since the charging circuit is disposed on the PCB 120, the metal tuning net 140 is electrically connected to the charging circuit through the PCB 120.
The electrical connection line L connecting the metal tuning net 140 and the PCB 120 may be a wire or a flexible circuit board.
As shown in fig. 1, a speaker 160 is further disposed in the chamber a, the speaker 160 is connected to the PCB 120 and disposed at the rear side of the sound outlet hole 113, and a sound generating portion of the speaker 160 corresponds to the sound outlet hole 113.
For reasons of layout rationality, in the cavity a of the outer case 110, the metal tuning net 140, the speaker 160, the PCB 120, and the battery 130 are sequentially arranged in front of and behind one another.
It should be noted that "front" refers to the side near earbud sleeve 150 and "back" refers to the side away from earbud sleeve 150.
When the power supply device charges the battery 130, a first power supply terminal (e.g., a positive terminal) of the power supply device may be connected to the metal tuning net 140, and a second power supply terminal (e.g., a negative terminal) of the power supply device may be connected to the second housing 112, and both the metal tuning net 140 and the second housing 112 may be conductive because they are both metal.
When the power supply device outputs electric energy, current is output from the first power supply end of the power supply device, and flows back to the second power supply end of the power supply device through the electric connection line L, the positive end of the charging circuit, the positive electrode of the battery 130, the negative end of the charging circuit and the second shell 112 in sequence to form a charging loop, so that charging circulation is realized.
In the wireless earphone 100 of the present embodiment, the power supply device is used to charge the wireless earphone 100 by virtue of the conductivity of the second housing 112 and the metal tuning net 140, so as to avoid the influence on the appearance of the wireless earphone 100 caused by the additional charging contact, and to reduce the design cost and the input cost without changing the appearance structure of the wireless earphone 100 or adding the additional charging contact; the appearance of the wireless headset 100 is not changed, and the wearing comfort of a user is not influenced.
Example two
As shown in fig. 3, the present embodiment provides a power supply device 200 for charging the wireless headset 100 according to the first embodiment.
The power supply device 200 of the present embodiment includes a housing 210, a recess 220, a main control board (not shown), a discharge circuit (not shown) provided on the main control board, a first connection device 230, a second connection device 240, and a power supply battery (not shown).
The housing 210 has a receiving cavity 211. The recess 220 is concavely formed toward the receiving cavity 211. The main control board, the discharge circuit and the power supply battery are all located in the accommodating cavity 211, the discharge circuit is provided with a first output end (such as a positive end) and a second output end (such as a negative end), and the power supply battery outputs electric energy through the discharge circuit.
The first electrical connection means 230 is disposed on the inner wall surface of the recess 220, and is electrically connected to the first output terminal of the discharge circuit.
The second electrical connection device 240 is disposed on the inner wall surface of the recess 220, and is electrically connected to the second output terminal of the discharge circuit.
In this embodiment, the first electrical connection device 230 is selected to be a probe connector because the first electrical connection device 230 needs to be electrically connected to the metal tuning net 140.
In this embodiment, the second electrical connecting device 240 needs to be connected to the outer side wall of the metal part of the outer casing 110, specifically, the second electrical connecting device 240 is connected to the outer side of the second casing 112 in a contact manner, and therefore, the second electrical connecting device 240 is selected to be a conductive contact or a metal spring.
The shape of the recess 220 of the present embodiment is adapted to the shape of the wireless headset 100. The wireless earphone 100 of the present embodiment has a cylindrical main body, and correspondingly, the recess 220 has a cylindrical groove with a circular bottom wall. The first electrical connection means 230 is disposed at a middle position of the bottom wall of the recess 220, and the second electrical connection means 240 is disposed on the circumferential side wall of the recess 220.
As shown in fig. 4, when the wireless headset 100 is placed in the recess 220, the first electrical connection device 230 extends into the opening 151 of the earplug cover 150 and contacts the metal tuning net 140, and the second electrical connection device 240 contacts the outer sidewall of the second housing 112 of the wireless headset 100.
Thus, the current from the positive terminal of the power supply battery flows back to the negative terminal of the power supply battery through the first output terminal of the discharge circuit, the first electrical connection device 230, the metal tuning net 140, the electrical connection line L, the positive terminal of the charge circuit, the positive terminal of the battery 130, the negative terminal of the charge circuit, the second housing 112, the second electrical connection device 240, and the second output terminal of the discharge circuit in sequence, thereby forming a charge loop and realizing a charge cycle.
EXAMPLE III
Since the first electrical connection means 230 extends into the opening 151 of the ear bud sleeve 150 to electrically contact the metal tuning net 140, such electrical contact is relatively strong.
In order to improve the reliability of the connection between the second output terminal of the discharge circuit and the outer wall of the second housing 112, as shown in fig. 3 and 4, a second electrical connection device 240' electrically connected to the second output terminal of the discharge circuit is further provided on the inner wall surface of the recess 220. The second electrical connection means 240 and 240 'are oppositely disposed on the circumferential side wall of the recess 210, and the second electrical connection means 240 and 240' are symmetrically disposed at both sides of the first electrical connection means 230.
Of course, the number of the second electrical connection devices is not limited to one or two, and other numbers of the second electrical connection devices may be provided, which is not limited herein.
Thus, the current from the positive terminal of the power supply battery flows back to the negative terminal of the power supply battery through the first output terminal of the discharge circuit, the first electrical connection device 230, the metal tuning net 140, the electrical connection line L, the positive terminal of the charge circuit, the positive terminal of the battery 130, the negative terminal of the charge circuit, the second housing 112, the second electrical connection device 240 and/or the second electrical connection device 240' and the second output terminal of the discharge circuit in sequence, thereby forming a charge loop and realizing a charge cycle.
Thus, the reliability of the charging of the battery 130 by the power supply device 200 is improved.
Finally, it should be noted that: the above embodiments are only used to illustrate the technical solution of the present invention, and not to limit it; although the present invention has been described in detail with reference to the foregoing embodiments, it should be understood by those skilled in the art that: the technical solutions described in the foregoing embodiments may still be modified, or some technical features may be equivalently replaced; such modifications and substitutions do not depart from the spirit and scope of the present invention in its corresponding aspects.
Claims (10)
1. A wireless headset, comprising:
the outer shell is surrounded into a cavity and is at least partially made of metal materials, and a sound outlet hole is formed in the outer shell;
the PCB is positioned in the cavity and provided with a charging circuit, and the charging circuit is connected with the metal part of the outer shell;
the battery is positioned in the cavity, and the charging end of the battery is electrically connected with the output end of the charging circuit;
the metal tuning net is electrically connected with the charging circuit, is arranged close to the sound outlet hole and is used for covering the sound outlet hole;
when the power supply device charges the battery through the charging circuit, the metal tuning net is connected with a first power supply end of the power supply device, and the metal part of the outer shell is connected with a second power supply end of the power supply device.
2. The wireless headset of claim 1, further comprising:
the earplug sleeve is made of deformable soft rubber and arranged on the outer shell, and the earplug sleeve is provided with an opening part for avoiding the metal tuning net.
3. The wireless headset of claim 1, further comprising:
and one end of the electric connecting wire is welded to the metal tuning net, and the other end of the electric connecting wire is welded to the PCB.
4. The wireless headset of claim 3, wherein the electrical connection is a conductive wire or a flexible circuit board.
5. The wireless headset of claim 1, wherein the metal tuning mesh is adhered to an inner wall surface of the outer housing by double-sided tape.
6. The wireless earphone according to claim 2, wherein the outer casing comprises a first casing made of a non-metal material and a second casing made of a metal material, and the sound outlet hole is formed in the first casing.
7. The wireless headset of claim 6, wherein the first housing comprises:
a first through portion that is joined to the second housing and communicates with a rear chamber surrounded by the second housing;
and the second through part is jointed with the first through part and is communicated with the first through part, the opening of the end part of the second through part, which is far away from the first through part, forms the sound outlet hole, an inward flanging is arranged at the edge of the sound outlet hole, and the metal tuning net is positioned in the second through part and is arranged on the inward flanging.
8. The wireless earphone according to claim 7, wherein the second through portion has a cross-sectional area smaller than that of the first through portion, and the earbud holder is fitted over the first through portion.
9. A power supply device for powering a wireless headset according to any one of claims 1 to 8, comprising:
a housing having a receiving cavity;
a recess formed recessed toward the receiving cavity, the recess for receiving the wireless headset;
the main control board is arranged in the accommodating cavity;
the discharge circuit is arranged on the main control board and is provided with a first output end and a second output end;
the first electric connecting device is electrically connected with the first output end, is arranged on the inner wall surface of the concave part and is used for being connected with a metal tuning net of the wireless earphone;
at least one second electrical connection device, which is electrically connected with the second output end respectively, is arranged on the inner wall surface of the depressed part respectively, and is used for being connected with the metal part of the outer shell of the wireless earphone;
and the power supply battery is positioned in the accommodating cavity and is electrically connected with the discharge circuit.
10. The power supply device of claim 9, wherein the first electrical connection device is a probe connector and the second electrical connection device is a conductive contact or a metal dome.
Priority Applications (1)
| Application Number | Priority Date | Filing Date | Title |
|---|---|---|---|
| CN202020676383.5U CN211744699U (en) | 2020-04-28 | 2020-04-28 | Wireless earphone and power supply device |
Applications Claiming Priority (1)
| Application Number | Priority Date | Filing Date | Title |
|---|---|---|---|
| CN202020676383.5U CN211744699U (en) | 2020-04-28 | 2020-04-28 | Wireless earphone and power supply device |
Publications (1)
| Publication Number | Publication Date |
|---|---|
| CN211744699U true CN211744699U (en) | 2020-10-23 |
Family
ID=72851409
Family Applications (1)
| Application Number | Title | Priority Date | Filing Date |
|---|---|---|---|
| CN202020676383.5U Active CN211744699U (en) | 2020-04-28 | 2020-04-28 | Wireless earphone and power supply device |
Country Status (1)
| Country | Link |
|---|---|
| CN (1) | CN211744699U (en) |
Cited By (1)
| Publication number | Priority date | Publication date | Assignee | Title |
|---|---|---|---|---|
| CN113438578A (en) * | 2021-06-25 | 2021-09-24 | 歌尔科技有限公司 | TWS earphone |
-
2020
- 2020-04-28 CN CN202020676383.5U patent/CN211744699U/en active Active
Cited By (1)
| Publication number | Priority date | Publication date | Assignee | Title |
|---|---|---|---|---|
| CN113438578A (en) * | 2021-06-25 | 2021-09-24 | 歌尔科技有限公司 | TWS earphone |
Similar Documents
| Publication | Publication Date | Title |
|---|---|---|
| CN212936156U (en) | Front ear hook headphones | |
| US12041406B2 (en) | Wireless headset and headset box | |
| JP6339248B2 (en) | Charging system and electronic device including the same | |
| US11962983B2 (en) | Wireless earphone | |
| CN110636401B (en) | In-ear earphone | |
| CN112788511B (en) | Completely in-the-canal hearing aids | |
| US20060039574A1 (en) | Bluetooth telecommunication headphone with detachable battery module | |
| CN205726299U (en) | A kind of wireless headset | |
| CN211744699U (en) | Wireless earphone and power supply device | |
| CN204616067U (en) | An Improved Stereo Bluetooth Headset | |
| CN209472734U (en) | A kind of neckstrap formula earphone | |
| CN208657015U (en) | Wireless Headphones | |
| CN213581633U (en) | Intelligence bluetooth glasses | |
| CN112165666B (en) | Wireless earphone and earphone charging box | |
| CN209545835U (en) | Bluetooth headset with replaceable battery and switchable wired and wireless | |
| CN216700272U (en) | Touch-control wireless earphone based on conductive sponge realizes touch-control function | |
| CN217935908U (en) | Novel bluetooth headset storehouse of charging | |
| CN208046905U (en) | A rechargeable and detachable behind-the-ear hearing aid | |
| CN216960146U (en) | Noise reduction earphone | |
| CN211531275U (en) | Bone conduction hearing aid earphone with USB interface | |
| CN114222221A (en) | Touch control type Bluetooth earphone based on conductive sponge realizes touch control function | |
| CN209882039U (en) | Earphone assembly | |
| CN221575579U (en) | Wireless earphone and earphone device | |
| CN213754885U (en) | Earphone set | |
| CN216774979U (en) | Multi-connection Bluetooth headset |
Legal Events
| Date | Code | Title | Description |
|---|---|---|---|
| GR01 | Patent grant | ||
| GR01 | Patent grant |