CN211367519U - 一种酿醋防酸蚀罐体 - Google Patents
一种酿醋防酸蚀罐体 Download PDFInfo
- Publication number
- CN211367519U CN211367519U CN201922019870.4U CN201922019870U CN211367519U CN 211367519 U CN211367519 U CN 211367519U CN 201922019870 U CN201922019870 U CN 201922019870U CN 211367519 U CN211367519 U CN 211367519U
- Authority
- CN
- China
- Prior art keywords
- vinegar
- jar body
- making
- driven shaft
- brewing
- Prior art date
- Legal status (The legal status is an assumption and is not a legal conclusion. Google has not performed a legal analysis and makes no representation as to the accuracy of the status listed.)
- Expired - Fee Related
Links
- 239000000052 vinegar Substances 0.000 title claims abstract description 88
- 235000021419 vinegar Nutrition 0.000 title claims abstract description 88
- 239000002253 acid Substances 0.000 title claims description 11
- 238000005536 corrosion prevention Methods 0.000 title description 4
- QTBSBXVTEAMEQO-UHFFFAOYSA-N Acetic acid Chemical compound CC(O)=O QTBSBXVTEAMEQO-UHFFFAOYSA-N 0.000 claims abstract description 37
- 239000007788 liquid Substances 0.000 claims abstract description 31
- QVGXLLKOCUKJST-UHFFFAOYSA-N atomic oxygen Chemical compound [O] QVGXLLKOCUKJST-UHFFFAOYSA-N 0.000 claims abstract description 17
- 239000001301 oxygen Substances 0.000 claims abstract description 17
- 229910052760 oxygen Inorganic materials 0.000 claims abstract description 17
- 230000007246 mechanism Effects 0.000 claims abstract description 13
- 239000011521 glass Substances 0.000 claims abstract description 9
- 238000003466 welding Methods 0.000 claims abstract description 5
- 230000008878 coupling Effects 0.000 claims abstract description 4
- 238000010168 coupling process Methods 0.000 claims abstract description 4
- 238000005859 coupling reaction Methods 0.000 claims abstract description 4
- 238000010438 heat treatment Methods 0.000 claims description 13
- 229910000831 Steel Inorganic materials 0.000 claims description 9
- 239000007789 gas Substances 0.000 claims description 9
- 239000010959 steel Substances 0.000 claims description 9
- 238000003756 stirring Methods 0.000 claims description 9
- 230000000903 blocking effect Effects 0.000 claims description 4
- 238000005530 etching Methods 0.000 claims 5
- 229960000583 acetic acid Drugs 0.000 claims 1
- 238000000926 separation method Methods 0.000 abstract description 8
- 238000006243 chemical reaction Methods 0.000 abstract description 4
- 239000000463 material Substances 0.000 abstract description 3
- 239000002994 raw material Substances 0.000 description 11
- 238000005260 corrosion Methods 0.000 description 3
- 230000007797 corrosion Effects 0.000 description 3
- 238000000034 method Methods 0.000 description 3
- LFQSCWFLJHTTHZ-UHFFFAOYSA-N Ethanol Chemical compound CCO LFQSCWFLJHTTHZ-UHFFFAOYSA-N 0.000 description 2
- 241000233866 Fungi Species 0.000 description 2
- 230000009286 beneficial effect Effects 0.000 description 2
- 230000000694 effects Effects 0.000 description 2
- 238000000855 fermentation Methods 0.000 description 2
- 230000004151 fermentation Effects 0.000 description 2
- 230000008569 process Effects 0.000 description 2
- 238000009423 ventilation Methods 0.000 description 2
- FFRBMBIXVSCUFS-UHFFFAOYSA-N 2,4-dinitro-1-naphthol Chemical compound C1=CC=C2C(O)=C([N+]([O-])=O)C=C([N+]([O-])=O)C2=C1 FFRBMBIXVSCUFS-UHFFFAOYSA-N 0.000 description 1
- 229920002472 Starch Polymers 0.000 description 1
- 150000001413 amino acids Chemical class 0.000 description 1
- 230000001458 anti-acid effect Effects 0.000 description 1
- 230000005540 biological transmission Effects 0.000 description 1
- 150000001720 carbohydrates Chemical class 0.000 description 1
- 230000000739 chaotic effect Effects 0.000 description 1
- 238000010586 diagram Methods 0.000 description 1
- 150000002148 esters Chemical class 0.000 description 1
- 239000000796 flavoring agent Substances 0.000 description 1
- 235000019634 flavors Nutrition 0.000 description 1
- 235000011194 food seasoning agent Nutrition 0.000 description 1
- 239000003205 fragrance Substances 0.000 description 1
- 230000036541 health Effects 0.000 description 1
- 230000000813 microbial effect Effects 0.000 description 1
- 238000002156 mixing Methods 0.000 description 1
- 239000000203 mixture Substances 0.000 description 1
- 230000004048 modification Effects 0.000 description 1
- 238000012986 modification Methods 0.000 description 1
- 235000015097 nutrients Nutrition 0.000 description 1
- 235000016709 nutrition Nutrition 0.000 description 1
- 150000007524 organic acids Chemical class 0.000 description 1
- 235000005985 organic acids Nutrition 0.000 description 1
- 238000002360 preparation method Methods 0.000 description 1
- 239000007787 solid Substances 0.000 description 1
- 235000019698 starch Nutrition 0.000 description 1
- 239000008107 starch Substances 0.000 description 1
- 239000007858 starting material Substances 0.000 description 1
- 235000013343 vitamin Nutrition 0.000 description 1
- 229940088594 vitamin Drugs 0.000 description 1
- 229930003231 vitamin Natural products 0.000 description 1
- 239000011782 vitamin Substances 0.000 description 1
Images
Landscapes
- Distillation Of Fermentation Liquor, Processing Of Alcohols, Vinegar And Beer (AREA)
Abstract
本实用新型公开了一种酿醋防酸蚀罐体,包括酿醋罐体,所述酿醋罐体的侧表面嵌套有固定底座,所述酿醋罐体的底部活动连接有底盖,所述酿醋罐体的顶面中间位置螺栓连接有动力电机,所述酿醋罐体的顶面对应动力电机的一侧开设有进料口,所述底盖的底面中部焊接有出料口,所述固定底座的内侧螺栓连接有氧气罐,所述动力电机的底部嵌合有主动轴,所述主动轴的底部通过联轴器连接有差速器,所述差速器的底部设有从动轴。本实用新型大大增长了酿醋罐体的使用时间,且内侧玻璃层表面不易粘结物质,使酿醋罐体便于清洗,提高了酿醋的效率,大大调高了酿醋的转化率,通过分液板可以使醋酸液体与滤渣分离,不需要移动酿醋罐体,简单方便。
Description
技术领域
本实用新型属于酿醋加工技术领域,具体为一种酿醋防酸蚀罐体。
背景技术
酿造醋,是区别合成醋和加工醋而提出的,酿造周期在5-10个月以上,混沌的金黄色,制作成本高,营养价值极高。酿造醋因口感好而受到人们的喜爱,它是用粮食等淀粉质为原料,经微生物制曲、糖化、酒精发酵、醋酸发酵等阶段酿制而成,主要成分除醋酸(3%~5%)外,还含有各种氨基酸、有机酸、糖类、维生素、醇和酯等营养成分及风味成分,具有独特的色、香、味,不仅是调味佳品,经常食用对健康也有益;
现有的酿醋罐在酿醋的过程中对酿醋原料的加热和供氧不能实现均匀控制,导致酿醋的效率和转化率低,且酿醋罐是将酿醋完成后的混合液输送至过滤装置中进行过滤,导致工序长,设备多,不利于使用。
实用新型内容
本实用新型的目的在于解决背景技术中的问题,提供一种酿醋防酸蚀罐体。
本实用新型采用的技术方案如下:
一种酿醋防酸蚀罐体,包括酿醋罐体,所述酿醋罐体的侧表面嵌套有固定底座,所述酿醋罐体的底部活动连接有底盖,所述酿醋罐体的顶面中间位置螺栓连接有动力电机,所述酿醋罐体的顶面对应动力电机的一侧开设有进料口,所述底盖的底面中部焊接有出料口,所述固定底座的内侧螺栓连接有氧气罐,所述动力电机的底部嵌合有主动轴,所述主动轴的底部通过联轴器连接有差速器,所述差速器的底部设有从动轴,所述从动轴的侧面焊接有搅拌叶轮,所述从动轴远离差速器的一端嵌套有轴承,所述轴承的顶面设有分液板,所述轴承的底部设有输气管。
其中,所述搅拌叶轮包括叶轮壳,所述叶轮壳的数量为若干组,且若干组叶轮壳交错设置在从动轴的侧面,所述叶轮壳的内腔顶部嵌合有加热片,所述叶轮壳的内腔对应加热片的底部开设有通气管,所述通气管的内部嵌合有排气阀,所述叶轮壳的底面开设有出气口,所述出气口与通气管相通。
其中,所述从动轴的内部开设有通气腔,所述从动轴的内部嵌合有导线,所述通气腔与通气管和输气管均相通,所述导线与加热片电性连接。
其中,所述分液板包括固定板,所述固定板固定连接在底盖的内壁上,所述固定板的内部嵌合有转动板,所述从动轴对应转动板的位置嵌套有异齿轮,所述转动板的内侧对应异齿轮的侧面设有弹簧齿,所述固定板的内部开设有通液口,所述通液口的开口设有过滤网。
其中,所述转动板的侧面固定连接有挡片,所述挡片与通液口相互契合。
其中,所述酿醋罐体的外侧设有一层钢板层,所述钢板层的内侧设有一层玻璃层。
综上所述,由于采用了上述技术方案,本实用新型的有益效果是:
1、本实用新型中,酿醋罐体外侧采用钢板层,具有防撞防碰擦效果,内侧采用玻璃层,使酿醋罐体的内侧不会受到弱酸腐蚀,大大增长了酿醋罐体的使用时间,且内侧玻璃层表面不易粘结物质,使酿醋罐体便于清洗。
2、本实用新型中,搅拌叶轮在搅拌酿醋原料的同时可以加热和提供氧气,通过搅拌叶轮中的加热片加热酿醋原料,可以保证加热更加均匀,提高了酿醋的效率,氧气通过出气口可以均匀分散在酿醋原料中,保证醋酸菌可以获得充足氧气,大大调高了酿醋的转化率。
3、本实用新型中,通过分液板可以使醋酸液体与滤渣分离,不需要移动酿醋罐体,简单方便,酿醋罐体同时可以完成酿醋和过滤,工序短,设备少。
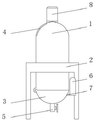
附图说明
图1为本实用新型的主视图;
图2为本实用新型的内部结构示意图;
图3为本实用新型中搅拌叶轮的剖面图;
图4为本实用新型中分液板的结构示意图;
图5为本实用新型中酿醋罐体的组成图。
图中标记:1、酿醋罐体;2、固定底座;3、底盖;4、进料口;5、出料口;6、氧气罐;7、输气管;8、动力电机;9、主动轴;10、差速器;11、从动轴;12、搅拌叶轮;121、叶轮壳;122、加热片;123、通气管;124、排气阀;125、出气口;13、分液板;131、固定板;132、转动板;133、异齿轮;14、轴承;15、钢板层;16、玻璃层。
具体实施方式
为了使本实用新型的目的、技术方案及优点更加清楚明白,以下结合附图及实施例,对本实用新型进行进一步详细说明。应当理解,此处所描述的具体实施例仅用以解释本实用新型,并不用于限定本实用新型。
参照图1-5,一种酿醋防酸蚀罐体,包括酿醋罐体1,酿醋罐体1的侧表面嵌套有固定底座2,酿醋罐体1的底部活动连接有底盖3,酿醋罐体1的顶面中间位置螺栓连接有动力电机8,酿醋罐体1的顶面对应动力电机8的一侧开设有进料口4,底盖3的底面中部焊接有出料口5,固定底座2的内侧螺栓连接有氧气罐6,动力电机8的底部嵌合有主动轴9,主动轴9的底部通过联轴器连接有差速器10,差速器10的底部设有从动轴11,从动轴11的侧面焊接有搅拌叶轮12,从动轴11远离差速器10的一端嵌套有轴承14,轴承14的顶面设有分液板13,轴承14的底部设有输气管7,酿醋罐体1的外侧设有一层钢板层15,钢板层15的内侧设有一层玻璃层16。
通过采用上述技术方案:
酿醋罐体1外侧采用钢板层15,具有防撞防碰擦效果,内侧采用玻璃层16,使酿醋罐体1的内侧不会受到弱酸腐蚀,大大增长了酿醋罐体1的使用时间,且内侧玻璃层16表面不易粘结物质,使酿醋罐体1便于清洗。
搅拌叶轮12包括叶轮壳121,叶轮壳121的数量为若干组,且若干组叶轮壳121交错设置在从动轴11的侧面,叶轮壳121的内腔顶部嵌合有加热片122,叶轮壳121的内腔对应加热片122的底部开设有通气管123,通气管123的内部嵌合有排气阀124,叶轮壳121的底面开设有出气口125,出气口125与通气管123相通,从动轴11的内部开设有通气腔,从动轴11的内部嵌合有导线,通气腔与通气管123和输气管7均相通,导线与加热片122电性连接。
通过采用上述技术方案:
搅拌叶轮12在搅拌酿醋原料的同时可以加热和提供氧气,通过搅拌叶轮12中的加热片122加热酿醋原料,可以保证加热更加均匀,提高了酿醋的效率,氧气通过出气口125可以均匀分散在酿醋原料中,保证醋酸菌可以获得充足氧气,大大调高了酿醋的转化率。
分液板13包括固定板131,固定板131固定连接在底盖3的内壁上,固定板131的内部嵌合有转动板132,从动轴11对应转动板132的位置嵌套有异齿轮133,转动板132的内侧对应异齿轮133的侧面设有弹簧齿,固定板131的内部开设有通液口,通液口的开口设有过滤网,转动板132的侧面固定连接有挡片,挡片与通液口相互契合。
通过采用上述技术方案:
异齿轮133顺时针旋转时,可以挤压弹簧齿转动,此时固定板131和转动板132相对位置不动,保证酿醋罐体1中的液体和固体不会泄漏,当酿醋完成后,通过从动轴11带动异齿轮133逆时针旋转,此时异齿轮133与弹簧齿卡合,异齿轮133可以通过弹簧齿带动转动板132转动,使通液口露出,保证酿醋罐体1中醋酸液体可以通过通液口进入底盖3中,通过出料口5收集醋酸液体,醋酸液体收集后可以打开底盖3,酿醋罐体1中滤渣可以从酿醋罐体1的底部取出。
工作原理,参照图1-5,先将酿醋原料通过进料口4投入酿醋罐体1中,打开动力电机8,动力电机8将动力通过主动轴9输送至差速器10,差速器10带动从动轴11转动,从动轴11带动搅拌叶轮12转动,打开氧气罐6,氧气罐6中的氧气通过输气管7进入从动轴11中,从动轴11再将氧气输送至通气管123,通气管123将氧气通过排气阀124输送至酿醋罐体1中,加热片122可以对酿醋原料进行加热,保证酿醋原料处于适宜的温度下发酵,当酿醋完成后,通过从动轴11带动异齿轮133逆时针旋转,此时异齿轮133与弹簧齿卡合,异齿轮133可以通过弹簧齿带动转动板132转动,使通液口露出,保证酿醋罐体1中醋酸液体可以通过通液口进入底盖3中,通过出料口5收集醋酸液体,醋酸液体收集后可以打开底盖3,酿醋罐体1中滤渣可以从酿醋罐体1的底部取出。
以上所述仅为本实用新型的较佳实施例而已,并不用以限制本实用新型,凡在本实用新型的精神和原则之内所作的任何修改、等同替换和改进等,均应包含在本实用新型的保护范围之内。
Claims (6)
1.一种酿醋防酸蚀罐体,包括酿醋罐体(1),其特征在于:所述酿醋罐体(1)的侧表面嵌套有固定底座(2),所述酿醋罐体(1)的底部活动连接有底盖(3),所述酿醋罐体(1)的顶面中间位置螺栓连接有动力电机(8),所述酿醋罐体(1)的顶面对应动力电机(8)的一侧开设有进料口(4),所述底盖(3)的底面中部焊接有出料口(5),所述固定底座(2)的内侧螺栓连接有氧气罐(6),所述动力电机(8)的底部嵌合有主动轴(9),所述主动轴(9)的底部通过联轴器连接有差速器(10),所述差速器(10)的底部设有从动轴(11),所述从动轴(11)的侧面焊接有搅拌叶轮(12),所述从动轴(11)远离差速器(10)的一端嵌套有轴承(14),所述轴承(14)的顶面设有分液板(13),所述轴承(14)的底部设有输气管(7)。
2.如权利要求1所述的一种酿醋防酸蚀罐体,其特征在于:所述搅拌叶轮(12)包括叶轮壳(121),所述叶轮壳(121)的数量为若干组,且若干组叶轮壳(121)交错设置在从动轴(11)的侧面,所述叶轮壳(121)的内腔顶部嵌合有加热片(122),所述叶轮壳(121)的内腔对应加热片(122)的底部开设有通气管(123),所述通气管(123)的内部嵌合有排气阀(124),所述叶轮壳(121)的底面开设有出气口(125),所述出气口(125)与通气管(123)相通。
3.如权利要求2所述的一种酿醋防酸蚀罐体,其特征在于:所述从动轴(11)的内部开设有通气腔,所述从动轴(11)的内部嵌合有导线,所述通气腔与通气管(123)和输气管(7)均相通,所述导线与加热片(122)电性连接。
4.如权利要求1所述的一种酿醋防酸蚀罐体,其特征在于:所述分液板(13)包括固定板(131),所述固定板(131)固定连接在底盖(3)的内壁上,所述固定板(131)的内部嵌合有转动板(132),所述从动轴(11)对应转动板(132)的位置嵌套有异齿轮(133),所述转动板(132)的内侧对应异齿轮(133)的侧面设有弹簧齿,所述固定板(131)的内部开设有通液口,所述通液口的开口设有过滤网。
5.如权利要求4所述的一种酿醋防酸蚀罐体,其特征在于:所述转动板(132)的侧面固定连接有挡片,所述挡片与通液口相互契合。
6.如权利要求1所述的一种酿醋防酸蚀罐体,其特征在于:所述酿醋罐体(1)的外侧设有一层钢板层(15),所述钢板层(15)的内侧设有一层玻璃层(16)。
Priority Applications (1)
| Application Number | Priority Date | Filing Date | Title |
|---|---|---|---|
| CN201922019870.4U CN211367519U (zh) | 2019-11-21 | 2019-11-21 | 一种酿醋防酸蚀罐体 |
Applications Claiming Priority (1)
| Application Number | Priority Date | Filing Date | Title |
|---|---|---|---|
| CN201922019870.4U CN211367519U (zh) | 2019-11-21 | 2019-11-21 | 一种酿醋防酸蚀罐体 |
Publications (1)
| Publication Number | Publication Date |
|---|---|
| CN211367519U true CN211367519U (zh) | 2020-08-28 |
Family
ID=72170700
Family Applications (1)
| Application Number | Title | Priority Date | Filing Date |
|---|---|---|---|
| CN201922019870.4U Expired - Fee Related CN211367519U (zh) | 2019-11-21 | 2019-11-21 | 一种酿醋防酸蚀罐体 |
Country Status (1)
| Country | Link |
|---|---|
| CN (1) | CN211367519U (zh) |
Cited By (2)
| Publication number | Priority date | Publication date | Assignee | Title |
|---|---|---|---|---|
| CN112279701A (zh) * | 2020-10-28 | 2021-01-29 | 许雄基 | 一种复合微生物有机肥快速制造设备 |
| CN116676158A (zh) * | 2023-06-21 | 2023-09-01 | 镇江丹和醋业有限公司 | 一种带有温度适应性控制的食醋酿造自动管理系统 |
-
2019
- 2019-11-21 CN CN201922019870.4U patent/CN211367519U/zh not_active Expired - Fee Related
Cited By (2)
| Publication number | Priority date | Publication date | Assignee | Title |
|---|---|---|---|---|
| CN112279701A (zh) * | 2020-10-28 | 2021-01-29 | 许雄基 | 一种复合微生物有机肥快速制造设备 |
| CN116676158A (zh) * | 2023-06-21 | 2023-09-01 | 镇江丹和醋业有限公司 | 一种带有温度适应性控制的食醋酿造自动管理系统 |
Similar Documents
| Publication | Publication Date | Title |
|---|---|---|
| CN205473799U (zh) | 一种固体发酵装置 | |
| CN211367519U (zh) | 一种酿醋防酸蚀罐体 | |
| CN209906742U (zh) | 一种用于甘薯烧酒工艺的高效发酵装置 | |
| CN213699623U (zh) | 一种用于天然乳胶的混合搅拌罐 | |
| CN106072728A (zh) | 一种饲料添加剂的有益菌发酵罐 | |
| CN214400537U (zh) | 一种无糖沙棘果酵素饮品无菌发酵罐 | |
| CN117004475A (zh) | 一种食醋加工酿造用高效熏醅设备 | |
| CN220976959U (zh) | 一种豆酸汤发酵设备 | |
| CN210960372U (zh) | 一种枣粉生产装置 | |
| CN211896878U (zh) | 一种自酿啤酒设备 | |
| CN209735502U (zh) | 一种皮蛋生产中泥料的搅拌装置 | |
| CN111979074A (zh) | 一种甜黄酒加工生产装置及方法 | |
| CN209076476U (zh) | 一种离心负压粉体上料混合装置 | |
| CN217855666U (zh) | 一种酱油原料处理用饼粕润水后混料装置 | |
| CN213924859U (zh) | 用于大豆苷提取的酶解罐 | |
| CN205954016U (zh) | 一种酵母自溶设备 | |
| CN214088493U (zh) | 一种用于蔬菜汁搅拌发酵装置 | |
| CN218860671U (zh) | 一种精酿啤酒糖化煮沸一体锅 | |
| CN206836173U (zh) | 一种利用农副糟渣生产复合菌体蛋白饲料的发酵设备 | |
| CN218672891U (zh) | 一种固体饮料生产用沸腾干燥机 | |
| CN206213206U (zh) | 一种制备乳酸菌豆制品发酵的装置 | |
| CN219376826U (zh) | 一种粉料预混装置 | |
| CN212504796U (zh) | 一种山楂酒生产用发酵罐 | |
| CN222205205U (zh) | 一种枸杞发酵加工设备 | |
| CN118476568B (zh) | 一种灵芝发酵茶的生产设备及其加工工艺 |
Legal Events
| Date | Code | Title | Description |
|---|---|---|---|
| GR01 | Patent grant | ||
| GR01 | Patent grant | ||
| CF01 | Termination of patent right due to non-payment of annual fee | ||
| CF01 | Termination of patent right due to non-payment of annual fee |
Granted publication date: 20200828 |