CN211300359U - Internal fistula needle treatment sharp instrument box - Google Patents
Internal fistula needle treatment sharp instrument box Download PDFInfo
- Publication number
- CN211300359U CN211300359U CN201922117237.9U CN201922117237U CN211300359U CN 211300359 U CN211300359 U CN 211300359U CN 201922117237 U CN201922117237 U CN 201922117237U CN 211300359 U CN211300359 U CN 211300359U
- Authority
- CN
- China
- Prior art keywords
- box
- box body
- baffle
- needle
- cutter
- Prior art date
- Legal status (The legal status is an assumption and is not a legal conclusion. Google has not performed a legal analysis and makes no representation as to the accuracy of the status listed.)
- Expired - Fee Related
Links
- 206010016717 Fistula Diseases 0.000 title claims abstract description 23
- 230000003890 fistula Effects 0.000 title claims abstract description 23
- 238000005192 partition Methods 0.000 claims description 7
- 238000012545 processing Methods 0.000 abstract description 3
- 238000005457 optimization Methods 0.000 description 5
- 208000027418 Wounds and injury Diseases 0.000 description 4
- 208000014674 injury Diseases 0.000 description 4
- 230000006378 damage Effects 0.000 description 3
- 238000012986 modification Methods 0.000 description 2
- 230000004048 modification Effects 0.000 description 2
- 230000000474 nursing effect Effects 0.000 description 2
- 208000012260 Accidental injury Diseases 0.000 description 1
- 206010011409 Cross infection Diseases 0.000 description 1
- 206010029803 Nosocomial infection Diseases 0.000 description 1
- 230000006978 adaptation Effects 0.000 description 1
- 230000009286 beneficial effect Effects 0.000 description 1
- 238000010241 blood sampling Methods 0.000 description 1
- 230000007547 defect Effects 0.000 description 1
- 238000010586 diagram Methods 0.000 description 1
- 230000003203 everyday effect Effects 0.000 description 1
- 238000001802 infusion Methods 0.000 description 1
- 238000002347 injection Methods 0.000 description 1
- 239000007924 injection Substances 0.000 description 1
Images
Landscapes
- Accommodation For Nursing Or Treatment Tables (AREA)
- Infusion, Injection, And Reservoir Apparatuses (AREA)
Abstract
The utility model relates to an internal fistula needle treatment sharp instrument box, which comprises a box body and a box cover, wherein the box cover is hinged with the box body, the box body is a cuboid with an upper opening, a baffle is arranged in the box body, a needle head storage bin and a hose storage bin are respectively arranged in cavities at two sides of the baffle, a first knife holder is arranged at the position of the box body close to the upper end part, the first knife holder is fixedly connected with the side wall of the box body, and a first groove is arranged on the first knife holder; the box cover is provided with a first cutter which is embedded in the first groove; the utility model discloses a sharp instruments such as processing internal fistula needle that the device both can be safer, staff direct contact syringe needle when avoiding handling prevents to stab, still prevents simultaneously to cut the unexpected condition emergence that collapses outward in the outside.
Description
Technical Field
The utility model belongs to the field of medical equipment, especially, relate to sharp ware box field is handled to internal fistula needle.
Background
The sharp injury is a main occupational hazard faced by clinical medical staff, in the clinical nursing work, the nursing staff needs to complete a large amount of injection, blood sampling and transfusion work every day, the chances of contacting an injector, an infusion apparatus, a needle head and the like are more, the probability of the occurrence of the sharp injury is higher, and the medical sharp collection box is used as an effective measure for preventing and reducing the sharp injury of an operator; however, the common sharps box used in clinic at present has a simple structure, and has a plurality of defects although having a basic sharps storage function; for example, when a similar internal fistula needle needs to be cut off and separated, the traditional mode is that medical personnel pull out the needle manually by tweezers or cut off by scissors, so that the efficiency is low, and the danger that the needle head slips and injures people exists.
SUMMERY OF THE UTILITY MODEL
The utility model aims to provide a more convenient and safer sharp instrument box for treating the internal fistula needle to solve the problems.
The utility model discloses a following technical scheme realizes above-mentioned purpose:
a sharp instrument box for treating an internal fistula needle comprises a box body and a box cover, wherein the box cover is hinged with the box body, the box body is a cuboid with an opening at the upper part, a partition plate is arranged in the box body, a needle head storage bin and a hose storage bin are respectively arranged in cavities at two sides of the partition plate, a first cutter holder is arranged at the position, close to the upper end part, of the box body, the first cutter holder is fixedly connected with the side wall of the box body, and a first groove is formed in the first cutter holder; the box cover is provided with a first cutter, and the first cutter is embedded in the first groove.
As a further optimization scheme of the utility model, a needle head storage box is arranged in the needle head storage bin, and a hose storage box is arranged in the hose storage bin; the back of the box body is provided with an opening, the upper end part and the lower end part of the opening are provided with sliding chutes, and inserting plates are embedded in the sliding chutes and slide along the sliding chutes; through this setting can be convenient more empty or other processings to handling syringe needle and hose after, reduce the risk that the syringe needle injures people or infects.
As a further optimization scheme of the utility model, a second knife holder is fixedly arranged between the side walls of the box body at one side of the hose storage bin, a second groove is arranged on the second knife holder, a second cutter is also arranged on the box cover, and the second cutter is embedded in the second groove; the longer hose is further cut off, and the cut hose is convenient to store.
As a further optimization scheme of the utility model, a handle is arranged on the end part of the box cover; the box cover is convenient to press through the handle, so that the cutter on the box cover can treat the internal fistula needle.
As a further optimization scheme of the utility model, the upper part of the needle head storage bin is obliquely provided with a first baffle and a second baffle, the two side edges of the first baffle and the second baffle are both fixedly connected with the inner side wall of the box body, the side edge of the first baffle, which is not contacted with the side wall of the box body, is suspended above the needle head receiving bin, and the side edge of the second baffle, which is not contacted with the side wall of the box body, is suspended below the first baffle; avoid when accidentally knocking over the sharp instrument box, the needle point is easy to be thrown out from the sharp instrument box, thereby easily causing accidental injury and cross infection to medical care personnel.
As a further optimization scheme of the utility model, the upper part of the hose storage bin is provided with a third baffle and a fourth baffle, the side edges of the third baffle and the fourth baffle are fixedly connected with the inner side wall of the box body, the two baffles are in a V shape, and the bottom of the V shape is provided with a channel for the falling of the arch hose; preventing the hose from falling out.
The beneficial effects of the utility model reside in that:
1) the utility model can dispose the joint of the needle head and the hose of the internal fistula needle on the first knife holder on the box body, and then dispose the internal fistula needle by the cutter on the box cover, thus avoiding the hand from directly contacting the needle head and preventing puncture;
2) and the cutter sets up on the lid, and the lid is in the state of closing gradually when handling, and the cutter on the lid can be cut the syringe needle in the box body like this to prevent to cut and to collapse outward in the outside, it is safer.
Drawings
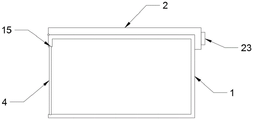
Fig. 1 is a schematic structural diagram of the present invention;
fig. 2 is a schematic cross-sectional view of the present invention;
FIG. 3 is a schematic view of the back structure of the box body of the present invention;
fig. 4 is a schematic left-side sectional structure of the present invention;
in the figure: 1. a box body; 11. a partition plate; 12. a needle head storage bin; 121. a needle head storage box; 13. a hose storage bin; 131. a hose storage box; 14. an opening; 15. a chute; 16. a channel; 2. a box cover; 21. a first cutter; 22. a second cutter; 23. a handle; 3. a first tool apron; 31. a first groove; 4. inserting plates; 5. a second tool apron; 51. a second groove; 6. a first baffle plate; 7. a second baffle; 8. A third baffle plate; 9. and a fourth baffle.
Detailed Description
The present application will now be described in further detail with reference to the drawings, it should be noted that the following detailed description is given for illustrative purposes only and is not to be construed as limiting the scope of the present application, as those skilled in the art will be able to make numerous insubstantial modifications and adaptations to the present application based on the above disclosure.
The internal fistula needle treatment sharp instrument box shown in fig. 1 to 4 comprises a box body 1 and a box cover 2, wherein the box cover 2 is hinged with the box body 1, the box body 1 is cuboid, a partition plate 11 is arranged in the box body 1, and a needle head storage bin 12 and a hose storage bin 13 are respectively arranged in cavities at two sides of the partition plate 11; a handle 23 is arranged at the end part of the box cover 2;
the upper part of the box body 1 is provided with a first cutter seat 3 and a second cutter seat 5, the first cutter seat is arranged between the box bodies above the needle head containing bin, the first cutter seat 3 is fixedly connected with the side wall of the box body 1, and the first cutter seat 3 is provided with a first groove 31; the box cover 2 is provided with a first cutter 21, and the first cutter 21 is embedded in the first groove 31; the second tool apron 5 is arranged between the side walls of the box body 1 on one side of the hose storage bin 13, a second groove 51 is formed in the second tool apron 5, a second cutter 22 is further arranged on the box cover 2, and the second cutter 22 is embedded in the second groove 51; the long hose can be further cut off through the second cutter holder and the second cutter, the cut hose is convenient to store, and the storage space in the box body cannot be wasted due to the fact that the cut hose is interfered and wound in the box body like the long hose;
a needle storage box 121 is arranged in the needle storage bin 12, and a hose storage box 131 is arranged in the hose storage bin 13; an opening 14 is formed in the back of the box body 1, sliding grooves 15 are formed in the upper end portion and the lower end portion of the opening 14, inserting plates 4 are embedded in the sliding grooves 15, and the inserting plates 4 slide along the sliding grooves 15; the needle head containing box and the hose containing box can be respectively taken out from the box body by opening the inserting plate;
in order to avoid that when the sharp instrument box is knocked down by accident, the needle point is easy to fall out of the sharp instrument box, so that the medical staff is easy to be accidentally injured and cross-infected; therefore, a first baffle 6 and a second baffle 7 are obliquely arranged at the upper part of the needle head storage bin 12, two side edges of the first baffle 6 and the second baffle 7 are fixedly connected with the inner side wall of the box body 1, the side edge of the first baffle 6, which is not contacted with the side wall of the box body 1, is suspended above the needle head storage bin 12, and the side edge of the second baffle 7, which is not contacted with the side wall of the box body 1, is suspended below the first baffle 6; after the internal fistula needle is cut off, the needle head of the internal fistula needle can slide into the needle head storage box along the inclined second baffle plate;
a third baffle 8 and a fourth baffle 9 are arranged at the upper part of the hose storage bin 13, the side edges of the third baffle 8 and the fourth baffle 9 are fixedly connected with the inner side wall of the box body 1, the two baffles are V-shaped, and a channel 16 for allowing the hose to fall is arranged at the bottom of the V-shaped; the severed hose passes through the channel directly into the hose storage bin below.
When the internal fistula needle is used, firstly, the internal fistula needle is placed on a first cutter holder and a second cutter holder of a box body, the joint of the needle and the hose is placed at the first cutter holder, the longer hose part is placed on the second cutter holder, the needle part is generally positioned on a second baffle at the moment, then a handle on a box cover is held by a hand to press downwards, a first cutter and a second cutter on the box cover move downwards along with the box cover until the needle and the hose are respectively cut off, the needle part directly slides along a second baffle to enter a needle containing bin after being cut off, the hose part is divided into two parts by the second cutter, and the cut hose enters a hose containing bin below along a passage between a third baffle and a fourth baffle; after the needle head storage box or the hose storage box is fully stored, the inserting plate at the back of the box body slides to one side, the needle head storage box and the hose storage box in the box body are taken out, the needle head and the hose are poured or respectively treated, and the storage box can be put back into the box body for repeated use; through sharp instruments such as the processing internal fistula needle that the device both can be safer, staff direct contact syringe needle when avoiding handling prevents to stab, still prevents simultaneously to cut the unexpected condition emergence that collapses outward in the outside.
The above-mentioned embodiments only represent some embodiments of the present invention, and the description thereof is specific and detailed, but not to be construed as limiting the scope of the present invention. It should be noted that, for those skilled in the art, without departing from the spirit of the present invention, several variations and modifications can be made, which are within the scope of the present invention.
Claims (6)
1. The utility model provides an internal fistula needle handles sharp machine box which characterized in that: the novel needle tube box comprises a box body (1) and a box cover (2), wherein the box cover (2) is hinged with the box body (1), the box body (1) is a cuboid, a partition plate (11) is arranged in the box body (1), a needle head storage bin (12) and a hose storage bin (13) are respectively arranged in cavities on two sides of the partition plate (11), a first cutter holder (3) is arranged on the upper portion of the box body (1), the first cutter holder (3) is fixedly connected with the side wall of the box body (1), and a first groove (31) is formed in the first cutter holder (3); the box cover (2) is provided with a first cutter (21), and the first cutter (21) is embedded in the first groove (31).
2. An internal fistula needle treatment sharp device box as set forth in claim 1, wherein: a needle storage box (121) is arranged in the needle storage bin (12), and a hose storage box (131) is arranged in the hose storage bin (13); the back of box body (1) is equipped with opening (14), is equipped with spout (15) on the upper and lower tip of opening (14), inlay in spout (15) and be equipped with picture peg (4), picture peg (4) slide along spout (15).
3. An internal fistula needle treatment sharp device box as set forth in claim 1, wherein: fixed second blade holder (5) that is equipped with between box body (1) lateral wall of hose collecting storage (13) one side, be equipped with second recess (51) on second blade holder (5), still be equipped with second cutter (22) on lid (2), second cutter (22) are inlayed and are located in second recess (51).
4. An internal fistula needle treatment sharp device box as set forth in claim 1, wherein: the end part of the box cover (2) is also provided with a handle (23).
5. An internal fistula needle treatment sharp device box as set forth in claim 1, wherein: the upper portion slope of syringe needle collecting chamber (12) is equipped with first baffle (6), second baffle (7), the both sides limit of first baffle (6) and second baffle (7) all with the inside wall fixed connection of box body (1), first baffle (6) do not hang the top of locating syringe needle collecting chamber (12) with the side of box body (1) lateral wall contact, second baffle (7) do not hang the below of locating first baffle (6) with the side of box body (1) lateral wall contact.
6. An internal fistula needle treatment sharp device box as set forth in claim 1, wherein: the upper portion of hose collecting bin (13) is equipped with third baffle (8), fourth baffle (9), the side of third, fourth baffle (8, 9) and the inside wall fixed connection of box body (1), and two baffles are the V type, and the V type bottom is equipped with encircles passageway (16) that the hose falls.
Priority Applications (1)
| Application Number | Priority Date | Filing Date | Title |
|---|---|---|---|
| CN201922117237.9U CN211300359U (en) | 2019-12-02 | 2019-12-02 | Internal fistula needle treatment sharp instrument box |
Applications Claiming Priority (1)
| Application Number | Priority Date | Filing Date | Title |
|---|---|---|---|
| CN201922117237.9U CN211300359U (en) | 2019-12-02 | 2019-12-02 | Internal fistula needle treatment sharp instrument box |
Publications (1)
| Publication Number | Publication Date |
|---|---|
| CN211300359U true CN211300359U (en) | 2020-08-21 |
Family
ID=72078940
Family Applications (1)
| Application Number | Title | Priority Date | Filing Date |
|---|---|---|---|
| CN201922117237.9U Expired - Fee Related CN211300359U (en) | 2019-12-02 | 2019-12-02 | Internal fistula needle treatment sharp instrument box |
Country Status (1)
| Country | Link |
|---|---|
| CN (1) | CN211300359U (en) |
Cited By (1)
| Publication number | Priority date | Publication date | Assignee | Title |
|---|---|---|---|---|
| CN113229951A (en) * | 2021-05-07 | 2021-08-10 | 青岛市城阳区人民医院 | Medical portable sharp machine box of holding |
-
2019
- 2019-12-02 CN CN201922117237.9U patent/CN211300359U/en not_active Expired - Fee Related
Cited By (1)
| Publication number | Priority date | Publication date | Assignee | Title |
|---|---|---|---|---|
| CN113229951A (en) * | 2021-05-07 | 2021-08-10 | 青岛市城阳区人民医院 | Medical portable sharp machine box of holding |
Similar Documents
| Publication | Publication Date | Title |
|---|---|---|
| CN210130932U (en) | Sharp instrument box | |
| CN211300359U (en) | Internal fistula needle treatment sharp instrument box | |
| CN210593617U (en) | Cutting edge tool box of infusion apparatus | |
| CN205499958U (en) | Box for containing sharp utensils | |
| CN210365393U (en) | Novel sharp machine box of cutting pipeline | |
| CN211944807U (en) | Medical sharp machine box of improvement | |
| CN209984721U (en) | Needle head separating and collecting device for safety type injector | |
| CN211583535U (en) | Improved sharps box | |
| CN210762441U (en) | Medical sharp instrument processing and collecting box | |
| CN211534817U (en) | Edge tool box for nursing | |
| CN215651582U (en) | A special sharps box for hemodialysis | |
| CN222323654U (en) | Case is deposited with sharp machine classification to emergency nursing | |
| CN207270388U (en) | A kind of Medical sharps container | |
| CN222217950U (en) | A sharp tool box that is easy to store | |
| CN221411589U (en) | Multifunctional nursing disc | |
| CN216496880U (en) | Medical waste handles and uses sharp machine box | |
| CN221411371U (en) | Damage-proof sputtering device of destructive waste collection box | |
| CN219558334U (en) | A needle separation device | |
| CN212853644U (en) | Medical edge tool box | |
| CN214970404U (en) | Mini edge tool temporary storage box | |
| CN219289715U (en) | Prevent stabbing convenient box | |
| CN217660994U (en) | Edge tool box for treating syringe needle | |
| CN218165380U (en) | An improved treatment tray capable of sorting and disposing of waste | |
| CN214860082U (en) | Improvement type sharp machine box | |
| CN210813181U (en) | Scissors is dealt with to syringe needle |
Legal Events
| Date | Code | Title | Description |
|---|---|---|---|
| GR01 | Patent grant | ||
| GR01 | Patent grant | ||
| CF01 | Termination of patent right due to non-payment of annual fee | ||
| CF01 | Termination of patent right due to non-payment of annual fee |
Granted publication date: 20200821 Termination date: 20211202 |