CN211244216U - A dedicated hospital bed for clinical patients with inconvenience - Google Patents
A dedicated hospital bed for clinical patients with inconvenience Download PDFInfo
- Publication number
- CN211244216U CN211244216U CN201821393485.5U CN201821393485U CN211244216U CN 211244216 U CN211244216 U CN 211244216U CN 201821393485 U CN201821393485 U CN 201821393485U CN 211244216 U CN211244216 U CN 211244216U
- Authority
- CN
- China
- Prior art keywords
- shaft
- support shaft
- bed
- spring
- support
- Prior art date
- Legal status (The legal status is an assumption and is not a legal conclusion. Google has not performed a legal analysis and makes no representation as to the accuracy of the status listed.)
- Expired - Fee Related
Links
- 239000011241 protective layer Substances 0.000 claims description 6
- 239000000463 material Substances 0.000 claims description 3
- 101100441413 Caenorhabditis elegans cup-15 gene Proteins 0.000 description 4
- 210000003141 lower extremity Anatomy 0.000 description 4
- 230000006378 damage Effects 0.000 description 3
- 230000009286 beneficial effect Effects 0.000 description 1
- 238000010586 diagram Methods 0.000 description 1
- 238000009434 installation Methods 0.000 description 1
- 238000000034 method Methods 0.000 description 1
- 230000004048 modification Effects 0.000 description 1
- 238000012986 modification Methods 0.000 description 1
- 230000000474 nursing effect Effects 0.000 description 1
- 238000011084 recovery Methods 0.000 description 1
Images
Landscapes
- Invalid Beds And Related Equipment (AREA)
Abstract
本实用新型公开了一种行动不便的临床患者专用病床,包括床板,所述床板的两端对称设有挡板,所述床板的下方对称设有一对支撑腿,所述支撑腿的底部连接有滚轮,所述床板的底部设有底板,所述床板一侧设有一对扶持结构,所述扶持机构与底板滑动连接,所述扶持机构包括第一支撑轴、第二支撑轴和第三支撑轴,所述第三支撑轴的一侧固定连接有滑板,所述滑板滑动插设在底板上,所述第二支撑轴滑动插设在第三支撑轴上。本实用新型操作简单,通过床板、挡板、第一支撑轴、第二支撑轴和第三轴承轴的相互配合,患者可以自己操作起身坐到轮椅上,在情况允许的状态下,减少了医护人员的工作量,从而提供一种行动不便的临床患者专用病床。
The utility model discloses a special hospital bed for clinical patients with inconvenience, comprising a bed board, two ends of the bed board are symmetrically provided with baffles, a pair of support legs are symmetrically arranged below the bed board, and the bottoms of the support legs are connected with Roller, the bottom of the bed plate is provided with a bottom plate, one side of the bed plate is provided with a pair of supporting structures, the supporting mechanism is slidably connected with the bottom plate, and the supporting mechanism includes a first supporting shaft, a second supporting shaft and a third supporting shaft One side of the third support shaft is fixedly connected with a slide plate, the slide plate is slidably inserted on the bottom plate, and the second support shaft is slidably inserted on the third support shaft. The utility model is easy to operate, and through the mutual cooperation of the bed board, the baffle, the first support shaft, the second support shaft and the third bearing shaft, the patient can get up and sit on the wheelchair by himself. staff workload, thereby providing a dedicated bed for clinical patients with reduced mobility.
Description
技术领域technical field
本实用新型涉及医疗设备技术领域,尤其涉及一种行动不便的临床患者专用病床。The utility model relates to the technical field of medical equipment, in particular to a special hospital bed for clinical patients with inconvenience.
背景技术Background technique
病人休养时所用到的床其有普通及多功能病床,病床也可称为医疗床、护理床等,是病人在休养时使用的病床,主要使用场合有各大医院、乡镇卫生院、社区卫生服务中心,临床患者由于病情严重常常需要卧床治疗,临床患者中的外科病人,需要卧床休息的病人中有一部分是下肢受伤的,下肢受伤无法自主行走,需要借助外界医疗设备,例如轮椅拐杖等进行行走,但是对于下肢受伤的患者,从病床转移到轮椅上往往需要医护人员的帮助,病床与轮椅之间存在高度差,患者的下肢无法自主支撑起身体重量,但医护人员无法时时刻刻在患者的身边帮助,对于患者而言有量的运动有利于身体的恢复。The beds used by patients during recuperation include ordinary and multi-functional beds. The beds can also be called medical beds, nursing beds, etc. They are the beds used by patients during recuperation. They are mainly used in major hospitals, township health centers, and community health care. In the service center, clinical patients often need bed rest due to their serious illness. Among the surgical patients, some of the patients who need bed rest have lower extremity injuries, and they cannot walk on their own due to lower extremity injuries. They need external medical equipment, such as wheelchairs and crutches. Walking, but for patients with lower extremity injuries, the transfer from the hospital bed to the wheelchair often requires the help of medical staff. There is a height difference between the hospital bed and the wheelchair. With the help of the side, for the patient, a lot of exercise is conducive to the recovery of the body.
实用新型内容Utility model content
本实用新型的目的是为了解决现有技术中存在的缺点,如:对于下肢行动不便的患者,需要医护人员辅助从病床移动到轮椅上,而提出的一种行动不便的临床患者专用病床。The purpose of the utility model is to solve the shortcomings of the prior art, such as: for patients with inconvenience in lower limbs, medical staff are required to assist in moving from the hospital bed to the wheelchair, and a special hospital bed for clinical patients with inconvenience is proposed.
为了实现上述目的,本实用新型采用了如下技术方案:In order to achieve the above-mentioned purpose, the utility model adopts the following technical solutions:
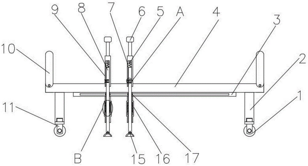
一种行动不便的临床患者专用病床,包括床板,所述床板的两端对称设有挡板,所述床板的下方对称设有一对支撑腿,所述支撑腿的底部连接有滚轮,所述床板的底部设有底板,所述床板一侧设有一对扶持结构,所述扶持机构与底板滑动连接,所述扶持机构包括第一支撑轴、第二支撑轴和第三支撑轴,所述第三支撑轴的一侧固定连接有滑板,所述滑板滑动插设在底板上,所述第二支撑轴滑动插设在第三支撑轴上,所述第一支撑轴套接在第二支撑轴的一端,所述第三支撑轴内设有滑槽,所述第二支撑轴的两侧对称设有滑块,所述滑块与滑槽滑动连接,所述滑槽内设有第二弹簧,所述第二弹簧与滑块固定连接,所述第二支撑轴远离第一支撑轴的一端连接有吸盘,所述第一支撑轴的上端设有横轴,所述第一支撑轴内设有第一弹簧,所述第一弹簧与第二支撑轴固定连接,所述第二支撑轴上设有多个卡接装置,所述第一支撑轴上设有与卡接装置对应的开口。A special hospital bed for clinical patients with inconvenience, comprising a bed board, two ends of the bed board are symmetrically provided with baffle plates, a pair of support legs are symmetrically arranged below the bed board, the bottoms of the support legs are connected with rollers, and the bed board The bottom of the bed is provided with a bottom plate, and one side of the bed plate is provided with a pair of supporting structures. The supporting mechanism is slidably connected to the bottom plate. The supporting mechanism includes a first support shaft, a second support shaft and a third support shaft. The third support shaft One side of the support shaft is fixedly connected with a slide plate, the slide plate is slidably inserted on the bottom plate, the second support shaft is slidably inserted on the third support shaft, and the first support shaft is sleeved on the second support shaft. At one end, the third support shaft is provided with a chute, the two sides of the second support shaft are symmetrically provided with sliders, the sliders are slidably connected with the chute, and a second spring is arranged in the chute, The second spring is fixedly connected with the slider, the end of the second support shaft away from the first support shaft is connected with a suction cup, the upper end of the first support shaft is provided with a horizontal shaft, and the first support shaft is provided with a suction cup. A first spring, the first spring is fixedly connected with a second support shaft, a plurality of clamping devices are arranged on the second support shaft, and openings corresponding to the clamping devices are arranged on the first support shaft.
优选的,所述支撑腿靠近连接件的一端转动连接有连接件,所述滚轮通过滚轴与连接件转动卡接。Preferably, one end of the support leg close to the connecting piece is rotatably connected with the connecting piece, and the roller is rotatably engaged with the connecting piece through a roller.
优选的,所述卡接装置包括卡轴,所述第二支撑轴上凹槽,所述卡轴滑动卡接在凹槽内,所述凹槽内设有第三弹簧,所述第三弹簧与卡轴的一端固定连接,所述卡轴的另一端穿过开口。Preferably, the clamping device includes a clamping shaft, a groove on the second support shaft, the clamping shaft is slidably clamped in the groove, a third spring is arranged in the groove, and the third spring It is fixedly connected with one end of the clamping shaft, and the other end of the clamping shaft passes through the opening.
优选的,所述卡轴靠近第三弹簧的一端两侧设有限位块,所述凹槽内设有与限位块对应的限位槽,所述限位块与限位槽卡接。Preferably, a limit block is provided on both sides of one end of the clamping shaft close to the third spring, a limit groove corresponding to the limit block is arranged in the groove, and the limit block is clamped with the limit groove.
优选的,所述挡板与床板转动连接,所述挡板与床板的连接处套接有回力弹簧,所述吸盘的一侧通过螺纹轴与第一支撑轴螺纹连接。Preferably, the baffle is rotatably connected to the bed plate, a return spring is sleeved at the connection between the baffle and the bed plate, and one side of the suction cup is threadedly connected to the first support shaft through a threaded shaft.
优选的,所述横轴上设有保护层,所述保护层的材质为透明橡胶,所述第一支撑轴的一侧设有U型轴。Preferably, a protective layer is provided on the horizontal shaft, the material of the protective layer is transparent rubber, and a U-shaped shaft is provided on one side of the first support shaft.
与现有技术相比,本实用新型的有益效果是:该装置操作简单,通过床板、挡板、第一支撑轴、第二支撑轴和第三轴承轴的相互配合,患者可以自己操作起身坐到轮椅上,在情况允许的状态下,减少了医护人员的工作量,从而提供一种行动不便的临床患者专用病床。Compared with the prior art, the beneficial effect of the utility model is that the device is easy to operate, and the patient can operate by himself to get up and sit through the mutual cooperation of the bed board, the baffle, the first support shaft, the second support shaft and the third bearing shaft. When the situation allows, the workload of medical staff is reduced, thereby providing a special bed for clinical patients with limited mobility.
附图说明Description of drawings
图1为本实用新型提出的一种行动不便的临床患者专用病床的结构示意图;Fig. 1 is the structural representation of a kind of inconvenient clinical patient-specific hospital bed proposed by the utility model;
图2为图1中A处的结构示意图;Fig. 2 is the structural representation at A place in Fig. 1;
图3为图1中B处的结构示意图。FIG. 3 is a schematic diagram of the structure at B in FIG. 1 .
图中:1滚轮、2支撑腿、3底板、4床板、5第一弹簧、6横轴、7开口、8第二支撑轴、9第一支撑轴、10挡板、11连接件、12第二弹簧、13滑块、14滑槽、15吸盘、16第三支撑轴、17滑板、18卡轴、19第三弹簧。In the figure: 1 roller, 2 supporting legs, 3 bottom plate, 4 bed plate, 5 first spring, 6 horizontal axis, 7 opening, 8 second supporting axis, 9 first supporting axis, 10 baffle plate, 11 connecting piece, 12 first supporting axis Two springs, 13 sliders, 14 chute, 15 suction cups, 16 third support shafts, 17 slide plates, 18 card shafts, 19 third springs.
具体实施方式Detailed ways
下面将结合本实用新型实施例中的附图,对本实用新型实施例中的技术方案进行清楚、完整地描述,显然,所描述的实施例仅仅是本实用新型一部分实施例,而不是全部的实施例。The technical solutions in the embodiments of the present utility model will be clearly and completely described below with reference to the accompanying drawings in the embodiments of the present utility model. Obviously, the described embodiments are only a part of the embodiments of the present utility model, rather than all the implementations. example.
在本实用新型的描述中,需要理解的是,术语“上”、“下”、“前”、“后”、“左”、“右”、“顶”、“底”、“内”、“外”等指示的方位或位置关系为基于附图所示的方位或位置关系,仅是为了便于描述本实用新型和简化描述,而不是指示或暗示所指的装置或元件必须具有特定的方位、以特定的方位构造和操作,因此不能理解为对本实用新型的限制。In the description of the present invention, it should be understood that the terms "upper", "lower", "front", "rear", "left", "right", "top", "bottom", "inside", The orientation or positional relationship indicated by "outside" is based on the orientation or positional relationship shown in the accompanying drawings, which is only for the convenience of describing the present invention and simplifying the description, rather than indicating or implying that the indicated device or element must have a specific orientation , are constructed and operated in a specific orientation, and therefore should not be construed as a limitation of the present invention.
参照图1-3,一种行动不便的临床患者专用病床,包括床板4,床板4的两端对称设有挡板10,床板4的下方对称设有一对支撑腿2,支撑腿2的底部连接有滚轮1,支撑腿2靠近连接件11的一端转动连接有连接件11,滚轮1通过滚轴与连接件11转动卡接,在患者情况危急的时候需要直接患者连带病床一起移动,从而讲过连接件11与滚轮1转动连接,连接件11与支撑腿2转动连接,使得滚轮1可以自由方向转动,方便病床的转移,床板4的底部设有底板3,床板4一侧设有一对扶持结构,扶持机构与底板3滑动连接,扶持机构包括第一支撑轴9、第二支撑轴8和第三支撑轴16,第三支撑轴16的一侧固定连接有滑板17,滑板17滑动插设在底板3上,第二支撑轴8滑动插设在第三支撑轴16上,第一支撑轴9套接在第二支撑轴8的一端,第三支撑轴16内设有滑槽14,第二支撑轴8的两侧对称设有滑块13,滑块13与滑槽14滑动连接,滑槽14内设有第二弹簧12,第二弹簧12与滑块13固定连接,第二支撑轴8远离第一支撑轴9的一端连接有吸盘15,第一支撑轴9的上端设有横轴6,第一支撑轴9内设有第一弹簧5,第一弹簧5与第二支撑轴8固定连接,第二支撑轴8上设有多个卡接装置,第一支撑轴9上设有与卡接装置对应的开口7,挡板10与床板4转动连接,挡板10与床板4的连接处套接有回力弹簧,吸盘15的一侧通过螺纹轴与第一支撑轴9螺纹连接,常常由于患者治疗的需要,随时可能需要改变挡板10的角度,其中回力弹簧保证转动后角度的稳定,吸盘15的螺纹连接方便安装更换,卡接装置包括卡轴18,第二支撑轴8上凹槽,卡轴18滑动卡接在凹槽内,凹槽内设有第三弹簧19,第三弹簧19与卡轴18的一端固定连接,卡轴18的另一端穿过开口7,卡轴18在第三弹簧19的弹力作用下与开口7卡接固定,从而起到固定第一支撑轴9与第二支撑轴8相对位置的作用,横轴6上设有保护层,保护层的材质为透明橡胶,第一支撑轴9的一侧设有U型轴,患者在扶持横轴6的时候,透明橡胶能保证良好的摩擦力,同患者的的手可以扶着U型轴缓慢移动,卡轴18靠近第三弹簧19的一端两侧设有限位块,凹槽内设有与限位块对应的限位槽,限位块与限位槽卡接,限位块起到限位的作用,控制卡轴18的活动范围。1-3, a special hospital bed for clinical patients with inconvenience, including a bed board 4, two ends of the bed board 4 are symmetrically provided with
本实用新型中,使用者使用该装置时,通过滑板17将第二支撑轴8顺着底板3移动到合适的位置,按动一侧的卡轴18,使得卡轴18收入第二支撑轴8内,第一支撑轴9和第二支撑轴8相对可移动,在第一弹簧5的弹力作用下,使得卡轴18可以与第一支撑轴9上端的开口7卡接固定,相对移动第二支撑轴8与第三支撑轴16之间的位置,使得吸盘15与地面接触固定,从而第一支撑轴9和第二支撑轴8形成可扶持的结构,将轮椅放在两个第二支撑轴8之间,患者双臂扶住该结构,缓慢将身体移动到轮椅上。In the present invention, when using the device, the user moves the
以上所述,仅为本实用新型较佳的具体实施方式,但本实用新型的保护范围并不局限于此,任何熟悉本技术领域的技术人员在本实用新型揭露的技术范围内,根据本实用新型的技术方案及其实用新型构思加以等同替换或改变,都应涵盖在本实用新型的保护范围之内。The above descriptions are only the preferred specific embodiments of the present invention, but the protection scope of the present invention is not limited to this. Equivalent replacement or modification of the new technical solution and its utility model concept shall be included within the protection scope of the present utility model.
Claims (6)
Priority Applications (1)
| Application Number | Priority Date | Filing Date | Title |
|---|---|---|---|
| CN201821393485.5U CN211244216U (en) | 2018-08-28 | 2018-08-28 | A dedicated hospital bed for clinical patients with inconvenience |
Applications Claiming Priority (1)
| Application Number | Priority Date | Filing Date | Title |
|---|---|---|---|
| CN201821393485.5U CN211244216U (en) | 2018-08-28 | 2018-08-28 | A dedicated hospital bed for clinical patients with inconvenience |
Publications (1)
| Publication Number | Publication Date |
|---|---|
| CN211244216U true CN211244216U (en) | 2020-08-14 |
Family
ID=71950943
Family Applications (1)
| Application Number | Title | Priority Date | Filing Date |
|---|---|---|---|
| CN201821393485.5U Expired - Fee Related CN211244216U (en) | 2018-08-28 | 2018-08-28 | A dedicated hospital bed for clinical patients with inconvenience |
Country Status (1)
| Country | Link |
|---|---|
| CN (1) | CN211244216U (en) |
Cited By (1)
| Publication number | Priority date | Publication date | Assignee | Title |
|---|---|---|---|---|
| CN112043519A (en) * | 2020-10-10 | 2020-12-08 | 孙艳丽 | Rehabilitation and nursing bed after caesarean section |
-
2018
- 2018-08-28 CN CN201821393485.5U patent/CN211244216U/en not_active Expired - Fee Related
Cited By (1)
| Publication number | Priority date | Publication date | Assignee | Title |
|---|---|---|---|---|
| CN112043519A (en) * | 2020-10-10 | 2020-12-08 | 孙艳丽 | Rehabilitation and nursing bed after caesarean section |
Similar Documents
| Publication | Publication Date | Title |
|---|---|---|
| CN211244216U (en) | A dedicated hospital bed for clinical patients with inconvenience | |
| CN209770750U (en) | Special department of neurology nursing device night | |
| CN202568683U (en) | Automatic nursing bed | |
| CN107467876A (en) | A kind of multifunctional assisting device in hospital ward | |
| CN110495994A (en) | A kind of paediatrics patient with severe symptoms monitor device | |
| CN211300823U (en) | A device for turning over a bedridden patient | |
| CN114797004A (en) | Rehabilitation nursing chair capable of exercising legs | |
| CN210096161U (en) | Department of neurology nurses bed | |
| CN211095453U (en) | A medical bed that is easy to move | |
| CN209107964U (en) | A gynecological nursing multifunctional nursing rack | |
| CN213311448U (en) | Supporting and walking aid device for orthopedics department | |
| CN213346682U (en) | Ambition surgery postoperative helps capable ware | |
| CN108309621A (en) | A kind of multi-functional nasal feeding patient hospital bed | |
| CN211461062U (en) | Medical care removes rehabilitation training device | |
| CN210612432U (en) | Limb dressing change support | |
| CN206324963U (en) | A kind of internal medicine multi-angle regulation is nursing hospital bed | |
| CN209316394U (en) | A kind of auxiliary paralysed patient swing hospital bed | |
| CN208599087U (en) | A kind of orthopedic rehabilitation leg's telescopic mechanism | |
| CN215307649U (en) | Old person nursing position transformation assisting device | |
| CN207627461U (en) | A kind of emergency surgery neck fixing device | |
| CN209984473U (en) | Nursing bed for first aid | |
| CN221617792U (en) | Walking aid for rehabilitation nursing | |
| CN205379441U (en) | Special walking stick of patient | |
| CN220424475U (en) | An exercise device for clinical nursing in cardiovascular medicine | |
| CN216798055U (en) | Nursing wheelchair convenient for fixing limbs |
Legal Events
| Date | Code | Title | Description |
|---|---|---|---|
| GR01 | Patent grant | ||
| GR01 | Patent grant | ||
| CF01 | Termination of patent right due to non-payment of annual fee |
Granted publication date: 20200814 Termination date: 20210828 |
|
| CF01 | Termination of patent right due to non-payment of annual fee |
