CN211176554U - A multifunctional LED wall light - Google Patents
A multifunctional LED wall light Download PDFInfo
- Publication number
- CN211176554U CN211176554U CN201922037677.3U CN201922037677U CN211176554U CN 211176554 U CN211176554 U CN 211176554U CN 201922037677 U CN201922037677 U CN 201922037677U CN 211176554 U CN211176554 U CN 211176554U
- Authority
- CN
- China
- Prior art keywords
- lampshade
- connecting bar
- slider
- line connecting
- led wall
- Prior art date
- Legal status (The legal status is an assumption and is not a legal conclusion. Google has not performed a legal analysis and makes no representation as to the accuracy of the status listed.)
- Expired - Fee Related
Links
Images
Landscapes
- Non-Portable Lighting Devices Or Systems Thereof (AREA)
Abstract
本实用新型公开一种多功能LED壁灯,属于灯具技术领域,包括固定板,所述固定板的内部开设有滑槽,且滑槽的内部设置有滑块,所述滑槽与滑块之间设置有固定机构,所述滑块靠近固定板的两侧对称设置有第一线连接条,且滑槽的内侧对称设置有与第一线连接条相配合的第二线连接条,所述第一线连接条与第二线连接条贴合,所述滑块上固定安装有安装板。本实用新型通过固定板上的滑块与安装板上的滑块配合使用,使得装置在使用的过程中能够进行拆卸,且利用安装板内部的蓄电池,采用蓄电池为LED灯进行供电,使得装置能够进行拆卸单独使用,方便在户外进行照明,提高了装置的功能性。
The utility model discloses a multifunctional LED wall lamp, belonging to the technical field of lamps. A fixing mechanism is provided, a first line connecting bar is symmetrically arranged on both sides of the slider close to the fixing plate, and a second line connecting bar matched with the first line connecting bar is symmetrically arranged on the inner side of the chute. The line connecting strip is attached to the second line connecting strip, and a mounting plate is fixedly installed on the slider. The utility model uses the slider on the fixing plate in cooperation with the slider on the installation plate, so that the device can be disassembled in the process of use, and the battery inside the installation plate is used to supply power to the LED lamp, so that the device can It can be disassembled and used alone, which is convenient for outdoor lighting and improves the functionality of the device.
Description
技术领域technical field
本实用新型涉及一种壁灯,特别是涉及一种多功能LED壁灯,属于灯具技术领域。The utility model relates to a wall lamp, in particular to a multifunctional LED wall lamp, which belongs to the technical field of lamps.
背景技术Background technique
壁灯是安装在室内墙壁上的辅助照明装置灯具,一般多配用灯罩,光线淡雅和谐,可把环境点缀的优雅、富丽,尤以新婚居室特别适合,因此被广泛的使用,但现有的壁灯在使用的过程中,功能较为单一,且采用固定安装的方式,无法进行调节与拆卸使用,另外灯罩的样式固定,实用性较低,因此,本实用新型提出一种多功能LED壁灯以解决现有技术中存在的问题。The wall lamp is an auxiliary lighting fixture installed on the indoor wall. Generally, it is equipped with a lampshade, and the light is elegant and harmonious, which can decorate the environment with elegance and splendor. It is especially suitable for the newlywed room, so it is widely used. In the process of use, the function is relatively single, and the fixed installation method is adopted, which cannot be adjusted and disassembled for use. In addition, the style of the lampshade is fixed, and the practicability is low. Therefore, the utility model proposes a multi-functional LED wall lamp to solve the problem of existing There are technical problems.
实用新型内容Utility model content
本实用新型的主要目的是为了提供一种多功能LED壁灯,以解决现有技术中无法进行位置调节与拆卸,且灯罩样式固定的问题。The main purpose of the present utility model is to provide a multifunctional LED wall lamp to solve the problems in the prior art that the position adjustment and disassembly cannot be performed and the lampshade style is fixed.
本实用新型的目的可以通过采用如下技术技术方案达到:The purpose of this utility model can be achieved by adopting the following technical solutions:
一种多功能LED壁灯,包括固定板,所述固定板的内部开设有滑槽,且滑槽的内部设置有滑块,所述滑槽与滑块之间设置有固定机构,所述滑块靠近固定板的两侧对称设置有第一线连接条,且滑槽的内侧对称设置有与第一线连接条相配合的第二线连接条,所述第一线连接条与第二线连接条贴合,所述滑块上固定安装有安装板,且安装板的内部固定有蓄电池,所述安装板的外侧设置有灯罩,且灯罩的内部设置有LED灯,所述第一线连接条通过导线与蓄电池连通,且蓄电池通过导线与LED灯连通。A multifunctional LED wall lamp, comprising a fixing plate, a chute is provided inside the fixing plate, a sliding block is arranged inside the sliding groove, a fixing mechanism is arranged between the sliding groove and the sliding block, and the sliding block is A first line connecting bar is symmetrically arranged on both sides near the fixing plate, and a second line connecting bar matched with the first line connecting bar is symmetrically arranged on the inner side of the chute, and the first line connecting bar and the second line connecting bar are affixed to each other. In combination, a mounting plate is fixedly installed on the slider, a battery is fixed inside the mounting plate, a lampshade is arranged on the outer side of the mounting plate, and an LED lamp is arranged inside the lampshade, and the first wire connecting bar passes through a wire It is connected with the battery, and the battery is connected with the LED lamp through a wire.
优选的:所述灯罩的两侧对称设置有存储筒,且存储筒的内部安装有转杆,所述转杆的外侧皆缠绕有灯罩塑料膜,两组所述存储筒内部的灯罩塑料膜覆盖灯罩的外侧并固定连接,所述转杆的顶部延伸至存储筒的外侧,且转杆的顶部固定有调节旋钮。Preferably: storage cylinders are symmetrically arranged on both sides of the lampshade, and a rotating rod is installed inside the storage cylinder, the outer sides of the rotating rods are all wrapped with lampshade plastic films, and the lampshade plastic films inside the two sets of storage cylinders are covered The outer side of the lampshade is fixedly connected, the top of the rotating rod extends to the outer side of the storage cylinder, and the top of the rotating rod is fixed with an adjustment knob.
优选的:所述固定机构包括安装槽、卡块和卡槽,所述安装槽位于滑块的内部,且安装槽的开口朝向固定板,所述安装槽的内部固定有压簧,且压簧朝向安装槽开口的一端固定有卡块,所述滑槽的内侧均匀开设有与卡块相配合的卡槽。Preferably: the fixing mechanism includes an installation groove, a clamping block and a clamping groove, the installation groove is located inside the slider, and the opening of the installation groove faces the fixing plate, a compression spring is fixed inside the installation groove, and the compression spring The opening end of the installation slot is fixed with a clamping block, and the inner side of the sliding groove is evenly provided with clamping grooves matched with the clamping block.
优选的:所述灯罩塑料膜包括光洁面、磨砂面和条纹面,所述光洁面的一侧设置有磨砂面,且磨砂面远离光洁面的一侧设置有条纹面,所述条纹面远离磨砂面的一侧设置有图形面。Preferably: the lampshade plastic film includes a smooth surface, a frosted surface and a striped surface, one side of the smooth surface is provided with a frosted surface, and the side of the frosted surface away from the smooth surface is provided with a striped surface, and the striped surface is far away from the frosted surface. One side of the face is provided with a graphic face.
优选的:所述卡块的形状为直角三角形,且卡块的斜面朝向远离蓄电池的一侧。Preferably: the shape of the blocking block is a right triangle, and the inclined surface of the blocking block faces the side away from the battery.
优选的:所述第一线连接条的外侧设置有弹性翘片。Preferably, an elastic warping piece is provided on the outer side of the first wire connecting bar.
本实用新型的有益效果为:The beneficial effects of the present utility model are:
本实用新型提供的一种多功能LED壁灯,通过固定板上的滑块与安装板上的滑块配合使用,使得装置在使用的过程中能够进行拆卸,且利用安装板内部的蓄电池,采用蓄电池为LED灯进行供电,使得装置能够进行拆卸单独使用,方便在户外进行照明,提高了装置的功能性,存储筒内部之间灯罩塑料膜的设置,通过灯罩塑料膜上多种板面的更换,能够调节灯光的样式与亮度,提高了装置的功能性与实用性。The utility model provides a multifunctional LED wall lamp. The slider on the fixing plate is used in conjunction with the slider on the mounting plate, so that the device can be disassembled during use, and the storage battery inside the mounting plate is used. Powering the LED lights enables the device to be disassembled and used alone, which is convenient for outdoor lighting, and improves the functionality of the device. The style and brightness of the light can be adjusted, which improves the functionality and practicability of the device.
附图说明Description of drawings
图1为本实用新型的立体结构图;Fig. 1 is the three-dimensional structure diagram of the utility model;
图2为本实用新型的固定板剖视图;Fig. 2 is the sectional view of the fixing plate of the utility model;
图3为本实用新型的存储罐内部示意图;Fig. 3 is the internal schematic diagram of the storage tank of the present invention;
图4为本实用新型的固定机构示意图;4 is a schematic diagram of a fixing mechanism of the present invention;
图5为本实用新型的灯罩塑料膜示意图。FIG. 5 is a schematic diagram of the lampshade plastic film of the present invention.
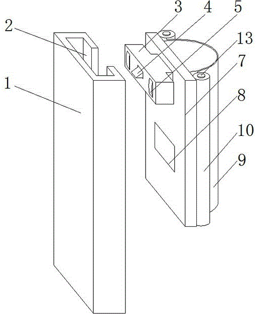
图中:1-固定板,2-滑槽,3-滑块,4-固定机构,5-第一线连接条,6-第二线连接条,7-安装板,8-蓄电池,9-灯罩,10-存储筒,11-转杆,12-灯罩塑料膜,13-调节旋钮,14-安装槽,15-压簧,16-卡块,17-卡槽,18-光洁面,19-磨砂面,20-条纹面,21-图形面。In the picture: 1-Fixing plate, 2-Chute, 3-Slider, 4-Fixing mechanism, 5-First line connecting bar, 6-Second line connecting bar, 7-Installation plate, 8- Battery, 9- Lampshade , 10-storage cylinder, 11-rotating rod, 12-lampshade plastic film, 13-adjusting knob, 14-installation slot, 15-compression spring, 16-block, 17-card slot, 18-smooth surface, 19- frosted face, 20-stripe face, 21- figure face.
具体实施方式Detailed ways
为使本技术领域人员更加清楚和明确本实用新型的技术方案,下面结合实施例及附图对本实用新型作进一步详细的描述,但本实用新型的实施方式不限于此。In order to make the technical solution of the present utility model clearer and clearer to those skilled in the art, the present utility model is described in further detail below with reference to the embodiments and the accompanying drawings, but the embodiments of the present utility model are not limited thereto.
如图1-图5所示,本实施例提供了一种多功能LED壁灯,包括固定板1,固定板1的内部开设有滑槽2,且滑槽2的内部设置有滑块3,滑槽2与滑块3之间设置有固定机构4,滑块3靠近固定板1的两侧对称设置有第一线连接条5,且滑槽2的内侧对称设置有与第一线连接条5相配合的第二线连接条6,第一线连接条5与第二线连接条6贴合,滑块3上固定安装有安装板7,且安装板7的内部固定有蓄电池8,安装板7的外侧设置有灯罩9,且灯罩9的内部设置有LED灯,第一线连接条5通过导线与蓄电池8连通,且蓄电池8通过导线与LED灯连通。As shown in FIG. 1-FIG. 5, this embodiment provides a multi-functional LED wall lamp, including a
在本实施例中,如图1所示,灯罩9的两侧对称设置有存储筒10,且存储筒10的内部安装有转杆11,转杆11的外侧皆缠绕有灯罩塑料膜12,两组存储筒10内部的灯罩塑料膜12覆盖灯罩9的外侧并固定连接,转杆11的顶部延伸至存储筒10的外侧,且转杆11的顶部固定有调节旋钮13,转动其中一组转杆11对灯罩塑料膜12进行收缩,改变灯罩塑料膜12的位置,调节灯光。In this embodiment, as shown in FIG. 1 ,
在本实施例中,如图1所示,固定机构4包括安装槽14、卡块16和卡槽17,安装槽14位于滑块3的内部,且安装槽14的开口朝向固定板1,安装槽14的内部固定有压簧15,且压簧15朝向安装槽14开口的一端固定有卡块16,滑槽2的内侧均匀开设有与卡块16相配合的卡槽17,滑块3在滑槽2的内部从下向上滑动时,由于滑动过程中卡块16经过卡槽17水平面上时,压簧15推动卡块16伸入到卡槽17的内部对装置进行固定,继而改变灯罩9的位置。In this embodiment, as shown in FIG. 1 , the
在本实施例中,如图1所示,灯罩塑料膜12包括光洁面18、磨砂面19和条纹面20,光洁面18的一侧设置有磨砂面19,且磨砂面19远离光洁面18的一侧设置有条纹面20,条纹面20远离磨砂面19的一侧设置有图形面21,通过对光洁面18、磨砂面19、条纹面20、图形面21位置的改变,调节灯光的样式与光照的亮度。In this embodiment, as shown in FIG. 1 , the lampshade
在本实施例中,如图1所示,卡块16的形状为直角三角形,且卡块16的斜面朝向远离蓄电池8的一侧,方便对装置进行安装,且固定牢固。In this embodiment, as shown in FIG. 1 , the
在本实施例中,如图1所示,第一线连接条5的外侧设置有弹性翘片,确保在使用的过程中第一连接条5与第二连接条6能够贴合,提高了连接的稳定性。In this embodiment, as shown in FIG. 1 , the outer side of the first
如图1-图5所示,本实施例提供了一种多功能LED壁灯的工作过程如下:As shown in Figures 1-5, the working process of a multifunctional LED wall lamp provided in this embodiment is as follows:
步骤1:将固定板1安装在墙体上,并将滑块3从固定板1底部的滑槽2内部向上滑动,由于卡块16的斜面朝上,因此向上滑动的过程中卡块16能够收缩至安装槽14的内部,在经过卡槽17位置处时,利用压簧15的推送作用,能够将卡块16伸入到卡槽17的内部,对安装板7的位置进行限位,另外由于卡块16的底部与卡槽17的内底部平行,因此安装板7上的重量施加在卡块16时,卡块16不受水平推力,确保安装板7位置的稳定,同时在滑块3划入滑槽2内部之后,第一连接线5与第二连接线6贴合,装置内部线路连通,接通电源后,先对蓄电池8进行充电,蓄电池8对LED灯进行供电;Step 1: Install the
步骤2:壁灯的使用过程中,通过转动转杆11改变灯罩塑料膜12的位置,将光洁面18、磨砂面19、条纹面20、图形面21在灯罩的外侧进行转换,改变灯光的亮度与映射的图案;Step 2: During the use of the wall lamp, change the position of the
步骤3:外出时,将滑块3从滑槽2的内部拖出,蓄电池8直接对LED灯进行供电,进行照明使用。Step 3: When going out, drag the
以上所述,仅为本实用新型进一步的实施例,但本实用新型的保护范围并不局限于此,任何熟悉本技术领域的技术人员在本实用新型所公开的范围内,根据本实用新型的技术方案及其构思加以等同替换或改变,都属于本实用新型的保护范围。The above are only further embodiments of the present utility model, but the protection scope of the present utility model is not limited thereto. Equivalent replacement or modification of the technical solutions and their concepts all belong to the protection scope of the present invention.
Claims (6)
Priority Applications (1)
| Application Number | Priority Date | Filing Date | Title |
|---|---|---|---|
| CN201922037677.3U CN211176554U (en) | 2019-11-22 | 2019-11-22 | A multifunctional LED wall light |
Applications Claiming Priority (1)
| Application Number | Priority Date | Filing Date | Title |
|---|---|---|---|
| CN201922037677.3U CN211176554U (en) | 2019-11-22 | 2019-11-22 | A multifunctional LED wall light |
Publications (1)
| Publication Number | Publication Date |
|---|---|
| CN211176554U true CN211176554U (en) | 2020-08-04 |
Family
ID=71806609
Family Applications (1)
| Application Number | Title | Priority Date | Filing Date |
|---|---|---|---|
| CN201922037677.3U Expired - Fee Related CN211176554U (en) | 2019-11-22 | 2019-11-22 | A multifunctional LED wall light |
Country Status (1)
| Country | Link |
|---|---|
| CN (1) | CN211176554U (en) |
Cited By (1)
| Publication number | Priority date | Publication date | Assignee | Title |
|---|---|---|---|---|
| CN112951105A (en) * | 2021-02-05 | 2021-06-11 | 深圳市信合光电照明有限公司 | Combined grid screen mounting bracket and combined grid screen |
-
2019
- 2019-11-22 CN CN201922037677.3U patent/CN211176554U/en not_active Expired - Fee Related
Cited By (1)
| Publication number | Priority date | Publication date | Assignee | Title |
|---|---|---|---|---|
| CN112951105A (en) * | 2021-02-05 | 2021-06-11 | 深圳市信合光电照明有限公司 | Combined grid screen mounting bracket and combined grid screen |
Similar Documents
| Publication | Publication Date | Title |
|---|---|---|
| CN211176554U (en) | A multifunctional LED wall light | |
| CN211821785U (en) | Down lamp with prevent blue light lamp shade | |
| CN211952489U (en) | Embedded spotlight capable of being adjusted in large angle | |
| CN211399529U (en) | Down lamp with side light-emitting source | |
| CN209782363U (en) | LED wall lamp with self-cleaning function | |
| CN209294978U (en) | A waterproof LED lamp | |
| CN212644383U (en) | LED energy-saving lamp with excellent heat dissipation performance | |
| CN219346304U (en) | Stable type ceiling spotlight with adjustable brightness | |
| CN210567299U (en) | Support frame with good stability for photography | |
| CN221570188U (en) | A portable ceiling bracket for indoor architectural decoration | |
| CN208687523U (en) | A kind of trunk lamp with multidirectional regulating function | |
| CN221444096U (en) | LED panel light convenient to installation | |
| CN217197612U (en) | Three-dimensional picture with night lamp | |
| CN206918658U (en) | A kind of combined lamp | |
| CN215570002U (en) | LED illuminating lamp with wire hiding function | |
| CN205331979U (en) | LED projection lamp | |
| CN214119805U (en) | Special lamp for three-sided luminous bridge | |
| CN212057064U (en) | Landscape lamp convenient to installation location | |
| CN223636038U (en) | Quick-connection structure for lighting lamp | |
| CN212231890U (en) | City Lighting Controls | |
| CN213019491U (en) | Fixing joint structure of engine lamp | |
| CN221724020U (en) | A night scene lighting linkage control device | |
| CN209514270U (en) | A kind of self-service light filling mechanism of taking pictures | |
| CN222747178U (en) | Decorative lamp string | |
| CN221966517U (en) | A stamping forming device for lamp housing |
Legal Events
| Date | Code | Title | Description |
|---|---|---|---|
| GR01 | Patent grant | ||
| GR01 | Patent grant | ||
| CF01 | Termination of patent right due to non-payment of annual fee |
Granted publication date: 20200804 Termination date: 20201122 |
|
| CF01 | Termination of patent right due to non-payment of annual fee |
