CN211081810U - Two-way drive belt rope shared electric energy storage pumping unit - Google Patents
Two-way drive belt rope shared electric energy storage pumping unit Download PDFInfo
- Publication number
- CN211081810U CN211081810U CN201920434411.XU CN201920434411U CN211081810U CN 211081810 U CN211081810 U CN 211081810U CN 201920434411 U CN201920434411 U CN 201920434411U CN 211081810 U CN211081810 U CN 211081810U
- Authority
- CN
- China
- Prior art keywords
- rope
- drive assembly
- motor drive
- guide wheel
- pumping unit
- Prior art date
- Legal status (The legal status is an assumption and is not a legal conclusion. Google has not performed a legal analysis and makes no representation as to the accuracy of the status listed.)
- Active
Links
Images
Landscapes
- Emergency Lowering Means (AREA)
Abstract
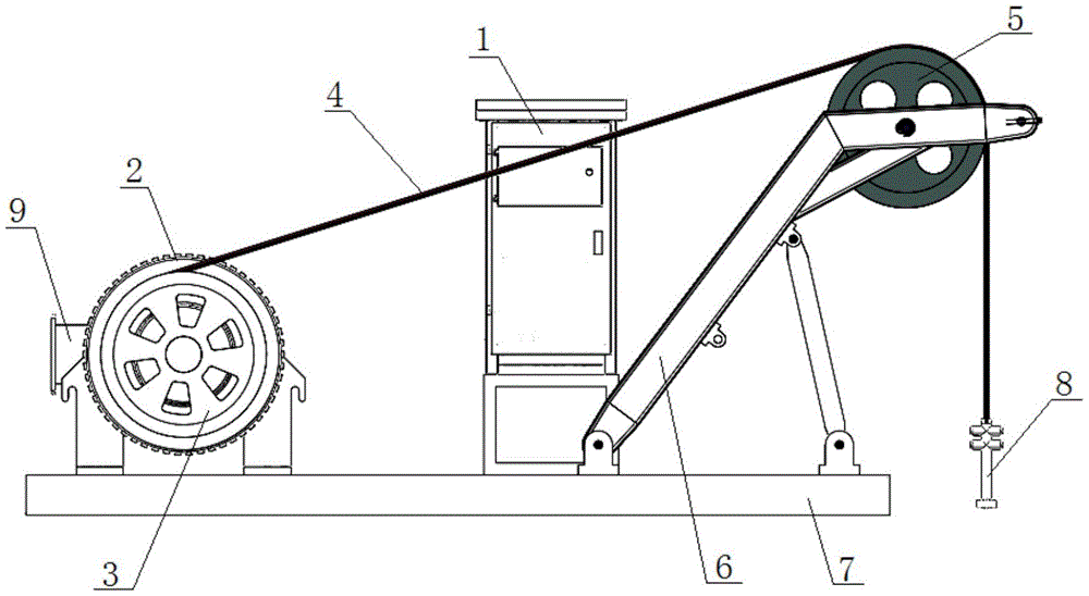
本实用新型涉及一种双向驱动带绳共用型电储能抽油机,包含底座(7),所述底座(7)上固定安装有电气控制系统(1)、电机驱动组件(2)和导轮支架(6);所述电气控制系统(1)与电机驱动组件(2)之间通过铠装电缆传输信号,通过电气控制系统(1)来控制电机驱动组件(2)的正反转;所述电机驱动组件(2)上安装有带绳双用卷绕筒(3),所述带绳双用卷绕筒(3)上卷绕有牵引绳(4);所述导轮支架(6)上设置有带绳双用导轮(5),牵引绳(4)通过带绳双用导轮(5)导向后绳头与抽油杆(8)连接;本实用新型结构简单、牵引钢绳或钢带之间方便交替互换,是一种新型无机械平衡配重的、轻量化、长冲程、低冲次直接驱动抽油机。
The utility model relates to a two-way drive belt-rope sharing type electric energy storage pumping unit, comprising a base (7) on which an electrical control system (1), a motor drive assembly (2) and a guide are fixedly mounted. A wheel bracket (6); a signal is transmitted between the electrical control system (1) and the motor drive assembly (2) through an armored cable, and the forward and reverse rotation of the motor drive assembly (2) is controlled by the electrical control system (1); The motor drive assembly (2) is provided with a double-purpose winding drum (3) with a rope, and a traction rope (4) is wound on the double-purpose winding drum (3); the guide wheel bracket ( 6) There is a double-purpose guide wheel (5) with a rope on it, and the traction rope (4) is guided through the double-purpose guide wheel (5) with a rope and is connected to the sucker rod (8). It is a new type of direct drive pumping unit without mechanical balance weight, light weight, long stroke and low stroke.
Description
技术领域technical field
本实用新型涉及一种双向驱动带绳共用型电储能抽油机,属于陆地油田采油技术领域。The utility model relates to a two-way drive belt-rope shared electric energy storage pumping unit, which belongs to the technical field of oil extraction in onshore oil fields.
背景技术Background technique
油田目前在用的往复式深井泵抽油机,主要有游梁式和塔架式两种形式,无论上面哪种形式的抽油机,目前都存在着诸多问题,例如体型过大、能耗高、冲程短、冲次多。随着油田开发的进一步发展和需求,特别是低渗、难采储油的大幅开发,对抽油机的工作参数提出了新的要求,常规游梁式抽油机无法实现超低的冲次要求。塔架式抽油机由于其驱动装置安装在塔架顶端,无论是在设备的运行维护和安装运输等方面,也都存在着很多困难。特别是对于长冲程、低冲次的要求,现行的游梁式抽油机已无法更好地满足油田的实际需求;同时,传统的游梁式抽油机在生产过程中,根据实际工况,会选择不同的牵引装置,如钢绳或钢带,两者更换过程相当麻烦,需要停机更换相应导向部件,或者改变其工作方式,费时费力。The reciprocating deep well pumping units currently used in the oil field mainly have two forms: beam type and tower type. No matter which type of pumping unit is used above, there are currently many problems, such as excessive size and energy consumption. High, short stroke, many strokes. With the further development and demand of oilfield development, especially the large-scale development of low-permeability and difficult-to-recover oil storage, new requirements are put forward for the working parameters of pumping units. Conventional beam pumping units cannot achieve ultra-low stroke times. Require. The tower-type pumping unit also has many difficulties in terms of equipment operation, maintenance, installation and transportation because its driving device is installed on the top of the tower. Especially for the requirements of long stroke and low stroke, the current beam pumping unit can no longer meet the actual needs of the oil field. , will choose different traction devices, such as steel ropes or steel belts, the replacement process of the two is quite troublesome, and it is necessary to stop the machine to replace the corresponding guiding components, or change its working mode, which is time-consuming and labor-intensive.
发明内容SUMMARY OF THE INVENTION
本实用新型的目的在于克服上述不足,提供一种结构紧凑、牵引钢绳或钢带之间方便切换,能耗低、轻量化、长冲程、低冲次的双向驱动带绳共用型电储能抽油机。The purpose of the utility model is to overcome the above shortcomings, and to provide a two-way driving belt rope shared electric energy storage device with compact structure, convenient switching between traction steel ropes or steel belts, low energy consumption, light weight, long stroke and low stroke times. oil pump.
本实用新型的目的是这样实现的:The purpose of this utility model is achieved in this way:
一种双向驱动带绳共用型电储能抽油机,包含底座,所述底座上固定安装有电气控制系统、电机驱动组件和导轮支架;所述电气控制系统与电机驱动组件之间通过铠装电缆传输信号,通过电气控制系统来控制电机驱动组件的正反转;所述电机驱动组件上安装有带绳双用卷绕筒,所述带绳双用卷绕筒上卷绕有牵引绳;所述导轮支架上设置有带绳双用导轮,牵引绳通过带绳双用导轮导向后绳头与抽油杆连接;A two-way drive belt-rope sharing type electric energy storage pumping unit, comprising a base on which an electrical control system, a motor drive assembly and a guide wheel bracket are fixedly mounted; the electric control system and the motor drive assembly pass through an armored A cable is installed to transmit signals, and the forward and reverse rotation of the motor drive assembly is controlled by an electrical control system; the motor drive assembly is equipped with a dual-purpose winding drum with a rope, and a traction rope is wound on the dual-purpose winding drum with a belt and rope. The guide wheel bracket is provided with a dual-purpose guide wheel with a rope, and the traction rope is guided by the dual-purpose guide wheel with a rope and is connected with the sucker rod;
本实用新型一种双向驱动带绳共用型电储能抽油机,所述电机驱动组件可直接采用可直驱的永磁复合电机,或由电机和减速机组成,所述电机的驱动轴与减速机相连接;上述永磁复合电机或减速机的输出轴与带绳双用卷绕筒固定连接;The utility model is a two-way drive belt-rope shared electric energy storage pumping unit. The motor drive component can directly use a permanent magnet composite motor that can be directly driven, or is composed of a motor and a reducer. The drive shaft of the motor is connected to The reducer is connected with each other; the output shaft of the above-mentioned permanent magnet composite motor or reducer is fixedly connected with the double-purpose winding drum with rope;
本实用新型一种双向驱动带绳共用型电储能抽油机,所述牵引绳可以为钢丝绳或钢带;The utility model relates to a two-way driving belt rope shared electric energy storage pumping unit, and the traction rope can be a steel wire rope or a steel belt;
本实用新型一种双向驱动带绳共用型电储能抽油机,所述带绳双用卷绕筒的筒体为光滑面,筒体上设置有侧向钢绳固定位置和径向钢带固定孔槽;The utility model relates to a two-way drive belt rope shared electric energy storage pumping unit. The cylinder body of the belt rope dual-purpose winding drum is a smooth surface, and a lateral steel rope fixing position and a radial steel belt are arranged on the cylinder body. fixed hole;
本实用新型一种双向驱动带绳共用型电储能抽油机,所述带绳双用导轮的轮体表面为光滑面,轮体的中间开有沿其径向设置的环形绳槽;The utility model relates to a two-way drive belt rope shared electric energy storage pumping unit. The surface of the wheel body of the belt rope dual-purpose guide pulley is a smooth surface, and the middle of the wheel body is provided with an annular rope groove arranged along the radial direction;
本实用新型一种双向驱动带绳共用型电储能抽油机,所述电机上设置有制动刹车,所述制动刹车在抽油机停止运作时锁死电机。The utility model relates to a two-way drive belt-rope shared electric energy storage pumping unit. The motor is provided with a braking brake, and the braking brake locks the motor when the pumping unit stops operating.
与现有技术相比,本实用新型的有益效果是:Compared with the prior art, the beneficial effects of the present utility model are:
本实用新型通过使用牵引绳代替光杆带动抽油杆完成抽油动作,通过导轮将牵引绳的横向往复运动调整为垂直的上下往复运动,有效地解决了传统的抽油机冲程短、冲次多的问题;通过在导轮光面上制作出沟槽,沟槽用于引导钢绳,光面用于牵引钢带;在滚筒上制作有侧向钢绳固定位置和径向钢带固定孔槽,使得钢绳和钢带在互换过程中无需停机更换相应导向部件,或者改变其工作方式,方便快捷,提高了生产效率;利用永磁电机和电气控制系统,实施电能的利用和转化,取消了机械平衡装置,降低了能耗。The utility model uses the traction rope instead of the polished rod to drive the sucker rod to complete the pumping action, and adjusts the lateral reciprocating motion of the traction rope to the vertical up-and-down reciprocating motion through the guide wheel, which effectively solves the problem that the traditional pumping unit has short strokes and frequent strokes. There are many problems; by making grooves on the smooth surface of the guide wheel, the grooves are used to guide the steel rope, and the smooth surface is used to pull the steel belt; there are lateral steel rope fixing positions and radial steel belt fixing holes on the drum. The groove makes the steel rope and steel belt do not need to stop to replace the corresponding guiding components during the exchange process, or change its working mode, which is convenient and quick, and improves the production efficiency; the use of permanent magnet motor and electrical control system is used to implement the utilization and conversion of electric energy, The mechanical balancing device is cancelled, reducing energy consumption.
附图说明Description of drawings
图1为本实用新型一种双向驱动带绳共用型电储能抽油机的结构示意图。Fig. 1 is a structural schematic diagram of a bidirectional driving belt-rope shared electric energy storage pumping unit of the present invention.
图2为本实用新型一种双向驱动带绳共用型电储能抽油机的带绳双用导轮结构示意图。FIG. 2 is a schematic structural diagram of a dual-purpose guide pulley with a rope of a bidirectional drive belt-rope shared type electric energy storage pumping unit of the present invention.
其中:in:
电气控制系统1、电机驱动组件2、带绳双用卷绕筒3、牵引绳4、带绳双用导轮5、导轮支架6、底座7、抽油杆8、制动刹车9。Electrical control system 1, motor drive assembly 2, dual-purpose winding drum 3, traction rope 4, dual-purpose guide wheel 5,
具体实施方式Detailed ways
参见图1~2,本实用新型涉及的一种双向驱动带绳共用型电储能抽油机,包含底座7,所述底座7上固定安装有电气控制系统1、电机驱动组件2和导轮支架6;所述电气控制系统1与电机驱动组件2之间通过铠装电缆传输信号,通过电气控制系统1来控制电机驱动组件2的正反转;所述电机驱动组件2上安装有带绳双用卷绕筒3,所述带绳双用卷绕筒3上卷绕有牵引绳4;所述导轮支架6上设置有带绳双用导轮5,牵引绳4通过带绳双用导轮5导向后绳头与抽油杆8连接;Referring to Figures 1 to 2, the utility model relates to a two-way drive belt-rope sharing type electric energy storage pumping unit, comprising a
进一步的,所述电机驱动组件2包含电机和减速机,所述电机的驱动轴与减速机相连接;上述减速机的输出轴与带绳双用卷绕筒3固定连接;Further, the motor drive assembly 2 includes a motor and a speed reducer, and the drive shaft of the motor is connected with the speed reducer; the output shaft of the speed reducer is fixedly connected to the dual-purpose winding drum 3 with a rope;
优选的,所述电机为永磁复合电机,所述永磁复合电机带动带绳双用卷绕筒3对牵引绳4进行送放和收绕;Preferably, the motor is a permanent magnet composite motor, and the permanent magnet composite motor drives the belt rope dual-purpose winding drum 3 to deliver and wind the traction rope 4;
优选的,所述牵引绳4可以为钢丝绳或钢带;Preferably, the traction rope 4 can be a steel wire rope or a steel belt;
进一步的,所述带绳双用卷绕筒3的筒体表面为光滑面,筒体上设置有侧向钢绳固定位置和径向钢带固定孔槽,便于钢带和钢绳的替换使用;Further, the surface of the cylinder body of the double-purpose winding drum 3 is a smooth surface, and the cylinder body is provided with a lateral steel rope fixing position and a radial steel belt fixing hole groove, which is convenient for the replacement of the steel belt and the steel rope. ;
进一步的,所述带绳双用导轮5的轮体表面为光滑面,轮体的中间开有沿其径向设置的环形绳槽,便于钢带和钢绳的替换使用;Further, the surface of the wheel body of the double-purpose guide pulley 5 with rope is a smooth surface, and the middle of the wheel body is provided with an annular rope groove arranged along its radial direction, which is convenient for the replacement of the steel belt and the steel rope;
进一步的,所述电机上设置有制动刹车9,所述制动刹车9在抽油机停止运作时锁死电机,防止误操作启动抽油机对人员造成伤害;Further, the motor is provided with a braking brake 9, and the braking brake 9 locks the motor when the pumping unit stops operating, preventing misoperation and starting the pumping unit from causing injury to personnel;
本装置工作原理:The working principle of this device:
永磁复合电机由电气控制系统1控制实现正反转,带带绳双用卷绕筒3对牵引绳4进行送放和收绕,通过带绳双用导轮5和导轮支架6的导向,实现钢丝绳的上下往复运动,从而实现油井的抽油工作。电机逆时针运行时,进行牵引绳的收绕,电机做功,带动井下泵上提油液,电机顺时针运行时,重物带动电机做功,发电蓄能,并在下一次提升时进行利用。从而完成一次往复运动和能量的利用和转换。The permanent magnet composite motor is controlled by the electrical control system 1 to realize forward and reverse rotation. The double-purpose winding drum 3 with the belt and rope sends and winds the traction rope 4, and is guided by the double-purpose guide wheel 5 and the
另外:需要注意的是,上述具体实施方式仅为本专利的一个优化方案,本领域的技术人员根据上述构思所做的任何改动或改进,均在本专利的保护范围之内。In addition: it should be noted that the above-mentioned specific embodiment is only an optimized solution of this patent, and any changes or improvements made by those skilled in the art according to the above-mentioned concept are all within the protection scope of this patent.
Claims (1)
Priority Applications (1)
| Application Number | Priority Date | Filing Date | Title |
|---|---|---|---|
| CN201920434411.XU CN211081810U (en) | 2019-04-02 | 2019-04-02 | Two-way drive belt rope shared electric energy storage pumping unit |
Applications Claiming Priority (1)
| Application Number | Priority Date | Filing Date | Title |
|---|---|---|---|
| CN201920434411.XU CN211081810U (en) | 2019-04-02 | 2019-04-02 | Two-way drive belt rope shared electric energy storage pumping unit |
Publications (1)
| Publication Number | Publication Date |
|---|---|
| CN211081810U true CN211081810U (en) | 2020-07-24 |
Family
ID=71640680
Family Applications (1)
| Application Number | Title | Priority Date | Filing Date |
|---|---|---|---|
| CN201920434411.XU Active CN211081810U (en) | 2019-04-02 | 2019-04-02 | Two-way drive belt rope shared electric energy storage pumping unit |
Country Status (1)
| Country | Link |
|---|---|
| CN (1) | CN211081810U (en) |
Cited By (1)
| Publication number | Priority date | Publication date | Assignee | Title |
|---|---|---|---|---|
| CN116838299A (en) * | 2023-05-23 | 2023-10-03 | 江苏昱昌智能科技有限公司 | Electric balance flexible traction pumping unit |
-
2019
- 2019-04-02 CN CN201920434411.XU patent/CN211081810U/en active Active
Cited By (1)
| Publication number | Priority date | Publication date | Assignee | Title |
|---|---|---|---|---|
| CN116838299A (en) * | 2023-05-23 | 2023-10-03 | 江苏昱昌智能科技有限公司 | Electric balance flexible traction pumping unit |
Similar Documents
| Publication | Publication Date | Title |
|---|---|---|
| US20140241918A1 (en) | Oil-pumping machine | |
| CN110761745B (en) | Axle-type energy-saving beam pumping unit | |
| CN101298833A (en) | Balance type beam-pumping unit | |
| CN211081810U (en) | Two-way drive belt rope shared electric energy storage pumping unit | |
| CN2876326Y (en) | Winding drum type intelligent oil pumping machine | |
| CN201535154U (en) | Permanent-magnet motor poly-wedge belt transmission driving type oil extractor | |
| CN211081811U (en) | Short direct-drive long-stroke pumping unit without mechanical balance | |
| CN101413386A (en) | Non-gear counterweight drawing type oil pumping machine provided with motor at lower | |
| CN201306154Y (en) | Energy-efficient tower oil pumping unit | |
| CN103950842B (en) | A kind of tower machine jack-up system of electrohydraulic mixed power | |
| CN205477552U (en) | Novel energy -conserving beam -pumping unit | |
| CN203808939U (en) | Single-rod double-headed energy-saving oil pumping unit | |
| CN200989195Y (en) | Gear free driving energy-saving beam-pumping unit | |
| CN203603853U (en) | Pulley block stroke increasing type pumping unit with balance weight | |
| CN102606113A (en) | Lead screw drive reversing-type long-stroke pumping unit | |
| CN102852487A (en) | Horizontal dual-chain pulley guide long constant speed balanced pumping unit | |
| CN201794561U (en) | Novel tower frame type beam-pumping unit | |
| CN201794559U (en) | Energy-saving tower-type oil pumping device | |
| CN201363125Y (en) | Double-well-shared oil extractor | |
| CN202483525U (en) | Self-balancing double-horse-head gear drive pumping unit | |
| CN203669840U (en) | Vertical type pumping unit with single reducing wheel | |
| CN201273176Y (en) | Tower frame and balance beam combined linear motor oil pumping machine | |
| CN203626755U (en) | Hoist type lower drive intelligent control pumping unit | |
| CN205638378U (en) | Support type double well oil production device driven by switched reluctance motor | |
| CN203669841U (en) | Novel energy-saving vertical pumping unit |
Legal Events
| Date | Code | Title | Description |
|---|---|---|---|
| GR01 | Patent grant | ||
| GR01 | Patent grant | ||
| TR01 | Transfer of patent right | ||
| TR01 | Transfer of patent right |
Effective date of registration: 20250519 Address after: No. 2, 1st Floor, Unit 3, Building 3, No. 2 Keyuan Street, Wuhou District, Chengdu City, Sichuan Province 610000 Patentee after: Zhou Mingbao Country or region after: China Address before: 215636 No. 8 Xinchuang Road, Daxin Town, Zhangjiagang City, Suzhou City, Jiangsu Province Patentee before: JIANGSU YUCHANG INTELLIGENT TECHNOLOGY Co.,Ltd. Country or region before: China |
|
| TR01 | Transfer of patent right | ||
| TR01 | Transfer of patent right |
Effective date of registration: 20251217 Address after: 201814 Shanghai City Jia Ding District An Bai Road 4229.NO 4th Floor JT7122 Room Patentee after: Yangyou Technology (Shanghai) Co.,Ltd. Country or region after: China Address before: No. 2, 1st Floor, Unit 3, Building 3, No. 2 Keyuan Street, Wuhou District, Chengdu City, Sichuan Province 610000 Patentee before: Zhou Mingbao Country or region before: China |
