CN210979268U - 一种具有多角度旋转功能的电视机 - Google Patents
一种具有多角度旋转功能的电视机 Download PDFInfo
- Publication number
- CN210979268U CN210979268U CN201922095649.7U CN201922095649U CN210979268U CN 210979268 U CN210979268 U CN 210979268U CN 201922095649 U CN201922095649 U CN 201922095649U CN 210979268 U CN210979268 U CN 210979268U
- Authority
- CN
- China
- Prior art keywords
- bracket
- fixed
- adjustable
- thick bamboo
- main
- Prior art date
- Legal status (The legal status is an assumption and is not a legal conclusion. Google has not performed a legal analysis and makes no representation as to the accuracy of the status listed.)
- Expired - Fee Related
Links
- 230000007246 mechanism Effects 0.000 claims abstract description 42
- 239000000428 dust Substances 0.000 claims description 7
- 229920001651 Cyanoacrylate Polymers 0.000 claims description 3
- 239000004830 Super Glue Substances 0.000 claims description 3
- 238000003466 welding Methods 0.000 claims description 3
- 235000017166 Bambusa arundinacea Nutrition 0.000 claims 9
- 235000017491 Bambusa tulda Nutrition 0.000 claims 9
- 241001330002 Bambuseae Species 0.000 claims 9
- 235000015334 Phyllostachys viridis Nutrition 0.000 claims 9
- 239000011425 bamboo Substances 0.000 claims 9
- 229920001821 foam rubber Polymers 0.000 claims 4
- 230000000694 effects Effects 0.000 abstract description 11
- 230000003670 easy-to-clean Effects 0.000 abstract description 4
- 238000000034 method Methods 0.000 description 8
- 238000010586 diagram Methods 0.000 description 4
- 230000008569 process Effects 0.000 description 4
- 230000006378 damage Effects 0.000 description 3
- 230000009286 beneficial effect Effects 0.000 description 2
- 239000003292 glue Substances 0.000 description 2
- 238000009434 installation Methods 0.000 description 2
- 230000001681 protective effect Effects 0.000 description 2
- 208000027418 Wounds and injury Diseases 0.000 description 1
- 230000002411 adverse Effects 0.000 description 1
- 230000007812 deficiency Effects 0.000 description 1
- 208000014674 injury Diseases 0.000 description 1
- 238000004519 manufacturing process Methods 0.000 description 1
Images
Landscapes
- Devices For Indicating Variable Information By Combining Individual Elements (AREA)
Abstract
本实用新型公开了一种具有多角度旋转功能的电视机,所述墙体的一侧外表面固定连接有固定架、可调节防尘支架机构与升降调节托架机构,所述可调节防尘支架机构位于固定架的上端,所述升降调节托架机构位于固定架的下端,所述固定架的一侧外表面固定连接有调节架与旋转固定架,所述旋转固定架位于调节架的一侧,所述旋转固定架的一侧固定连接有电视机主体。本实用新型所述的一种具有多角度旋转功能的电视机,设有可调节防尘支架机构与升降调节托架机构,能够有一个很好的防尘效果,便于电视机的使用,简单方便,易于清洁,还可以方便对电视机进行固定,减少固定支架的压力,防止电视机掉落,带来更好的使用前景。
Description
技术领域
本实用新型涉及家用电器领域,特别涉及一种具有多角度旋转功能的电视机。
背景技术
电视机是一种进行观看电视节目的支撑设备,电视是每家每户都拥有的一种家用电器,电视机能够给人们带来欢乐,让人们足不出户就可以了解外面的世界,随着时代的发展,电视越来越科技化,功能更加齐全,便于人们的使用,随着科技的不断发展,人们对于电视机的制造工艺要求也越来越高。
现有的电视机在使用时存在一定的弊端,首先,在电视机进行放置的时候容易受到灰尘的侵袭,影响电视机的使用,清洁较为不便,不利于人们的使用,还有,电视机支架具有一定的寿命,可能会出现固定不牢固导致电视机掉落的情况,给人们的使用过程带来了一定的不利影响,为此,我们提出一种具有多角度旋转功能的电视机。
实用新型内容
(一)解决的技术问题
针对现有技术的不足,本实用新型提供了一种具有多角度旋转功能的电视机,具备有一个很好的防尘效果,便于电视机的使用,简单方便,易于清洁,方便对电视机进行固定,减少固定支架的压力,防止电视机掉落等优点,可以有效解决背景技术中的问题。
(二)技术方案
为实现上述目的,本实用新型采取的技术方案为:所述墙体的一侧外表面固定连接有固定架、可调节防尘支架机构与升降调节托架机构,所述可调节防尘支架机构位于固定架的上端,所述升降调节托架机构位于固定架的下端,所述固定架的一侧外表面固定连接有调节架与旋转固定架,所述旋转固定架位于调节架的一侧,所述旋转固定架的一侧固定连接有电视机主体,所述电视机主体的前端外表面固定连接有显示屏。
优选的,所述可调节防尘支架机构包括固定支架、旋转轴、活动架、侧板、防尘板,所述旋转轴位于固定支架的一侧,所述活动架位于旋转轴的一侧,所述防尘板位于活动架的一侧,所述侧板位于防尘板的三侧。
优选的,所述升降调节托架机构包括固定圆盘、旋转座、主升降筒、副升降筒、托架、海绵垫,所述固定圆盘位于旋转座的下端,所述主升降筒位于旋转座的一侧,所述副升降筒由主升降筒内部向外延伸并连接托架,所述海绵垫位于托架的上端外表面。
优选的,所述固定支架的一侧通过旋转轴与活动架活动连接,所述活动架与防尘板之间设置有固定件,所述活动架的一侧通过固定件与防尘板的一侧固定连接,所述侧板与防尘板之间通过点焊固定连接。
优选的,所述固定圆盘与旋转座之间设置有螺丝,所述固定圆盘的上端通过螺丝与旋转座的下端固定连接,所述旋转座与主升降筒之间设置有固定螺纹,所述旋转座的一侧通过固定螺纹与主升降筒的一侧相互啮合,所述主升降筒与副升降筒之间通过油封活动连接,所述托架与海绵垫之间设置有强力胶,所述托架的外表面通过强力胶与海绵垫的一侧固定连接。
优选的,所述墙体与可调节防尘支架机构之间设置有螺栓,所述墙体的一侧通过螺栓与可调节防尘支架机构的一侧固定连接,所述旋转固定架与电视机主体之间设置有安装架,所述旋转固定架的一侧通过安装架与电视机主体的一侧位可拆卸连接。
(三)有益效果
与现有技术相比,本实用新型提供了一种具有多角度旋转功能的电视机,具备以下有益效果:
1、该一种具有多角度旋转功能的电视机,通过可调节防尘支架机构能够有一个很好的防尘效果,便于电视机的使用,简单方便,易于清洁,在进行放置的时候,通过调节架对支架进行收缩,使电视机主体贴合墙体,通过旋转轴调节活动架的位置,从而带动防尘板的移动,使防尘板移动到电视机主体的前端,同时侧板包裹住电视机主体的上端和左右两侧,能够具有一个很好的防尘效果,简单方便,防止受到伤害,在看电视时通过活动架活动防尘板至电视机主体的上端的位置即可,简单方便。
2、该一种具有多角度旋转功能的电视机,通过升降调节托架机构可以方便对电视机进行固定,减少固定支架的压力,防止电视机掉落,在调节电视机主体的角度之后可以通过升降调节托架机构进行托底,方便固定电视机主体的位置,防止掉落,将电视机主体卡入托架的位置,海绵垫起到了很好的保护作用,副升降筒与主升降筒能够进行伸缩,旋转座可以活动,方便对电视机主体进行调节,固定圆盘固定墙体更加稳定,固定效果更好,便于人们的使用,整个电视机结构简单,操作方便,使用的效果相对于传统方式更好。
附图说明
图1为本实用新型一种具有多角度旋转功能的电视机的整体结构示意图。
图2为本实用新型一种具有多角度旋转功能的电视机中固定架的结构示意图。
图3为本实用新型一种具有多角度旋转功能的电视机中可调节防尘支架机构的结构示意图。
图4为本实用新型一种具有多角度旋转功能的电视机中升降调节托架机构的结构示意图。
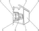
图中:1、墙体;2、固定架;3、可调节防尘支架机构;301、固定支架;302、旋转轴;303、活动架;304、侧板;305、防尘板;4、电视机主体;5、升降调节托架机构;501、固定圆盘;502、旋转座;503、主升降筒;504、副升降筒;505、托架;506、海绵垫;6、调节架;7、旋转固定架;8、显示屏。
具体实施方式
为使本实用新型实现的技术手段、创作特征、达成目的与功效易于明白了解,下面结合具体实施方式,进一步阐述本实用新型。
如图1-4所示,一种具有多角度旋转功能的电视机,墙体1的一侧外表面固定连接有固定架2、可调节防尘支架机构3与升降调节托架机构5,可调节防尘支架机构3位于固定架2的上端,升降调节托架机构5位于固定架2的下端,固定架2的一侧外表面固定连接有调节架6与旋转固定架7,旋转固定架7位于调节架6的一侧,旋转固定架7的一侧固定连接有电视机主体4,电视机主体4的前端外表面固定连接有显示屏8。
进一步的,可调节防尘支架机构3包括固定支架301、旋转轴302、活动架303、侧板304、防尘板305,旋转轴302位于固定支架301的一侧,活动架303位于旋转轴302的一侧,防尘板305位于活动架303的一侧,侧板304位于防尘板305的三侧,能够有一个很好的防尘效果,便于电视机的使用,简单方便,易于清洁。
进一步的,升降调节托架机构5包括固定圆盘501、旋转座502、主升降筒503、副升降筒504、托架505、海绵垫506,固定圆盘501位于旋转座502的下端,主升降筒503位于旋转座502的一侧,副升降筒504由主升降筒503内部向外延伸并连接托架505,海绵垫506位于托架505的上端外表面,方便对电视机进行固定,减少固定支架的压力,防止电视机掉落。
进一步的,固定支架301的一侧通过旋转轴302与活动架303活动连接,活动架303与防尘板305之间设置有固定件,活动架303的一侧通过固定件与防尘板305的一侧固定连接,侧板304与防尘板305之间通过点焊固定连接,简单方便,防止受到伤害。
进一步的,固定圆盘501与旋转座502之间设置有螺丝,固定圆盘501的上端通过螺丝与旋转座502的下端固定连接,旋转座502与主升降筒503之间设置有固定螺纹,旋转座502的一侧通过固定螺纹与主升降筒503的一侧相互啮合,主升降筒503与副升降筒504之间通过油封活动连接,托架505与海绵垫506之间设置有强力胶,托架505的外表面通过强力胶与海绵垫506的一侧固定连接,固定圆盘501固定墙体更加稳定,固定效果更好,便于人们的使用。
进一步的,墙体1与可调节防尘支架机构3之间设置有螺栓,墙体1的一侧通过螺栓与可调节防尘支架机构3的一侧固定连接,旋转固定架7与电视机主体4之间设置有安装架,旋转固定架7的一侧通过安装架与电视机主体4的一侧位可拆卸连接,方便对电视机主体4进行固定,可以做到多角度调节,简单实用。
工作原理:本实用新型主要由可调节防尘支架机构3与升降调节托架机构5组成,电视机通过调节架6与旋转固定架7能够进行多角度调节,使用更加方便,还可以向后收缩,便于人们放置,节省空间,在进行放置的时候,通过调节架6对支架进行收缩,使电视机主体4贴合墙体1,通过旋转轴302调节活动架303的位置,从而带动防尘板305的移动,使防尘板305移动到电视机主体4的前端,同时侧板304包裹住电视机主体4的上端和左右两侧,能够具有一个很好的防尘效果,简单方便,防止受到伤害,在看电视时通过活动架303活动防尘板305至电视机主体4的上端的位置即可,简单方便,在调节电视机主体4的角度之后可以通过升降调节托架机构5进行托底,方便固定电视机主体4的位置,防止掉落,将电视机主体4卡入托架505的位置,海绵垫506起到了很好的保护作用,副升降筒504与主升降筒503能够进行伸缩,旋转座502可以活动,方便对电视机主体4进行调节,固定圆盘501固定墙体更加稳定,固定效果更好,便于人们的使用。
需要说明的是,在本文中,诸如第一和第二(一号、二号)等之类的关系术语仅仅用来将一个实体或者操作与另一个实体或操作区分开来,而不一定要求或者暗示这些实体或操作之间存在任何这种实际的关系或者顺序。而且,术语“包括”、“包含”或者其任何其他变体意在涵盖非排他性的包含,从而使得包括一系列要素的过程、方法、物品或者设备不仅包括那些要素,而且还包括没有明确列出的其他要素,或者是还包括为这种过程、方法、物品或者设备所固有的要素。在没有更多限制的情况下,由语句“包括一个……”限定的要素,并不排除在包括所述要素的过程、方法、物品或者设备中还存在另外的相同要素。
以上显示和描述了本实用新型的基本原理和主要特征和本实用新型的优点。本行业的技术人员应该了解,本实用新型不受上述实施例的限制,上述实施例和说明书中描述的只是说明本实用新型的原理,在不脱离本实用新型精神和范围的前提下,本实用新型还会有各种变化和改进,这些变化和改进都落入要求保护的本实用新型范围内。本实用新型要求保护范围由所附的权利要求书及其等效物界定。
Claims (6)
1.一种具有多角度旋转功能的电视机,包括墙体(1),其特征在于:所述墙体(1)的一侧外表面固定连接有固定架(2)、可调节防尘支架机构(3)与升降调节托架机构(5),所述可调节防尘支架机构(3)位于固定架(2)的上端,所述升降调节托架机构(5)位于固定架(2)的下端,所述固定架(2)的一侧外表面固定连接有调节架(6)与旋转固定架(7),所述旋转固定架(7)位于调节架(6)的一侧,所述旋转固定架(7)的一侧固定连接有电视机主体(4),所述电视机主体(4)的前端外表面固定连接有显示屏(8)。
2.根据权利要求1所述的一种具有多角度旋转功能的电视机,其特征在于:所述可调节防尘支架机构(3)包括固定支架(301)、旋转轴(302)、活动架(303)、侧板(304)、防尘板(305),所述旋转轴(302)位于固定支架(301)的一侧,所述活动架(303)位于旋转轴(302)的一侧,所述防尘板(305)位于活动架(303)的一侧,所述侧板(304)位于防尘板(305)的三侧。
3.根据权利要求1所述的一种具有多角度旋转功能的电视机,其特征在于:所述升降调节托架机构(5)包括固定圆盘(501)、旋转座(502)、主升降筒(503)、副升降筒(504)、托架(505)、海绵垫(506),所述固定圆盘(501)位于旋转座(502)的下端,所述主升降筒(503)位于旋转座(502)的一侧,所述副升降筒(504)由主升降筒(503)内部向外延伸并连接托架(505),所述海绵垫(506)位于托架(505)的上端外表面。
4.根据权利要求2所述的一种具有多角度旋转功能的电视机,其特征在于:所述固定支架(301)的一侧通过旋转轴(302)与活动架(303)活动连接,所述活动架(303)与防尘板(305)之间设置有固定件,所述活动架(303)的一侧通过固定件与防尘板(305)的一侧固定连接,所述侧板(304)与防尘板(305)之间通过点焊固定连接。
5.根据权利要求3所述的一种具有多角度旋转功能的电视机,其特征在于:所述固定圆盘(501)与旋转座(502)之间设置有螺丝,所述固定圆盘(501)的上端通过螺丝与旋转座(502)的下端固定连接,所述旋转座(502)与主升降筒(503)之间设置有固定螺纹,所述旋转座(502)的一侧通过固定螺纹与主升降筒(503)的一侧相互啮合,所述主升降筒(503)与副升降筒(504)之间通过油封活动连接,所述托架(505)与海绵垫(506)之间设置有强力胶,所述托架(505)的外表面通过强力胶与海绵垫(506)的一侧固定连接。
6.根据权利要求1所述的一种具有多角度旋转功能的电视机,其特征在于:所述墙体(1)与可调节防尘支架机构(3)之间设置有螺栓,所述墙体(1)的一侧通过螺栓与可调节防尘支架机构(3)的一侧固定连接,所述旋转固定架(7)与电视机主体(4)之间设置有安装架,所述旋转固定架(7)的一侧通过安装架与电视机主体(4)的一侧位可拆卸连接。
Priority Applications (1)
| Application Number | Priority Date | Filing Date | Title |
|---|---|---|---|
| CN201922095649.7U CN210979268U (zh) | 2019-11-29 | 2019-11-29 | 一种具有多角度旋转功能的电视机 |
Applications Claiming Priority (1)
| Application Number | Priority Date | Filing Date | Title |
|---|---|---|---|
| CN201922095649.7U CN210979268U (zh) | 2019-11-29 | 2019-11-29 | 一种具有多角度旋转功能的电视机 |
Publications (1)
| Publication Number | Publication Date |
|---|---|
| CN210979268U true CN210979268U (zh) | 2020-07-10 |
Family
ID=71438696
Family Applications (1)
| Application Number | Title | Priority Date | Filing Date |
|---|---|---|---|
| CN201922095649.7U Expired - Fee Related CN210979268U (zh) | 2019-11-29 | 2019-11-29 | 一种具有多角度旋转功能的电视机 |
Country Status (1)
| Country | Link |
|---|---|
| CN (1) | CN210979268U (zh) |
Cited By (1)
| Publication number | Priority date | Publication date | Assignee | Title |
|---|---|---|---|---|
| CN111929621A (zh) * | 2020-09-25 | 2020-11-13 | 东营市宇彤机电设备有限责任公司 | 一种抗震磁力计 |
-
2019
- 2019-11-29 CN CN201922095649.7U patent/CN210979268U/zh not_active Expired - Fee Related
Cited By (1)
| Publication number | Priority date | Publication date | Assignee | Title |
|---|---|---|---|---|
| CN111929621A (zh) * | 2020-09-25 | 2020-11-13 | 东营市宇彤机电设备有限责任公司 | 一种抗震磁力计 |
Similar Documents
| Publication | Publication Date | Title |
|---|---|---|
| CN108100929A (zh) | 一种家具橱柜生产用的抬升装置 | |
| CN210979268U (zh) | 一种具有多角度旋转功能的电视机 | |
| CN206626767U (zh) | 一种中央空调内机的高度调节装置 | |
| CN110962058A (zh) | 一种床垫加工用翻转设备及使用方法 | |
| CN208077011U (zh) | 一种可互动的控制台 | |
| CN112555592B (zh) | 一种铁路信号设备防护装置 | |
| CN211423752U (zh) | 一种用于安装医疗器材的固定座 | |
| CN211289497U (zh) | 一种视频综合平台用显示器多角度固定架 | |
| AU2021101842A4 (en) | Multifunctional petri dish revolving table | |
| CN214142470U (zh) | 一种机械金属材料表面硬度热处理设备 | |
| CN216265589U (zh) | 一种便于液压机械的夹紧装置 | |
| CN211193429U (zh) | 一种陶瓷抛光机抛光辊升降结构 | |
| CN215635915U (zh) | 一种可见光摄像机安装架 | |
| CN219653063U (zh) | 一种支架 | |
| CN220029971U (zh) | 一种机械加工用夹具 | |
| CN219394756U (zh) | 一种光伏板快速安装装置 | |
| CN220803950U (zh) | 新型手机中框喷涂夹具 | |
| CN207184398U (zh) | 一种高度可调节的光伏支架 | |
| CN221696039U (zh) | 一种可调角度的支撑夹具 | |
| CN221716244U (zh) | 一种不锈钢管加工夹具 | |
| CN221424117U (zh) | 一种管道限位装置 | |
| CN218668314U (zh) | 一种pvc地板支撑结构 | |
| CN217858521U (zh) | 一种铰链生产用限位连接结构 | |
| CN220488483U (zh) | 一种燃气管道用支撑架 | |
| CN220622993U (zh) | 一种市政中管道连接装置 |
Legal Events
| Date | Code | Title | Description |
|---|---|---|---|
| GR01 | Patent grant | ||
| GR01 | Patent grant | ||
| TR01 | Transfer of patent right | ||
| TR01 | Transfer of patent right |
Effective date of registration: 20220402 Address after: 311100 101, 103-110, 201, No. 68, Bajiaoting, Xintai village, Zhongtai street, Yuhang District, Hangzhou City, Zhejiang Province Patentee after: Hangzhou Yinhe storage Co.,Ltd. Address before: 311115 room 323, floor 3, building 4, No. 21, Futai Road, Zhongtai street, Yuhang District, Hangzhou City, Zhejiang Province Patentee before: Hangzhou Yinhe Sumai Smart Home Technology Co.,Ltd. |
|
| CF01 | Termination of patent right due to non-payment of annual fee | ||
| CF01 | Termination of patent right due to non-payment of annual fee |
Granted publication date: 20200710 |