CN210928691U - Kiwi fruit seed collecting device - Google Patents
Kiwi fruit seed collecting device Download PDFInfo
- Publication number
- CN210928691U CN210928691U CN201922016503.9U CN201922016503U CN210928691U CN 210928691 U CN210928691 U CN 210928691U CN 201922016503 U CN201922016503 U CN 201922016503U CN 210928691 U CN210928691 U CN 210928691U
- Authority
- CN
- China
- Prior art keywords
- crushing
- rollers
- filter barrel
- pair
- screen
- Prior art date
- Legal status (The legal status is an assumption and is not a legal conclusion. Google has not performed a legal analysis and makes no representation as to the accuracy of the status listed.)
- Expired - Fee Related
Links
Images
Landscapes
- Apparatuses For Bulk Treatment Of Fruits And Vegetables And Apparatuses For Preparing Feeds (AREA)
Abstract
本方案公开了猕猴桃种植技术领域的一种猕猴桃种子收集设备,包括动力机构、破碎机构和过滤机构;过滤装置包括过滤桶、对辊组和防止种子通过的筛网,筛网位于过滤桶内且与过滤桶的内壁贴合,对辊组位于筛网的正上方且与筛网接触,对辊组包括多个对辊,对辊的表面密布有刷毛;所述破碎机构包括圆形栅栏状的破碎框,破碎框位于所述过滤桶内且位于对辊组的正上方;所述动力机构包括电机和将电机动力传递给所述对辊组及破碎框的传动件。本方案中的猕猴桃种子收集设备可实现猕猴桃种子与果肉之间的快速分离,同时分离出来的果肉可继续使用,减少了浪费,另外,由于猕猴桃种子和果肉之间分离较为彻底(分离率可达90~95%),减少了清洗时水资源的浪费。
This scheme discloses a kiwifruit seed collection equipment in the technical field of kiwifruit planting, including a power mechanism, a crushing mechanism and a filtering mechanism; the filtering device includes a filter barrel, a pair of rollers and a screen for preventing seeds from passing through, and the screen is located in the filter barrel and It is attached to the inner wall of the filter barrel, and the pair of rollers is located directly above the screen and in contact with the screen. The crushing frame is located in the filter barrel and directly above the pair of rollers; the power mechanism includes a motor and a transmission member that transmits the power of the motor to the pair of rollers and the crushing frame. The kiwifruit seed collection equipment in this scheme can achieve rapid separation between kiwifruit seeds and pulp, and the separated pulp can be used continuously, reducing waste. 90-95%), reducing the waste of water resources during cleaning.
Description
技术领域technical field
本实用新型属于猕猴桃种植技术领域,特别涉及一种猕猴桃种子收集设备。The utility model belongs to the technical field of kiwifruit planting, in particular to a kiwifruit seed collection device.
背景技术Background technique
猕猴桃为雌雄异株的大型落叶木质藤本植物。雄株多毛叶小,雄株花也较早出现于雌花;雌株少毛或无毛,花叶均大于雄株。花期为5~6月,果熟期为8~10月。Kiwifruit is a dioecious large deciduous woody vine. The male plants have small hairy leaves, and the flowers of the male plants appear earlier than the female flowers; the female plants have few or no hairs, and the flowers and leaves are larger than those of the male plants. The flowering period is from May to June, and the fruit ripening period is from August to October.
当前,猕猴桃一般在9月下旬至lO月上旬采种;采种时,选择果实大、品质好的鲜果采摘,堆积待后熟变软,将种子连同果肉一同挤出,装入袋中揉碎搓烂,压尽果汁,然后放入水盆中淘洗,慢慢漂出杂质和瘪籽。由于猕猴桃种子和果肉粘合度高,种子收集过程中果肉不易洗脱,粘附的果肉容易致使猕猴桃种子在后期贮藏或播种过程中由于湿度较大,而发生腐烂或发霉。因此,为了尽量减少猕猴桃种子上果肉的粘附量,需要长时间对袋中的猕猴桃种子进行揉搓并在后续进行彻底清洗,该过程十分耗时,效率极低;同时造成了袋子、水资源和猕猴桃果肉的浪费。At present, kiwifruit is generally harvested from late September to early 10 months; when picking seeds, choose fresh fruits with large and good quality to pick, pile up and become soft after ripening, extrude the seeds together with the pulp, put them in bags and smash them. , squeeze out the juice, and then put it in a water basin to wash, and slowly rinse out impurities and deflated seeds. Due to the high adhesion between kiwifruit seeds and pulp, the pulp is not easy to wash off during the seed collection process, and the adhered pulp is likely to cause kiwifruit seeds to rot or mold due to high humidity during later storage or sowing. Therefore, in order to minimize the sticking amount of the pulp on the kiwifruit seeds, it is necessary to rub the kiwifruit seeds in the bag for a long time and then thoroughly wash the kiwifruit seeds, which is very time-consuming and inefficient; Waste of kiwi fruit pulp.
实用新型内容Utility model content
本实用新型意在提供一种猕猴桃种子收集设备,以解决提高猕猴桃种子的收集效率和质量。The purpose of the utility model is to provide a kiwifruit seed collection device to solve the problem of improving the collection efficiency and quality of kiwifruit seeds.
本方案中的一种猕猴桃种子收集设备,包括动力机构、破碎机构和过滤机构;过滤装置包括过滤桶、对辊组和防止种子通过的筛网,筛网位于过滤桶内且与过滤桶的内壁贴合,对辊组位于筛网的正上方且与筛网接触,对辊组包括多个对辊,对辊的表面密布有刷毛;所述破碎机构包括圆形栅栏状的破碎框,破碎框位于所述过滤桶内且位于对辊组的正上方;所述动力机构包括电机和将电机动力传递给所述对辊组及破碎框的传动件。A kiwifruit seed collection device in this scheme includes a power mechanism, a crushing mechanism and a filtering mechanism; the filtering device includes a filtering barrel, a pair of rollers, and a screen for preventing seeds from passing through. The screen is located in the filtering barrel and is connected to the inner wall of the filtering barrel. Fitting, the pair of rollers is located directly above the screen and in contact with the screen, the pair of rollers includes a plurality of rollers, and the surfaces of the rollers are densely covered with bristles; the crushing mechanism includes a circular fence-shaped crushing frame, the crushing frame It is located in the filter barrel and just above the pair of rollers; the power mechanism includes a motor and a transmission part that transmits the power of the motor to the pair of rollers and the crushing frame.
本方案的工作原理及其有益效果:使用时,将剥皮后的猕猴桃通过过滤桶的顶部放入到过滤桶内,启动电机,电机带动破碎框转动,由于破碎框呈圆形栅栏状,在破碎框转动时可以快速将猕猴桃捣烂。捣烂后的猕猴桃下移至对辊组处,由于对辊组包括多个对辊,对辊的表面密布有刷毛,在电机带动下,对辊组转动继续对捣烂后的猕猴桃进行挤压,进一步促使猕猴头果肉和种子之间分离。在对辊组的作用下,被挤压的果肉和汁液经筛网掉落到过滤桶的底部;从而完成猕猴桃果肉和种子之间的分离;然后将过滤网上方的猕猴桃种子取出,再冲洗即可。本方案中的猕猴桃种子收集设备可实现猕猴桃种子与果肉之间的快速分离,同时分离出来的果肉可继续使用,减少了浪费,另外,由于猕猴桃种子和果肉之间分离较为彻底(分离率可达90~95%),减少了清洗时水资源的浪费。The working principle of this scheme and its beneficial effects: when in use, put the peeled kiwi fruit into the filter barrel through the top of the filter barrel, start the motor, and the motor drives the crushing frame to rotate. The kiwi can be quickly mashed as the box turns. The smashed kiwifruit is moved down to the counter-roller group. Since the counter-roller group includes multiple counter-rollers, the surface of the counter-roller is densely covered with bristles. Driven by the motor, the counter-roller group rotates and continues to squeeze the smashed kiwifruit. , which further promoted the separation between the pulp and seeds of rhesus monkey head. Under the action of the pair of rollers, the squeezed pulp and juice fall to the bottom of the filter barrel through the screen; thus the separation between the kiwi fruit pulp and seeds is completed; then the kiwi fruit seeds above the filter screen are taken out and rinsed Can. The kiwifruit seed collection equipment in this scheme can achieve rapid separation between kiwifruit seeds and pulp, and the separated pulp can be used continuously, reducing waste. 90-95%), reducing the waste of water resources during cleaning.
进一步,所述破碎框有多个,多个破碎框的转向不完全相同。设置多个破碎框可进一步提高破碎框对猕猴桃的破碎效果;破碎框转动时会带动猕猴桃转动,而破碎框的转向不完全相同,不同向的破碎框在转动时会产生对流,可进一步提高猕猴桃的破碎效果。Further, there are multiple crushing frames, and the rotation directions of the multiple crushing frames are not identical. Setting multiple crushing boxes can further improve the crushing effect of crushing boxes on kiwifruit; when the crushing box rotates, it will drive the kiwi fruit to rotate, but the rotation of the crushing boxes is not exactly the same, and the crushing boxes in different directions will generate convection when rotating, which can further improve the kiwifruit. shattering effect.
进一步,相邻对辊上的所述刷毛相接触。相邻对辊上的刷毛相接触,可更使得对辊之间的接触更紧密,在对辊组转动挤压猕猴桃时,可使得猕猴桃种子与果肉之间的分离更加彻底。Further, the bristles on the adjacent pair of rollers are in contact. The contact between the bristles on the adjacent pair of rollers can make the contact between the pair of rollers more closely, and when the pair of rollers rotate and squeeze the kiwifruit, the separation between the kiwifruit seeds and the pulp can be more thorough.
进一步,所述过滤桶的内底部为倾斜状,过滤桶的外壁上设有与过滤桶内底部最低点连通的出料孔。通过在过滤桶的外壁上设置设有与过滤桶内底部最低点连通的出料口,并将过滤桶的内底部设置为倾斜状,更有利于对猕猴桃果肉的收集。Further, the inner bottom of the filter barrel is inclined, and the outer wall of the filter barrel is provided with a discharge hole that communicates with the lowest point of the inner bottom of the filter barrel. By arranging a discharge port on the outer wall of the filter barrel that communicates with the lowest point of the inner bottom of the filter barrel, and setting the inner bottom of the filter barrel to be inclined, it is more conducive to the collection of kiwi fruit pulp.
进一步,所述过滤桶的外壁上设有滑槽,所述筛网滑动连接在滑槽内。通过设置滑槽,当过滤桶内的果肉实现收集后,拉动筛网,可更快速的实现对种子的收集,以及对筛网的清理。Further, a chute is provided on the outer wall of the filter barrel, and the screen is slidably connected in the chute. By setting the chute, when the pulp in the filter barrel is collected, the screen can be pulled to collect the seeds and clean the screen more quickly.
进一步,所述动力机构位于过滤桶的下壁体内,所述传动件包括蜗杆和多个齿轮以及转轴,多个齿轮分别固定连接在多根转轴上且依次啮合,多根转轴分别固定连接在多个破碎框上,所述电机的输出轴与其中一根转轴固定连接,所述蜗杆与其中一个齿轮啮合,蜗杆通过皮带带动其中一个对辊,多个对辊之间传动连接。电机启动后,即可在转轴、齿轮和蜗杆之间的相互传动下,实现破碎框和对辊组的转动。Further, the power mechanism is located in the lower wall of the filter barrel, and the transmission member includes a worm, a plurality of gears, and a rotating shaft. On each crushing frame, the output shaft of the motor is fixedly connected with one of the rotating shafts, the worm is engaged with one of the gears, and the worm drives one of the pair of rollers through the belt, and the plurality of pairs of rollers are connected by transmission. After the motor is started, the rotation of the crushing frame and the pair of rollers can be realized under the mutual transmission between the rotating shaft, the gear and the worm.
进一步,所述过滤桶的顶部铰接有桶盖。通过桶盖的设置,可有效避免破碎框在捣碎猕猴桃时将其带离过滤桶;而桶盖铰接在过滤桶的顶部,更有利于实现桶盖与过滤桶之间的开合。Further, the top of the filter bucket is hinged with a bucket cover. The arrangement of the bucket cover can effectively prevent the crushing frame from taking the kiwifruit away from the filter bucket when mashing the kiwifruit; and the bucket cover is hinged on the top of the filter bucket, which is more conducive to realizing the opening and closing between the bucket cover and the filter bucket.
附图说明Description of drawings
图1为本实用新型一种猕猴桃种子收集设备的结构示意图;Fig. 1 is the structural representation of a kind of kiwifruit seed collection equipment of the present utility model;
图2为图1中的猕猴桃种子收集设备去掉桶盖后的结构示意图。FIG. 2 is a schematic structural diagram of the kiwifruit seed collecting device in FIG. 1 after removing the barrel cover.
具体实施方式Detailed ways
下面通过具体实施方式进一步详细说明:The following is further described in detail by specific embodiments:
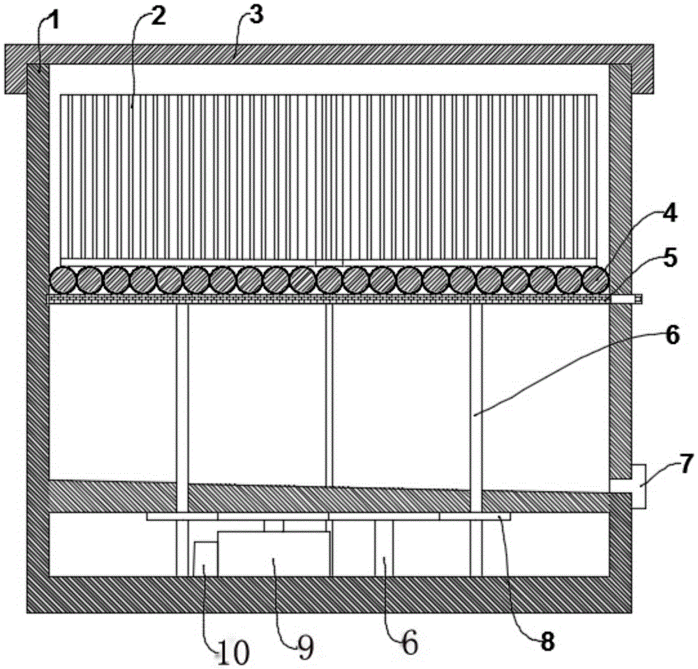
说明书附图中的附图标记包括:过滤桶1、破碎框2、桶盖3、对辊4、筛网5、转轴6、挡料块7、齿轮8、电机9、LSD-B7000变频器10、铰接轴11、连接杆12。The reference signs in the drawings in the description include: filter barrel 1, crushing
实施例基本如附图1~2所示:一种猕猴桃种子收集设备,包括动力机构、破碎机构和过滤机构;过滤装置包括过滤桶1、对辊4组和防止种子通过的筛网5,筛网5位于过滤桶1内且与过滤桶1的内壁贴合,对辊4组位于筛网5的正上方且与筛网5接触,对辊4组包括多个对辊4,对辊4的表面密布有刷毛,相邻对辊4上的刷毛相接触,过滤桶1的内底部为倾斜状,过滤桶1的外壁上设有与过滤桶1内底部最低点连通的出料孔,出料孔处密闭滑动连接有挡料块7;过滤桶1的外壁上设有滑槽,筛网5滑动连接在滑槽内;过滤桶1的顶部设有铰接轴11,铰接轴11上固定有桶盖3;破碎机构包括四个圆形栅栏状的破碎框2,破碎框2位于过滤桶1内且位于对辊4组的正上方,四个破碎框2中相对的两个破碎框2转向相反,破碎框2的底部设有连接杆12;动力机构位于过滤桶1的下壁体内,动力机构包括电机9和传动件,电机9连接有用于控制其转速和转向的LSD-B7000LSD-B7000变频器10,传动件包括蜗杆和多个齿轮8以及转轴6,多个齿轮8分别固定连接在多根转轴6上且依次啮合,多根转轴6分别固定连接在多个破碎框2的连接杆12上,电机9的输出轴与其中一根转轴6固定连接,蜗杆与其中一个齿轮8啮合,蜗杆通过皮带带动其中一个对辊4,多个对辊4之间通过皮带或链条传动连接。The embodiment is basically shown in the accompanying drawings 1-2: a kiwifruit seed collection device, including a power mechanism, a crushing mechanism and a filtering mechanism; The
使用时,打开桶盖3,将去皮后的猕猴桃放置到过滤桶1内,通过LSD-B7000LSD-B7000变频器10设置电机9的转速和转向,设置好后,启动电机9,电机9带动对辊4组和破碎框2转动,破碎框2将猕猴桃破碎,破碎后的猕猴桃浆液流经对辊4组,多个对辊4转动,对辊4上的刷毛进一步使得猕猴桃果肉和种子分离,同时,果肉在挤压过程中进一步细化,进而伴随汁液经筛网5进入到过滤桶1的底部。完成对种子和果肉的分离后,滑动挡料块7使其脱离出料孔,猕猴桃汁液从出料口流出,将其收集使用。猕猴桃种子可以从过滤桶1的顶部将其取出;也可以将拉动筛网5,从筛网5上将部分取出。When in use, open the
Claims (7)
Priority Applications (1)
| Application Number | Priority Date | Filing Date | Title |
|---|---|---|---|
| CN201922016503.9U CN210928691U (en) | 2019-11-20 | 2019-11-20 | Kiwi fruit seed collecting device |
Applications Claiming Priority (1)
| Application Number | Priority Date | Filing Date | Title |
|---|---|---|---|
| CN201922016503.9U CN210928691U (en) | 2019-11-20 | 2019-11-20 | Kiwi fruit seed collecting device |
Publications (1)
| Publication Number | Publication Date |
|---|---|
| CN210928691U true CN210928691U (en) | 2020-07-07 |
Family
ID=71388017
Family Applications (1)
| Application Number | Title | Priority Date | Filing Date |
|---|---|---|---|
| CN201922016503.9U Expired - Fee Related CN210928691U (en) | 2019-11-20 | 2019-11-20 | Kiwi fruit seed collecting device |
Country Status (1)
| Country | Link |
|---|---|
| CN (1) | CN210928691U (en) |
Cited By (2)
| Publication number | Priority date | Publication date | Assignee | Title |
|---|---|---|---|---|
| CN110679296A (en) * | 2019-11-20 | 2020-01-14 | 贵州东山猕猴桃有限责任公司 | A kind of kiwi fruit seed collection equipment |
| CN111758713A (en) * | 2020-08-14 | 2020-10-13 | 贵州东山猕猴桃有限责任公司 | A kind of kiwi fruit pest control spraying equipment |
-
2019
- 2019-11-20 CN CN201922016503.9U patent/CN210928691U/en not_active Expired - Fee Related
Cited By (3)
| Publication number | Priority date | Publication date | Assignee | Title |
|---|---|---|---|---|
| CN110679296A (en) * | 2019-11-20 | 2020-01-14 | 贵州东山猕猴桃有限责任公司 | A kind of kiwi fruit seed collection equipment |
| CN110679296B (en) * | 2019-11-20 | 2024-12-27 | 贵州东山猕猴桃有限责任公司 | A kiwi seed collection device |
| CN111758713A (en) * | 2020-08-14 | 2020-10-13 | 贵州东山猕猴桃有限责任公司 | A kind of kiwi fruit pest control spraying equipment |
Similar Documents
| Publication | Publication Date | Title |
|---|---|---|
| CN205492502U (en) | Novel blue or green walnut decorticator | |
| CN210928691U (en) | Kiwi fruit seed collecting device | |
| CN221433249U (en) | Corn soaking device with sieving structure | |
| CN210630599U (en) | Formula of milling's tea-oil camellia fruit peel machine | |
| CN211510491U (en) | Making wine is with mulberries washing equipment of squeezing juice | |
| CN110679296A (en) | A kind of kiwi fruit seed collection equipment | |
| CN205567727U (en) | Walnut green husk desquamation cleaning machine | |
| CN206729119U (en) | A kind of navel orange oscillatory type filter residue equipment | |
| CN203934367U (en) | Be configured in the seed cleaning header device on maize harvesting machine | |
| CN112076878A (en) | Method for making tea seed cake food washing product | |
| CN209463269U (en) | A compact and efficient coffee fruit combined peeling and degumming cleaning device | |
| CN214483180U (en) | Fruit juice beverage raw materials preprocessing device | |
| CN208909084U (en) | A kind of numb seed hulling device of fire | |
| CN114130476B (en) | A seed separator for kiwifruit seed collection | |
| CN216600861U (en) | A husk gathering type corn peeling machine | |
| CN212882587U (en) | Be used for watermelon juice device | |
| CN215421751U (en) | Watermelon seed extractor capable of preventing fruit adhesion | |
| CN115742418A (en) | Rapeseed pressing equipment | |
| CN210846508U (en) | Glossy ganoderma spore powder low temperature broken wall draws making devices | |
| CN107750668A (en) | A kind of efficient corn husker | |
| CN219308068U (en) | Natural pigment extraction element | |
| CN222766411U (en) | A crushing device for preparing grapefruit tea raw material | |
| CN221209109U (en) | Grape breaker is used in grape wine production | |
| CN222178797U (en) | Camellia oil pressing equipment | |
| CN221893794U (en) | Kitchen waste collection device |
Legal Events
| Date | Code | Title | Description |
|---|---|---|---|
| GR01 | Patent grant | ||
| GR01 | Patent grant | ||
| CF01 | Termination of patent right due to non-payment of annual fee |
Granted publication date: 20200707 |
|
| CF01 | Termination of patent right due to non-payment of annual fee |
