CN210395535U - Kitchen basin convenient to clean - Google Patents

Kitchen basin convenient to clean Download PDF

Info

Publication number
CN210395535U
CN210395535U CN201920857253.9U CN201920857253U CN210395535U CN 210395535 U CN210395535 U CN 210395535U CN 201920857253 U CN201920857253 U CN 201920857253U CN 210395535 U CN210395535 U CN 210395535U
Authority
CN
China
Prior art keywords
fixed
kitchen basin
accommodating
basin body
kitchen
Prior art date
Legal status (The legal status is an assumption and is not a legal conclusion. Google has not performed a legal analysis and makes no representation as to the accuracy of the status listed.)
Expired - Fee Related
Application number
CN201920857253.9U
Other languages
Chinese (zh)
Inventor
刘根金
Current Assignee (The listed assignees may be inaccurate. Google has not performed a legal analysis and makes no representation or warranty as to the accuracy of the list.)
Jiangxi Jingying Kitchen Engineering Co ltd
Original Assignee
Jiangxi Jingying Kitchen Engineering Co ltd
Priority date (The priority date is an assumption and is not a legal conclusion. Google has not performed a legal analysis and makes no representation as to the accuracy of the date listed.)
Filing date
Publication date
Application filed by Jiangxi Jingying Kitchen Engineering Co ltd filed Critical Jiangxi Jingying Kitchen Engineering Co ltd
Priority to CN201920857253.9U priority Critical patent/CN210395535U/en
Application granted granted Critical
Publication of CN210395535U publication Critical patent/CN210395535U/en
Expired - Fee Related legal-status Critical Current
Anticipated expiration legal-status Critical

Links

Images

Landscapes

  • Sink And Installation For Waste Water (AREA)

Abstract

一种方便清理的厨盆,包括固定平台,固定于固定平台上的厨盆本体与水龙头,以及固定于厨盆本体底部的过滤机构;固定平台顶面设有第一开口,厨盆本体固定于第一开口内,厨盆本体的侧面顶部与第一开口固定连接,厨盆本体内设有盛水槽,盛水槽底部设有下水口,水龙头固定于厨盆本体一侧,水龙头出水朝向盛水槽内;厨盆本体底部固定有容置壳体,容置壳体内设有容置腔室,容置壳体的顶面设有与容置腔室连通的第二开口,容置壳体的侧边与厨盆本体密封连接,容置壳体内固定有过滤板,过滤板将容置腔室隔成过滤腔室与下水腔室,过滤板与容置壳体可拆卸连接,容置壳体底部固定有与容置腔室连通的下水管。本实用新型具有方便清理、不易堵塞的优点。

Figure 201920857253

A kitchen basin convenient for cleaning, comprising a fixed platform, a kitchen basin body and a faucet fixed on the fixed platform, and a filtering mechanism fixed on the bottom of the kitchen basin body; the top surface of the fixed platform is provided with a first opening, and the kitchen basin body is fixed on the In the first opening, the top of the side of the kitchen basin body is fixedly connected to the first opening, the kitchen basin body is provided with a water tank, the bottom of the water tank is provided with a water outlet, the faucet is fixed on one side of the kitchen basin body, and the water outlet of the faucet faces into the water tank The bottom of the kitchen basin body is fixed with an accommodating shell, the accommodating shell is provided with a accommodating cavity, the top surface of the accommodating shell is provided with a second opening communicating with the accommodating cavity, and the side of the accommodating shell is provided with a second opening communicating with the accommodating cavity. It is sealed and connected with the kitchen basin body, and the accommodating shell is fixed with a filter plate. The filter plate divides the accommodating chamber into a filter chamber and a sewer chamber. The filter plate is detachably connected to the accommodating shell, and the bottom of the accommodating shell is fixed. There is a downpipe communicating with the accommodating chamber. The utility model has the advantages of convenient cleaning and not easy to block.

Figure 201920857253

Description

Kitchen basin convenient to clean
Technical Field
The utility model relates to a kitchen utensil technical equipment field, more specifically relates to a kitchen basin of convenient clearance.
Background
Kitchen sink is the indispensable equipment in modern kitchen, a be used for interim water storage, wash hands, wash vegetables, cook dishes, etc, current kitchen sink is to inlay on the basin platform and is established and be fixed with the kitchen basin usually, be equipped with down the mouth of a river in the kitchen basin, the bottom fixedly connected with downcomer of lower mouth of a river, and be equipped with the grate in the lower mouth of a river usually, be used for blockking that some bulky debris fall into in the downcomer, avoid causing the jam, and this kind of grate usually with lower mouth of a river fixed connection, some bones, the debris of dish stalk etc. also can be kept off on the grate, untimely clearance had both influenced the pleasing to the eye of basin and breed the bacterial virus easily, still can form the jam in lower mouth of a river department, need the manual clearance of digging it out of user, waste time and energy. In view of the above problems, effective solutions need to be provided.
SUMMERY OF THE UTILITY MODEL
In order to overcome the defects of the prior art, the utility model provides a kitchen basin convenient to clean, which is used for solving the problems that sundries are difficult to clean and easy to block in the kitchen basin existing in the prior art.
A kitchen basin convenient to clean comprises a fixed platform, a kitchen basin body and a water faucet which are fixed on the fixed platform, and a filtering mechanism fixed at the bottom of the kitchen basin body;
the top surface of the fixed platform is provided with a first opening, the kitchen basin body is fixed in the first opening, the top of the side surface of the kitchen basin body is fixedly connected with the first opening, a water containing groove is arranged in the kitchen basin body, the bottom of the water containing groove is provided with a water outlet, the water faucet is fixed on one side of the kitchen basin body, and the water outlet of the water faucet faces the water containing groove;
the kitchen basin comprises a kitchen basin body and is characterized in that an accommodating shell is fixed at the bottom of the kitchen basin body, an accommodating cavity is arranged in the accommodating shell, a second opening communicated with the accommodating cavity is formed in the top surface of the accommodating shell, the side edge of the accommodating shell is connected with the kitchen basin body in a sealing mode, a filter plate is fixed in the accommodating shell, the accommodating cavity is divided into a filtering cavity and a drainage cavity by the filter plate, the filter plate is detachably connected with the accommodating shell, and a drainage pipe communicated with the accommodating cavity is fixed at the bottom of the accommodating shell.
Optionally, the two side surfaces of the accommodating chamber are respectively provided with a sliding groove, the two side edges of the filter plate are in sliding fit with the sliding grooves, one side surface of the accommodating shell is provided with a disassembling port for the filter plate to extend into, the other side edge of the filter plate is fixed with a sealing plate, and the side surface of the sealing plate is in sealing fit with the side surface of the disassembling port.
Optionally, the filtering surface of the filtering plate is made of stainless steel, and the filtering surface of the filtering plate is provided with a plurality of filtering holes.
Optionally, rubber strips are laid on four edges of the sealing plate.
Optionally, a lifting handle is fixed to the outer side surface of the sealing plate.
Optionally, the bottom surface of the lower water chamber is in an inverted cone shape, and the lower water pipe is fixed at the vertex of the inverted cone shape.
The utility model has the advantages that:
the utility model provides a convenient kitchen basin of clearance is through setting up the filtering mechanism in kitchen basin body bottom, make washing debris on the kitchen basin body fall into the holding casing smoothly uniformly, blocked by the filter, when needing to clear up kitchen sink, only need take the filter out from crossing the filter casing, clear up the filter alone can, and need not the user and will stop the debris on the grate and waste time and energy and scratch out, and the filter area of filter is big moreover, it is compatible to have bigger debris than traditional offal grate, be difficult to take place to block up.
Drawings
In order to make the objects, technical solutions and advantages of the present invention clearer, the present invention will be further described in detail with reference to the accompanying drawings, in which:
FIG. 1 is a schematic view of an overall structure of a kitchen basin convenient for cleaning provided by the present invention;
fig. 2 is a front view of the filtering mechanism in the kitchen basin convenient for cleaning provided by the utility model.
In the figure:
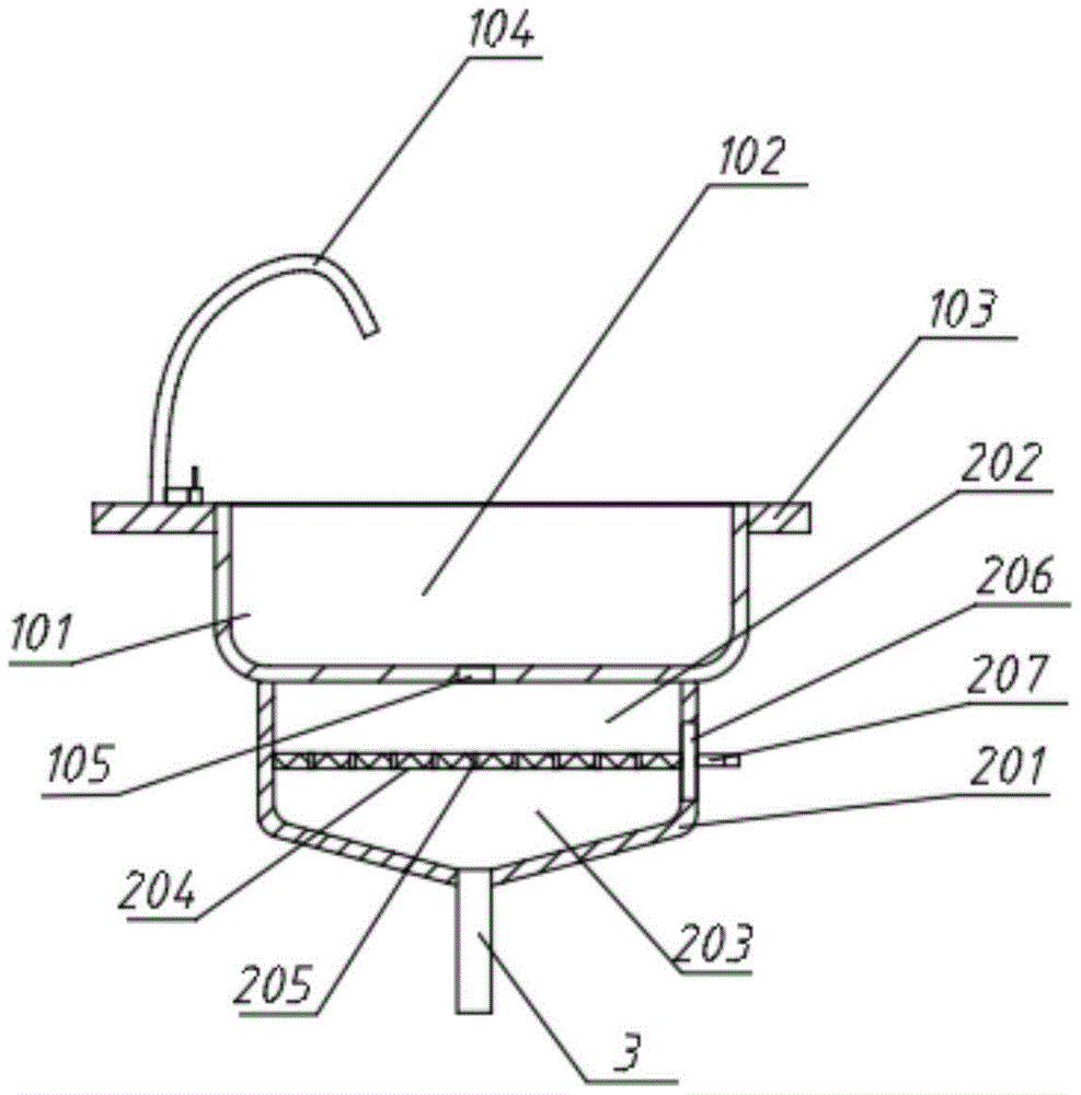
101. a kitchen basin body; 102. a water containing tank; 103. a fixed platform; 104. a faucet; 105. a water outlet; 201. an accommodating case; 202. a filtration chamber; 203. a launching chamber; 204. a filter plate; 205. a filtration pore; 206. a sealing plate; 207. lifting the handle; 208. a chute; 3. a sewer pipe.
Detailed Description
The technical solution of the present invention is further explained by the following embodiments with reference to the accompanying drawings.
As shown in fig. 1 and fig. 2, the present invention provides the following technical solutions:
a kitchen basin convenient to clean comprises a fixed platform 103, a kitchen basin body 101 and a water faucet 104 which are fixed on the fixed platform 103, and a filtering mechanism fixed at the bottom of the kitchen basin body 101; the top surface of the fixed platform 103 is provided with a first opening, the kitchen basin body 101 is fixed in the first opening, the top of the side surface of the kitchen basin body 101 is fixedly connected with the first opening, a water containing groove 102 is arranged in the kitchen basin body 101, the bottom of the water containing groove 102 is provided with a water outlet 105, a water tap 104 is fixed on one side of the kitchen basin body 101, and the water outlet of the water tap 104 faces the water containing groove 102; the kitchen basin comprises a kitchen basin body 101, and is characterized in that an accommodating shell 201 is fixed at the bottom of the kitchen basin body 101, an accommodating chamber is arranged in the accommodating shell 201, a second opening communicated with the accommodating chamber is arranged on the top surface of the accommodating shell 201, the side edge of the accommodating shell 201 is hermetically connected with the kitchen basin body 101, a filter plate 204 is fixed in the accommodating shell 201, the filter plate 204 separates the accommodating chamber into a filter chamber 202 and a lower water chamber 203, the filter plate 204 is detachably connected with the accommodating shell 201, and a lower water pipe 3 communicated with the accommodating chamber is fixed at the bottom of the accommodating.
The kitchen basin convenient to clean is implemented above, particularly, cleaning sundries on the kitchen basin body 101 can uniformly and smoothly fall into the accommodating shell 201 through the filtering mechanism arranged at the bottom of the kitchen basin body 101 and are blocked by the filtering plate 204, when a kitchen sink needs to be cleaned, the filtering plate 204 only needs to be pulled out of the filtering shell, and the filtering plate 204 can be cleaned independently, so that the sundries staying on a grate do not need to be scraped out by a user in a time-consuming and labor-consuming manner, the filtering area of the filtering plate 204 is large, and the kitchen basin has higher sundry compatibility than a traditional draining grate, and is not easy to block; in the production and assembly process, the accommodating shell 201 and the kitchen basin body 101 are made of common stainless steel materials, the top of the accommodating shell 201 is fixedly connected with the bottom of the kitchen basin body 101 in a welding and fixing mode, and the filter plate 204 can be detachably arranged in the accommodating shell 201 in a drawer type mode, so that the filter plate can be conveniently taken out and cleaned.
Further, the both sides face of accommodation chamber is equipped with spout 208 respectively, the both sides limit and the spout 208 sliding fit of filter 204, a side of accommodation casing 201 is equipped with the dismantlement mouth that supplies filter 204 to stretch into, the opposite side limit of filter 204 is fixed with closing plate 206, closing plate 206 side and the sealed cooperation of dismantlement mouth side, based on this design, the both sides limit of filter 204 is direct to slide spacingly with spout 208 in the accommodation chamber, moreover, the steam generator is simple in structure and reliable, the cost has been practiced thrift and the production installation has also been made things convenient for, closing plate 206 then is favorable to preventing rivers and impurity from spilling over from dismantling the mouth, cause bad life experience for the user.
Further, the filtering surface of the filtering plate 204 is made of stainless steel, the filtering surface of the filtering plate 204 is provided with a plurality of filtering holes 205, the stainless steel has a good waterproof and anti-corrosion effect, the anti-corrosion effect is a main factor influencing the whole service life of the filtering plate 204 which needs to be frequently contacted with water, the filtering holes 205 are easier to clean than common filtering screens, stains are not easy to accumulate, a punching mode can be adopted for processing, and the production cost is saved.
Further, the rubber strip has all been laid along the four sides of closing plate 206, and the rubber strip has good waterproof performance and sealing performance, is used for the utility model discloses, except playing the effect that the rivers of preventing overflow spilled over, still can effectively restrain the peculiar smell that food impurity residue that falls on filter 204 distributes out, the environment that the homoenergetic made the kitchen around messenger's impurity was cleared up keeps the air fresh.
Further, the outer side of the sealing plate 206 is fixed with a lifting handle 207, the lifting handle 207 is beneficial for a user to pull out and clean the filter plate 204, in practical application, after the user pulls out the filter plate 204 by the lifting handle 207, the residue on the filter plate 204 is poured into the garbage can by the lifting filter plate 204, and the filter plate 204 is thoroughly washed by the water tap 104 and can be installed and returned, so that the filter plate 204 can exert the effect again.
Further, the bottom surface of the lower water cavity 203 is in an inverted cone shape, the lower water pipe 3 is fixed at the top position of the inverted cone shape, and based on the design, accumulated water in the lower water cavity 203 can fall into the lower water pipe 3 along the side wall of the inverted cone shape in time, so that excessive accumulated water is prevented from being remained in the accommodating shell 201, and germs and pests are bred.
While the invention has been described with reference to a preferred embodiment, it will be understood by those skilled in the art that various changes may be made and equivalents may be substituted for elements thereof without departing from the spirit and scope of the invention. The present invention is not to be limited by the specific embodiments disclosed herein, and other embodiments that fall within the scope of the claims of the present application are intended to be within the scope of the present invention.

Claims (6)

1.一种方便清理的厨盆,其特征在于:1. a kitchen basin convenient for cleaning, is characterized in that: 包括固定平台(103),固定于所述固定平台(103)上的厨盆本体(101)与水龙头(104),以及固定于所述厨盆本体(101)底部的过滤机构;comprising a fixed platform (103), a kitchen basin body (101) and a faucet (104) fixed on the fixed platform (103), and a filtering mechanism fixed on the bottom of the kitchen basin body (101); 所述固定平台(103)顶面设有第一开口,所述厨盆本体(101)固定于所述第一开口内,所述厨盆本体(101)的侧面顶部与所述第一开口固定连接,所述厨盆本体(101)内设有盛水槽(102),所述盛水槽(102)底部设有下水口(105),所述水龙头(104)固定于所述厨盆本体(101)一侧,所述水龙头(104)出水朝向所述盛水槽(102)内;The top surface of the fixed platform (103) is provided with a first opening, the kitchen basin body (101) is fixed in the first opening, and the side top of the kitchen basin body (101) is fixed to the first opening connected, the kitchen basin body (101) is provided with a water tank (102), the bottom of the water tank (102) is provided with a water outlet (105), and the faucet (104) is fixed on the kitchen basin body (101) ) side, the water outlet of the faucet (104) is toward the water tank (102); 所述厨盆本体(101)底部固定有容置壳体(201),所述容置壳体(201)内设有容置腔室,所述容置壳体(201)的顶面设有与所述容置腔室连通的第二开口,所述容置壳体(201)的侧边与所述厨盆本体(101)密封连接,所述容置壳体(201)内固定有过滤板(204),所述过滤板(204)将所述容置腔室隔成过滤腔室(202)与下水腔室(203),所述过滤板(204)与所述容置壳体(201)可拆卸连接,所述容置壳体(201)底部固定有与所述容置腔室连通的下水管(3)。An accommodating casing (201) is fixed at the bottom of the kitchen basin body (101), an accommodating chamber is provided in the accommodating casing (201), and a top surface of the accommodating casing (201) is provided with a accommodating chamber. The second opening communicated with the accommodating chamber, the side edge of the accommodating shell (201) is sealingly connected with the kitchen basin body (101), and the accommodating shell (201) is fixed with a filter A plate (204), the filter plate (204) partitions the accommodating chamber into a filtration chamber (202) and a sewer chamber (203), the filter plate (204) and the accommodating shell ( 201) Removably connected, the bottom of the accommodating shell (201) is fixed with a downpipe (3) communicating with the accommodating chamber. 2.如权利要求1所述的一种方便清理的厨盆,其特征在于:2. a kind of kitchen basin convenient for cleaning as claimed in claim 1 is characterized in that: 所述容置腔室的两侧面分别设有滑槽(208),所述过滤板(204)的两侧边与所述滑槽(208)滑动配合,所述容置壳体(201)的一侧面设有供所述过滤板(204)伸入的拆卸口,所述过滤板(204)的另一侧边固定有密封板(206),所述密封板(206)侧面与所述拆卸口侧面密封配合。The two sides of the accommodating chamber are respectively provided with sliding grooves (208), and the two sides of the filter plate (204) are slidably matched with the sliding grooves (208). One side is provided with a disassembly port for the filter plate (204) to extend into, and a sealing plate (206) is fixed on the other side of the filter plate (204). Mouth side sealing fit. 3.如权利要求1所述的一种方便清理的厨盆,其特征在于:3. a kind of kitchen basin convenient for cleaning as claimed in claim 1 is characterized in that: 所述过滤板(204)的过滤面由不锈钢构成,所述过滤板(204)的过滤面设有若干过滤孔(205)。The filter surface of the filter plate (204) is made of stainless steel, and the filter surface of the filter plate (204) is provided with a number of filter holes (205). 4.如权利要求2所述的一种方便清理的厨盆,其特征在于:4. a kind of kitchen basin convenient for cleaning as claimed in claim 2 is characterized in that: 所述密封板(206)的四边沿均铺设有橡胶条。The four edges of the sealing plate (206) are covered with rubber strips. 5.如权利要求2所述的一种方便清理的厨盆,其特征在于:5. a kind of kitchen basin convenient for cleaning as claimed in claim 2 is characterized in that: 所述密封板(206)的外侧面固定有提拉把手(207)。A pull handle (207) is fixed on the outer side of the sealing plate (206). 6.如权利要求1所述的一种方便清理的厨盆,其特征在于:6. a kind of kitchen basin convenient for cleaning as claimed in claim 1 is characterized in that: 所述下水腔室(203)的底面呈倒锥形,所述下水管(3)固定于所述倒锥形的顶点位置。The bottom surface of the sewer chamber (203) is in the shape of an inverted cone, and the sewer pipe (3) is fixed at the vertex position of the inverted cone.
CN201920857253.9U 2019-06-06 2019-06-06 Kitchen basin convenient to clean Expired - Fee Related CN210395535U (en)

Priority Applications (1)

Application Number Priority Date Filing Date Title
CN201920857253.9U CN210395535U (en) 2019-06-06 2019-06-06 Kitchen basin convenient to clean

Applications Claiming Priority (1)

Application Number Priority Date Filing Date Title
CN201920857253.9U CN210395535U (en) 2019-06-06 2019-06-06 Kitchen basin convenient to clean

Publications (1)

Publication Number Publication Date
CN210395535U true CN210395535U (en) 2020-04-24

Family

ID=70348279

Family Applications (1)

Application Number Title Priority Date Filing Date
CN201920857253.9U Expired - Fee Related CN210395535U (en) 2019-06-06 2019-06-06 Kitchen basin convenient to clean

Country Status (1)

Country Link
CN (1) CN210395535U (en)

Similar Documents

Publication Publication Date Title
CN206244464U (en) Food and beverage sewage separates sediment oil interceptor
CN103967084B (en) Garbage equipment for separating liquid from solid
CN203701222U (en) Separator for kitchen garbage
CN210395535U (en) Kitchen basin convenient to clean
CN202492415U (en) Efficient full-automatic oil-water separation system
CN205530505U (en) Domestic wastewater collection formula wash platform
CN210764659U (en) Domestic environmental protection water purification unit
CN204373014U (en) A kind of commercial cooking stove easy to clean coils
CN215406347U (en) Integrated combined washing rice sink table cabinet
CN205475523U (en) Bowl groove structure is washed to environment -friendly
CN203429727U (en) Sewage filter screen
CN218562486U (en) High-efficiency energy-saving commercial washing and rinsing integrated sink
CN202064413U (en) Convenient filter tank type vegetable washing basin
CN207483406U (en) The clamping type of kitchen oil water separator quickly connects locomotive
CN211472741U (en) A self-cleaning circulating water tank structure
CN204931606U (en) The drainage system of commercial dish-washing machine
CN208465280U (en) A kind of material fruit cleaning sullage processing structure
CN208317897U (en) It is a kind of can automatic draining and cleaning drinking trough
CN207776022U (en) A kind of kitchen waterpipe anti-clogging device
CN222435420U (en) A double-layer filter integrated water outlet and storage sink with a wiper accessory cover
CN206308068U (en) A kind of pair of jube formula greasy dirt residue clears up pond
CN115126054B (en) A high-efficiency and energy-saving commercial dishwashing sink with integrated washing, cleaning and rinsing functions
CN218060576U (en) Anti-blocking type kitchen cleaning water tank
CN216973622U (en) Seamless under-table assembled stainless steel water tank
CN216837417U (en) Oil-water separator grid all-in-one machine

Legal Events

Date Code Title Description
GR01 Patent grant
GR01 Patent grant
CF01 Termination of patent right due to non-payment of annual fee
CF01 Termination of patent right due to non-payment of annual fee

Granted publication date: 20200424