CN203635477U - 悬挂式振动筛 - Google Patents
悬挂式振动筛 Download PDFInfo
- Publication number
- CN203635477U CN203635477U CN201320790910.5U CN201320790910U CN203635477U CN 203635477 U CN203635477 U CN 203635477U CN 201320790910 U CN201320790910 U CN 201320790910U CN 203635477 U CN203635477 U CN 203635477U
- Authority
- CN
- China
- Prior art keywords
- sieve
- damping spring
- wire rope
- steel wire
- thread screw
- Prior art date
- Legal status (The legal status is an assumption and is not a legal conclusion. Google has not performed a legal analysis and makes no representation as to the accuracy of the status listed.)
- Expired - Lifetime
Links
- 239000000725 suspension Substances 0.000 title claims abstract description 24
- 229910000831 Steel Inorganic materials 0.000 claims abstract description 20
- 239000010959 steel Substances 0.000 claims abstract description 20
- 238000013016 damping Methods 0.000 claims abstract description 19
- 230000005540 biological transmission Effects 0.000 claims description 8
- 239000011796 hollow space material Substances 0.000 claims description 3
- 238000003754 machining Methods 0.000 abstract description 2
- 238000007873 sieving Methods 0.000 abstract description 2
- 238000004519 manufacturing process Methods 0.000 abstract 1
- 239000006096 absorbing agent Substances 0.000 description 3
- 238000005516 engineering process Methods 0.000 description 3
- 230000009286 beneficial effect Effects 0.000 description 1
- 239000003245 coal Substances 0.000 description 1
- 230000007812 deficiency Effects 0.000 description 1
- 230000000694 effects Effects 0.000 description 1
- 238000012423 maintenance Methods 0.000 description 1
- 238000012216 screening Methods 0.000 description 1
Images
Landscapes
- Combined Means For Separation Of Solids (AREA)
Abstract
悬挂式振动筛,属于机械加工制造领域,包括悬挂支架、筛体、电动机、激振器、减震弹簧、长螺纹螺杆和钢丝绳,其中电动机与激振器连接且两者均设置在悬挂支架内,筛体置于悬挂支架内且其下方设有漏斗,激振器通过其主轴设在筛体上部的轴套中与筛体相连,且其另一端设有偏心轮;减震弹簧设置在悬挂支架上方且其上端均设有定位块,长螺纹螺杆穿过对应定位块的螺纹孔进入减震弹簧中部,通过吊板上开孔长螺纹螺杆下端与吊挂筛体的钢丝绳相连。该悬挂式振动筛结构简单、体积小重量轻、安装调整方便,筛分能力大,可根据不同地点调整安装高度和筛体倾角,同时维修方便运行可靠,振动噪音低,使用寿命长,提高了工作效率。
Description
技术领域
本实用新型涉及机械加工制造领域,具体涉及到一种悬挂式振动筛。
背景技术
市场上供应的选矿振动筛都是安装在底盘上,利用四个弹簧作为支撑,弹簧的下面装有橡胶减震器,但橡胶减震器极易磨损和疲劳,一旦损坏或疲劳,振动筛机体与底盘直接发生碰撞,机体很容易受到损坏。现用振动筛的减震器出现磨损的情况时,若更换橡胶减震器,则机器必须大拆,费时费力不安全。
实用新型内容
本实用新型针对现有技术的不足之处,对现有振动筛加以改造,提供一种结构简单耐用的悬挂式振动筛。
本实用新型所公开的悬挂振动筛,解决所述技术问题采用的技术方案如下:该振动筛包括悬挂支架、筛体、电动机、传动装置、激振器、偏心轮、漏斗、减震弹簧、长螺纹螺杆和钢丝绳,其中电动机通过该传动装置与激振器相连且两者均设置在悬挂支架内,筛体置于悬挂支架内且其下方设有漏斗,所述激振器通过其主轴设在筛体上部的轴套中与筛体相连,偏心轮设置在激振器主轴的末端;所述悬挂支架顶部设置有吊板,减震弹簧设置在吊板上,且减震弹簧的上端设置一圆柱形定位块,定位块中部开有与长螺纹螺杆相对应的螺纹孔,长螺纹螺杆穿过对应定位块并进入减震弹簧中空部分,所述吊板上与长螺纹螺杆对应的位置设有开孔,长螺纹螺杆通过该开孔与钢丝绳一端相连,所述钢丝绳另一端设置在筛体上部将筛体吊挂在悬挂支架中。
进一步,所述减震弹簧设置有四个,所述长螺纹螺杆和钢丝绳相应均设置有四根。
进一步,所述长螺纹螺杆采用Ø24mm长螺纹螺杆。
进一步,所述长螺纹螺杆采用Ø24mm长螺纹螺杆。
进一步,所述钢丝绳采用6×19S-Ø24mm钢丝绳。
本实用新型所公开的悬挂振动筛具有的有益效果是:该悬挂式振动筛结构简单、体积小、重量轻、安装调整方便,筛分能力大,可根据不同地点调整安装高度和筛体倾角,同时维修方便运行可靠,振动噪音低,使用寿命长,提高了工作效率。
附图说明
附图1为本实用新型所述悬挂振动筛的后视图;
附图2为本实用新型所述悬挂振动筛的侧视图;
附图3为本实用新型所述悬挂振动筛的俯视图;
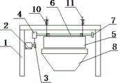
附图标注说明:1、悬挂支架;2、电动机;3、传动装置;4、激振器;5、筛体;6、激振器主轴;7、偏心轮;8、漏斗;9、吊板;10、减震弹簧;11、长螺纹螺杆;12、钢丝绳;13、定位块。
具体实施方式
下面结合附图和实施例,对本实用新型所公开的悬挂振动筛做进一步详细说明。
本实用新型所公开的悬挂式振动筛,其结构如图1、图2和图3所示,该振动筛包括悬挂支架1、电动机2、传动装置3、激振器4、筛体5、漏斗6、减震弹簧10、长螺纹螺杆11和钢丝绳12,所述电动机2通过传动装置3与激振器4连接,该传动装置把电动机的动力传给激振器,所述激振器4通过其主轴设在筛体5上部的轴套中与筛体相连,同时激振器主轴6的另一端设有偏心轮7,改变激振器偏心重,可获得不同的筛体振幅,所述电动机2、激振器4和筛体5均设置在悬挂支架1下方,且筛体5下方设有一漏斗8;所述悬挂支架顶部设置有吊板9,减震弹簧10设置在吊板9上,且减震弹簧的上端设置一圆柱形定位块13,定位块中部开有与所述长螺纹螺杆11相对应的螺纹孔,长螺纹螺杆穿过对应定位块并进入减震弹簧中空部分,同时吊板9上与长螺纹螺杆对应的位置设有开孔,长螺纹螺杆11通过该开孔与所述钢丝绳12一端相连,钢丝绳另一端设置在筛体上部将筛体吊挂在悬挂支架中,利用长螺纹螺杆可调节筛体高低位置和筛体的水平度。
实施例:本实施例所选悬挂式振动筛,筛体的长为2660mm、宽为2160mm,且筛体三层分筛,大块、中块、原煤,格挡规格筛选清晰;在悬挂支架上安装四个减振弹簧,采用四根型号6×19S-Ø24mm钢丝绳吊挂筛体,利用四根Ø24mm长螺纹螺杆进行调节振动筛高低位置和振动筛的水平度,通过调整这四根长螺纹螺杆,可得到筛体不同倾角,调整范围00—±300。使用该悬挂式振动筛,启动振动筛的电动机,经三角皮带带动激振器主轴回转,由于激振器上不平衡重物的离心惯性力作用,使筛体获振动,利用钢丝绳的吸能作用,振动筛运行时噪音大幅度降低,同时振动筛的筛体动力作用在钢丝绳上,筛体不在与底盘直接撞击,筛体得到保护。
除本实用新型所述的技术特征外,均为本专业技术人员的已知技术。
Claims (4)
1.悬挂式振动筛,包括筛体、电动机、激振器、偏心轮、漏斗,其中激振器通过其主轴设在筛体上部的轴套中与筛体相连,偏心轮设置在激振器主轴的末端,筛体下方设置有漏斗,其特征在于,该振动筛还包括悬挂支架、传动装置、减震弹簧、长螺纹螺杆和钢丝绳,所述电动机通过传动装置与激振器相连,电动机、激振器与筛体均设置在悬挂支架内,所述悬挂支架顶部设置有吊板,减震弹簧设置在吊板上,且减震弹簧的上端设置一圆柱形定位块,定位块中部开有与所述长螺纹螺杆相对应的螺纹孔,长螺纹螺杆穿过对应定位块并进入减震弹簧中空部分,所述吊板上与长螺纹螺杆对应的位置设有开孔,长螺纹螺杆通过该开孔与钢丝绳一端相连,所述钢丝绳另一端设置在筛体上部将筛体吊挂在悬挂支架中。
2.根据权利要求1所述的悬挂式振动筛,其特征在于,所述减震弹簧设置有四个,所述长螺纹螺杆和钢丝绳相应均设置有四根。
3.根据权利要求1所述的悬挂式振动筛,其特征在于,所述长螺纹螺杆采用Ø24mm长螺纹螺杆。
4.根据权利要求1所述的悬挂式振动筛,其特征在于,所述钢丝绳采用6×19S-Ø24mm钢丝绳。
Priority Applications (1)
| Application Number | Priority Date | Filing Date | Title |
|---|---|---|---|
| CN201320790910.5U CN203635477U (zh) | 2013-12-05 | 2013-12-05 | 悬挂式振动筛 |
Applications Claiming Priority (1)
| Application Number | Priority Date | Filing Date | Title |
|---|---|---|---|
| CN201320790910.5U CN203635477U (zh) | 2013-12-05 | 2013-12-05 | 悬挂式振动筛 |
Publications (1)
| Publication Number | Publication Date |
|---|---|
| CN203635477U true CN203635477U (zh) | 2014-06-11 |
Family
ID=50866757
Family Applications (1)
| Application Number | Title | Priority Date | Filing Date |
|---|---|---|---|
| CN201320790910.5U Expired - Lifetime CN203635477U (zh) | 2013-12-05 | 2013-12-05 | 悬挂式振动筛 |
Country Status (1)
| Country | Link |
|---|---|
| CN (1) | CN203635477U (zh) |
Cited By (2)
| Publication number | Priority date | Publication date | Assignee | Title |
|---|---|---|---|---|
| CN103639113A (zh) * | 2013-12-05 | 2014-03-19 | 山东金阳矿业集团有限公司 | 悬挂式振动筛 |
| CN108636767A (zh) * | 2018-05-09 | 2018-10-12 | 池韬略 | 一种检测矿石粒度筛分车的放料机构 |
-
2013
- 2013-12-05 CN CN201320790910.5U patent/CN203635477U/zh not_active Expired - Lifetime
Cited By (2)
| Publication number | Priority date | Publication date | Assignee | Title |
|---|---|---|---|---|
| CN103639113A (zh) * | 2013-12-05 | 2014-03-19 | 山东金阳矿业集团有限公司 | 悬挂式振动筛 |
| CN108636767A (zh) * | 2018-05-09 | 2018-10-12 | 池韬略 | 一种检测矿石粒度筛分车的放料机构 |
Similar Documents
| Publication | Publication Date | Title |
|---|---|---|
| CN103639113A (zh) | 悬挂式振动筛 | |
| CN104646281B (zh) | 振动筛 | |
| CN203695378U (zh) | 一种新型振动筛 | |
| CN201711272U (zh) | 可调节筛面倾角的振动筛 | |
| CN203044328U (zh) | 弛张筛 | |
| CN103934193A (zh) | 可变倾角全振幅支承椭圆轨迹高频振动筛 | |
| CN203635477U (zh) | 悬挂式振动筛 | |
| CN104590029A (zh) | 电力机车及受电弓 | |
| CN104550015A (zh) | 带凸轮的双层振动筛 | |
| CN204470067U (zh) | 一种橡胶弹簧和金属螺旋弹簧支撑的反共振振动筛 | |
| CN204486253U (zh) | 带凸轮的双层振动筛 | |
| CN205156297U (zh) | 一种空调机组安装脚的避震装置 | |
| CN208556786U (zh) | 一种钢结构打孔装置 | |
| CN203450648U (zh) | 全悬挂式变频振动下料槽 | |
| CN205361931U (zh) | 一种可调整角度的振动筛减振支撑装置 | |
| CN202643119U (zh) | 一种起重机吊钩及吊钩防晃动装置 | |
| CN203714857U (zh) | 电机振动给料机 | |
| CN203764532U (zh) | 振动筛 | |
| CN202155305U (zh) | 可调倾斜角度的振动筛装置 | |
| CN104707782B (zh) | 安全型消振振动筛 | |
| CN203899910U (zh) | 可变倾角全振幅支承椭圆轨迹高频振动筛 | |
| CN203816902U (zh) | 高精度摇摆筛 | |
| CN214638185U (zh) | 一种方形摇摆筛尾部限位支撑装置 | |
| CN210386504U (zh) | 一种易更换带阻尼缓冲装置的钢制弹簧振动筛 | |
| CN210240402U (zh) | 一种吊架减震器 |
Legal Events
| Date | Code | Title | Description |
|---|---|---|---|
| C14 | Grant of patent or utility model | ||
| GR01 | Patent grant | ||
| CX01 | Expiry of patent term | ||
| CX01 | Expiry of patent term |
Granted publication date: 20140611 |