CN203066545U - 一种道路空中停车装置的动力装置 - Google Patents

一种道路空中停车装置的动力装置 Download PDF

Info

Publication number
CN203066545U
CN203066545U CN 201220638232 CN201220638232U CN203066545U CN 203066545 U CN203066545 U CN 203066545U CN 201220638232 CN201220638232 CN 201220638232 CN 201220638232 U CN201220638232 U CN 201220638232U CN 203066545 U CN203066545 U CN 203066545U
Authority
CN
China
Prior art keywords
support
worm
road
fixedly mounted
worm gear
Prior art date
Legal status (The legal status is an assumption and is not a legal conclusion. Google has not performed a legal analysis and makes no representation as to the accuracy of the status listed.)
Expired - Fee Related
Application number
CN 201220638232
Other languages
English (en)
Inventor
韩小梅
马延生
Current Assignee (The listed assignees may be inaccurate. Google has not performed a legal analysis and makes no representation or warranty as to the accuracy of the list.)
Xian Jiale Century Electromechanical Technology Co Ltd
Original Assignee
Xian Jiale Century Electromechanical Technology Co Ltd
Priority date (The priority date is an assumption and is not a legal conclusion. Google has not performed a legal analysis and makes no representation as to the accuracy of the date listed.)
Filing date
Publication date
Application filed by Xian Jiale Century Electromechanical Technology Co Ltd filed Critical Xian Jiale Century Electromechanical Technology Co Ltd
Priority to CN 201220638232 priority Critical patent/CN203066545U/zh
Application granted granted Critical
Publication of CN203066545U publication Critical patent/CN203066545U/zh
Anticipated expiration legal-status Critical
Expired - Fee Related legal-status Critical Current

Links

Images

Landscapes

  • Transmission Devices (AREA)

Abstract

一种道路空中停车装置的动力装置,包括轿厢、吊绳、卷筒轴、蜗轮、蜗杆、卷筒、左右轴承、导轨、支架、前后轴承、联轴器和伺服电机,伺服电机固定安装在支架上,蜗杆通过联轴器与伺服电机轴相连,蜗杆通过前后轴承固定支撑在支架上,蜗轮与蜗杆啮合,蜗轮固定安装在卷筒轴上带动卷筒一起旋转,卷筒轴通过左右轴承支撑在支架上,吊绳缠绕在卷筒上,吊绳另一端固定安装在轿厢上,轿厢安装在导轨上并可以在导轨上上下移动,本实用新型采用在道路上方设置停车平台,既保证轿车安全,又不占用道路,使用起来非常灵活。

Description

一种道路空中停车装置的动力装置
技术领域
本实用新型涉及一种道路空中停车装置的动力装置。
背景技术
随着社会的发展和人力文明的进步,城市建设更加繁荣,在全国城市乃至世界各地,无论是办公大楼、公共设施,还是城镇居民大楼及小区建设;对于停车装置和绿化带的剩余空间都比较小。中国飞速进入汽车时代,数量激增的汽车数量的停放问题日益严峻,车位难求的现象在各大城市已经凸显。目前流行的立体停车设备和地下车库可以为停车库增容,对汽车的停放问题有一定的舒缓作用,但是大城市的停车难的问题依然没有得到有效的解决,小区车位紧张的问题也没有得到有效解决。因此,如果可以使用道路空中进行停车,可以解决因车辆不断增加而原设计建设的停车位置不能增加的问题,从而解决了“停车难”问题,方便了汽车车主停车。
发明内容
本实用新型的目的在于提供一种道路空中停车装置的动力装置,结构简单,以解决“停车难”的问题。
为实现上述目的,本实用新型采取的技术方案为:
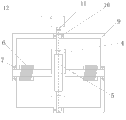
一种道路空中停车装置的动力装置,包括轿厢1、吊绳2、卷筒轴3、蜗轮4、蜗杆5、卷筒6、左右轴承7、导轨8、支架9、前后轴承10、联轴器11和伺服电机12,伺服电机12固定安装在支架9上,蜗杆5通过联轴器11与伺服电机12轴相连,蜗杆5通过前后轴承10固定支撑在支架9上,蜗轮4与蜗杆5啮合,蜗轮4固定安装在卷筒轴3上带动卷筒6一起旋转,卷筒轴3通过左右轴承7支撑在支架9上,吊绳2缠绕在卷筒6上,吊绳2另一端固定安装在轿厢1上,轿厢1安装在导轨8上并可以在导轨8上上下移动。
本实用新型采用在道路上方设置停车平台,既保证轿车安全,又不占用道路,使用起来非常灵活。
附图说明
图1为本实用新型的结构主视图。
图2为本实用新型的结构俯视图。
具体实施方式
下面结合附图详细描述本实用新型。
参照图1和图2,一种道路空中停车装置的动力装置,包括轿厢1、吊绳2、卷筒轴3、蜗轮4、蜗杆5、卷筒6、左右轴承7、导轨8、支架9、前后轴承10、联轴器11和伺服电机12,伺服电机12固定安装在支架9上,蜗杆5通过联轴器11与伺服电机12轴相连,蜗杆5通过前后轴承10固定支撑在支架9上,蜗轮4与蜗杆5啮合,蜗轮4固定安装在卷筒轴3上带动卷筒6一起旋转,卷筒轴3通过左右轴承7支撑在支架9上,吊绳2缠绕在卷筒6上,吊绳2另一端固定安装在轿厢1上,轿厢1安装在导轨8上并可以在导轨8上上下移动。
不脱离本实用新型的构思和范围可以做出许多其他改变和改型。应当理解,本实用新型不限于特定的实施方式,本实用新型的范围由所附权利要求限定。

Claims (1)

1.一种道路空中的停车装动力装置,其特征在于,包括轿厢(1)、吊绳(2)、卷筒轴(3)、蜗轮(4)、蜗杆(5)、卷筒(6)、左右轴承(7)、导轨(8)、支架(9)、前后轴承(10)、联轴器(11)和伺服电机(12),伺服电机(12)固定安装在支架(9)上,蜗杆(5)通过联轴器(11)与伺服电机(12)轴相连,蜗杆(5)通过前后轴承(10)固定支撑在支架(9)上,蜗轮(4)与蜗杆(5)啮合,蜗轮(4)固定安装在卷筒轴(3)上带动卷筒(6)一起旋转,卷筒轴(3)通过左右轴承(7)支撑在支架(9)上,吊绳(2)缠绕在卷筒(6)上,吊绳(2)另一端固定安装在轿厢(1)上,轿厢(1)安装在导轨(8)上并可以在导轨(8)上上下移动。
CN 201220638232 2012-11-27 2012-11-27 一种道路空中停车装置的动力装置 Expired - Fee Related CN203066545U (zh)

Priority Applications (1)

Application Number Priority Date Filing Date Title
CN 201220638232 CN203066545U (zh) 2012-11-27 2012-11-27 一种道路空中停车装置的动力装置

Applications Claiming Priority (1)

Application Number Priority Date Filing Date Title
CN 201220638232 CN203066545U (zh) 2012-11-27 2012-11-27 一种道路空中停车装置的动力装置

Publications (1)

Publication Number Publication Date
CN203066545U true CN203066545U (zh) 2013-07-17

Family

ID=48765355

Family Applications (1)

Application Number Title Priority Date Filing Date
CN 201220638232 Expired - Fee Related CN203066545U (zh) 2012-11-27 2012-11-27 一种道路空中停车装置的动力装置

Country Status (1)

Country Link
CN (1) CN203066545U (zh)

Cited By (2)

* Cited by examiner, † Cited by third party
Publication number Priority date Publication date Assignee Title
CN106223682A (zh) * 2016-09-19 2016-12-14 贵州电网有限责任公司都匀供电局 一种门框跨路式停车装置及其使用方法
CN108386031A (zh) * 2018-03-12 2018-08-10 苏州创必成电子科技有限公司 一种脚踏停车装置

Cited By (2)

* Cited by examiner, † Cited by third party
Publication number Priority date Publication date Assignee Title
CN106223682A (zh) * 2016-09-19 2016-12-14 贵州电网有限责任公司都匀供电局 一种门框跨路式停车装置及其使用方法
CN108386031A (zh) * 2018-03-12 2018-08-10 苏州创必成电子科技有限公司 一种脚踏停车装置

Similar Documents

Publication Publication Date Title
CN103835550A (zh) 一种道路空中停车装置的动力系统
CN101660366B (zh) 太阳能驱动双层自走式停车设备
CN204144812U (zh) 平放式电缆敷设工程车
CN201416285Y (zh) 新型错位式立体停车场
CN203066545U (zh) 一种道路空中停车装置的动力装置
CN202831737U (zh) 升降横移式立体车库控制装置
CN206189947U (zh) 一种升降横移式立体车库的升降机构
CN204645754U (zh) 新型圆筒停车库升降平台的升降机构
CN202850544U (zh) 齿轮齿条传动地坑式立体车库
CN203393655U (zh) 一种自动栏杆路障装置
CN204057714U (zh) 一种行走小车及使用该行走小车的电动葫芦
CN203640348U (zh) 一种可移动立体停车装置的升降机构
CN203755739U (zh) 钢丝绳结构两层升降横移车库
CN203230208U (zh) 旋转组合轿车车库
CN202416935U (zh) 一种安全泊车系统
CN203383555U (zh) 自动升降式地下车库
CN203602251U (zh) 一种厂房行车装置
CN203223022U (zh) 立体车库载车板升降的传动装置
CN202810291U (zh) 新型立体车库
CN202731357U (zh) 侧方无阻碍一位两车停车装置
CN202493067U (zh) 智能立体车库的台车
CN203066546U (zh) 一种利用道路上空的停车装置的控制系统
CN202970041U (zh) 一种草坪上方停车装置的动力机构
CN203079233U (zh) 一种双向自动牵引小车
CN203239012U (zh) 隐藏在地下的停车轿厢的另一套起降装置

Legal Events

Date Code Title Description
C14 Grant of patent or utility model
GR01 Patent grant
CF01 Termination of patent right due to non-payment of annual fee

Granted publication date: 20130717

Termination date: 20141127

EXPY Termination of patent right or utility model